CN216551279U - A fully automatic CNC cutting machine for clothing fabrics - Google Patents
A fully automatic CNC cutting machine for clothing fabrics Download PDFInfo
- Publication number
- CN216551279U CN216551279U CN202123148913.2U CN202123148913U CN216551279U CN 216551279 U CN216551279 U CN 216551279U CN 202123148913 U CN202123148913 U CN 202123148913U CN 216551279 U CN216551279 U CN 216551279U
- Authority
- CN
- China
- Prior art keywords
- cutting machine
- guide plate
- sliding guide
- rod
- moving block
- Prior art date
- Legal status (The legal status is an assumption and is not a legal conclusion. Google has not performed a legal analysis and makes no representation as to the accuracy of the status listed.)
- Expired - Fee Related
Links
- 239000004744 fabric Substances 0.000 title claims abstract description 73
- 238000005520 cutting process Methods 0.000 title claims abstract description 64
- 238000003825 pressing Methods 0.000 claims description 13
- 239000002699 waste material Substances 0.000 description 6
- 238000000034 method Methods 0.000 description 3
- 230000000694 effects Effects 0.000 description 2
- 229920000728 polyester Polymers 0.000 description 2
- 230000037303 wrinkles Effects 0.000 description 2
- 229920000742 Cotton Polymers 0.000 description 1
- 239000004677 Nylon Substances 0.000 description 1
- 230000009286 beneficial effect Effects 0.000 description 1
- 238000009940 knitting Methods 0.000 description 1
- 238000004519 manufacturing process Methods 0.000 description 1
- 239000000463 material Substances 0.000 description 1
- 230000007246 mechanism Effects 0.000 description 1
- 229920001778 nylon Polymers 0.000 description 1
- 239000004753 textile Substances 0.000 description 1
- 238000009941 weaving Methods 0.000 description 1
- 210000002268 wool Anatomy 0.000 description 1
Images
Landscapes
- Treatment Of Fiber Materials (AREA)
Abstract
本实用新型提供一种服装面料全自动数控剪裁机,包括工作台,工作台上设有滑动的滑动导板,滑动导板上设有剪裁机,剪裁机包括在滑动导板上滑动的移动块,移动块底部设有相对于移动块转动的电动推杆,电动推杆底部设有刀片。剪裁机上的刀片能够多方向的运动,刀片能够相对于面料各种角度旋转,刀片能够上下移动控制是否切割,从而能够整体设备剪切出各种图案,以满足现今社会对面料切割成各种图案的需求,同时避免出现误差。刀片在切割图案后,当出现刀片和面料粘贴在一起,不需要人手工处理,气动装置通过气动头对面料吹气,这样不需要整体设备停工,避免安全事故的风险,节约大量时间,提升企业效益。
The utility model provides an automatic numerically controlled cutting machine for clothing fabrics, which comprises a workbench, a sliding guide plate is arranged on the workbench, a cutting machine is arranged on the sliding guide, and the cutting machine comprises a moving block sliding on the sliding guide plate. The bottom is provided with an electric push rod that rotates relative to the moving block, and the bottom of the electric push rod is provided with a blade. The blade on the cutting machine can move in multiple directions, the blade can rotate at various angles relative to the fabric, and the blade can move up and down to control whether to cut or not, so that the overall equipment can cut various patterns to meet the needs of today's society for cutting fabrics into various patterns. requirements while avoiding errors. After the blade cuts the pattern, when the blade and the fabric are glued together, there is no need for manual handling. The pneumatic device blows the fabric through the pneumatic head, which does not require the entire equipment to be shut down, avoids the risk of safety accidents, saves a lot of time, and improves the enterprise. benefit.
Description
技术领域technical field
本实用新型涉及布料剪裁领域,尤其是涉及一种服装面料全自动数控剪裁机。The utility model relates to the field of fabric cutting, in particular to an automatic numerical control cutting machine for clothing fabrics.
背景技术Background technique
针织面料,按织造方法分,有纬编针织面料和经编针织面料两类。纬编针织面料常以低弹涤纶丝或异型涤纶丝、锦纶丝、棉纱、毛纱等为原料,采用平针组织,变化平针组织,罗纹平针组织,双罗纹平针组织、提花组织,毛圈组织等,在各种纬编机上编织而成。 在纺织布料生产过程中,需要对其进行剪切,随着科技的进步,衍生出了各种自动数控剪裁机,但是现在的自动数控剪裁机结构复杂,剪裁机的刀片不能够相对较好的移动、自动旋转和上下伸缩,尤其是刀片不能现对于针织面料旋转,一些特殊的图案不能切割,同时切割需要转角的图案时,传统技术中最少需要垂直的两个移动机构相互配合运动,这样容易导致针织面料切割时出现较大的误差,导致面料损坏,浪费大量的资源。同时现有技术的剪裁机的刀片在切割图案后,有时会和面料粘贴在一起,需要人手工处理,这样需要整体设备停工,不仅会存在工作人员出现安全事故的风险,同时会导致浪费大量时间,降低企业效益。为此我们提出一种服装面料全自动数控剪裁机用于解决上述问题。Knitted fabrics are divided into weft knitted fabrics and warp knitted fabrics according to the weaving method. Weft knitted fabrics are often made of low-elastic polyester yarn or special-shaped polyester yarn, nylon yarn, cotton yarn, wool yarn, etc. Circle weave, etc., woven on various weft knitting machines. In the production process of textile fabrics, it needs to be cut. With the advancement of technology, various automatic CNC cutting machines have been derived. However, the current automatic CNC cutting machines are complex in structure, and the blades of the cutting machine cannot be relatively good. Movement, automatic rotation and up and down retraction, especially the blade cannot be rotated for knitted fabrics, and some special patterns cannot be cut. At the same time, when cutting patterns that require corners, at least two vertical moving mechanisms are required in the traditional technology to cooperate with each other. This is easy This leads to large errors in the cutting of knitted fabrics, resulting in fabric damage and waste of a lot of resources. At the same time, after cutting the pattern, the blade of the cutting machine in the prior art is sometimes pasted with the fabric, which requires manual handling. This requires the entire equipment to be shut down, which not only leads to the risk of safety accidents for the staff, but also wastes a lot of time. , reducing business efficiency. For this reason, we propose a fully automatic CNC cutting machine for clothing fabrics to solve the above problems.
中国专利文献CN111483863A记载了一种用于柔性布料自动剪裁和送出的剪裁机,包括括机架,所述机架的底部转动连接有滚珠丝杠,所述滚珠丝杠的顶部固定安装有刀具架,所述刀具架的顶部转动连接有剪裁刀,所述滑块的顶部插接有送布杆,所述气缸的底部固定连接有压板。该种用于柔性布料自动剪裁和送出的剪裁机,通过从动轮带动滚珠丝杠转动,滚珠丝杠通过刀具架带动剪裁刀运动,从而实现剪裁布料使用方便和质量高的效果,通过转动电机带动齿轮运动,在通过齿轮和齿槽的配合使用,两个滑块可以运动到一起,两个送布杆将布料夹紧后,通过转动电机带动送布杆运动,从而达到送出布料的效果。但是该装置刀具不能较好的移动、自动旋转和上下伸缩,刀具不能现对于针织面料旋转,一些特殊的图案不能切割,不能够大面积推广,不能满足现今社会对面料切割成各种图案的需求,使用存在缺陷,需要改进。Chinese patent document CN111483863A describes a cutting machine for automatic cutting and feeding of flexible fabrics, including a frame, a ball screw is rotatably connected to the bottom of the frame, and a tool holder is fixedly mounted on the top of the ball screw A cutting knife is rotatably connected to the top of the tool holder, a cloth feeding rod is inserted into the top of the sliding block, and a pressure plate is fixedly connected to the bottom of the cylinder. This kind of cutting machine used for automatic cutting and feeding of flexible fabrics drives the ball screw to rotate through the driven wheel, and the ball screw drives the cutting knife to move through the tool holder, so as to realize the effect of convenient use and high quality of cutting fabrics, and is driven by a rotating motor. Gear movement, through the cooperation of the gear and the tooth slot, the two sliders can move together. After the two cloth feeding rods clamp the cloth, the cloth feeding rod is driven to move by rotating the motor, so as to achieve the effect of feeding the cloth. However, the cutter of this device cannot move, automatically rotate and extend up and down, the cutter cannot rotate for knitted fabrics, some special patterns cannot be cut, cannot be popularized in a large area, and cannot meet the needs of today's society for cutting fabrics into various patterns , the use is flawed and needs to be improved.
实用新型内容Utility model content
本实用新型提供了一种服装面料全自动数控剪裁机,解决剪裁机的刀片不能够较好的相对面料移动、自动旋转和上下伸缩,以至于不能够切割各种带转角或环形的图案,同时容易出现误差,导致面料损坏,浪费资源的问题。The utility model provides an automatic numerically controlled cutting machine for clothing fabrics, which solves the problem that the blades of the cutting machine cannot relatively move relative to the fabrics, rotate automatically and extend up and down, so that they cannot cut various patterns with corners or rings, and at the same time Errors are prone to occur, resulting in fabric damage and waste of resources.
为解决上述技术问题,本实用新型所采用的技术方案是:一种服装面料全自动数控剪裁机,包括工作台,工作台上设有滑动的滑动导板,滑动导板上设有剪裁机,剪裁机包括在滑动导板上滑动的移动块,移动块底部设有相对于移动块转动的电动推杆,电动推杆底部设有刀片。In order to solve the above-mentioned technical problems, the technical scheme adopted by the present utility model is: a fully automatic numerical control cutting machine for clothing fabrics, comprising a workbench, a sliding sliding guide plate is arranged on the working platform, a cutting machine is arranged on the sliding guide plate, and the cutting machine It includes a moving block sliding on the sliding guide plate, the bottom of the moving block is provided with an electric push rod that rotates relative to the moving block, and the bottom of the electric push rod is provided with a blade.
优选的方案中,工作台一端设有两个轴承座,工作台另一端设有两个支撑座,支撑杆与两个支撑座连接,工作台上设有第一丝杆,第一丝杆与两个轴承座转动连接,第二电机的输出端与第一丝杆固定连接,第二电机安装在工作台上。In a preferred solution, one end of the worktable is provided with two bearing seats, the other end of the worktable is provided with two support seats, the support rod is connected with the two support seats, the worktable is provided with a first screw rod, and the first screw rod is connected to the two support bases. The two bearing seats are rotatably connected, the output end of the second motor is fixedly connected with the first screw rod, and the second motor is installed on the worktable.
优选的方案中,滑动导板一端设有螺纹孔,第一丝杆与滑动导板的螺纹孔螺纹连接,滑动导板另一端设有通槽,支撑杆抵靠在滑动导板的通槽上。In a preferred solution, one end of the sliding guide plate is provided with a threaded hole, the first screw rod is threadedly connected to the threaded hole of the sliding guide plate, the other end of the sliding guide plate is provided with a through groove, and the support rod abuts on the through groove of the sliding guide plate.
优选的方案中,滑动导板上设有第二丝杆,第二丝杆的一端设有第三电机,第三电机的输出轴与第二丝杆固定连接,第三电机固定安装在滑动导板上。In a preferred solution, the sliding guide plate is provided with a second screw rod, one end of the second screw rod is provided with a third motor, the output shaft of the third motor is fixedly connected with the second screw rod, and the third motor is fixedly installed on the sliding guide plate .
优选的方案中,第二丝杆贯穿移动块与移动块螺纹连接。In a preferred solution, the second screw rod penetrates through the moving block and is threadedly connected to the moving block.
优选的方案中,移动块上设有凹槽,滑动导板抵靠在凹槽上,移动块上设有通孔,转轴贯穿通孔与移动块转动连接,转轴一端与转动电机连接,转轴另一端与电动推杆连接。In a preferred solution, the moving block is provided with a groove, the sliding guide plate abuts on the groove, the moving block is provided with a through hole, the through hole of the rotating shaft is rotatably connected with the moving block, one end of the rotating shaft is connected with the rotating motor, and the other end of the rotating shaft is connected with the moving block. Connect with electric push rod.
优选的方案中,工作台上设有气动装置,气动装置包括抽吸泵,抽吸泵通过导管与气动头连通,气动头安装在刀片上。In a preferred solution, a pneumatic device is provided on the worktable, the pneumatic device includes a suction pump, and the suction pump communicates with the pneumatic head through a conduit, and the pneumatic head is installed on the blade.
优选的方案中,工作台上设有多个滑槽,压杆两端设有滚轮,压杆的滚轮抵靠在滑槽上滚动。In a preferred solution, a plurality of chutes are provided on the worktable, rollers are provided at both ends of the pressing rod, and the rollers of the pressing rod roll against the chutes.
优选的方案中,滑动导板与压杆之间设有连接杆,连接杆一端与滑动导板固定连接,连接杆另一端与压杆铰接。In a preferred solution, a connecting rod is provided between the sliding guide plate and the pressing rod, one end of the connecting rod is fixedly connected with the sliding guide plate, and the other end of the connecting rod is hinged with the pressing rod.
优选的方案中,工作台两端设有能够转动辊轴,两个辊轴上设有相对辊轴转动的传送带,其中的一个辊轴一端与第一电机的输出轴固定连接;In a preferred solution, both ends of the worktable are provided with rotatable rollers, two rollers are provided with conveyor belts that rotate relative to the rollers, and one end of one of the rollers is fixedly connected to the output shaft of the first motor;
传送带环绕工作台转动。The conveyor belt rotates around the table.
本实用新型的有益效果为:滑动导板能够相对于工作台滑动,以使剪裁机上的刀片能够相对于面料纵向滑动。剪裁机能够相对滑动导板滑动,以使刀片能够相对面料横向滑动。电动推杆能够相对于移动块转动,以使刀片刀片能够相对面料转动滑动,驱动电动推杆伸缩,能够使电动推杆上的远离或靠近面料,以使剪裁机控制是否对面料进行切割。剪裁机上的刀片能够多方向的运动,能够相对于面料各种角度旋转,能够上下移动控制是否切割,从而能够整体设备剪切出各种图案,以满足现今社会对面料切割成各种图案的需求,同时避免出现误差。驱动气动装置,对气动头进行吸气或者是抽气,能够使剪裁机裁剪下来的废料按照工作人员的需要附在整体面料的顶部或者底部,方便传送带转动出料时对裁剪下来的面料和废料进行分类,有效节约工作人员的时间,提高了裁剪的工作效率,提升了企业的效率。刀片在切割图案后,当出现刀片和面料粘贴在一起,不需要人手工处理,直接通过气动头对面料吹气,这样不需要整体设备停工,不仅会不会出现安全事故的风险,同时也节约大量时间,提升企业效益。适合大范围推广。The beneficial effect of the utility model is that the sliding guide plate can slide relative to the worktable, so that the blade on the cutting machine can slide longitudinally relative to the fabric. The cutter can slide relative to the sliding guide so that the blade can slide laterally relative to the fabric. The electric push rod can be rotated relative to the moving block, so that the blade blade can rotate and slide relative to the fabric, and the electric push rod can be driven to extend and retract, so that the electric push rod can be moved away from or close to the fabric, so that the cutting machine can control whether to cut the fabric. The blade on the cutting machine can move in multiple directions, rotate at various angles relative to the fabric, and can move up and down to control whether to cut or not, so that the overall equipment can cut various patterns to meet the needs of today's society for cutting fabrics into various patterns. , while avoiding errors. Drive the pneumatic device to inhale or extract air from the pneumatic head, so that the waste cut by the cutting machine can be attached to the top or bottom of the overall fabric according to the needs of the staff, which is convenient for the cut fabric and waste when the conveyor belt rotates and discharges. Classification can effectively save the time of staff, improve the work efficiency of cutting, and improve the efficiency of the enterprise. After the blade cuts the pattern, when the blade and the fabric are glued together, there is no need for manual handling, and the fabric is directly blown through the pneumatic head, which does not require the entire equipment to be shut down, not only will there be no risk of safety accidents, but also save money. A lot of time to improve business efficiency. Suitable for large-scale promotion.
附图说明Description of drawings
下面结合附图和实施例对本实用新型作进一步说明;The utility model will be further described below in conjunction with the accompanying drawings and embodiments;
图1是本实用新型整体结构俯视图;1 is a top view of the overall structure of the present utility model;
图2是本实用新型局部结构的俯视图;Fig. 2 is the top view of the partial structure of the present utility model;
图3是本实用新型局部结构的轴侧视图;Fig. 3 is the axial side view of the partial structure of the present utility model;
图4是本实用新型局部结构的正视图;Fig. 4 is the front view of the partial structure of the present utility model;
图5是本实用新型剪裁机的正视图;Fig. 5 is the front view of the utility model cutting machine;
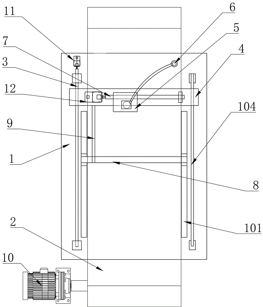
图中:工作台1;滑槽101;轴承座102;支撑座103;支撑杆104;传送带2;第一丝杆3;滑动导板4;剪裁机5;移动块501;转轴502;转动电机503;电动推杆504;刀片505;凹槽506;气动装置6;导管601;气动头602;抽吸泵603;第二丝杆7;压杆8;连接杆9;第一电机10;第二电机11;第三电机12;辊轴13。In the figure:
具体实施方式Detailed ways
实施例1:Example 1:
如图1-5中,一种服装面料全自动数控剪裁机,包括工作台1,工作台1上设有滑动的滑动导板4,滑动导板4上设有剪裁机5,剪裁机5包括在滑动导板4上滑动的移动块501,移动块501底部设有相对于移动块501转动的电动推杆504,电动推杆504底部设有刀片505。由此结构,滑动导板4能够相对于工作台1滑动,以使剪裁机5上的刀片505能够相对于面料纵向滑动。剪裁机5能够相对滑动导板4滑动,以使刀片505能够相对面料横向滑动。电动推杆504能够相对于移动块501转动,以使刀片505刀片505能够相对面料转动滑动,驱动电动推杆504伸缩,能够使电动推杆504上的远离或靠近面料,以使剪裁机5控制是否对面料进行切割。剪裁机5上的刀片505能够多方向的运动,能够相对于面料各种角度旋转,能够上下移动控制是否切割,从而能够整体设备剪切出各种图案,以满足现今社会对面料切割成各种图案的需求,同时避免出现误差,适合大范围推广。As shown in Figures 1-5, a fully automatic CNC cutting machine for clothing fabrics includes a
优选的方案中,工作台1一端设有两个轴承座102,工作台1另一端设有两个支撑座103,支撑杆104与两个支撑座103连接,工作台1上设有第一丝杆3,第一丝杆3与两个轴承座102转动连接,第二电机11的输出端与第一丝杆3固定连接,第二电机11安装在工作台1上。由此结构,驱动第二电机11,以使第一丝杆3转动,以使与第一丝杆3螺纹连接的滑动导板4相对于第一丝杆3滑动,从而滑动导板4上的刀片505能够相对于面料纵向滑动。In a preferred solution, one end of the
优选的方案中,滑动导板4一端设有螺纹孔,第一丝杆3与滑动导板4的螺纹孔螺纹连接,滑动导板4另一端设有通槽,支撑杆104抵靠在滑动导板4的通槽上。由此结构,滑动导板4一端与第一丝杆3螺纹连接,滑动导板4能够通过抵靠在支撑杆104上沿支撑杆104滑动。In a preferred solution, one end of the sliding
优选的方案中,滑动导板4上设有第二丝杆7,第二丝杆7的一端设有第三电机12,第三电机12的输出轴与第二丝杆7固定连接,第三电机12固定安装在滑动导板4上。由此结构,驱动第三电机12,以使第二丝杆7转动,以使剪裁机5沿着第二丝杆7方向移动,以使刀片505能够相对面料横向滑动。In a preferred solution, the sliding
优选的方案中,第二丝杆7贯穿移动块501与移动块501螺纹连接。In a preferred solution, the
优选的方案中,移动块501上设有凹槽506,滑动导板4抵靠在凹槽506上,移动块501上设有通孔507,转轴502贯穿通孔507与移动块501转动连接,转轴502一端与转动电机503连接,转轴502另一端与电动推杆504连接。由此结构,驱动转动电机503,以使转轴502在通孔507内转动,以使电动推杆504相对于移动块501转动,从而使刀片505相对于面料转动。驱动电动推杆504,以使电动推杆504上的远离或靠近面料,以使剪裁机5控制是否对面料进行切割。结构简单,设计合理。In a preferred solution, the moving
优选的方案中,工作台1上设有气动装置6,气动装置6包括抽吸泵603,抽吸泵603通过导管601与气动头602连通,气动头602安装在刀片505上。由此结构,驱动抽吸泵603,对气动头602进行吸气或者是抽气,能够使剪裁机5裁剪下来的废料按照工作人员的需要附在整体面料的顶部或者底部,方便传送带2转动出料时对裁剪下来的面料和废料进行分类,有效节约工作人员的时间,提高了裁剪的工作效率,提升了企业的效率。刀片505在切割图案后,当出现刀片505和面料粘贴在一起,不需要人手工处理,直接通过气动头602对面料吹气,这样不需要整体设备停工,不仅会不会出现安全事故的风险,同时也节约大量时间,提升企业效益。In a preferred solution, a
优选的方案中,工作台1上设有多个滑槽101,压杆8两端设有滚轮,压杆8的滚轮抵靠在滑槽101上滚动。由此结构,压杆8对传送带2上的面料进行压平,避免面料切割时出现褶皱或者因为褶皱导致剪裁出现误差。In a preferred solution, a plurality of
优选的方案中,滑动导板4与压杆8之间设有连接杆9,连接杆9一端与滑动导板4固定连接,连接杆9另一端与压杆8铰接。由此结构,滑动导板4移动时,压杆8相对与面料移动。In a preferred solution, a connecting
优选的方案中,工作台1两端设有能够转动辊轴13,两个辊轴13上设有相对辊轴13转动的传送带2,其中的一个辊轴13一端与第一电机10的输出轴固定连接;In a preferred solution, both ends of the table 1 are provided with
传送带2环绕工作台1转动。由此结构,驱动第一电机10,以使传送带2转动,以使剪裁机5对传送带2上的面料进行剪裁。结构简单,设备运动合理,方便剪裁机5对移动的传送带2进行操作,全程制动化控制,适合大面积推广。The
上述的实施例仅为本实用新型的优选技术方案,而不应视为对于本实用新型的限制,本实用新型的保护范围应以权利要求记载的技术方案,包括权利要求记载的技术方案中技术特征的等同替换方案为保护范围。即在此范围内的等同替换改进,也在本实用新型的保护范围之内。The above-mentioned embodiments are only the preferred technical solutions of the present invention, and should not be regarded as limitations of the present invention. An equivalent alternative to features is the scope of protection. That is, equivalent replacements and improvements within this scope are also within the protection scope of the present invention.
Claims (10)
Priority Applications (1)
| Application Number | Priority Date | Filing Date | Title |
|---|---|---|---|
| CN202123148913.2U CN216551279U (en) | 2021-12-15 | 2021-12-15 | A fully automatic CNC cutting machine for clothing fabrics |
Applications Claiming Priority (1)
| Application Number | Priority Date | Filing Date | Title |
|---|---|---|---|
| CN202123148913.2U CN216551279U (en) | 2021-12-15 | 2021-12-15 | A fully automatic CNC cutting machine for clothing fabrics |
Publications (1)
| Publication Number | Publication Date |
|---|---|
| CN216551279U true CN216551279U (en) | 2022-05-17 |
Family
ID=81542245
Family Applications (1)
| Application Number | Title | Priority Date | Filing Date |
|---|---|---|---|
| CN202123148913.2U Expired - Fee Related CN216551279U (en) | 2021-12-15 | 2021-12-15 | A fully automatic CNC cutting machine for clothing fabrics |
Country Status (1)
| Country | Link |
|---|---|
| CN (1) | CN216551279U (en) |
Cited By (1)
| Publication number | Priority date | Publication date | Assignee | Title |
|---|---|---|---|---|
| CN117569069A (en) * | 2023-11-30 | 2024-02-20 | 桐庐美联医疗科技有限公司 | Bib cutting method and cutting device |
-
2021
- 2021-12-15 CN CN202123148913.2U patent/CN216551279U/en not_active Expired - Fee Related
Cited By (1)
| Publication number | Priority date | Publication date | Assignee | Title |
|---|---|---|---|---|
| CN117569069A (en) * | 2023-11-30 | 2024-02-20 | 桐庐美联医疗科技有限公司 | Bib cutting method and cutting device |
Similar Documents
| Publication | Publication Date | Title |
|---|---|---|
| CN216551279U (en) | A fully automatic CNC cutting machine for clothing fabrics | |
| CN211142614U (en) | Device is tailor to double-deck woollen material of frivolous feel | |
| CN112030523A (en) | A cutting device for textile fabric processing which is convenient to replace the textile fabric winding roller | |
| CN216551280U (en) | Cutting machine equipment for garment production | |
| CN213142590U (en) | Device is tailor to cloth for clothing production | |
| CN214193682U (en) | Full-automatic square towel weft knitting machine | |
| CN212000321U (en) | Cutting device for papermaking felt fiber yarns | |
| CN212451873U (en) | Textile production and processing is with equipment of borduring | |
| CN209522362U (en) | Fly cutter is crosscutting and the perpendicular all-in-one machine cut of hot knife | |
| CN114541123B (en) | Garment materials tailors device | |
| CN112301567A (en) | Full-automatic square towel weft knitting machine | |
| CN107620171B (en) | Overedger with automatic thread end cutting function | |
| CN217869685U (en) | Cracker finisher is used in crepe facing material production | |
| CN217556544U (en) | Cutting device for cutting antibacterial breathable flax textile fabric | |
| CN217678271U (en) | Napped cloth edge material cutting device | |
| CN110592919A (en) | Typesetting and cutting integrated system | |
| CN213867019U (en) | Novel clothing cloth cutter | |
| CN211276733U (en) | Shearing mechanism is used in processing of weaving scraper blade | |
| CN212173938U (en) | Unwinding device of jacquard fabric | |
| CN210177251U (en) | Fabric cutting and collecting device and full-automatic fabric cutting and sewing system | |
| CN218404804U (en) | Cutting device for textiles | |
| CN223921853U (en) | A rapid fabric cutting device for canvas production | |
| CN112160145A (en) | Automatic cutting machine is used in clothing production | |
| CN220952684U (en) | Cloth cutting machine for clothing production | |
| CN221000334U (en) | Raw material cloth conveying mechanism of weaving cutting device |
Legal Events
| Date | Code | Title | Description |
|---|---|---|---|
| GR01 | Patent grant | ||
| GR01 | Patent grant | ||
| CF01 | Termination of patent right due to non-payment of annual fee |
Granted publication date: 20220517 |
|
| CF01 | Termination of patent right due to non-payment of annual fee |
