CN216542481U - Multi-functional equipment of polishing of machining - Google Patents
Multi-functional equipment of polishing of machining Download PDFInfo
- Publication number
- CN216542481U CN216542481U CN202123126856.8U CN202123126856U CN216542481U CN 216542481 U CN216542481 U CN 216542481U CN 202123126856 U CN202123126856 U CN 202123126856U CN 216542481 U CN216542481 U CN 216542481U
- Authority
- CN
- China
- Prior art keywords
- clamping
- screw
- fixed
- seat
- machining
- Prior art date
- Legal status (The legal status is an assumption and is not a legal conclusion. Google has not performed a legal analysis and makes no representation as to the accuracy of the status listed.)
- Expired - Fee Related
Links
- 238000005498 polishing Methods 0.000 title claims abstract description 20
- 238000003754 machining Methods 0.000 title claims abstract description 12
- 238000009434 installation Methods 0.000 claims description 15
- 230000003287 optical effect Effects 0.000 claims description 11
- 230000004075 alteration Effects 0.000 description 1
- 230000009286 beneficial effect Effects 0.000 description 1
- 238000005516 engineering process Methods 0.000 description 1
- 238000012986 modification Methods 0.000 description 1
- 230000004048 modification Effects 0.000 description 1
- 238000006467 substitution reaction Methods 0.000 description 1
Images
Landscapes
- Constituent Portions Of Griding Lathes, Driving, Sensing And Control (AREA)
Abstract
The utility model discloses a machining multifunctional polishing device which comprises a base, wherein a supporting column is fixedly installed at the corner of the top of the base through a screw, a clamping table is fixedly installed at the top of the supporting column through a screw, a through groove, a guide shaft and an adjusting screw rod are arranged on the clamping table, the through groove is formed in the middle of the clamping table, the guide shaft is fixedly installed on the left side of the top of the clamping table through a screw, and the adjusting screw rod is connected to the right side of the top of the clamping table in an interference fit mode through a bearing. The workpiece polishing machine can polish workpieces easily and quickly, and polishing efficiency is effectively improved.
Description
Technical Field
The utility model relates to a machining multifunctional polishing device, and belongs to the technical field of polishing devices.
Background
The workpiece needs to be polished in the machining process, and the polishing work at present mostly adopts a manual handheld polishing machine to work, so that the labor intensity is high, and the working efficiency is seriously influenced. In order to solve the problems, a new technical scheme is provided.
Disclosure of Invention
The utility model aims to provide a machining multifunctional grinding device to solve the problems in the background technology.
In order to achieve the purpose, the utility model adopts the following technical scheme: the utility model provides a multi-functional equipment of polishing of machining, includes the base, base top edge is fixed with the support column through the screw installation, the support column top is fixed with the clamping platform through the screw installation, the clamping bench is provided with logical groove, guiding axle and adjusting screw, it sets up in the middle of the clamping platform to lead to the groove, the guiding axle is fixed in clamping bench top left side through the screw installation, adjusting screw passes through the bearing interference and connects in clamping bench top right side.
Preferably, lead to groove top outside front and back end and be fixed with the clamping seat through the screw installation, be provided with the back on the clamping seat to splint and tightly decide the screw rod, the back is connected in rear end clamping seat inboard through the bearing interference to the splint, tightly decide the screw rod through threaded connection on front end clamping seat, and tightly decide the screw rod and run through and extend to the front end clamping seat inboard and be connected with preceding to splint through the bearing interference, it is fixed with the driving lever through the screw installation on the outer terminal surface of preceding pair splint.
Preferably, the guide shaft is sleeved with a left connecting seat, the right end of the left connecting seat is symmetrically and fixedly provided with optical axes through screws, the right end of the optical axes is fixedly provided with a right connecting seat through screws, and the right connecting seat is connected with the adjusting screw rod through threads.
Preferably, the optical axis is sleeved with a supporting plate, the front end of the top of the supporting plate is fixedly provided with a motor through screws, and a main shaft of the motor penetrates through and extends to the lower part of the bottom of the supporting plate and is fixedly provided with a polishing wheel through screws.
Compared with the prior art, the utility model has the beneficial effects that: the clamping device comprises a front clamping plate, a rear clamping plate, a clamping screw and a clamping device, wherein the front clamping plate is connected with the inner side of a front end clamping seat in an interference manner through a bearing and can be matched with the rear clamping plate to clamp a workpiece; a deflector rod is fixedly arranged on the outer end face of the front pair of clamping plates through screws, and the angle of the clamped workpiece can be easily adjusted through the deflector rod; the right connecting seat is connected with the adjusting screw rod through threads, and the height of the polishing wheel can be easily adjusted through the adjusting screw rod; by integrating the automatic polishing machine, a workpiece can be easily and quickly polished, and the polishing efficiency is effectively improved.
Drawings
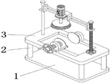
FIG. 1 is a schematic structural view of the present invention;
FIG. 2 is a schematic view of a clamping table according to the present invention;
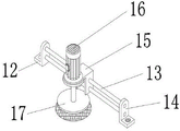
FIG. 3 is a schematic view of a pallet structure according to the present invention;
in the figure: 1-a base; 2-a support column; 3-clamping table; 4-through groove; 5-a guide shaft; 6-adjusting a screw rod; 7-clamping a holder; 8-back to the clamp plate; 9-tightening the screw rod; 10-front pair of splints; 11-a deflector rod; 12-a left connection seat; 13-optical axis; 14-a right connection seat; 15-a pallet; 16-an electric machine; 17-grinding wheel.
Detailed Description
The technical solution in the embodiments of the present invention will be clearly and completely explained below with reference to the drawings in the embodiments of the present invention.
As shown in figures 1-3, a multifunctional polishing device for machining comprises a base 1, wherein a supporting column 2 is fixedly arranged at the top corner of the base 1 through a screw, a clamping table 3 is fixedly arranged at the top of the supporting column 2 through a screw, a through groove 4, a guide shaft 5 and an adjusting screw 6 are arranged on the clamping table 3, the through groove 4 is arranged in the middle of the clamping table 3, the guide shaft 5 is fixedly arranged at the left side of the top of the clamping table 3 through a screw, the adjusting screw 6 is connected to the right side of the top of the clamping table 3 through a bearing in an interference manner, a clamping seat 7 is fixedly arranged at the front end and the rear end of the outer side of the top of the through groove 4 through a screw, a rear butt clamp plate 8 and a tightening screw 9 are arranged on the clamping seat 7, the rear butt clamp plate 8 is connected to the inner side of the rear end clamping seat 7 through a bearing in an interference manner, the tightening screw 9 is connected to the front end clamping seat 7 through a screw, and the tightening screw 9 penetrates and extends to the inner side of the front butt clamp plate 10 through a bearing in an interference manner, preceding to being fixed with driving lever 11 through screw installation on the terminal surface of splint 10, the cover is equipped with left connecting seat 12 on the guiding axle 5, left connecting seat 12 right-hand member is fixed with optical axis 13 through screw symmetry installation, optical axis 13 right-hand member is fixed with right connecting seat 14 through screw installation, right connecting seat 14 is connected with adjusting screw 6 through the screw thread, the cover is equipped with layer board 15 on the optical axis 13, layer board 15 top front end is fixed with motor 16 through screw installation, 16 main shafts of motor run through and extend to layer board 15 bottom below and be fixed with the wheel of polishing 17 through screw installation.
The specific use mode is as follows: clamping and fixing a workpiece to be polished in the through groove 4 through the rear butt clamp plate 8 and the front butt clamp plate 10, then screwing the adjusting screw 6 to drive the supporting plate 15 on the optical axis 13 to linearly slide downwards along the guide shaft 5, and driving the polishing wheel 17 to linearly slide downwards to be attached to the workpiece by the downward sliding of the supporting plate 15; then, starting a motor 16 to drive a polishing wheel 17 to operate to polish the workpiece, and simultaneously, driving the polishing wheel 17 to slide left and right along an optical axis 13 by a left-right push-pull supporting plate 15 to polish the workpiece in a reciprocating manner; finally, the workpiece can be easily turned over through the deflector rod 11, and the workpiece can be conveniently and comprehensively polished.
The foregoing is a preferred embodiment of the present invention, and it will be apparent to those skilled in the art that variations, modifications, substitutions and alterations can be made in the embodiment without departing from the principles and spirit of the utility model.
Claims (4)
1. The utility model provides a multi-functional equipment of polishing of machining, includes base (1), its characterized in that: base (1) top edge is fixed with support column (2) through the screw installation, support column (2) top is fixed with clamping platform (3) through the screw installation, be provided with logical groove (4), guiding axle (5) and adjusting screw (6) on clamping platform (3), it sets up in the middle of clamping platform (3) to lead to groove (4), guiding axle (5) are fixed in clamping platform (3) top left side through the screw installation, adjusting screw (6) are connected in clamping platform (3) top right side through the bearing interference.
2. The multifunctional machining grinding device of claim 1, wherein: lead to groove (4) top outside front and back end and be fixed with clamping seat (7) through the screw installation, clamping seat (7) are last to be provided with back to splint (8) and tightly decide screw rod (9), back is inboard in rear end clamping seat (7) through bearing interference connection to splint (8), tightly decide screw rod (9) through threaded connection on front end clamping seat (7), and tightly decide screw rod (9) run through and extend to front end clamping seat (7) inboard and be connected with preceding to splint (10) through bearing interference, it is fixed with driving lever (11) through the screw installation on the preceding outer terminal surface to splint (10).
3. The multifunctional machining grinding device of claim 1, wherein: the guide shaft (5) is sleeved with a left connecting seat (12), the right end of the left connecting seat (12) is symmetrically and fixedly provided with an optical axis (13) through screws, the right end of the optical axis (13) is fixedly provided with a right connecting seat (14) through screws, and the right connecting seat (14) is connected with the adjusting screw rod (6) through threads.
4. A multi-functional grinding apparatus of machining of claim 3 characterized in that: the optical axis (13) is sleeved with a supporting plate (15), the front end of the top of the supporting plate (15) is fixedly provided with a motor (16) through screws, and a main shaft of the motor (16) penetrates through and extends to the lower portion of the bottom of the supporting plate (15) and is fixedly provided with a grinding wheel (17) through screws.
Priority Applications (1)
| Application Number | Priority Date | Filing Date | Title |
|---|---|---|---|
| CN202123126856.8U CN216542481U (en) | 2021-12-14 | 2021-12-14 | Multi-functional equipment of polishing of machining |
Applications Claiming Priority (1)
| Application Number | Priority Date | Filing Date | Title |
|---|---|---|---|
| CN202123126856.8U CN216542481U (en) | 2021-12-14 | 2021-12-14 | Multi-functional equipment of polishing of machining |
Publications (1)
| Publication Number | Publication Date |
|---|---|
| CN216542481U true CN216542481U (en) | 2022-05-17 |
Family
ID=81540098
Family Applications (1)
| Application Number | Title | Priority Date | Filing Date |
|---|---|---|---|
| CN202123126856.8U Expired - Fee Related CN216542481U (en) | 2021-12-14 | 2021-12-14 | Multi-functional equipment of polishing of machining |
Country Status (1)
| Country | Link |
|---|---|
| CN (1) | CN216542481U (en) |
-
2021
- 2021-12-14 CN CN202123126856.8U patent/CN216542481U/en not_active Expired - Fee Related
Similar Documents
| Publication | Publication Date | Title |
|---|---|---|
| CN219617227U (en) | Milling tool for metal parts | |
| CN216542481U (en) | Multi-functional equipment of polishing of machining | |
| CN215034847U (en) | Welding frock of burnishing machine base processing usefulness | |
| CN211029341U (en) | Outside grinding device of stainless steel stamping workpiece | |
| CN211465844U (en) | Automatic grinding machanism of door processing | |
| CN211414697U (en) | Multi-shaft automatic grinding machine for periphery of workpiece | |
| CN219685018U (en) | Polishing machine for aluminum profile machining | |
| CN215281255U (en) | Burr removing device for metal flange | |
| CN218397511U (en) | Grinding and polishing machine | |
| CN216030009U (en) | Efficient machining's accessory processing equipment of polishing | |
| CN215547269U (en) | Cylindrical grinder capable of automatically feeding and discharging | |
| CN216228930U (en) | A workstation for worm gear production and processing | |
| CN211163364U (en) | Multifunctional automatic grinding machine | |
| CN213647661U (en) | Solid physicochemical plate processing is with automatic limit all-in-one of coping | |
| CN108908061A (en) | Machine part polishing machine | |
| CN112792638A (en) | Aluminum alloy plate surface polishing mechanism suitable for different precisions | |
| CN212735047U (en) | Special clamp for beveling machine | |
| CN219358650U (en) | Dual-purpose machine for cutting and manual welding | |
| CN113352153A (en) | Knife sharpener convenient for multi-angle repeated polishing | |
| CN220427946U (en) | Tensioning wheel surface polishing device | |
| CN223630111U (en) | A precision machining and grinding equipment | |
| CN215510451U (en) | Efficient composite grinding machine | |
| CN215547675U (en) | Oxide layer cleaning device | |
| CN220408201U (en) | Polishing device convenient to adjust | |
| CN217224799U (en) | A surface grinder processing table |
Legal Events
| Date | Code | Title | Description |
|---|---|---|---|
| GR01 | Patent grant | ||
| GR01 | Patent grant | ||
| CF01 | Termination of patent right due to non-payment of annual fee |
Granted publication date: 20220517 |
|
| CF01 | Termination of patent right due to non-payment of annual fee |