CN216523631U - A wall detection device for construction engineering - Google Patents
A wall detection device for construction engineering Download PDFInfo
- Publication number
- CN216523631U CN216523631U CN202122702535.1U CN202122702535U CN216523631U CN 216523631 U CN216523631 U CN 216523631U CN 202122702535 U CN202122702535 U CN 202122702535U CN 216523631 U CN216523631 U CN 216523631U
- Authority
- CN
- China
- Prior art keywords
- fixedly connected
- wall
- threaded
- rod
- support frame
- Prior art date
- Legal status (The legal status is an assumption and is not a legal conclusion. Google has not performed a legal analysis and makes no representation as to the accuracy of the status listed.)
- Expired - Fee Related
Links
Images
Landscapes
- Conveying And Assembling Of Building Elements In Situ (AREA)
Abstract
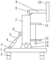
本实用新型公开了一种用于建筑工程的墙体检测装置,包括底板,所述底板的上端固定连接有第二固定块,所述第二固定块的内部转动连接有支撑架,所述支撑架的一侧开设有滑槽,所述支撑架的内部设置有电机,所述电机的输出轴固定连接有螺纹杆,所述螺纹杆的上端转动连接有轴承,所述螺纹杆的外表面螺纹连接有螺纹块,所述螺纹块的一侧固定连接有第二活动杆,所述第二活动杆的一侧固定连接有连接板,所述连接板的一侧固定连接有贴壁盘。本实用新型中,通过电机带动螺纹杆转动,螺纹杆带动螺纹块进行升降,进而带动贴壁盘升降,对高处的墙体进行检测,增大了检测的面积,提高检测效率。
The utility model discloses a wall detection device for construction engineering, which comprises a base plate, an upper end of the base plate is fixedly connected with a second fixing block, and a support frame is rotatably connected inside the second fixing block, and the support One side of the frame is provided with a chute, the inside of the support frame is provided with a motor, the output shaft of the motor is fixedly connected with a threaded rod, the upper end of the threaded rod is rotatably connected with a bearing, and the outer surface of the threaded rod is threaded A threaded block is connected, one side of the threaded block is fixedly connected with a second movable rod, one side of the second movable rod is fixedly connected with a connecting plate, and one side of the connecting plate is fixedly connected with a wall-mounted plate. In the utility model, the motor drives the threaded rod to rotate, and the threaded rod drives the threaded block to move up and down, which in turn drives the wall mount plate to move up and down to detect the high wall, which increases the detection area and improves the detection efficiency.
Description
技术领域technical field
本实用新型涉及墙体检测装置技术领域,尤其涉及一种用于建筑工程的墙体检测装置。The utility model relates to the technical field of wall detection devices, in particular to a wall detection device used in construction projects.
背景技术Background technique
平整度是指加工或者生产某些东西时,表面并不会绝对平整,所不平与绝对水平之间,所差数据就是平整度,其中,对于建筑的检测,平整度允许偏差为8mm,如出现偏差15mm,则整板所有测量点均视为不合格。Flatness means that when processing or producing something, the surface will not be absolutely flat. The difference between the unevenness and the absolute level is the flatness. For the inspection of buildings, the allowable deviation of the flatness is 8mm. If the deviation is 15mm, all measurement points of the whole board will be regarded as unqualified.
现有的墙体平整度检测装置,单次检测的墙壁范围较小,且不方便对平整度相差较大的地方进行稳定标记,从而影响了装置对墙体平整度检测的效率,为此,我们提出一种新型地用于建筑工程的墙体平整度检测装置用于解决上述问题。The existing wall flatness detection device has a small wall range for single detection, and it is inconvenient to stably mark the places with a large difference in flatness, thus affecting the efficiency of the device for detecting the wall flatness. Therefore, We propose a new type of wall flatness detection device for construction projects to solve the above problems.
实用新型内容Utility model content
本实用新型的目的是为了解决现有技术中存在的缺点,而提出的一种用于建筑工程的墙体检测装置。The purpose of the utility model is to solve the shortcomings of the prior art, and proposes a wall detection device for construction engineering.
为了实现上述目的,本实用新型采用了如下技术方案:一种用于建筑工程的墙体检测装置,包括底板,所述底板的上端固定连接有第二固定块,所述第二固定块的内部转动连接有支撑架,所述支撑架的内部设置有电机,所述电机的输出轴固定连接有螺纹杆,所述螺纹杆的外表面螺纹连接有螺纹块;In order to achieve the above purpose, the utility model adopts the following technical scheme: a wall detection device for construction engineering, comprising a base plate, the upper end of the base plate is fixedly connected with a second fixing block, and the inner part of the second fixing block is A support frame is rotatably connected, a motor is arranged inside the support frame, a threaded rod is fixedly connected to the output shaft of the motor, and a threaded block is threadedly connected to the outer surface of the threaded rod;
所述螺纹块的一侧固定连接有第二活动杆,所述第二活动杆的一侧固定连接有连接板,所述连接板的一侧固定连接有贴壁盘。One side of the threaded block is fixedly connected with a second movable rod, one side of the second movable rod is fixedly connected with a connecting plate, and one side of the connecting plate is fixedly connected with a wall-mounted disk.
作为上述技术方案的进一步描述:As a further description of the above technical solutions:
所述螺纹杆的上端转动连接有轴承。The upper end of the threaded rod is rotatably connected with a bearing.
作为上述技术方案的进一步描述:As a further description of the above technical solutions:
所述支撑架的一侧固定连接有连接块与刻度尺,所述刻度尺位于连接块的下方,所述连接块的下端设置有铅锤。One side of the support frame is fixedly connected with a connecting block and a scale, the scale is located below the connecting block, and a plumb bob is arranged at the lower end of the connecting block.
作为上述技术方案的进一步描述:As a further description of the above technical solutions:
所述底板的上端固定连接有第一固定块,所述第一固定块的内部转动连接有连接杆。A first fixing block is fixedly connected to the upper end of the bottom plate, and a connecting rod is rotatably connected inside the first fixing block.
作为上述技术方案的进一步描述:As a further description of the above technical solutions:
所述连接杆的内部设置有第一弹簧,所述第一弹簧的上端固定连接有限位板,所述限位板的上端固定连接有第一活动杆,所述第一活动杆的上端转动连接有滚轮。The interior of the connecting rod is provided with a first spring, the upper end of the first spring is fixedly connected to a limit plate, the upper end of the limit plate is fixedly connected with a first movable rod, and the upper end of the first movable rod is rotatably connected There are scroll wheels.
作为上述技术方案的进一步描述:As a further description of the above technical solutions:
所述支撑架的一侧开设有滑槽。One side of the support frame is provided with a chute.
作为上述技术方案的进一步描述:As a further description of the above technical solution:
所述底板的下端固定连接有底座,所述底座设置有四个。The lower end of the bottom plate is fixedly connected with a base, and the base is provided with four.
作为上述技术方案的进一步描述:As a further description of the above technical solutions:
所述底座包括调节杆、第二弹簧、升降槽,防滑垫,所述升降槽与调节杆呈垂直镶嵌活动设置,所述调节杆外侧的第二弹簧呈垂直环绕设置,所述升降槽的下端固定连接有防滑垫。The base includes an adjusting rod, a second spring, a lifting groove, and an anti-skid pad. The lifting groove and the adjusting rod are arranged vertically inlaid and movable, and the second spring outside the adjusting rod is arranged in a vertical circle. Fixed connection with anti-skid pads.
本实用新型具有如下有益效果:The utility model has the following beneficial effects:
1、与现有技术相比,该一种用于建筑工程的墙体检测装置,通过设置调节杆、升降槽、第二弹簧,使得墙体检测装置在凹凸不平的地面也可正常使用,提高了墙体检测装置的实用性,且通过防滑垫提高墙体检测装置的稳定性,避免墙体检测装置倾倒受损的情况。1. Compared with the prior art, this kind of wall detection device for construction engineering can be used normally on uneven ground by setting adjustment rods, lifting grooves and second springs. The practicability of the wall body detection device is improved, and the stability of the wall body detection device is improved by the anti-skid pad, so as to avoid the situation that the wall body detection device is damaged by falling over.
2、与现有技术相比,该一种用于建筑工程的墙体检测装置,通过电机带动螺纹杆转动,螺纹杆带动螺纹块进行升降,进而带动贴壁盘升降,对高处的墙体进行检测,增大了检测的面积,提高检测效率。2. Compared with the prior art, this kind of wall detection device used in construction projects drives the threaded rod to rotate through the motor, and the threaded rod drives the threaded block to rise and fall, and then drives the wall-mounted disk to rise and fall, so that the high wall can be moved up and down. The detection is carried out, the detection area is increased, and the detection efficiency is improved.
3、与现有技术相比,该一种用于建筑工程的墙体检测装置,通过设置第一固定块、连接杆、第一活动杆、滚轮,在检测过程中支撑支撑架,使其不会翻倒,提高装置的实用性。3. Compared with the prior art, this kind of wall detection device for construction engineering, by setting the first fixed block, the connecting rod, the first movable rod, and the roller, supports the support frame during the detection process, so that it does not. can tip over, improving the usability of the unit.
附图说明Description of drawings
图1为本实用新型提出的一种用于建筑工程的墙体检测装置的结构视图;1 is a structural view of a wall detection device for construction engineering proposed by the utility model;
图2为本实用新型提出的一种用于建筑工程的墙体检测装置的内部结构视图;FIG. 2 is an internal structure view of a wall detection device for construction engineering proposed by the utility model;
图3为图2中A处放大示意图;Fig. 3 is the enlarged schematic diagram at A place in Fig. 2;
图4为本实用新型提出的一种用于建筑工程的墙体检测装置的底座的内部结构视图。FIG. 4 is an internal structural view of a base of a wall detection device for construction engineering proposed by the present invention.
图例说明:illustration:
1、底板;2、底座;3、第一固定块;4、连接杆;5、第一活动杆;6、滚轮;7、支撑架;8、第二活动杆;9、连接板;10、贴壁盘;11、连接块;12、刻度尺;13、铅锤;14、第二固定块;15、滑槽;16、螺纹杆;17、轴承;18、螺纹块;19、电机;20、限位板;21、第一弹簧;22、调节杆;23、第二弹簧;24、升降槽;25、防滑垫。1. Bottom plate; 2. Base; 3. The first fixed block; 4. The connecting rod; 5. The first movable rod; 6. The roller; 7. The support frame; 8. The second movable rod; 9. The connecting plate; 10, Wall plate; 11, connecting block; 12, scale; 13, plumb weight; 14, second fixing block; 15, chute; 16, threaded rod; 17, bearing; 18, threaded block; 19, motor; 20 21, the first spring; 22, the adjusting rod; 23, the second spring; 24, the lifting groove; 25, the anti-skid pad.
具体实施方式Detailed ways
下面将结合本实用新型实施例中的附图,对本实用新型实施例中的技术方案进行清楚、完整地描述,显然,所描述的实施例仅仅是本实用新型一部分实施例,而不是全部的实施例。基于本实用新型中的实施例,本领域普通技术人员在没有做出创造性劳动前提下所获得的所有其他实施例,都属于本实用新型保护的范围。The technical solutions in the embodiments of the present utility model will be clearly and completely described below with reference to the accompanying drawings in the embodiments of the present utility model. Obviously, the described embodiments are only a part of the embodiments of the present utility model, rather than all the implementations. example. Based on the embodiments of the present invention, all other embodiments obtained by those of ordinary skill in the art without creative work fall within the protection scope of the present invention.
在本实用新型的描述中,需要说明的是,术语“中心”、“上”、“下”、“左”、“右”、“竖直”、“水平”、“内”、“外”等指示的方位或位置关系为基于附图所示的方位或位置关系,仅是为了便于描述本实用新型和简化描述,而不是指示或暗示所指的装置或元件必须具有特定的方位、以特定的方位构造和操作,因此不能理解为对本实用新型的限制;术语“第一”、“第二”、“第三”仅用于描述目的,而不能理解为指示或暗示相对重要性,此外,除非另有明确的规定和限定,术语“安装”、“相连”、“连接”应做广义理解,例如,可以是固定连接,也可以是可拆卸连接,或一体地连接;可以是机械连接,也可以是电连接;可以是直接相连,也可以通过中间媒介间接相连,可以是两个元件内部的连通。对于本领域的普通技术人员而言,可以具体情况理解上述术语在本实用新型中的具体含义。In the description of the present invention, it should be noted that the terms "center", "upper", "lower", "left", "right", "vertical", "horizontal", "inner" and "outer" The orientation or positional relationship indicated by etc. is based on the orientation or positional relationship shown in the accompanying drawings, which is only for the convenience of describing the present invention and simplifying the description, rather than indicating or implying that the referred device or element must have a specific orientation, with a specific orientation. Therefore, it should not be construed as a limitation to the present invention; the terms "first", "second" and "third" are only used for descriptive purposes, and should not be construed as indicating or implying relative importance. In addition, Unless otherwise expressly specified and limited, the terms "installed", "connected" and "connected" should be understood in a broad sense, for example, it may be a fixed connection, a detachable connection, or an integral connection; it may be a mechanical connection, It can also be an electrical connection; it can be a direct connection, or an indirect connection through an intermediate medium, or an internal connection between two components. For those of ordinary skill in the art, the specific meanings of the above terms in the present invention can be understood in specific situations.
参照图1-4,本实用新型提供的一种实施例:一种用于建筑工程的墙体检测装置,包括底板1,底板1的上端固定连接有第二固定块14,第二固定块14的内部转动连接有支撑架7,支撑架7的内部设置有电机19,电机19的输出轴固定连接有螺纹杆16,螺纹杆16的外表面螺纹连接有螺纹块18,通过电机19带动螺纹杆16转动,螺纹杆16带动螺纹块18进行升降,进而带动贴壁盘10升降,对高处的墙体进行检测,增大了检测的面积,提高检测效率;1-4, an embodiment provided by the present invention: a wall detection device for construction engineering, comprising a
螺纹块18的一侧固定连接有第二活动杆8,第二活动杆8的一侧固定连接有连接板9,连接板9的一侧固定连接有贴壁盘10。One side of the threaded
螺纹杆16的上端转动连接有轴承17,支撑架7的一侧固定连接有连接块11与刻度尺12,刻度尺12位于连接块11的下方,连接块11的下端设置有铅锤13,底板1的上端固定连接有第一固定块3,第一固定块3的内部转动连接有连接杆4,连接杆4的内部设置有第一弹簧21,第一弹簧21的上端固定连接有限位板20,限位板20的上端固定连接有第一活动杆5,第一活动杆5的上端转动连接有滚轮6,支撑架7的一侧开设有滑槽15,底板1的下端固定连接有底座2,底座2设置有四个,底座2包括调节杆22、第二弹簧23、升降槽24,防滑垫25,升降槽24与调节杆22呈垂直镶嵌活动设置,调节杆22外侧的第二弹簧23呈垂直环绕设置,升降槽24的下端固定连接有防滑垫25,通过设置调节杆22、升降槽24、第二弹簧23,使得墙体检测装置在凹凸不平的地面也可正常使用,提高了墙体检测装置的实用性,且通过防滑垫25提高墙体检测装置的稳定性,避免墙体检测装置倾倒受损的情况。The upper end of the threaded
工作原理:该一种用于建筑工程的墙体检测装置,在使用时,将贴壁盘10贴于墙体,墙体对贴壁盘10进行挤压,贴壁盘10带动支撑架7移动,支撑架7带动连接块11移动,再观察刻度尺12,完成检测,通过电机19带动螺纹杆16转动,螺纹杆16带动螺纹块18进行升降,进而带动贴壁盘10升降,对高处的墙体进行检测,增大了检测的面积。Working principle: This kind of wall detection device used in construction engineering, when in use, stick the
最后应说明的是:以上所述仅为本实用新型的优选实施例而已,并不用于限制本实用新型,尽管参照前述实施例对本实用新型进行了详细的说明,对于本领域的技术人员来说,其依然可以对前述各实施例所记载的技术方案进行修改,或者对其中部分技术特征进行等同替换,凡在本实用新型的精神和原则之内,所作的任何修改、等同替换、改进等,均应包含在本实用新型的保护范围之内。Finally, it should be noted that the above are only the preferred embodiments of the present invention, and are not intended to limit the present invention. , it can still modify the technical solutions described in the foregoing embodiments, or perform equivalent replacements to some of the technical features. Any modification, equivalent replacement, improvement, etc. made within the spirit and principle of the present utility model, All should be included within the protection scope of the present invention.
Claims (8)
Priority Applications (1)
| Application Number | Priority Date | Filing Date | Title |
|---|---|---|---|
| CN202122702535.1U CN216523631U (en) | 2021-11-06 | 2021-11-06 | A wall detection device for construction engineering |
Applications Claiming Priority (1)
| Application Number | Priority Date | Filing Date | Title |
|---|---|---|---|
| CN202122702535.1U CN216523631U (en) | 2021-11-06 | 2021-11-06 | A wall detection device for construction engineering |
Publications (1)
| Publication Number | Publication Date |
|---|---|
| CN216523631U true CN216523631U (en) | 2022-05-13 |
Family
ID=81527002
Family Applications (1)
| Application Number | Title | Priority Date | Filing Date |
|---|---|---|---|
| CN202122702535.1U Expired - Fee Related CN216523631U (en) | 2021-11-06 | 2021-11-06 | A wall detection device for construction engineering |
Country Status (1)
| Country | Link |
|---|---|
| CN (1) | CN216523631U (en) |
-
2021
- 2021-11-06 CN CN202122702535.1U patent/CN216523631U/en not_active Expired - Fee Related
Similar Documents
| Publication | Publication Date | Title |
|---|---|---|
| CN206831069U (en) | A kind of instrument of surveying and mapping tripod with warning device | |
| CN209764094U (en) | A Municipal Surveying and Mapping Device Convenient for Calibration | |
| CN210771277U (en) | A level tripod for construction project management | |
| CN111350927A (en) | A distance measuring device for truss hoisting | |
| CN216523631U (en) | A wall detection device for construction engineering | |
| CN213422016U (en) | Width detection device for bridge cracks | |
| CN220893362U (en) | A vertical detection device for building construction | |
| CN207066436U (en) | A kind of road and bridge construction measurement apparatus | |
| CN211779741U (en) | Building angle measuring instrument support that stability is good | |
| CN211977890U (en) | A positioning and ranging device for environmental art design | |
| CN210135879U (en) | Verticality tester for civil construction | |
| CN210774065U (en) | A route measuring device for highway design | |
| CN212026372U (en) | A kind of foundation pit deformation monitoring device | |
| CN212131848U (en) | A detection equipment rack with convenient height adjustment for bridge detection | |
| CN210128709U (en) | Conveniently adjust building of central stationary point and detect and use spirit level | |
| CN209764066U (en) | Portable civil engineering construction measuring device | |
| CN221744918U (en) | A detection device for construction engineering | |
| CN219776704U (en) | A portable level ruler auxiliary ruler device | |
| CN219223727U (en) | A special inclination measuring device for construction engineering | |
| CN219301617U (en) | A multifunctional measuring tool for construction engineering | |
| CN208206126U (en) | A kind of building engineering survey plotting curves device | |
| CN219889231U (en) | A surveying and mapping locator | |
| CN218297122U (en) | Height measuring device for architectural design | |
| CN216643692U (en) | Mapping instrument positioning device for engineering mapping | |
| CN219640929U (en) | A theodolite for lightning protection detection |
Legal Events
| Date | Code | Title | Description |
|---|---|---|---|
| GR01 | Patent grant | ||
| GR01 | Patent grant | ||
| CF01 | Termination of patent right due to non-payment of annual fee |
Granted publication date: 20220513 |
|
| CF01 | Termination of patent right due to non-payment of annual fee |
