CN216520422U - Display combined system convenient to disassemble and assemble and used for displaying in different places - Google Patents

Display combined system convenient to disassemble and assemble and used for displaying in different places Download PDF

Info

Publication number
CN216520422U
CN216520422U CN202122586327.XU CN202122586327U CN216520422U CN 216520422 U CN216520422 U CN 216520422U CN 202122586327 U CN202122586327 U CN 202122586327U CN 216520422 U CN216520422 U CN 216520422U
Authority
CN
China
Prior art keywords
display
convenient
main body
plate
rod
Prior art date
Legal status (The legal status is an assumption and is not a legal conclusion. Google has not performed a legal analysis and makes no representation as to the accuracy of the status listed.)
Expired - Fee Related
Application number
CN202122586327.XU
Other languages
Chinese (zh)
Inventor
赵见强
郎宪丽
Current Assignee (The listed assignees may be inaccurate. Google has not performed a legal analysis and makes no representation or warranty as to the accuracy of the list.)
Shandong Yunzun Information Technology Co ltd
Original Assignee
Shandong Yunzun Information Technology Co ltd
Priority date (The priority date is an assumption and is not a legal conclusion. Google has not performed a legal analysis and makes no representation as to the accuracy of the date listed.)
Filing date
Publication date
Application filed by Shandong Yunzun Information Technology Co ltd filed Critical Shandong Yunzun Information Technology Co ltd
Priority to CN202122586327.XU priority Critical patent/CN216520422U/en
Application granted granted Critical
Publication of CN216520422U publication Critical patent/CN216520422U/en
Expired - Fee Related legal-status Critical Current
Anticipated expiration legal-status Critical

Links

Images

Landscapes

  • Devices For Indicating Variable Information By Combining Individual Elements (AREA)

Abstract

本实用新型公开了一种便于拆装的用于异地显示的显示器组合系统,涉及显示器技术领域,包括底座以及分别固定安装在底座两侧的支撑柱,底座的底部固定安装有滚轮,两个支撑柱之间滑动安装有固定板,固定板的顶部设置有安装机构,安装机构上可拆卸式安装有显示器主体,固定板的底部设置有升降机构。本实用新型,通过安装机构实现对显示器主体进行安装与拆卸,整个操作方便,节省时间,解决了现有技术中显示器主体通过螺钉固定安装以至于不方便拆装的问题,进而提高了对显示器主体拆装的效率;通过升降机构方便对显示器主体进行向上或向下移动,无需借助扶梯进行爬高,进而更加方便操作,实用性较高。

Figure 202122586327

The utility model discloses a display combination system for remote display, which is convenient for disassembly and assembly, and relates to the technical field of displays. A fixed plate is slidably installed between the columns, an installation mechanism is arranged on the top of the fixed plate, a display main body is detachably installed on the installation mechanism, and a lifting mechanism is arranged at the bottom of the fixed plate. The utility model realizes the installation and disassembly of the display main body through the installation mechanism, the whole operation is convenient, saves time, solves the problem that the display main body is fixed and installed by screws so as to be inconvenient for disassembly and assembly in the prior art, and further improves the performance of the display main body. Efficiency of disassembly and assembly; the main body of the display can be easily moved up or down through the lifting mechanism, and there is no need to climb up with the help of an escalator, which is more convenient to operate and has high practicability.

Figure 202122586327

Description

Display combined system convenient to disassemble and assemble and used for displaying in different places
Technical Field
The utility model relates to the technical field of displays, in particular to a display combination system convenient to disassemble and assemble and used for displaying in different places.
Background
The display receives signals from the computer and forms images that function as a television receiver. Some computer screens employ liquid crystal displays, which are also called visual displays, and take liquid crystal displays as an example, where the liquid crystal display includes a liquid crystal module, a control panel and an inverter.
Among the prior art, for the convenience of user watching, the display is generally installed in the eminence, when carrying out the dismouting to the display, needs to be more troublesome with the help of climbing instrument, and generally carries out fixed mounting through the screw in order to improve the steadiness display of installation, and this kind of mounting means is inconvenient carries out the dismouting to the display, wastes time and energy.
SUMMERY OF THE UTILITY MODEL
The utility model aims to solve the defects that the display is arranged at a high position by a climbing tool and the display is fixed and arranged by a screw in a troublesome way in the prior art, and provides a display combination system for remote display, which is convenient to assemble and disassemble.
In order to achieve the purpose, the utility model adopts the following technical scheme:
the utility model provides a display combined system for strange land demonstration convenient to dismouting, includes the base and respectively the support column of fixed mounting in the base both sides, the bottom fixed mounting of base has the gyro wheel, two slidable mounting has the fixed plate between the support column, the top of fixed plate is provided with installation mechanism, the detachable display main part of installing on the installation mechanism, the bottom of fixed plate is provided with elevating system.
The above technical solution further comprises:
the mounting mechanism comprises a mounting plate fixedly mounted at the top of the fixing plate, a placing groove for placing the display main body is formed in the front end face of the mounting plate, two baffle plates A are fixedly mounted at the bottom of the placing groove, and two sliding grooves are formed in the rear end face of the mounting plate.
Two the equal fixed mounting in bottom of spout has electronic pole, two the equal fixed mounting in top of electronic pole has the slide, two the slide respectively with corresponding spout sliding connection, two the equal fixed mounting in top of slide has the baffle B that is L shape.
Elevating system includes that fixed mounting is the fixed block of U-shaped in the fixed plate bottom, rotate through the pivot on the fixed block and install connecting rod A, fixed mounting on the base has the connecting block that is the U-shaped, rotate on the connecting block and install the cylinder pole, fixed mounting has connecting rod B on the cylinder pole, connecting rod A's end is articulated with connecting rod B's end.
The base is provided with a groove, one side of the inside of the groove is fixedly provided with an electric cylinder, the tail end of the electric cylinder is fixedly provided with a rack, and the rack is connected with the groove in a sliding mode.
One end of the cylindrical rod penetrates through the connecting block and extends to the outer side of the connecting block, and one end, extending to the outer side of the connecting block, of the cylindrical rod is fixedly provided with a gear meshed with the rack.
Compared with the prior art, the utility model has the beneficial effects that:
1. according to the utility model, the display main body is mounted and dismounted through the mounting mechanism, the whole operation is convenient, the time is saved, the problem that the display main body is inconvenient to dismount due to the fact that the display main body is fixedly mounted through screws in the prior art is solved, and the efficiency of dismounting the display main body is further improved.
2. According to the utility model, the display main body can be conveniently moved upwards or downwards through the lifting mechanism, the upward movement can be convenient for a user to watch, the downward movement is convenient for dismounting the display main body, the climbing by means of an escalator is not needed, the operation is more convenient, and the practicability is higher.
Drawings
FIG. 1 is a schematic front view of a display assembly system for remote display, which is easy to be assembled and disassembled according to the present invention;
FIG. 2 is a schematic top view of a display assembly system for remote display, which is easy to be assembled and disassembled according to the present invention;
FIG. 3 is a schematic diagram of a rear view of a display assembly system for remote display, which is easy to be assembled and disassembled according to the present invention;
FIG. 4 is a schematic side view of a display assembly system for remote display, which is easy to be assembled and disassembled according to the present invention;
fig. 5 is an enlarged schematic structural view of a portion a in fig. 4 according to the present invention.
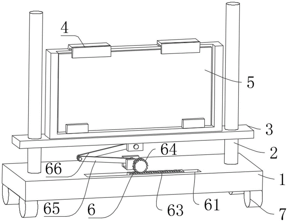
In the figure: 1. a base; 2. a support pillar; 3. a fixing plate; 4. an installation mechanism; 41. mounting a plate; 42. a placement groove; 43. a baffle A; 44. a chute; 45. an electric rod; 46. a slide plate; 47. a baffle B; 5. a display main body; 6. a lifting mechanism; 61. a groove; 62. an electric cylinder; 63. a rack; 64. a gear; 65. a connecting rod B; 66. a connecting rod A; 67. connecting blocks; 68. a fixed block; 69. a cylindrical rod; 7. and a roller.
Detailed Description
The technical solution of the present invention is further explained with reference to the accompanying drawings and specific embodiments.
Example 1
As shown in fig. 1-3, the display combination system for displaying in different places, which is convenient to disassemble and assemble, provided by the utility model, comprises a base 1 and support columns 2 fixedly installed on two sides of the base 1 respectively, wherein rollers 7 are fixedly installed at the bottom of the base 1, a fixing plate 3 is installed between the two support columns 2 in a sliding manner, an installation mechanism 4 is arranged at the top of the fixing plate 3, a display main body 5 is detachably installed on the installation mechanism 4, and a lifting mechanism 6 is arranged at the bottom of the fixing plate 3;
the mounting mechanism 4 comprises a mounting plate 41 fixedly mounted on the top of the fixing plate 3, a placing groove 42 for placing the display main body 5 is formed in the front end surface of the mounting plate 41, two baffles A43 are fixedly mounted at the bottom of the placing groove 42, and two sliding grooves 44 are formed in the rear end surface of the mounting plate 41;
the bottom parts of the two sliding grooves 44 are fixedly provided with electric rods 45, the top parts of the two electric rods 45 are fixedly provided with sliding plates 46, the two sliding plates 46 are respectively in sliding connection with the corresponding sliding grooves 44, and the top parts of the two sliding plates 46 are fixedly provided with L-shaped baffle plates B47;
in this embodiment, the display main body 5 is mounted and dismounted by the mounting mechanism 4, specifically, the electric rod 45 is extended, the electric rod 45 drives the sliding plate 46 to move upwards along the sliding groove 44, the sliding plate 46 drives the baffle B47 to move upwards, so that the baffle B47 is far away from the top of the mounting plate 41, then the display main body 5 is placed into the placing groove 42, the baffle a43 is in contact with the bottom of the display main body 5, so that the bottom of the display main body 5 is limited, then the electric rod 45 is shortened, the electric rod 45 drives the sliding plate 46 to move downwards along the sliding groove 44, the sliding plate 46 drives the baffle B47 to move downwards to be in contact with the top of the display main body 5, so that the upper part of the display main body 5 is limited, and further the mounting of the display main body 5 is realized;
when dismantling, extend electric rod 45, electric rod 45 drives slide 46 along spout 44 upward movement, and slide 46 drives baffle B47 upward movement, makes baffle B47 keep away from the top of mounting panel 41, and then can remove the upper portion spacing to display main body 5, can realize dismantling display main body 5, whole convenient operation is simple.
Example 2
As shown in fig. 1-5, based on embodiment 1, the lifting mechanism 6 includes a U-shaped fixing block 68 fixedly mounted at the bottom of the fixing plate 3, a connecting rod a66 is rotatably mounted on the fixing block 68 through a rotating shaft, a U-shaped connecting block 67 is fixedly mounted on the base 1, a cylindrical rod 69 is rotatably mounted on the connecting block 67, a connecting rod B65 is fixedly mounted on the cylindrical rod 69, and the end of the connecting rod a66 is hinged to the end of the connecting rod B65;
a groove 61 is formed in the base 1, an electric cylinder 62 is fixedly mounted on one side inside the groove 61, a rack 63 is fixedly mounted at the tail end of the electric cylinder 62, and the rack 63 is connected with the groove 61 in a sliding manner;
one end of the cylindrical rod 69 penetrates through the connecting block 67 and extends to the outer side of the connecting block 67, and a gear 64 meshed with the rack 63 is fixedly mounted at one end of the cylindrical rod 69 extending to the outer side of the connecting block 67;
in this embodiment, before the display main body 5 is mounted or dismounted, the display main body 5 is moved to the bottom of the most supporting column 2 by the lifting mechanism 6, so that the operation is convenient, mounting or dismounting is not required to be carried out by a climbing tool, the display main body 5 is lifted to a high position through the lifting mechanism 6 for viewing, specifically, when the electric cylinder 62 is started to extend, the electric cylinder 62 drives the rack 63 to move leftward, the rack 63 drives the gear 64 to rotate, the gear 64 drives the cylindrical rod 69 to rotate, the cylindrical rod 69 drives the connecting rod B65 to rotate axially by using the cylindrical rod 69, the connecting rod B65 drives one end of the connecting rod a66 connected with the fixing block 68 to rotate upward, the connecting rod a66 drives the fixing block 68 to move upward, the fixing block 68 drives the fixing plate 3 to move upward, the fixing plate 3 drives the mounting plate 41 to move upward, the mounting plate 41 drives the display main body 5 to move upward, and then the display main body 5 is lifted;
the electric cylinder 62 is started to shorten, the electric cylinder 62 drives the rack 63 to move rightwards, the rack 63 drives the gear 64 to rotate, the gear 64 drives the cylindrical rod 69 to rotate, the cylindrical rod 69 drives the connecting rod B65 to rotate downwards by taking the cylindrical rod 69 as an axial direction, the connecting rod B65 drives one end, connected with the fixed block 68, of the connecting rod A66 to rotate downwards, the connecting rod A66 drives the fixed block 68 to move downwards, the fixed block 68 drives the fixed plate 3 to move downwards, the fixed plate 3 drives the mounting plate 41 to move downwards, and the mounting plate 41 drives the display main body 5 to move downwards, so that the display main body 5 is convenient to mount and dismount;
the lifting mechanism 6 is arranged in such a way, so that the occupied space can be saved, and the occupied space of the whole device is further reduced.
The above description is only for the preferred embodiment of the present invention, but the scope of the present invention is not limited thereto, and any person skilled in the art should be considered to be within the technical scope of the present invention, and equivalent alternatives or modifications according to the technical solution of the present invention and the inventive concept thereof should be covered by the scope of the present invention.

Claims (6)

1. The utility model provides a display combined system for strange land shows convenient to dismouting, includes base (1) and support column (2) of difference fixed mounting in base (1) both sides, the bottom fixed mounting of base (1) has gyro wheel (7), its characterized in that, two slidable mounting has fixed plate (3) between support column (2), the top of fixed plate (3) is provided with installation mechanism (4), detachable display main part (5) of installing on installation mechanism (4), the bottom of fixed plate (3) is provided with elevating system (6).
2. The display combination system convenient for assembly and disassembly for different-place display according to claim 1, wherein the installation mechanism (4) comprises an installation plate (41) fixedly installed on the top of the fixing plate (3), a placement groove (42) for placing the display main body (5) is formed on the front end surface of the installation plate (41), two baffles A (43) are fixedly installed at the bottom of the placement groove (42), and two sliding grooves (44) are formed on the rear end surface of the installation plate (41).
3. The display combination system convenient for disassembly and assembly and used for remote display as claimed in claim 2, wherein the bottom of each of the two sliding grooves (44) is fixedly provided with an electric rod (45), the top of each of the two electric rods (45) is fixedly provided with a sliding plate (46), the two sliding plates (46) are respectively connected with the corresponding sliding grooves (44) in a sliding manner, and the top of each of the two sliding plates (46) is fixedly provided with an L-shaped baffle B (47).
4. The display combination system convenient to disassemble and assemble and used for the remote display as claimed in claim 1, wherein the lifting mechanism (6) comprises a U-shaped fixed block (68) fixedly mounted at the bottom of the fixed plate (3), a connecting rod A (66) is rotatably mounted on the fixed block (68) through a rotating shaft, a U-shaped connecting block (67) is fixedly mounted on the base (1), a cylindrical rod (69) is rotatably mounted on the connecting block (67), a connecting rod B (65) is fixedly mounted on the cylindrical rod (69), and the tail end of the connecting rod A (66) is hinged to the tail end of the connecting rod B (65).
5. The display combination system convenient to disassemble and assemble and used for the remote display as claimed in claim 4, wherein the base (1) is provided with a groove (61), one side inside the groove (61) is fixedly provided with an electric cylinder (62), the tail end of the electric cylinder (62) is fixedly provided with a rack (63), and the rack (63) is connected with the groove (61) in a sliding manner.
6. The display combination system for off-site display convenient to disassemble and assemble as claimed in claim 5, wherein one end of the cylindrical rod (69) penetrates through the connecting block (67) and extends to the outer side of the connecting block (67), and one end of the cylindrical rod (69) extending to the outer side of the connecting block (67) is fixedly provided with a gear (64) meshed with the rack (63).
CN202122586327.XU 2021-10-27 2021-10-27 Display combined system convenient to disassemble and assemble and used for displaying in different places Expired - Fee Related CN216520422U (en)

Priority Applications (1)

Application Number Priority Date Filing Date Title
CN202122586327.XU CN216520422U (en) 2021-10-27 2021-10-27 Display combined system convenient to disassemble and assemble and used for displaying in different places

Applications Claiming Priority (1)

Application Number Priority Date Filing Date Title
CN202122586327.XU CN216520422U (en) 2021-10-27 2021-10-27 Display combined system convenient to disassemble and assemble and used for displaying in different places

Publications (1)

Publication Number Publication Date
CN216520422U true CN216520422U (en) 2022-05-13

Family

ID=81524029

Family Applications (1)

Application Number Title Priority Date Filing Date
CN202122586327.XU Expired - Fee Related CN216520422U (en) 2021-10-27 2021-10-27 Display combined system convenient to disassemble and assemble and used for displaying in different places

Country Status (1)

Country Link
CN (1) CN216520422U (en)

Cited By (1)

* Cited by examiner, † Cited by third party
Publication number Priority date Publication date Assignee Title
CN115070718A (en) * 2022-06-20 2022-09-20 北京北广科技股份有限公司 An intelligent operation intelligent inspection robot

Cited By (1)

* Cited by examiner, † Cited by third party
Publication number Priority date Publication date Assignee Title
CN115070718A (en) * 2022-06-20 2022-09-20 北京北广科技股份有限公司 An intelligent operation intelligent inspection robot

Similar Documents

Publication Publication Date Title
CN216520422U (en) Display combined system convenient to disassemble and assemble and used for displaying in different places
CN214618685U (en) Adjusting device for computer liquid crystal display screen
CN106667146A (en) Novel improving type display shelf special for electronic commerce
CN215488468U (en) Shockproof multifunctional liquid crystal display screen
CN213420488U (en) Telescopic cloud intelligence LCD screen frame
CN204986266U (en) Novel portable computer camera device
CN219775269U (en) Intelligent classroom central control touch screen
CN222297520U (en) Liquid crystal display convenient to equipment
CN219453563U (en) A monitor support frame that is easy to disassemble
CN221629296U (en) LCD screen convenient to install
CN222354693U (en) An advertising display stand with a detachable back panel
CN216715774U (en) Movable all-in-one machine support
CN218819383U (en) Automatic adjusting device of liquid crystal display screen
CN215534304U (en) Molecular imaging system control equipment
CN111963869A (en) Adjustable water conservancy monitoring device based on Internet of things
CN220582053U (en) Spliced screen support convenient to remove
CN222316367U (en) Embedded industrial control display screen
CN220471088U (en) Show shelf convenient to adjust show angle
CN219606462U (en) Portable TV set frame body
CN222772983U (en) Liquid crystal spliced screen with quick installation function
CN216724579U (en) Photographic equipment for digital imaging
CN221705021U (en) Visual monitoring device convenient to maintain
CN214068230U (en) Fixed display device of scroll for advertisement design
CN219225822U (en) An easy-to-build LED electronic screen
CN215044556U (en) All revolving racks of relay module product

Legal Events

Date Code Title Description
GR01 Patent grant
GR01 Patent grant
CF01 Termination of patent right due to non-payment of annual fee

Granted publication date: 20220513

CF01 Termination of patent right due to non-payment of annual fee