CN216505467U - Cutting equipment is used in processing of latex pillow - Google Patents

Cutting equipment is used in processing of latex pillow Download PDF

Info

Publication number
CN216505467U
CN216505467U CN202123140844.0U CN202123140844U CN216505467U CN 216505467 U CN216505467 U CN 216505467U CN 202123140844 U CN202123140844 U CN 202123140844U CN 216505467 U CN216505467 U CN 216505467U
Authority
CN
China
Prior art keywords
cutting
fixedly connected
base
latex pillow
fixed
Prior art date
Legal status (The legal status is an assumption and is not a legal conclusion. Google has not performed a legal analysis and makes no representation as to the accuracy of the status listed.)
Expired - Fee Related
Application number
CN202123140844.0U
Other languages
Chinese (zh)
Inventor
吴茂成
徐海秋
吴茂申
吴登岳
Current Assignee (The listed assignees may be inaccurate. Google has not performed a legal analysis and makes no representation or warranty as to the accuracy of the list.)
Zhejiang Telalei Latex Technology Co ltd
Original Assignee
Zhejiang Telalei Latex Technology Co ltd
Priority date (The priority date is an assumption and is not a legal conclusion. Google has not performed a legal analysis and makes no representation as to the accuracy of the date listed.)
Filing date
Publication date
Application filed by Zhejiang Telalei Latex Technology Co ltd filed Critical Zhejiang Telalei Latex Technology Co ltd
Priority to CN202123140844.0U priority Critical patent/CN216505467U/en
Application granted granted Critical
Publication of CN216505467U publication Critical patent/CN216505467U/en
Expired - Fee Related legal-status Critical Current
Anticipated expiration legal-status Critical

Links

Images

Landscapes

  • Nonmetal Cutting Devices (AREA)

Abstract

本实用新型涉及乳胶枕技术领域,且公开了一种乳胶枕加工用切割设备,包括切割底座,所述切割底座的背部固定连接有电机固定座,所述切割底座的表面固定连接有固定滑杆,所述固定滑杆的表面滑动连接有切割机构,所述切割机构的表面固定连接有固定装置,述液压缸滑动连接在固定滑杆的表面,所述往复电机固定连接在液压缸的底部,所述连接柱固定连接在往复电机的底部,所述切刀固定连接在连接柱的内部,支撑腿将切割底座整体支撑住,乳胶枕切割座与切割底座相连接,可以放置乳胶枕,电机底座将电机固定座支撑固定,转动电机与主动皮带轮连接,传动皮带将主动皮带轮和从动皮带轮连接,且螺杆与从动皮带轮连接,可实现切割机构的前后滑动。

Figure 202123140844

The utility model relates to the technical field of latex pillows, and discloses a cutting device for latex pillow processing, comprising a cutting base, a motor fixing seat is fixedly connected to the back of the cutting base, and a fixed sliding rod is fixedly connected to the surface of the cutting base , a cutting mechanism is slidably connected to the surface of the fixed sliding rod, a fixing device is fixedly connected to the surface of the cutting mechanism, the hydraulic cylinder is slidably connected to the surface of the fixed sliding rod, and the reciprocating motor is fixedly connected to the bottom of the hydraulic cylinder, The connecting column is fixedly connected to the bottom of the reciprocating motor, the cutting knife is fixedly connected to the interior of the connecting column, the support legs support the cutting base as a whole, the latex pillow cutting seat is connected to the cutting base, and the latex pillow can be placed, the motor base The motor fixing seat is supported and fixed, the rotating motor is connected with the driving pulley, the driving belt is connected with the driving pulley and the driven pulley, and the screw is connected with the driven pulley, so that the front and rear sliding of the cutting mechanism can be realized.

Figure 202123140844

Description

Cutting equipment is used in processing of latex pillow
Technical Field
The utility model relates to the technical field of latex pillows, in particular to cutting equipment for processing a latex pillow.
Background
The latex pillow is made of juice of a rubber tree, the latex pillow cannot be made of 100% pure latex, the latex content of the latex pillow on the market is only 80% -93%, and can reach 96% at most, because the pure latex cannot achieve the solidification and fluffy effects, the latex pillow needs to be fermented by manually adding a safety material, the latex pillow accords with a long sleep habit, can provide comfortable experience for a user, and the side cutting treatment needs to be carried out on the produced and molded latex pillow when the latex pillow is produced;
the latex pillow of prior art after to the shaping when cutting edge, needs a hand control pillow, and the other hand cuts, causes the error easily, reduces work efficiency, improves the defective rate, and thereby the pillow can appear the skew under the effect of cutter when having the cutting and cause the cutting skew to make the pillow scrap.
SUMMERY OF THE UTILITY MODEL
Aiming at the defects of the prior art, the utility model provides the cutting equipment for processing the latex pillow, which has the advantages of automatic cutting and control on the pressing of the latex pillow, and solves the problems that the error is easily caused by controlling the pillow by one hand and cutting by the other hand, the working efficiency is reduced, the reject ratio is improved, and the pillow can be deviated under the action of a cutter.
The utility model provides the following technical scheme: a cutting device for processing a latex pillow comprises a cutting base, wherein the back of the cutting base is fixedly connected with a motor fixing seat, the surface of the cutting base is fixedly connected with a fixed sliding rod, the surface of the fixed sliding rod is slidably connected with a cutting mechanism, and the surface of the cutting mechanism is fixedly connected with a fixing device;
the cutting mechanism comprises a hydraulic cylinder, a reciprocating motor, a connecting column and a cutter, wherein the hydraulic cylinder is connected to the surface of the fixed sliding rod in a sliding mode, the reciprocating motor is fixedly connected to the bottom of the hydraulic cylinder, the connecting column is fixedly connected to the bottom of the reciprocating motor, and the cutter is fixedly connected to the inner portion of the connecting column.
Preferably, the cutting mechanism further comprises a fixing plate and a protection block, the fixing plate is fixedly connected to the bottom of the connecting column, and the protection block is fixedly connected to the bottom of the fixing plate.
Preferably, the bottom fixedly connected with supporting leg of cutting base, the top fixedly connected with latex pillow cutting seat of cutting base, the fixed commentaries on classics hole has been seted up on the top surface of cutting base, the rear fixedly connected with motor base of cutting base, motor base's bottom fixedly connected with support frame.
Preferably, motor base's top fixedly connected with motor fixing base, motor fixing base's top fixedly connected with rotates the motor, the one end that rotates the motor and be close to the cutting base is rotated and is connected with driving pulley, driving pulley's surface drive is connected with driving belt, driving belt's internal drive connecting piece has driven pulley, driven pulley runs through fixed commentaries on classics hole rotation and is connected with the screw rod near the one end of cutting base.
Preferably, the fixed roof that is provided with in the top of fixed plate, the spout has been seted up in the top of fixed plate run through, the inside sliding connection of spout has the litter, the surface of litter is provided with the spring, the bottom fixedly connected with fixed bent plate of litter.
Preferably, the two ends of the spring are fixedly connected with a fixed plate and a fixed bent plate, and the sliding rod penetrates through the fixed plate and is fixedly connected to the bottom of the fixed top plate.
Preferably, the hydraulic cylinder is in threaded connection with the surface of the screw rod, and the cutter is inserted in the protective block in a sliding manner
Compared with the prior art, the utility model has the following beneficial effects:
1. this cutting equipment is used in latex pillow processing, when fixing latex pillow through as needs, at first place latex pillow at the upper surface of latex pillow cutting seat then rotate the motor and drive the drive pulley rotation, the driving belt on drive pulley surface drives the driven pulley rotation, and the screw rod also rotates along with driven pulley's rotation, because pneumatic cylinder and screw rod screw thread transmission, so the pneumatic cylinder slides along with the rotation of screw rod, slide to the top stop motion of latex pillow until the pneumatic cylinder, will fix at the fixing device on fixed plate surface and descend through the pneumatic cylinder, latex pillow top is pushed down to the fixed roof, spring contraction avoids pressing the latex pillow deformation that leads to. And the slide bar makes the pressure face of fixed bent plate keep flush under the spacing of spout to keep the accuracy of tangent plane, the device is convenient for fix the latex pillow.
2. This cutting equipment is used in processing of latex pillow through when needs cutting latex pillow, at first with latex pillow fixed through fixing device, then start reciprocating motor, reciprocating motor passes through the spliced pole and drives the reciprocal cutting of cutter, rotates the motor this moment and drives the screw rod and rotate, makes the pneumatic cylinder inwards slide, make the cutter to latex pillow cut can, the device is convenient for cut latex pillow.
Drawings
FIG. 1 is a schematic view of the overall structure of the present invention;
FIG. 2 is a schematic view of the left side of the present invention;
FIG. 3 is a schematic view of a rotating electric machine according to the present invention;
FIG. 4 is a schematic view of a fixing device according to the present invention;
FIG. 5 is a schematic view of a cutting mechanism according to the present invention.
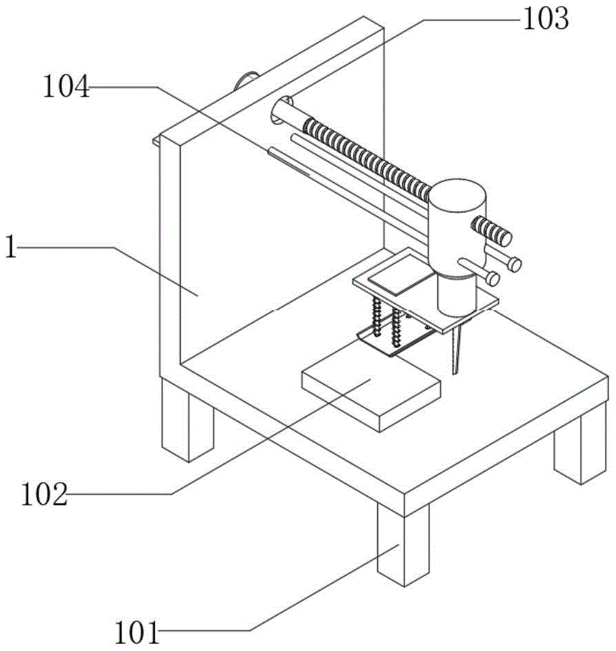
In the figure: 1. cutting the base; 101. supporting legs; 102. a latex pillow cutting seat; 103. fixing the rotary hole; 104. fixing the sliding rod; 105. a motor base; 106. a support frame; 2. a motor fixing seat; 201. rotating the motor; 202. a drive pulley; 203. a drive belt; 204. a driven pulley; 205. a screw; 3. a fixing device; 301. fixing a top plate; 302. a chute; 303. a slide rod; 304. a spring; 305. fixing the bent plate; 4. a cutting mechanism; 401. a hydraulic cylinder; 402. a reciprocating motor; 403. connecting columns; 404. a cutter; 405. a fixing plate; 406. and (5) protecting the block.
Detailed Description
The technical solutions in the embodiments of the present invention will be clearly and completely described below with reference to the drawings in the embodiments of the present invention, and it is obvious that the described embodiments are only a part of the embodiments of the present invention, and not all of the embodiments. All other embodiments, which can be derived by a person skilled in the art from the embodiments given herein without making any creative effort, shall fall within the protection scope of the present invention.
Referring to fig. 1-5, a cutting device for latex pillow processing, including cutting base 1, back fixedly connected with motor fixing base 2 of cutting base 1, surface fixedly connected with fixed slide bar 104 of cutting base 1, surface sliding connection of fixed slide bar 104 has cutting mechanism 4, surface fixedly connected with fixing device 3 of cutting mechanism 4, bottom fixedly connected with supporting leg 101 of cutting base 1, top fixedly connected with latex pillow cutting base 102 of cutting base 1, fixed rotating hole 103 has been seted up on the top surface of cutting base 1, rear fixedly connected with motor base 105 of cutting base 1, bottom fixedly connected with support frame 106 of motor base 105, through setting up latex pillow cutting base 102, be used for placing latex pillow cutting base 102
Referring to fig. 5, the cutting mechanism 4 includes a hydraulic cylinder 401, a reciprocating motor 402, a connecting column 403 and a cutter 404, the hydraulic cylinder 401 is slidably connected to the surface of the fixed sliding rod 104, the reciprocating motor 402 is fixedly connected to the bottom of the hydraulic cylinder 401, the connecting column 403 is fixedly connected to the bottom of the reciprocating motor 402, the cutter 404 is fixedly connected to the inside of the connecting column 403, the cutting mechanism 4 further includes a fixing plate 405 and a protection block 406, the fixing plate 405 is fixedly connected to the bottom of the connecting column 403, the protection block 406 is fixedly connected to the bottom of the fixing plate 405, the hydraulic cylinder 401 is in threaded connection with the surface of the screw 205, the cutter 404 is slidably inserted into the protection block 406, and the latex pillow can be cut by arranging the cutter 404.
Referring to fig. 3, a motor fixing seat 2 is fixedly connected to the top of the motor base 105, a rotating motor 201 is fixedly connected to the top of the motor fixing seat 2, one end of the rotating motor 201 close to the cutting base 1 is rotatably connected with a driving pulley 202, a driving belt 203 is connected to the surface of the driving pulley 202 in a transmission manner, a driven pulley 204 is connected to an internal transmission connecting piece of the driving belt 203, one end of the driven pulley 204 close to the cutting base 1 penetrates through a fixing rotating hole 103 and is rotatably connected with a screw 205, and the screw 205 is arranged and used for moving the cutting mechanism 4.
Referring to fig. 4, a fixed top plate 301 is fixedly disposed on the top of a fixed plate 405, a sliding slot 302 is formed through the top of the fixed plate 405, a sliding rod 303 is slidably connected inside the sliding slot 302, a spring 304 is disposed on the surface of the sliding rod 303, a fixed curved plate 305 is fixedly connected to the bottom of the sliding rod 303, a fixed plate 405 and a fixed curved plate 305 are fixedly connected to two ends of the spring 304, the sliding rod 303 penetrates through the fixed plate 405 and is fixedly connected to the bottom of the fixed top plate 301, and the fixed curved plate 305 is disposed for fixing the latex pillow.
The working principle is that when the cutting equipment for processing the latex pillow is used, in an initial state, the supporting legs 101 support the whole cutting base 1, the latex pillow cutting base 102 is connected with the cutting base 1 and can be used for placing the latex pillow, the motor base 105 supports and fixes the motor fixing base 2, the rotating motor 201 is connected with the driving pulley 202, the driving pulley 202 is connected with the driven pulley 204 through the transmission belt 203, the screw 205 is connected with the driven pulley 204 and can realize the front and back sliding of the cutting mechanism 4, the fixed curved plate 305 is connected with the sliding rod 303 and can fix the latex pillow on the surface of the latex pillow cutting base 102;
when the latex pillow needs to be fixed, firstly, the latex pillow is placed on the upper surface of the latex pillow cutting seat 102, then the motor 201 is rotated to drive the driving pulley 202 to rotate, the driving belt 203 on the surface of the driving pulley 202 drives the driven pulley 204 to rotate, the screw 205 also rotates along with the rotation of the driven pulley 204, as the hydraulic cylinder 401 and the screw 205 are in threaded transmission, the hydraulic cylinder 401 slides along with the rotation of the screw 205 until the hydraulic cylinder 401 slides to the upper side of the latex pillow to stop moving, the fixing device 3 fixed on the surface of the fixing plate 405 is lowered through the hydraulic cylinder 401, the fixing top plate 301 presses the top of the latex pillow, and the spring 304 contracts to avoid the latex pillow from deforming due to over-pressing. And the slide rod 303 keeps the pressing surface of the fixed curved plate 305 flush under the limit of the sliding groove 302, so that the accuracy of the cutting surface is kept, and the device is convenient for fixing the latex pillow.
When the latex pillow needs to be cut, the latex pillow is fixed through the fixing device 3, then the reciprocating motor 402 is started, the reciprocating motor 402 drives the cutter 404 to cut in a reciprocating mode through the connecting column 403, the motor 201 is rotated to drive the screw rod 205 to rotate, the hydraulic cylinder 401 slides inwards, the cutter 404 is used for cutting the latex pillow, and the device is convenient for cutting the latex pillow.
Although embodiments of the present invention have been shown and described, it will be appreciated by those skilled in the art that changes, modifications, substitutions and alterations can be made in these embodiments without departing from the principles and spirit of the utility model, the scope of which is defined in the appended claims and their equivalents.

Claims (7)

1.一种乳胶枕加工用切割设备,包括切割底座(1),其特征在于:所述切割底座(1)的背部固定连接有电机固定座(2),所述切割底座(1)的表面固定连接有固定滑杆(104),所述固定滑杆(104)的表面滑动连接有切割机构(4),所述切割机构(4)的表面固定连接有固定装置(3);1. A cutting device for latex pillow processing, comprising a cutting base (1), characterized in that: the back of the cutting base (1) is fixedly connected with a motor holder (2), and the surface of the cutting base (1) A fixed sliding rod (104) is fixedly connected, a cutting mechanism (4) is slidably connected to the surface of the fixed sliding rod (104), and a fixing device (3) is fixedly connected to the surface of the cutting mechanism (4); 切割机构(4),所述切割机构(4)包括液压缸(401)、往复电机(402)、连接柱(403)和切刀(404),所述液压缸(401)滑动连接在固定滑杆(104)的表面,所述往复电机(402)固定连接在液压缸(401)的底部,所述连接柱(403)固定连接在往复电机(402)的底部,所述切刀(404)固定连接在连接柱(403)的内部。A cutting mechanism (4), the cutting mechanism (4) comprises a hydraulic cylinder (401), a reciprocating motor (402), a connecting column (403) and a cutting knife (404), the hydraulic cylinder (401) is slidably connected to a fixed slide The surface of the rod (104), the reciprocating motor (402) is fixedly connected to the bottom of the hydraulic cylinder (401), the connecting column (403) is fixedly connected to the bottom of the reciprocating motor (402), the cutter (404) It is fixedly connected inside the connecting column (403). 2.根据权利要求1所述的一种乳胶枕加工用切割设备,其特征在于:所述切割机构(4)还包括固定板(405)和保护块(406),所述固定板(405)固定连接在连接柱(403)的底部,所述保护块(406)固定连接在固定板(405)的底部。2. The cutting device for processing a latex pillow according to claim 1, wherein the cutting mechanism (4) further comprises a fixing plate (405) and a protection block (406), and the fixing plate (405) It is fixedly connected to the bottom of the connecting column (403), and the protection block (406) is fixedly connected to the bottom of the fixing plate (405). 3.根据权利要求1所述的一种乳胶枕加工用切割设备,其特征在于:所述切割底座(1)的底部固定连接有支撑腿(101),所述切割底座(1)的顶部固定连接有乳胶枕切割座(102),所述切割底座(1)的顶端表面开设有固定转孔(103),所述切割底座(1)的后方固定连接有电机底座(105),所述电机底座(105)的底部固定连接有支撑架(106)。3. The cutting device for processing a latex pillow according to claim 1, wherein the bottom of the cutting base (1) is fixedly connected with a support leg (101), and the top of the cutting base (1) is fixed A latex pillow cutting seat (102) is connected, the top surface of the cutting base (1) is provided with a fixed rotating hole (103), and a motor base (105) is fixedly connected to the rear of the cutting base (1). A support frame (106) is fixedly connected to the bottom of the base (105). 4.根据权利要求3所述的一种乳胶枕加工用切割设备,其特征在于:所述电机底座(105)的顶部固定连接有电机固定座(2),所述电机固定座(2)的顶部固定连接有转动电机(201),所述转动电机(201)靠近切割底座(1)的一端转动连接有主动皮带轮(202),所述主动皮带轮(202)的表面传动连接有传动皮带(203),所述传动皮带(203)的内部传动连接件有从动皮带轮(204),所述从动皮带轮(204)靠近切割底座(1)的一端贯穿固定转孔(103)转动连接有螺杆(205)。4. The cutting device for processing a latex pillow according to claim 3, characterized in that: a motor fixing seat (2) is fixedly connected to the top of the motor base (105), and the motor fixing seat (2) is A rotating motor (201) is fixedly connected to the top, and a driving pulley (202) is rotatably connected to one end of the rotating motor (201) close to the cutting base (1), and a driving belt (203) is connected to the surface of the driving pulley (202). ), the internal drive connecting piece of the drive belt (203) has a driven pulley (204), and one end of the driven pulley (204) close to the cutting base (1) is rotatably connected with a screw (103) through the fixed rotating hole (103). 205). 5.根据权利要求2所述的一种乳胶枕加工用切割设备,其特征在于:所述固定板(405)的顶部固定设置有固定顶板(301),所述固定板(405)的顶部贯穿开设有滑槽(302),所述滑槽(302)的内部滑动连接有滑竿(303),所述滑竿(303)的表面设置有弹簧(304),所述滑竿(303)的底部固定连接有固定曲板(305)。5 . The cutting device for processing a latex pillow according to claim 2 , wherein a fixed top plate ( 301 ) is fixedly arranged on the top of the fixed plate ( 405 ), and the top of the fixed plate ( 405 ) penetrates through the top. 6 . A chute (302) is provided, the interior of the chute (302) is slidably connected with a sliding rod (303), the surface of the sliding rod (303) is provided with a spring (304), and the bottom of the sliding rod (303) is fixedly connected There is a fixed curved plate (305). 6.根据权利要求5所述的一种乳胶枕加工用切割设备,其特征在于:所述弹簧(304)的两端固定连接有固定板(405)和固定曲板(305),所述滑竿(303)贯穿固定板(405)固定连接在固定顶板(301)的底部。6 . The cutting device for latex pillow processing according to claim 5 , wherein the two ends of the spring ( 304 ) are fixedly connected with a fixed plate ( 405 ) and a fixed curved plate ( 305 ), and the sliding rod (303) penetrating through the fixing plate (405) and being fixedly connected to the bottom of the fixing top plate (301). 7.根据权利要求2所述的一种乳胶枕加工用切割设备,其特征在于:所述液压缸(401)螺纹连接在螺杆(205)的表面,所述切刀(404)滑动插接在保护块(406)的内部。7. A cutting device for latex pillow processing according to claim 2, characterized in that: the hydraulic cylinder (401) is threadedly connected to the surface of the screw (205), and the cutter (404) is slidably inserted on the surface of the screw (205). The inside of the protection block (406).
CN202123140844.0U 2021-12-14 2021-12-14 Cutting equipment is used in processing of latex pillow Expired - Fee Related CN216505467U (en)

Priority Applications (1)

Application Number Priority Date Filing Date Title
CN202123140844.0U CN216505467U (en) 2021-12-14 2021-12-14 Cutting equipment is used in processing of latex pillow

Applications Claiming Priority (1)

Application Number Priority Date Filing Date Title
CN202123140844.0U CN216505467U (en) 2021-12-14 2021-12-14 Cutting equipment is used in processing of latex pillow

Publications (1)

Publication Number Publication Date
CN216505467U true CN216505467U (en) 2022-05-13

Family

ID=81498763

Family Applications (1)

Application Number Title Priority Date Filing Date
CN202123140844.0U Expired - Fee Related CN216505467U (en) 2021-12-14 2021-12-14 Cutting equipment is used in processing of latex pillow

Country Status (1)

Country Link
CN (1) CN216505467U (en)

Cited By (1)

* Cited by examiner, † Cited by third party
Publication number Priority date Publication date Assignee Title
CN119458666A (en) * 2025-01-13 2025-02-18 上海怡莱家居用品有限公司 A pelletizing device and use method for crushed latex particles of Talalay crushed latex pillow

Cited By (2)

* Cited by examiner, † Cited by third party
Publication number Priority date Publication date Assignee Title
CN119458666A (en) * 2025-01-13 2025-02-18 上海怡莱家居用品有限公司 A pelletizing device and use method for crushed latex particles of Talalay crushed latex pillow
CN119458666B (en) * 2025-01-13 2025-04-18 上海怡莱家居用品有限公司 Granulating equipment for crushed latex particles of Talalay crushed latex pillow and using method

Similar Documents

Publication Publication Date Title
CN205741713U (en) Nonwoven production trimming equipment
CN210975333U (en) A cutting device for garment processing
CN214490905U (en) Panel cutting device for interior decoration
CN209178707U (en) A kind of clothes processing template cutting means
CN209050820U (en) A kind of Chinese medicine slicing device
CN216505467U (en) Cutting equipment is used in processing of latex pillow
CN218776683U (en) Cut-to-length unit for plastic pipes
CN112476898A (en) Plastic product side cut equipment for chemical production
CN220279742U (en) A slitting device for protective film production
CN218699473U (en) Edge cutting device for pillowcase production line
CN206498889U (en) It is a kind of to clamp stable and section safety potato processing unit (plant)
CN205394654U (en) Hollow plate cutting device
CN117656139A (en) Adjustable trimming device for sponge processing
CN216859901U (en) SPA plastic uptake bottom plate cuts mechanism
CN221912089U (en) Trimming die positioning structure
CN222290309U (en) Slicer self-adaptation section thickness regulation and control device
CN222290364U (en) A cutting device that is easy to adjust
CN223017276U (en) Trimming finishing device for home textile fabric
CN222135082U (en) Automatic slicing machine for preparing traditional Chinese medicine decoction pieces
CN222571049U (en) Artificial board cutting device
CN216266391U (en) Book aligning structure for three-side book trimming machine
CN221211901U (en) Limiting mechanism for cutting sewing table plate
CN221850507U (en) Device for cutting veneer wood
CN209717854U (en) A kind of acid adding pot draws sour piece cutter device
CN222987015U (en) A Chinese herbal medicine slicing device

Legal Events

Date Code Title Description
GR01 Patent grant
GR01 Patent grant
CF01 Termination of patent right due to non-payment of annual fee

Granted publication date: 20220513

CF01 Termination of patent right due to non-payment of annual fee