CN216495153U - Floor sweeping robot base station capable of automatically adding cleaning solution - Google Patents

Floor sweeping robot base station capable of automatically adding cleaning solution Download PDF

Info

Publication number
CN216495153U
CN216495153U CN202123052764.XU CN202123052764U CN216495153U CN 216495153 U CN216495153 U CN 216495153U CN 202123052764 U CN202123052764 U CN 202123052764U CN 216495153 U CN216495153 U CN 216495153U
Authority
CN
China
Prior art keywords
cleaning
base station
cleaning agent
sweeping robot
robot base
Prior art date
Legal status (The legal status is an assumption and is not a legal conclusion. Google has not performed a legal analysis and makes no representation as to the accuracy of the status listed.)
Expired - Fee Related
Application number
CN202123052764.XU
Other languages
Chinese (zh)
Inventor
李宏兵
蒋涛
Current Assignee (The listed assignees may be inaccurate. Google has not performed a legal analysis and makes no representation or warranty as to the accuracy of the list.)
Shenzhen Midann Technology Co ltd
Original Assignee
Shenzhen Midann Technology Co ltd
Priority date (The priority date is an assumption and is not a legal conclusion. Google has not performed a legal analysis and makes no representation as to the accuracy of the date listed.)
Filing date
Publication date
Application filed by Shenzhen Midann Technology Co ltd filed Critical Shenzhen Midann Technology Co ltd
Priority to CN202123052764.XU priority Critical patent/CN216495153U/en
Application granted granted Critical
Publication of CN216495153U publication Critical patent/CN216495153U/en
Expired - Fee Related legal-status Critical Current
Anticipated expiration legal-status Critical

Links

Images

Landscapes

  • Cleaning By Liquid Or Steam (AREA)

Abstract

本实用新型公开了一种可自动添加清洁液的扫地机器人基站,涉及清洁剂添加技术领域。包括扫地机器人基站和扫地机器人,所述扫地机器人位于扫地机器人基站内侧的底端,所述扫地机器人基站的内部固定有清洁机构,所述清洁机构的一侧固定有注液机构,所述注液机构包括:清洁剂仓,所述清洁剂仓位于扫地机器人基站的内侧,所述清洁剂仓的底端固定有隔绝膜。本实用新型专利通过打开清洁剂泵,使得清洁剂仓内部的清洁剂落入在洁净水储存仓内侧,静置一段时间使得,清洁剂与水进行充分混合,然后通过打开负压水泵使得洁净水储存仓,内部的水不断的被输入到清洁管内,然后对扫地机器人进行清洁,整个工作过程高效便捷,不需要人工二次进行操作。

Figure 202123052764

The utility model discloses a sweeping robot base station capable of automatically adding cleaning liquid, and relates to the technical field of cleaning agent addition. It includes a sweeping robot base station and a sweeping robot, the sweeping robot is located at the bottom end of the inner side of the sweeping robot base station, a cleaning mechanism is fixed inside the sweeping robot base station, and a liquid injection mechanism is fixed on one side of the cleaning mechanism, and the liquid filling The mechanism includes: a cleaning agent chamber, the cleaning agent chamber is located inside the base station of the sweeping robot, and an isolation film is fixed at the bottom end of the cleaning agent chamber. In this utility model patent, the cleaning agent inside the cleaning agent tank falls into the clean water storage tank by opening the cleaning agent pump, and after standing for a period of time, the cleaning agent and the water are fully mixed, and then the negative pressure water pump is turned on to make the clean water In the storage bin, the internal water is continuously input into the cleaning pipe, and then the cleaning robot is cleaned. The whole working process is efficient and convenient, and no manual secondary operation is required.

Figure 202123052764

Description

Floor sweeping robot base station capable of automatically adding cleaning solution
Technical Field
The utility model relates to the technical field of detergent addition, in particular to a sweeping robot base station capable of automatically adding cleaning solution.
Background
The floor sweeping robot is also called an automatic cleaner, intelligent dust collection, a robot dust collector and the like, is one of intelligent household appliances, and can automatically complete floor cleaning work in a room by means of certain artificial intelligence. Generally, the floor cleaning machine adopts a brushing and vacuum mode, and firstly absorbs the impurities on the floor into the garbage storage box, so that the function of cleaning the floor is achieved. Generally, a robot that performs cleaning, dust collection and floor wiping is also collectively called a floor sweeping robot.
Along with technical development, current robot of sweeping floor has still contained the basic station, can carry out deashing, dust removal etc. for the robot of sweeping floor through the basic station, but when clearing up the robot of sweeping floor, the basic station can only add the cleaning solution through the manual work, wastes time and energy.
SUMMERY OF THE UTILITY MODEL
The utility model aims to provide a floor sweeping robot base station capable of automatically adding cleaning solution, which solves the existing problems: however, when cleaning the floor sweeping robot, the base station can only add cleaning solution through manual work, which is time-consuming and labor-consuming.
In order to achieve the purpose, the utility model provides the following technical scheme: the utility model provides a can add robot base station of sweeping floor of cleaning solution automatically, includes the robot base station of sweeping floor and the robot of sweeping floor, the robot of sweeping floor is located the inboard bottom of robot base station of sweeping floor, the inside of robot base station of sweeping floor is fixed with clean mechanism, one side of clean mechanism is fixed with annotates liquid mechanism, it includes to annotate liquid mechanism:
the cleaning agent bin is positioned on the inner side of the sweeping robot base station, and an isolation film is fixed at the bottom end of the cleaning agent bin;
the input end of the detergent pump is connected with the base through a hose, and the output end of the detergent pump is connected with a clean water storage bin through a hose;
the inner side of the base is fixedly provided with a stabbing cone, the bottom end of the stabbing cone is provided with a square groove, the stabbing cone pierces the isolation film, and the cleaning agent bin is placed at the upper end of the base.
Preferably, one side of the upper end of the cleaning agent bin is provided with a pulling groove for pulling the cleaning agent bin.
Preferably, the cleaning mechanism includes:
the negative pressure water pump, the input of negative pressure water pump is connected through hose and clean water storage storehouse, the output of negative pressure water pump has clean pipe through hose connection, clean pipe is located the robot basic station inboard of sweeping the floor and is located the bottom of the robot of sweeping the floor for the robot of cleaning the floor.
Preferably, the cross section of the upper end of the cleaning agent bin is larger than that of the bottom end of the cleaning agent bin.
Preferably, the upper end of the clean water storage bin is rotatably connected with a cover, and a sealing ring is arranged at the joint of the clean water storage bin and the cover.
Preferably, one side of the inside of clean water storage storehouse is fixed with the delivery port, negative pressure water pump's input is connected with the delivery port through the hose, one side of delivery port still is connected with the pipe that absorbs water, the bottom that absorbs water the pipe is located the inboard bottom of clean water storage storehouse.
Preferably, the diameter of the bayonet cone is smaller than the maximum length of the square groove, and the diameter of the bayonet cone is larger than the minimum width of the square groove.
Compared with the prior art, the utility model has the beneficial effects that:
1. according to the cleaning robot, the cleaning agent pump is started, so that the cleaning agent in the cleaning agent bin falls into the inner side of the clean water storage bin, the cleaning agent and water are fully mixed after standing for a period of time, then the clean water storage bin is started, the water in the clean water storage bin is continuously input into the cleaning pipe, then the cleaning robot is cleaned, the whole working process is efficient and convenient, and manual secondary operation is not needed;
2. according to the utility model, the cross section of the upper end of the cleaning agent bin is larger than that of the bottom end of the cleaning agent bin, and particularly the cleaning agent bin is in a shape of a chamfered frustum or a rounded frustum, so that the smaller side is placed in the cleaning agent bin first during placement, the cleaning agent bin is simple and portable in placement, and the cleaning agent bin is convenient and fast to take out.
Drawings
In order to more clearly illustrate the technical solutions of the embodiments of the present invention, the drawings used in the description of the embodiments will be briefly introduced below, and it is obvious that the drawings in the following description are only some embodiments of the present invention patent, and it is obvious for those skilled in the art that other drawings can be obtained according to these drawings without creative efforts.
FIG. 1 is a schematic structural view of the present invention as a whole;
FIG. 2 is an overall internal structural view of the present invention;
FIG. 3 is a schematic structural view of a liquid injection mechanism according to the present invention;
FIG. 4 is a side view of the priming mechanism of the present invention;
FIG. 5 is a schematic view of the connection between the detergent bin and the base according to the present invention.
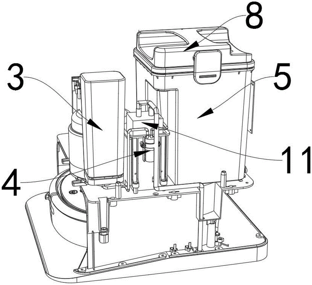
In the figure: 1. a floor sweeping robot base station; 2. a sweeping robot; 3. a detergent bin; 4. a detergent pump; 5. a clean water storage bin; 6. a base; 7. lifting and pulling the groove; 8. a cover; 9. a liquid injection port; 10. a stabbing awl; 11. a negative pressure water pump; 12. a water outlet; 13. a base.
Detailed Description
The technical solutions in the embodiments of the present invention will be clearly and completely described below with reference to the drawings in the embodiments of the present invention, and it is obvious that the described embodiments are only a part of the embodiments of the present invention, and not all of the embodiments.
Referring to fig. 1-5, a floor sweeping robot base station capable of automatically adding cleaning solution includes a floor sweeping robot base station 1 and a floor sweeping robot 2, wherein the floor sweeping robot 2 is located at the bottom end of the inner side of the floor sweeping robot base station 1;
the arc wall has been seted up to the bottom inboard of robot basic station 1 of sweeping the floor for place the removal wheel of robot 2 of sweeping the floor, when robot 2 of sweeping the floor removed the inside of robot basic station 1 of sweeping the floor, in the removal wheel that will sweep the floor robot 2 just in time removed the arc wall, be convenient for fix robot 2 of sweeping the floor.
The inside of robot basic station 1 of sweeping the floor is fixed with clean mechanism, and is specific, clean mechanism includes:
the input end of the negative pressure water pump 11 is connected with the clean water storage bin 5 through a hose, the output end of the negative pressure water pump 11 is connected with a cleaning pipe through a hose, the cleaning pipe is located inside the sweeping robot base station 1 and at the bottom end of the sweeping robot 2 and is used for cleaning the sweeping robot 2, and the sweeping robot 2 and the position, where the sweeping robot 2 is placed, inside the sweeping robot base station 1 can be conveniently swept;
and for the position of robot 2 of sweeping the floor of further clean robot 2 of sweeping the floor and robot basic station 1 inboard placing robot 2 of sweeping the floor, still add notes liquid mechanism, annotate liquid mechanism and fix in one side of clean mechanism, add the sanitizer to clean mechanism through some mechanisms of being listed as, annotate liquid mechanism and include:
the cleaning agent bin 3 is positioned on the inner side of the sweeping robot base station 1, a lifting groove 7 is formed in one side of the upper end of the cleaning agent bin 3 and used for pulling the cleaning agent bin 3, and the cleaning agent bin 3 can be placed and taken out through the lifting groove 7 when being placed and taken out;
and the upper end cross section in sanitizer storehouse 3 is greater than the cross section of bottom, specifically is the shape in sanitizer storehouse 3 for chamfered edge platform type or radius platform type for when placing, the less one side is placed into earlier, makes to place comparatively simply light, and is comparatively convenient when taking out equally.
Further, an isolation film is fixed at the bottom end of the detergent bin 3, so that the detergent can be conveniently stored, and can be punctured by the puncture cone 10 to flow out;
the input end of the cleaning agent pump 4 is connected with a base 13 through a hose, the uppermost end of the base 13 is attached to the bottom end of the cleaning agent bin 3, the cleaning agent bin 3 is convenient to place,
further, the inboard of base 13 is fixed with pricker 10, the upper end of pricker 10 is the needle-like, be convenient for pierce isolated membrane, square groove has been seted up to the bottom of pricker 10, the shape in square groove is not restricted to squarely, can also be other shapes such as arc, as long as the diameter of pricker 10 is less than the maximum length in square groove, the diameter of pricker 10 be greater than the minimum width in square groove can, the setting in square groove makes sanitizer storehouse 3 and sanitizer pump 4's input link up, the outflow of the sanitizer of being convenient for, and it is comparatively stable even to flow out.
When the cleaning agent bin is placed, the groove 7 is lifted by hands, then the cleaning agent bin 3 is placed on the base 13, the insulation film is punctured through the stabbing awl 10, so that the cleaning agent in the cleaning agent bin 3 can fall into the square groove, and manual addition of the cleaning agent is completely not needed.
Further, the output of sanitizer pump 4 has clean water to store storehouse 5 through the hose connection, and clean water stores the upper end of storehouse 5 and rotates and be connected with lid 8, and clean water stores the junction of storehouse 5 and lid 8 and has the sealing washer, avoids producing the space, influences work efficiency for clean water stores 5 inside inclosed spaces that form in storehouse, thereby makes the flow efficiency of water and sanitizer reach the most high efficiency.
One side of the inside of clean water storage bin 5 is fixed with delivery port 12 for negative pressure water pump 11's input is connected with delivery port 12 through the hose, and one side of delivery port 12 still is connected with the pipe that absorbs water, and the bottom that absorbs water the pipe is located the inboard bottom of clean water storage bin 5, makes negative pressure water pump 11 directly absorb water from the minimum of clean water storage bin 5, makes the inside water of clean water storage bin 5 can be siphoned away completely.
Preferably, the cleaning device also comprises a liquid injection port 9, the output end of the cleaning agent pump 4 is connected with the liquid injection port 9 through a hose, and the liquid injection port 9 is positioned above the inside of the clean water storage bin 5, so that the cleaning agent can be conveniently input into the inside of the clean water storage bin 5;
preferably, the base 6 is positioned at one end of the inner side of the clean water storage bin 5, and the liquid injection port 9 and the water outlet port 12 are positioned on the clean water storage bin 5.
The specific implementation process is as follows:
at first place sanitizer storehouse 3 in base 13 top, when needs are cleaned, at first open sanitizer pump 4, make inside sanitizer in sanitizer storehouse 3 fall into in clean water storage storehouse 5 inboard, it makes to stew for a period, the sanitizer carries out the intensive mixing with water, then make clean water storage storehouse 5 through opening negative pressure water pump 11, inside water is continuous to be inputed into in the clean pipe, then clean robot 2 sweeping the floor, whole working process is high-efficient convenient, do not need artifical secondary to operate.
It will be evident to those skilled in the art that the utility model is not limited to the details of the foregoing illustrative embodiments, and that the present invention may be embodied in other specific forms without departing from the spirit or essential attributes thereof. The present embodiments are therefore to be considered in all respects as illustrative and not restrictive, the scope of the utility model being indicated by the appended claims rather than by the foregoing description, and all changes which come within the meaning and range of equivalency of the claims are therefore intended to be embraced therein. Any reference sign in a claim should not be construed as limiting the claim concerned.

Claims (7)

1.一种可自动添加清洁液的扫地机器人基站,包括扫地机器人基站(1)和扫地机器人(2),所述扫地机器人(2)位于扫地机器人基站(1)内侧的底端,其特征在于:所述扫地机器人基站(1)的内部固定有清洁机构,所述清洁机构的一侧固定有注液机构,所述注液机构包括:1. A sweeping robot base station that can automatically add cleaning liquid, comprising a sweeping robot base station (1) and a sweeping robot (2), and the sweeping robot (2) is located at the bottom end inside the sweeping robot base station (1), and is characterized in that : a cleaning mechanism is fixed inside the cleaning robot base station (1), and a liquid injection mechanism is fixed on one side of the cleaning mechanism, and the liquid injection mechanism includes: 清洁剂仓(3),所述清洁剂仓(3)位于扫地机器人基站(1)的内侧,所述清洁剂仓(3)的底端固定有隔绝膜;a cleaning agent tank (3), the cleaning agent tank (3) is located inside the sweeping robot base station (1), and an insulating film is fixed at the bottom end of the cleaning agent tank (3); 清洁剂泵(4),所述清洁剂泵(4)的输入端通过软管连接有底座(13),所述清洁剂泵(4)的输出端通过软管连接有洁净水储存仓(5);a cleaning agent pump (4), the input end of the cleaning agent pump (4) is connected with a base (13) through a hose, and the output end of the cleaning agent pump (4) is connected with a clean water storage bin (5) through a hose ); 所述底座(13)的内侧固定有刺锥(10),所述刺锥(10)的底端开设有方形槽,所述刺锥(10)刺破所述隔绝膜,所述清洁剂仓(3)放置于底座(13)的上端。The inner side of the base (13) is fixed with a thorn cone (10), the bottom end of the thorn cone (10) is provided with a square groove, the thorn cone (10) pierces the insulating film, the cleaning agent chamber (3) is placed on the upper end of the base (13). 2.根据权利要求1所述的一种可自动添加清洁液的扫地机器人基站,其特征在于:所述清洁剂仓(3)上端的一侧开设有提拉槽(7),用于拉动清洁剂仓(3)。2 . The cleaning robot base station according to claim 1 , wherein a pulling groove ( 7 ) is provided on one side of the upper end of the cleaning agent bin ( 3 ) for pulling and cleaning. 3 . Dosage tank (3). 3.根据权利要求2所述的一种可自动添加清洁液的扫地机器人基站,其特征在于:所述清洁机构包括:3. The cleaning robot base station capable of automatically adding cleaning liquid according to claim 2, wherein the cleaning mechanism comprises: 负压水泵(11),所述负压水泵(11)的输入端通过软管与洁净水储存仓(5)进行连接,所述负压水泵(11)的输出端通过软管连接有清洁管,所述清洁管位于扫地机器人基站(1)内侧且位于扫地机器人(2)的底端,用于清洁扫地机器人(2)。A negative pressure water pump (11), the input end of the negative pressure water pump (11) is connected with the clean water storage bin (5) through a hose, and the output end of the negative pressure water pump (11) is connected with a cleaning pipe through a hose , the cleaning pipe is located inside the sweeping robot base station (1) and at the bottom end of the sweeping robot (2), and is used for cleaning the sweeping robot (2). 4.根据权利要求3所述的一种可自动添加清洁液的扫地机器人基站,其特征在于:所述清洁剂仓(3)的上端横截面大于底端的横截面。4 . The cleaning robot base station according to claim 3 , wherein the cross section of the upper end of the cleaning agent bin ( 3 ) is larger than that of the bottom end. 5 . 5.根据权利要求4所述的一种可自动添加清洁液的扫地机器人基站,其特征在于:所述洁净水储存仓(5)的上端转动连接有盖子(8),所述洁净水储存仓(5)与盖子(8)的连接处有密封圈。5 . The cleaning robot base station according to claim 4 , characterized in that: the upper end of the clean water storage bin ( 5 ) is rotatably connected with a cover ( 8 ), and the clean water storage bin (5) There is a sealing ring at the connection with the cover (8). 6.根据权利要求5所述的一种可自动添加清洁液的扫地机器人基站,其特征在于:所述洁净水储存仓(5)的内部的一侧固定有出水口(12),所述负压水泵(11)的输入端通过软管与出水口(12)进行连接,所述出水口(12)的一侧还连接有吸水管,所述吸水管的底端位于洁净水储存仓(5)内侧的底端。6 . The cleaning robot base station according to claim 5 , wherein a water outlet ( 12 ) is fixed on one side of the interior of the clean water storage bin ( 5 ), and the negative The input end of the pressure pump (11) is connected to the water outlet (12) through a hose, and a suction pipe is also connected to one side of the water outlet (12), and the bottom end of the suction pipe is located in the clean water storage bin (5). ) inside the bottom end. 7.根据权利要求6所述的一种可自动添加清洁液的扫地机器人基站,其特征在于:所述刺锥(10)的直径小于方形槽的最大长度,所述刺锥(10)的直径大于方形槽的最小宽度。7 . The cleaning robot base station according to claim 6 , wherein the diameter of the thorn cone (10) is smaller than the maximum length of the square groove, and the diameter of the thorn cone (10) is smaller than the maximum length of the square groove. 8 . Greater than the minimum width of a square slot.
CN202123052764.XU 2021-12-07 2021-12-07 Floor sweeping robot base station capable of automatically adding cleaning solution Expired - Fee Related CN216495153U (en)

Priority Applications (1)

Application Number Priority Date Filing Date Title
CN202123052764.XU CN216495153U (en) 2021-12-07 2021-12-07 Floor sweeping robot base station capable of automatically adding cleaning solution

Applications Claiming Priority (1)

Application Number Priority Date Filing Date Title
CN202123052764.XU CN216495153U (en) 2021-12-07 2021-12-07 Floor sweeping robot base station capable of automatically adding cleaning solution

Publications (1)

Publication Number Publication Date
CN216495153U true CN216495153U (en) 2022-05-13

Family

ID=81466964

Family Applications (1)

Application Number Title Priority Date Filing Date
CN202123052764.XU Expired - Fee Related CN216495153U (en) 2021-12-07 2021-12-07 Floor sweeping robot base station capable of automatically adding cleaning solution

Country Status (1)

Country Link
CN (1) CN216495153U (en)

Cited By (1)

* Cited by examiner, † Cited by third party
Publication number Priority date Publication date Assignee Title
CN115005713A (en) * 2022-06-16 2022-09-06 广东栗子科技有限公司 A cleaning liquid feeding waterway system and sweeper

Cited By (1)

* Cited by examiner, † Cited by third party
Publication number Priority date Publication date Assignee Title
CN115005713A (en) * 2022-06-16 2022-09-06 广东栗子科技有限公司 A cleaning liquid feeding waterway system and sweeper

Similar Documents

Publication Publication Date Title
CN216933081U (en) Automatic water feeding and sewage draining water tank of base station of sweeper
CN216495153U (en) Floor sweeping robot base station capable of automatically adding cleaning solution
CN216724470U (en) Floor sweeping robot base station capable of cleaning floor sweeping robot mopping brush
CN209427481U (en) An environmentally friendly device with a cleaning function design
CN203842875U (en) Ultrasonic automatic straw cleaning device
CN204817382U (en) Garbage bin cleaning device
CN216495157U (en) Self-cleaning structure of base station cleaning tank of sweeping robot
CN103643811B (en) Swimming pool fish jar steam cleaner
CN206252414U (en) Wash magazine and cooking apparatus
CN219688183U (en) A household trash can
CN211027389U (en) Device for automatically cleaning inside and outside of garbage can
CN211749324U (en) Maintenance station and sweeping robot
CN209816126U (en) Circulating anaerobic device for methane tank
CN210709046U (en) Household kitchen waste storage barrel
CN216495156U (en) Water injection structure of base station of sweeping robot
CN209109104U (en) A kind of clean cycle structure of agitating device
CN221419512U (en) Sanitation dustbin with cleaning function
CN114472400A (en) Corrosive liquid container inner wall belt cleaning device
CN108978751A (en) A kind of channel cleanout device of Multifunctional adjustable
CN222872216U (en) A handheld automatic waste liquid collection device controlled by a gravity switch
CN222075881U (en) Leak-proof waste collection device
CN219159278U (en) Grid type siphon drainage tank
CN215844704U (en) Water-saving water tank cleaning device
CN222815258U (en) Garden fruit picking is with collecting cleaning all-in-one
CN217228752U (en) Powder storage tank easy to clean

Legal Events

Date Code Title Description
GR01 Patent grant
GR01 Patent grant
CP02 Change in the address of a patent holder
CP02 Change in the address of a patent holder

Address after: 518000 850, 852, zone a, huameiju business center, Xinhu Road, district 82, Bao'an District, Haiyu community, Xin'an street, Bao'an District, Shenzhen City, Guangdong Province

Patentee after: SHENZHEN MIDANN TECHNOLOGY CO.,LTD.

Patentee after: Li Hongbing

Address before: 518000 1205, 12 / F, building 1, Baoxing Zhihui City, No. 650 Zhoushi Road, Zhongwu community, Hangcheng street, Bao'an District, Shenzhen, Guangdong Province

Patentee before: SHENZHEN MIDANN TECHNOLOGY CO.,LTD.

Patentee before: Li Hongbing

CF01 Termination of patent right due to non-payment of annual fee
CF01 Termination of patent right due to non-payment of annual fee

Granted publication date: 20220513