CN216488286U - Battery cell, battery and power consumption device - Google Patents
Battery cell, battery and power consumption device Download PDFInfo
- Publication number
- CN216488286U CN216488286U CN202122637189.3U CN202122637189U CN216488286U CN 216488286 U CN216488286 U CN 216488286U CN 202122637189 U CN202122637189 U CN 202122637189U CN 216488286 U CN216488286 U CN 216488286U
- Authority
- CN
- China
- Prior art keywords
- tab
- battery cell
- electrode
- battery
- along
- Prior art date
- Legal status (The legal status is an assumption and is not a legal conclusion. Google has not performed a legal analysis and makes no representation as to the accuracy of the status listed.)
- Active
Links
Images
Classifications
-
- Y—GENERAL TAGGING OF NEW TECHNOLOGICAL DEVELOPMENTS; GENERAL TAGGING OF CROSS-SECTIONAL TECHNOLOGIES SPANNING OVER SEVERAL SECTIONS OF THE IPC; TECHNICAL SUBJECTS COVERED BY FORMER USPC CROSS-REFERENCE ART COLLECTIONS [XRACs] AND DIGESTS
- Y02—TECHNOLOGIES OR APPLICATIONS FOR MITIGATION OR ADAPTATION AGAINST CLIMATE CHANGE
- Y02E—REDUCTION OF GREENHOUSE GAS [GHG] EMISSIONS, RELATED TO ENERGY GENERATION, TRANSMISSION OR DISTRIBUTION
- Y02E60/00—Enabling technologies; Technologies with a potential or indirect contribution to GHG emissions mitigation
- Y02E60/10—Energy storage using batteries
Landscapes
- Connection Of Batteries Or Terminals (AREA)
- Battery Mounting, Suspending (AREA)
Abstract
本申请提供一种电池单体、电池以及用电装置,电池单体包括壳体、电极组件以及转接件。电极组件容纳于壳体内,电极组件包括电极本体和凸出于电极本体的第一极耳和第二极耳,第一极耳和第二极耳极性相同。转接件包括端子连接部和极耳连接部,端子连接部用于与电池单体的电极端子连接。极耳连接部包括分别连接第一极耳和第二极耳的第一连接部和第二连接部。本申请提供的电池单体,设置电极组件包括极性相同的第一极耳和第二极耳,并设置转接件的第一连接部和第二连接部分别连接第一极耳和第二极耳,可以有效地提高转接件的过流面积,如此在电池单体循环工作的过程中,可以改善过流能力,降低转接件的温升速率,提高电池单体的工作安全性。
The present application provides a battery cell, a battery and an electrical device. The battery cell includes a casing, an electrode assembly and an adapter. The electrode assembly is accommodated in the casing, and the electrode assembly includes an electrode body and first and second electrode tabs protruding from the electrode body, and the first and second electrode tabs have the same polarity. The adapter includes a terminal connection part and a tab connection part, and the terminal connection part is used for connecting with the electrode terminals of the battery cells. The tab connecting part includes a first connecting part and a second connecting part respectively connecting the first tab and the second tab. In the battery cell provided in the present application, the electrode assembly is provided with a first tab and a second tab with the same polarity, and the first connection portion and the second connection portion of the adapter are respectively connected to the first tab and the second tab. The pole lugs can effectively increase the overcurrent area of the adapter, so that during the cycle operation of the battery cell, the overcurrent capability can be improved, the temperature rise rate of the adapter can be reduced, and the working safety of the battery cell can be improved.
Description
技术领域technical field
本申请涉及电池技术领域,特别是涉及一种电池单体、电池以及用电装置。The present application relates to the field of battery technology, and in particular, to a battery cell, a battery and an electrical device.
背景技术Background technique
电池单体广泛应用于电子设备,例如手机、笔记本电脑、电瓶车、电动汽车、电动飞机、电动轮船、电动玩具汽车、电动玩具轮船、电动玩具飞机和电动工具等等。Battery cells are widely used in electronic equipment, such as mobile phones, notebook computers, battery cars, electric vehicles, electric planes, electric ships, electric toy cars, electric toy ships, electric toy planes and electric tools, etc.
在电池技术的发展中,如何改善电池单体的过流能力,是电池技术中一个亟待解决的技术问题。In the development of battery technology, how to improve the overcurrent capability of battery cells is an urgent technical problem to be solved in battery technology.
实用新型内容Utility model content
本申请提供一种电池体、电池以及用电装置,能够改善过流能力,降低电池单体工作过程中的温升,提高电池单体的安全性。The present application provides a battery body, a battery and an electrical device, which can improve the overcurrent capability, reduce the temperature rise during the working process of the battery cell, and improve the safety of the battery cell.
第一方面,本申请提出了一种电池单体,包括:壳体;电极组件,容纳于壳体内,电极组件包括电极本体和凸出于电极本体的第一极耳和第二极耳,第一极耳和第二极耳极性相同;转接件,包括端子连接部和极耳连接部,端子连接部用于与电池单体的电极端子连接,极耳连接部包括第一连接部和第二连接部,第一连接部和第二连接部分别连接于第一极耳和第二极耳。In a first aspect, the present application proposes a battery cell, comprising: a casing; an electrode assembly, housed in the casing, the electrode assembly includes an electrode body and first and second tabs protruding from the electrode body. The polarities of the first tab and the second tab are the same; the adapter includes a terminal connecting part and a tab connecting part, the terminal connecting part is used for connecting with the electrode terminals of the battery cells, and the tab connecting part includes a first connecting part and a tab connecting part. The second connecting portion, the first connecting portion and the second connecting portion are respectively connected to the first tab and the second tab.
在本申请实施例提供的电池单体中,通过在电极组件上设置极性相同的第一极耳和第二极耳,并设置转接件的第一连接部和第二连接部分别连接一个电极组件的第一极耳和第二极耳,可以有效地提高转接件的过流面积,改善过流能力,如此在电池单体循环工作的过程中,尤其是大倍率充电的过程中,可以有效地降低转接件的温升速率,提高电池单体的工作安全性。In the battery cell provided in the embodiment of the present application, the electrode assembly is provided with a first tab and a second tab with the same polarity, and the first connection portion and the second connection portion of the adapter are respectively connected to one The first tab and the second tab of the electrode assembly can effectively increase the overcurrent area of the adapter and improve the overcurrent capability, so that during the cycle of the battery cell, especially during the high rate charging process, The temperature rise rate of the adapter can be effectively reduced, and the working safety of the battery cell can be improved.
在一些实施例中,第一极耳和第二极耳沿第一方向凸出于电极本体,电池单体还包括沿第二方向相对设置的两个第一表面和沿第三方向相对设置的两个第二表面,第一表面的面积大于第二表面的面积,第一方向、第二方向以及第三方向两两垂直;第一极耳和第二极耳沿第二方向布置,第一连接部和第二连接部沿第二方向间隔布置。如此设置,依然能够提高转接件的过流面积,降低转接件的温升速率。In some embodiments, the first tab and the second tab protrude out of the electrode body along the first direction, and the battery cell further includes two first surfaces oppositely arranged along the second direction and two oppositely arranged surfaces along the third direction Two second surfaces, the area of the first surface is larger than that of the second surface, the first direction, the second direction and the third direction are perpendicular to each other; the first tab and the second tab are arranged along the second direction, the first The connecting portion and the second connecting portion are spaced apart along the second direction. With this arrangement, the flow area of the adapter can still be increased, and the temperature rise rate of the adapter can be reduced.
在一些实施例中,第一极耳和第二极耳沿第一方向凸出于电极本体,电池单体还包括沿第二方向相对设置的第一表面和沿第三方向相对设置的第二表面,第一表面的面积大于第二表面的面积,第一方向、第二方向以及第三方向两两垂直;第一极耳和第二极耳沿第三方向间隔布置,第一连接部和第二连接部分别位于端子连接部沿第三方向的两侧。如此设置,依然能够提高转接件的过流面积,降低转接件的温升速率。同时设置第一极耳和第二极耳沿第三方向排布,并设置端子连接部位于第一极耳和第二极耳之间,也便于电池单体内各结构的空间布局。In some embodiments, the first tab and the second tab protrude out of the electrode body along the first direction, and the battery cell further includes a first surface oppositely arranged along the second direction and a second oppositely arranged along the third direction Surface, the area of the first surface is greater than the area of the second surface, the first direction, the second direction and the third direction are perpendicular to each other; the first tab and the second tab are spaced along the third direction, and the first connection part and The second connection portions are respectively located on both sides of the terminal connection portion along the third direction. With this arrangement, the flow area of the adapter can still be increased, and the temperature rise rate of the adapter can be reduced. At the same time, the first tab and the second tab are arranged along the third direction, and the terminal connecting portion is arranged between the first tab and the second tab, which also facilitates the spatial layout of each structure in the battery cell.
在一些实施例中,第一极耳和第二极耳沿第三方向的间距大于或等于7mm。便于第一极耳和第二极耳的加工工艺的顺利进行,也可以有效地降低二者在工作过程中导电连接的风险,进而降低转接件分流失效的风险。In some embodiments, the distance between the first tab and the second tab along the third direction is greater than or equal to 7 mm. This facilitates the smooth processing of the first tab and the second tab, and can also effectively reduce the risk of conductive connection between the two during operation, thereby reducing the risk of shunt failure of the adapter.
在一些实施例中,电极组件设置为多个,多个电极组件沿第二方向并排设置;转接件包括多个极耳连接部,多个极耳连接部沿第二方向排布,一个极耳连接部连接至少一个电极组件。In some embodiments, a plurality of electrode assemblies are arranged, and the plurality of electrode assemblies are arranged side by side along the second direction; the adaptor includes a plurality of tab connecting parts, the plurality of tab connecting parts are arranged along the second direction, and one pole The ear connector is connected to at least one electrode assembly.
通过设置电极组件为多个,可以有效地提高电池单体的容量,而设置转接件包括多个极耳连接部,可以进一步增大电流流经极耳连接部的过流面积,进而降低转接件工作过程中的温升。By arranging a plurality of electrode assemblies, the capacity of the battery cell can be effectively improved, and arranging the adapter to include a plurality of tab connecting parts can further increase the overcurrent area of the current flowing through the tab connecting parts, thereby reducing the transfer rate. The temperature rise during the working process of the joint.
在一些实施例中,极耳连接部关于端子连接部对称设置。如此设置,可以提高电池单体装配过程中,转接件的装配便利性。In some embodiments, the tab connecting portion is symmetrically arranged with respect to the terminal connecting portion. This arrangement can improve the assembling convenience of the adapter during the battery cell assembling process.
在一些实施例中,端子连接部凸设于极耳连接部的背离电极本体的表面,且转接件在与端子连接部相对应的位置设有凹部,凹部相对于极耳连接部的面向电极本体的表面凹陷。如此设置,便于转接件连接电极端子和第一极耳和第二极耳。In some embodiments, the terminal connecting portion is protruded from a surface of the tab connecting portion that faces away from the electrode body, and the adapter is provided with a concave portion at a position corresponding to the terminal connecting portion, and the concave portion faces the electrode relative to the tab connecting portion. The surface of the body is concave. This arrangement facilitates the connection of the adaptor to the electrode terminal, the first tab and the second tab.
在一些实施例中,第一极耳为多个,多个第一极耳层叠设置;和/或,第二极耳为多个,多个第二极耳层叠设置。如此设置便于第一极耳和第二极耳分别与第一连接部和第二连接部的连接,且有利于提高电池单体内部结构的紧凑性。In some embodiments, there are a plurality of first tabs, and the plurality of first tabs are arranged in layers; and/or, there are a plurality of second tabs, and a plurality of second tabs are arranged in layers. Such arrangement facilitates the connection of the first tab and the second tab to the first connection part and the second connection part respectively, and is beneficial to improve the compactness of the internal structure of the battery cell.
第二方面,本申请实施例提供一种电池,包括上述任意一实施例提供的电池单体。In a second aspect, an embodiment of the present application provides a battery, including the battery cell provided by any one of the foregoing embodiments.
第三方面,本申请实施例提供一种用电装置,包括上述任意一实施例提供的电池单体,电池单体用于提供电能。In a third aspect, an embodiment of the present application provides an electrical device, including the battery cell provided in any one of the foregoing embodiments, and the battery cell is used to provide electrical energy.
附图说明Description of drawings
为了更清楚地说明本申请实施例的技术方案,下面将对本申请实施例中所需要使用的附图作简单地介绍,显而易见地,下面所描述的附图仅仅是本申请的一些实施例,对于本领域普通技术人员来讲,在不付出创造性劳动的前提下,还可以根据附图获得其他的附图。In order to illustrate the technical solutions of the embodiments of the present application more clearly, the following briefly introduces the drawings required in the embodiments of the present application. Obviously, the drawings described below are only some embodiments of the present application. For those of ordinary skill in the art, other drawings can also be obtained according to the drawings without any creative effort.
图1是本申请实施例提供的车辆的结构示意图;1 is a schematic structural diagram of a vehicle provided by an embodiment of the present application;
图2是本申请实施例提供的电池的分解结构示意图;2 is a schematic diagram of an exploded structure of a battery provided by an embodiment of the present application;
图3是本申请实施例提供的电池中电池模块的结构示意图;3 is a schematic structural diagram of a battery module in a battery provided by an embodiment of the present application;
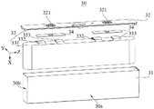
图4是本申请一实施例提供的电池单体的分解结构示意图;4 is a schematic diagram of an exploded structure of a battery cell provided by an embodiment of the present application;
图5是图4提供的电池单体中转接件的结构示意图;FIG. 5 is a schematic structural diagram of the adapter in the battery cell provided in FIG. 4;
图6是本申请另一实施例提供的电池单体的分解结构示意图;6 is a schematic diagram of an exploded structure of a battery cell provided by another embodiment of the present application;
图7是图6所示的电池单体中转接件的结构示意图;FIG. 7 is a schematic structural diagram of the adapter in the battery cell shown in FIG. 6;
图8是图6所示的电池单体的俯视示意图;FIG. 8 is a schematic top view of the battery cell shown in FIG. 6;
图9是图8所示的电池单体沿线E-E作出的剖视示意图;9 is a schematic cross-sectional view of the battery cell shown in FIG. 8 taken along line E-E;
图10是本申请又一实施例提供的电池单体的分解结构示意图;10 is a schematic diagram of an exploded structure of a battery cell provided by another embodiment of the present application;
图11是图10提供的电池单体中转接件的结构示意图;FIG. 11 is a schematic structural diagram of the adapter in the battery cell provided in FIG. 10;
图12是图10所示的电池单体的俯视示意图;FIG. 12 is a schematic top view of the battery cell shown in FIG. 10;
图13是图12所示的电池单体沿线C-C作出的阶梯剖视图;FIG. 13 is a stepped cross-sectional view of the battery cell shown in FIG. 12 taken along line C-C;
图14是图13中D处的局部放大图。FIG. 14 is a partial enlarged view of D in FIG. 13 .
在附图中,附图未必按照实际的比例绘制。In the drawings, the drawings are not necessarily drawn to actual scale.
附图标记说明:Description of reference numbers:
1、车辆;1a、马达;1b、控制器;1. Vehicle; 1a, motor; 1b, controller;
10、电池;11、箱体;111、底壳;112、顶壳;10, battery; 11, box body; 111, bottom case; 112, top case;
20、电池模块;20. Battery module;
30、电池单体;31、壳体;32、端盖;321、电极端子;33、电极组件;331、电极本体;332、第一极耳;333、第二极耳;34、转接件;341、端子连接部;342、极耳连接部;342a、凹部;3421、第一连接部;3422、第二连接部;30a、第一表面;30b、第二表面;30, battery cell; 31, shell; 32, end cap; 321, electrode terminal; 33, electrode assembly; 331, electrode body; 332, first tab; 333, second tab; 34,
X、第一方向;Y、第二方向;Z、第三方向。X, the first direction; Y, the second direction; Z, the third direction.
具体实施方式Detailed ways
下面结合附图和实施例对本申请的实施方式作进一步详细描述。以下实施例的详细描述和附图用于示例性地说明本申请的原理,但不能用来限制本申请的范围,即本申请不限于所描述的实施例。The embodiments of the present application will be described in further detail below with reference to the accompanying drawings and examples. The following detailed description of the embodiments and the accompanying drawings are used to illustrate the principles of the present application by way of example, but should not be used to limit the scope of the present application, that is, the present application is not limited to the described embodiments.
在本申请的描述中,需要说明的是,除非另有说明,“多个”的含义是两个以上;术语“上”、“下”、“左”、“右”、“内”、“外”等指示的方位或位置关系仅是为了便于描述本申请和简化描述,而不是指示或暗示所指的装置或元件必须具有特定的方位、以特定的方位构造和操作,因此不能理解为对本申请的限制。此外,术语“第一”、“第二”等仅用于描述目的,而不能理解为指示或暗示相对重要性。“垂直”并不是严格意义上的垂直,而是在误差允许范围之内。“平行”并不是严格意义上的平行,而是在误差允许范围之内。In the description of this application, it should be noted that, unless otherwise specified, the meaning of "plurality" is two or more; the terms "upper", "lower", "left", "right", "inner", " The orientation or positional relationship indicated by "outside" is only for the convenience of describing the present application and simplifying the description, rather than indicating or implying that the indicated device or element must have a specific orientation, be constructed and operated in a specific orientation, and therefore should not be construed as a reference to the present application. Application restrictions. Furthermore, the terms "first," "second," etc. are used for descriptive purposes only and should not be construed to indicate or imply relative importance. "Vertical" is not strictly vertical, but within the allowable range of errors. "Parallel" is not strictly parallel, but within the allowable range of errors.
在本申请中提及“实施例”意味着,结合实施例描述的特定特征、结构或特性可以包含在本申请的至少一个实施例中。在说明书中的各个位置出现该短语并不一定均是指相同的实施例,也不是与其它实施例互斥的独立的或备选的实施例。本领域技术人员显式地和隐式地理解的是,本申请所描述的实施例可以与其它实施例相结合。Reference in this application to an "embodiment" means that a particular feature, structure, or characteristic described in connection with the embodiment can be included in at least one embodiment of the application. The appearances of the phrase in various places in the specification are not necessarily all referring to the same embodiment, nor a separate or alternative embodiment that is mutually exclusive of other embodiments. It is explicitly and implicitly understood by those skilled in the art that the embodiments described in this application may be combined with other embodiments.
在本申请的描述中,还需要说明的是,除非另有明确的规定和限定,术语“安装”、“相连”、“连接”应做广义理解,例如,可以是固定连接,也可以是可拆卸连接,或一体地连接;可以是直接相连,也可以通过中间媒介间接相连。对于本领域的普通技术人员而言,可视具体情况理解上述术语在本申请中的具体含义。In the description of this application, it should also be noted that, unless otherwise expressly specified and limited, the terms "installed", "connected" and "connected" should be understood in a broad sense, for example, it may be a fixed connection or a connectable connection. Detachable connection, or integral connection; it can be directly connected or indirectly connected through an intermediate medium. For those of ordinary skill in the art, the specific meanings of the above terms in the present application can be understood according to specific circumstances.
本申请中,电池单体可以包括锂离子电池单体、钠锂离子电池单体、钠离子电池单体或镁离子电池单体等,本申请实施例对此并不限定。电池单体可呈圆柱体、扁平体、长方体或其它形状等,本申请实施例对此也不限定。电池单体一般按封装的方式分成三种:柱形电池单体、方体方形电池单体和软包电池单体,本申请实施例对此也不限定。In this application, the battery cells may include lithium-ion battery cells, sodium-lithium-ion battery cells, sodium-ion battery cells, or magnesium-ion battery cells, etc., which are not limited in the embodiments of the present application. The battery cell may be in the form of a cylinder, a flat body, a rectangular parallelepiped, or other shapes, which are not limited in the embodiments of the present application. The battery cells are generally divided into three types according to the packaging method: cylindrical battery cells, square-shaped battery cells, and soft-pack battery cells, which are not limited in the embodiments of the present application.
本申请的实施例所提到的电池是指包括一个或多个电池单体以提供更高的电压和容量的单一的物理模块。例如,本申请中所提到的电池可以包括电池模块或电池包等。电池一般包括用于封装一个或多个电池单体的箱体。箱体可以避免液体或其他异物影响电池单体的充电或放电。The battery mentioned in the embodiments of the present application refers to a single physical module including one or more battery cells to provide higher voltage and capacity. For example, the batteries mentioned in this application may include battery modules or battery packs, and the like. Batteries typically include a case for enclosing one or more battery cells. The box can prevent liquids or other foreign objects from affecting the charging or discharging of the battery cells.
电池单体包括电极组件和电解液,电极组件包括电极本体和凸出于电极本体设置的极耳。电极本体包括第一极片、第二极片和隔离件。电池单体主要依靠金属离子在第一极片和第二极片之间移动来工作。第一极片包括第一集流体和第一活性物质层,第一活性物质层涂覆于第一集流体的表面,未涂敷第一活性物质层的集流体凸出于已涂覆第一活性物质层的集流体,未涂敷第一活性物质层的集流体层叠后可以作为正极极耳。以锂离子电池为例,正极集流体的材料可以为铝,正极活性物质可以为钴酸锂、磷酸铁锂、三元锂或锰酸锂等。第二极片包括第二集流体和第二活性物质层,第二活性物质层涂覆于第二集流体的表面,未涂敷第二活性物质层的集流体凸出于已涂覆第二活性物质层的集流体,未涂敷第二活性物质层的集流体层叠后可以作为负极极耳。负极集流体的材料可以为铜,第二活性物质可以为碳或硅等。隔膜的材质可以为PP或PE等。此外,电极组件可以是卷绕式结构,也可以是叠片式结构,本申请实施例并不限于此。The battery cell includes an electrode assembly and an electrolyte, and the electrode assembly includes an electrode body and a tab protruding from the electrode body. The electrode body includes a first pole piece, a second pole piece and a separator. The battery cell mainly relies on the movement of metal ions between the first pole piece and the second pole piece to work. The first pole piece includes a first current collector and a first active material layer, the first active material layer is coated on the surface of the first current collector, and the current collector without the first active material layer protrudes from the coated first current collector. The current collector of the active material layer and the current collector not coated with the first active material layer can be used as a positive electrode tab after stacking. Taking a lithium-ion battery as an example, the material of the positive electrode current collector can be aluminum, and the positive electrode active material can be lithium cobalt oxide, lithium iron phosphate, ternary lithium, or lithium manganate. The second pole piece includes a second current collector and a second active material layer, the second active material layer is coated on the surface of the second current collector, and the current collector without the second active material layer protrudes from the coated second current collector. The current collector of the active material layer and the current collector not coated with the second active material layer can be used as negative electrode tabs after stacking. The material of the negative electrode current collector can be copper, and the second active material can be carbon or silicon. The material of the diaphragm can be PP or PE, etc. In addition, the electrode assembly may be a wound structure or a laminated structure, and the embodiment of the present application is not limited thereto.
电池技术的发展要同时考虑多方面的设计因素,例如,能量密度、循环寿命、放电容量、充放电倍率、安全性等性能参数。The development of battery technology needs to consider many design factors at the same time, such as energy density, cycle life, discharge capacity, charge-discharge rate, safety and other performance parameters.
发明人发现电池单体在大倍率充电过程中,电池单体靠近极耳处存在严重的发热问题后,对电池单体的结构和使用环境进行了分析和研究。发明人发现,电极组件的电极本体通常设置一个极耳,转接件与电极组件的极耳的连接面积较小,在电池单体充电的过程中,转接件的过流面积较小,在电池单体充电过程中,尤其对于大倍率充电的电池单体,流过转接件的电流过大,而由于转接件的过流面积较小,易造成转接件内产生较大的温升,严重影响了电池单体的工作安全性。After discovering that the battery cell has a serious heat generation problem near the tab during the high-rate charging process, the inventor has analyzed and studied the structure and use environment of the battery cell. The inventor found that the electrode body of the electrode assembly is usually provided with a tab, and the connection area between the adapter and the tab of the electrode assembly is small. During the charging process of the battery cell, especially for the battery cell charged at a high rate, the current flowing through the adapter is too large, and because the overcurrent area of the adapter is small, it is easy to cause a large temperature in the adapter. liters, which seriously affects the working safety of the battery cell.
基于发明人发现的上述问题,发明人对电池单体的结构进行了改进,本申请实施例描述的技术方案适用于电池单体、包含电池单体的电池以及使用电池的用电装置。Based on the above problems discovered by the inventor, the inventor has improved the structure of the battery cell. The technical solutions described in the embodiments of the present application are applicable to the battery cell, the battery including the battery cell, and the electrical device using the battery.
用电装置可以是车辆、手机、便携式设备、笔记本电脑、轮船、航天器、电动玩具和电动工具等等。车辆可以是燃油汽车、燃气汽车或新能源汽车,新能源汽车可以是纯电动汽车、混合动力汽车或增程式汽车等;航天器包括飞机、火箭、航天飞机和宇宙飞船等等;电动玩具包括固定式或移动式的电动玩具,例如,游戏机、电动汽车玩具、电动轮船玩具和电动飞机玩具等等;电动工具包括金属切削电动工具、研磨电动工具、装配电动工具和铁道用电动工具,例如,电钻、电动砂轮机、电动扳手、电动螺丝刀、电锤、冲击电钻、混凝土振动器和电刨等等。本申请实施例对上述用电设备不做特殊限制。Electrical devices can be vehicles, mobile phones, portable devices, notebook computers, ships, spacecraft, electric toys and power tools, and so on. Vehicles can be fuel vehicles, gas vehicles or new energy vehicles, and new energy vehicles can be pure electric vehicles, hybrid vehicles or extended-range vehicles, etc.; spacecraft include airplanes, rockets, space shuttles, spacecraft, etc.; electric toys include fixed Electric toys of type or mobile type, such as game consoles, electric car toys, electric ship toys and electric airplane toys, etc.; electric tools include metal cutting electric tools, grinding electric tools, assembling electric tools and railway electric tools, such as, Electric drills, electric grinders, electric wrenches, electric screwdrivers, electric hammers, electric impact drills, concrete vibrators and electric planers, etc. The embodiments of the present application do not impose special restrictions on the above-mentioned electrical equipment.
以下实施例为了方便说明,以用电装置为车辆为例进行说明。In the following embodiments, for the convenience of description, the electric device is a vehicle as an example for description.
如图1所示,车辆1的内部设置有电池10。电池10可以设置在车辆1的底部或头部或尾部。电池10可以用于车辆1的供电,例如,电池10可以作为车辆1的操作电源。As shown in FIG. 1 , a
车辆1还可以包括控制器1b和马达1a。控制器1b用来控制电池10为马达1a供电,例如,用于车辆1的启动、导航和行驶时的工作用电需求。The
在本申请一些实施例中,电池10不仅仅可以作为车辆1的操作电源,还可以作为车辆1的驱动电源,代替或部分地代替燃油或天然气为车辆1提供驱动动力。In some embodiments of the present application, the
参见图2所示,电池10包括电池单体(图2未示出)以及用于容纳电池单体的箱体11,箱体11可以是多种结构。Referring to FIG. 2 , the
在一些实施例中,箱体11包括底壳111和顶壳112,底壳111与顶壳112相互盖合。底壳111和顶壳112共同限定出用于容纳电池单体30的容纳部。底壳111和顶壳112可以是均为一侧开口的空心结构。底壳111的开口侧盖合于顶壳112的开口侧,则形成具有容纳空间的箱体11。底壳111与顶壳112之间还可以设置密封件,以实现底壳111与顶壳112的密封连接。In some embodiments, the
在实际运用中,底壳111可盖合于顶壳112的顶部。底壳111也可称之为下箱体,顶壳112也可以称之为上箱体。In practice, the
底壳111和顶壳112可以是多种形状,例如,圆柱体、长方体等。在图2中,示例性地,底壳111与顶壳112均为长方体结构。The
在电池10中,电池单体可以是一个,也可以是多个。若电池单体为多个,多个电池单体之间可串联或并联或混联。混联是指多个电池单体30中既有串联又有并联。多个电池单体30之间可直接串联或并联或混联在一起,再将多个电池单体构成的整体容纳于箱体11内,也可以是多个电池单体先串联或并联或混联组成电池模块20。多个电池模块20再串联或并联或混联形成一个整体,并容纳于箱体11内。In the
在一些实施例中,如图3所示,在电池中,电池单体30为多个。多个电池单体30先串联或并联或混联组成电池模块20。多个电池模块20再串联或并联或混联形成一个整体,并容纳于箱体11内。In some embodiments, as shown in FIG. 3 , in the battery, there are a plurality of
在一些实施例,电池模块20中的多个电池单体30之间可通过汇流部件实现电连接,以实现电池模块20中的多个电池单体30的并联或串联或混联。In some embodiments, the plurality of
图4为本申请一些实施例提供的电池单体30的分解结构示意图。电池单体30是指组成电池的最小单元。如图4,电池单体30包括有端盖32、壳体31和电极组件33。FIG. 4 is a schematic diagram of an exploded structure of a
端盖32是指盖合于壳体31的开口处以将电池单体30的内部环境隔绝于外部环境的部件。不限地,端盖32的形状可以与壳体31的形状相适应以配合壳体31。可选地,端盖32可以由具有一定硬度和强度的材质(如铝合金)制成,这样,端盖32在受挤压碰撞时就不易发生形变,使电池单体30能够具备更高的结构强度,安全性能也可以有所提高。端盖32上可以设置有如电极端子321等的功能性部件。电极端子321可以用于与电极组件33电连接,以用于输出或输入电池单体30的电能。The
在一些实施例中,端盖32上还可以设置有用于在电池单体30的内部压力或温度达到阈值时泄放内部压力的泄压机构。端盖32的材质也可以是多种的,比如,铜、铁、铝、不锈钢、铝合金、塑胶等,本申请实施例对此不作特殊限制。在一些实施例中,在端盖32的内侧还可以设置有绝缘件,绝缘件可以用于隔离壳体31内的电连接部件与端盖32,以降低短路的风险。示例性的,绝缘件可以是塑料、橡胶等。In some embodiments, the
壳体31是用于配合端盖32以形成电池单体30的内部环境的组件,其中,形成的内部环境可以用于容纳电极组件33、电解液(在图中未示出)以及其他部件。壳体31和端盖32可以是独立的部件,可以于壳体31上设置开口,通过在开口处使端盖32盖合开口以形成电池单体30的内部环境。不限地,也可以使端盖32和壳体31一体化,具体地,端盖32和壳体31可以在其他部件入壳前先形成一个共同的连接面,当需要封装壳体31的内部时,再使端盖32盖合壳体31。壳体31可以是多种形状和多种尺寸的,例如长方体形、圆柱体形、六棱柱形等。具体地,壳体31的形状可以根据电极组件33的具体形状和尺寸大小来确定。壳体31的材质可以是多种,比如,铜、铁、铝、不锈钢、铝合金、塑胶等,本申请实施例对此不作特殊限制。The
电极组件33是电池单体30中发生电化学反应的部件。壳体31内可以包含一个或更多个电极组件33。电极组件33包括电极本体331和凸出于电极本体331的极耳。电极本体331包括第一极片、第二极片和隔离件,第一极片和第二极片的极性相反,隔离件用于将第一极片和第二极片绝缘隔离。第一极片、第二极片以及隔离件可以卷绕形成,也可以层叠放置形成。第一极片包括涂覆有第一活性物质层的第一涂覆区,第二极片包括涂覆有第二活性物质层的第二涂覆区。正极极耳和负极极耳可以共同位于主体部的一端或是分别位于主体部的两端。在电池的充放电过程中,第一活性物质和第二活性物质与电解液发生反应,极耳连接电极端子321以形成电流回路。The
根据本申请实施例提供的电池单体30,如图4所示,电池单体30包括壳体31、电极组件33和转接件34。电极组件33容纳于壳体31内,电极组件33包括电极本体331和凸出于电极本体331的第一极耳332和第二极耳333,第一极耳332和第二极耳333极性相同。转接件34包括端子连接部341和极耳连接部342。端子连接部341用于与电池单体30的电极端子321连接,极耳连接部342包括第一连接部3421和第二连接部3422,第一连接部3421和第二连接部3422分别连接于第一极耳332和第二极耳333。According to the
转接件34可以是片状,也可以是条状或者块状等其它形状,只要能够实现同时将第一极耳332和第二极耳333与电极端子321电连接即可。The
具体地,设置一个电极组件33包括第一极耳332和第二极耳333,且二者极性相同,即设置一个电极组件33包括至少两个正极耳,或者至少两个负极耳,或者同时包括至少两个正极耳以及至少两个负极耳。Specifically, one
对应地,转接件34同时连接第一极耳332和第二极耳333,即设置一个转接件34同时连接一个电极组件33的至少两个极性相同的极耳。可以设置一个转接件34同时连接一个电极组件33的至少两个正极耳,也可以设置一个转接件34同时连接一个电极组件33的至少两个负极耳,或者设置两个转接件34分别连接一个电极组件33的至少两个正极耳和至少两个负极耳。Correspondingly, the
电池单体30可以包括一个电极组件33,也可以包括多个电极组件33。在电池单体30包括一个电极组件33的实施例中,可以设置一个转接件34连接一个电极组件33的第一极耳332和第二极耳333。在电池单体30包括多个电极组件33的实施例中,可以设置一个转接件34同时连接多个电极组件33的第一极耳332和第二极耳333,也可以设置多个转接件34分别连接多个电极组件33中一部分电极组件33的第一极耳332和第二极耳333。The
第一极耳332和第二极耳333在电极组件33上具体设置的位置和二者之间的相对关系,可以根据电池单体30内部的结构和各元部件的空间布局具体设置,并根据第一极耳332和第二极耳333的形状和位置关系设置合适的转接件34的形状和结构,以实现转接件34同时连接第一极耳332和第二极耳333。The specific positions of the
可以理解的是,可以根据第一极耳332、第二极耳333以及对应的电极端子321的设置位置设置合适的转接件34的形状,以及对应的第一连接部3421和第二连接部3422的相对位置以及二者分别相对端子连接部341的位置。因此,可以根据电池单体30的布局,合理的设置第一极耳332、第二极耳333以及电极端子321的位置,以及对应的转接件34的结构型式。It can be understood that the shape of the
由于设置转接件34的第一连接部3421和第二连接部3422分别与电极组件33的第一极耳332和第二极耳333连接,可以增大转接件34与电极组件33的极耳的连接面积。如此,电池单体30在循环工作的过程中,流经转接件34的电流分成两路,分别流向第一连接部3421和第二连接部3422,即增大了转接件34的过流面积,降低了流经转接件34的电流密度,可以有效地降低单位时间内转接件34的温升。Since the first connecting
本申请实施例提供的电池单体30,通过在电极组件33上设置极性相同的第一极耳332和第二极耳333,并设置转接件34的第一连接部3421和第二连接部3422分别连接一个电极组件33的第一极耳332和第二极耳333,可以有效地提高转接件34的过流面积,改善过流能力,如此在电池单体30循环工作的过程中,尤其是大倍率充电的过程中,可以有效地降低转接件34的温升速率,提高电池单体30的工作安全性。In the
在一些实施例中,第一极耳332和第二极耳333沿第一方向X凸出于电极本体331,电池单体30还包括沿第二方向Y相对设置的两个第一表面30a和沿第三方向Z相对设置的两个第二表面30b,第一表面30a的面积大于第二表面30b的面积,第一方向X、第二方向Y以及第三方向Z两两垂直。In some embodiments, the
具体地,第一极耳332和第二极耳333可以沿第一方向X一侧凸出于电极本体331,此时电池单体可以设置一个端盖32。第一极耳332和第二极耳333也可以沿第一方向X的两侧均凸出于电极本体331,此时,电池单体包括两个端盖32,分别盖合于壳体31沿第一方向的两端。Specifically, the
转接件34的第一连接部3421和第二连接部3422可以分布在端子连接部341沿第二方向Y的两侧,也可以分布端子连接部341沿第三方向Z的两侧,二者的延伸方向根据第一极耳332和第二极耳333的延伸方向具体设置。第一连接部3421、第二连接部3422和端子连接部341的位置关系可以呈直线布置,也可以呈折线不着,这里不做限制。The first connecting
在一些实施例中,如图4和图5所示,第一极耳332和第二极耳333沿第二方向Y布置,第一连接部3421和第二连接部3422分布在端子连接部341沿第二方向Y的两侧。如此设置,电流流向转接件34时,经端子连接部341后沿端子连接部341沿第二方向Y的两侧分别流向第一连接部3421和第二连接部3422,或者沿相反的路径有第一连接部3421和第二连接部3422流向端子连接部341。如此设置,同样能够实现转接件34连接第一极耳332和第二极耳333,提高转接件34的过流面积,降低转接件34的温升速率。In some embodiments, as shown in FIGS. 4 and 5 , the
在另一些实施例中,如图6至图9所示,第一极耳332和第二极耳333沿第三方向Z间隔布置,第一连接部3421和第二连接部3422分别位于端子连接部341沿第三方向Z的两侧。如此设置,电流流向转接件34时,经端子连接部341后沿端子连接部341沿第三方向Z的两侧分别流向第一连接部3421和第二连接部3422,或者沿相反的路径有第一连接部3421和第二连接部3422流向端子连接部341。如此设置,同样能够实现转接件34连接第一极耳332和第二极耳333,提高转接件34的过流面积,降低转接件34的温升速率。另外,设置第一极耳332和第二极耳333沿第三方向Z排布,并设置端子连接部341位于第一极耳332和第二极耳333之间,也便于电池单体30的各结构的空间排布。In other embodiments, as shown in FIG. 6 to FIG. 9 , the
第一极耳332和第二极耳333沿第三方向Z间隔布置的实施例中,第一极耳332和第二极耳333的间隔距离不做限制,只要能够实现分别与第一连接部3421和第二连接部3422的连接即可。In the embodiment in which the
在一些实施例中,第一极耳332和第二极耳333沿第三方向Z的间距大于或等于7mm。如此设置,便于第一极耳332和第二极耳333的加工工艺的顺利进行,也可以有效地降低二者在工作过程中导电连接的风险,进而降低了转接件34分流失效的风险。In some embodiments, the distance between the
在一些实施例中,电极组件33的两个正极耳和两个负极耳沿第三方向Z间隔分布。由于电极组件33沿第三方向Z延伸的尺寸大于其沿第二方向Y延伸的尺寸,设置正极耳和负极耳沿第三方向Z排布,便于提高正极耳和负极耳之间的间距,有效的降低了正极耳和负极耳发生短路的风险。In some embodiments, the two positive tabs and the two negative tabs of the
可以理解的是,电极组件33的数量可以为一个,也可以为多个,这里不做限制。在电极组件33的数量为一个的实施例中,转接件34的第一连接部3421和第二连接部3422分别连接一个电极组件33的第一极耳332和第二极耳333。在电极组件33的数量为多个的实施例中,可以设置转接件34包括多个极耳连接部342,每一个极耳连接部342分别连接一个电极组件33的第一极耳332和第二极耳333。也可以设置转接件34的第一连接部3421和第二连接部3422分别连接多个电极组件33的第一极耳332和第二极耳333。It can be understood that, the number of
在一些实施例中,如图10至图14所示,电极组件33设置为多个,多个电极组件33沿第二方向Y并排设置。转接件34包括多个极耳连接部342,多个极耳连接部342沿第二方向Y排布,一个极耳连接部342连接至少一个电极组件33。In some embodiments, as shown in FIGS. 10 to 14 , the
设置多个电极组件33沿第二方向Y并排设置,即设置多个电极组件33中相邻两电极组件33的第一表面30a相邻。多个电极组件33的第一极耳332和第二极耳333可以沿第二方向Y布置,也可以沿第三方向Z布置,或者一部分的第一极耳332和第二极耳333沿第二方向Y布置,另一部分的第一极耳332和第二极耳333沿第三方向Z布置。The plurality of
在多个电极组件33的第一极耳332和第二极耳333沿第二方向Y布置的实施例中,多个极耳连接部342的第一连接部3421和第二连接部3422设置在端子连接部341沿第二方向Y的两侧,每一个极耳连接部342连接一个电极组件33,极耳连接部342的数量和电极组件33的数量可以相同。In the embodiment in which the
在多个电极组件33的第一极耳332和第二极耳333沿第三方向Z布置的实施例中,多个极耳连接部342的第一连接部3421和第二连接部3422连接于端子连接部341沿第三方向Z的两端,此时,极耳连接部342和电极组件33的数量可以相同也可以不相同。示例性地,转接件34可以设置两个极耳连接部342,一个极耳连接部342连接一部分的电极组件33,另一个极耳连接部342连接另一部分的电极组件33。当电极组件33的数量为三个以上时,也可以设置三个以上的极耳连接部342,每一极耳连接部342分别连接三个以上电极组件33中的一部分电极组件33的第一极耳332和第二极耳333。In the embodiment in which the
通过设置电极组件33为多个,可以有效地提高电池单体30的容量,而设置转接件34包括多个极耳连接部342,可以进一步增大电流流经极耳连接部342的过流面积,进而降低转接件34工作过程中的温升。By arranging a plurality of
可以理解的是,极耳连接部342的第一连接部3421和第二连接部3422的延伸长度可以相同,也可以不同。而在第一连接部3421和第二连接部3422延伸长度相同的实施例中,二者可以关于端子连接部341的中心面对称设置,也可以不对称设置,这里均不作限制。It can be understood that, the extension lengths of the first connecting
在一些实施例中,极耳连接部342关于端子连接部341对称设置。In some embodiments, the
可以理解的是,极耳连接部342可以关于端子连接部341的中心面对称设置,端子连接部341可以有多个中心面,极耳连接部342可以关于端子连接部341的任何一个中心面对称设置,示例性地,极耳连接部342关于端子连接部341垂直于第二方向Y的中心面对称设置,或者,极耳连接部342关于端子连接部341垂直于第三方向Z的中心面对称设置。It can be understood that, the
设置极耳连接部342关于端子连接部341的中心面对称,即设置第一连接部3421和第二连接部3422关于端子连接部341的中心面对称设置。如此在进行电池单体30的装配过程中,只需要调整转接件34在电池单体30上的姿态即可,而不必特意使转接件34的第一连接部3421和第二连接部3422分别对应到相应的位置,即转接件34旋转半周依然可以正常使用,如此可以降低电池单体30的装配难度。The
端子连接部341的结构型式不做限制,只要能够实现与电极端子321的连接即可。The structure of the
在一些实施例中,端子连接部341凸设于极耳连接部342的背离电极本体331的表面,且转接件34在于端子连接部341相对应的位置设置凹部342a,凹部342a相对于极耳连接部342的面向电极本体331的表面凹陷。In some embodiments, the
可以理解的是,电池单体30的电极端子321和极耳之间沿第一方向X有一定的间隔,设置端子连接部341凸设于极耳连接部342背离电极本体331的表面,便于端子连接部341和电极端子321的连接。而在极耳连接部342与端子连接相对应的位置设有凹部342a,且凹部342a相对于极耳连接部342面向电极本体331的表面凹陷,便于极耳连接部342连接第一极耳332和第二极耳333。It can be understood that there is a certain interval between the
电池单体30可以设置一个第一极耳332,也可以设置多个第一极耳332,第一极耳332为多个时,多个第一极耳332可以部分层叠设置,也可以全部第一极耳332层叠设置。The
在一些实施例中,第一极耳332为多个,多个第一极耳332层叠设置。如此,多个第一极耳332同时连接一个第一连接部3421,便于电极组件33与转接件34的连接,且使得电池单体30的内部结构更加紧凑。In some embodiments, there are multiple
同理,电池单体30可以设置一个第二极耳333,也可以设置多个第二极耳333,第二极耳333为多个时,多个第二极耳333可以部分分别层叠设置,也可以全部第二极耳333层叠设置。Similarly, the
在一些实施例中,第二极耳333为多个,多个第二极耳333层叠设置。如此,多个第二极耳333层叠设置后,同时连接一个第二连接部3422,便于电极组件33与转接件34的连接,且使得电池单体30的结构更加紧凑。In some embodiments, there are multiple
在另一些实施例中,第一极耳332为多个,多个第一极耳332层叠设置,第二极耳333为多个,多个第二极耳333层叠设置。如此,进一步提高电极组件33与转接件34连接的便利性,并进一步提高电池单体30内部结构的紧凑性。In other embodiments, there are a plurality of
根据本申请的一些实施例,本申请实施例还提供一种电池,包括上述任意一实施例体提供的电池单体30。According to some embodiments of the present application, the embodiments of the present application further provide a battery, including the
本申请实施例提供的电池,由于采用了上述任意实施例提供的电池单体30,因而具有同样的技术效果,在此不再赘述。Since the battery provided by the embodiment of the present application adopts the
根据本申请的一些实施例,本申请实施例还提供一种用电装置,包括上述任意一实施例体提供的电池单体30,电池单体30用于提供电能。According to some embodiments of the present application, the embodiments of the present application further provide an electrical device, including the
本申请实施例提供的用电装置,由于采用了上述任意实施例提供的电池单体30,因而具有同样的技术效果,在此不再赘述。The electrical device provided by the embodiment of the present application has the same technical effect because the
虽然已经参考优选实施例对本申请进行了描述,但在不脱离本申请的范围的情况下,可以对其进行各种改进并且可以用等效物替换其中的部件,尤其是,只要不存在结构冲突,各个实施例中所提到的各项技术特征均可以任意方式组合起来。本申请并不局限于文中公开的特定实施例,而是包括落入权利要求的范围内的所有技术方案。Although the application has been described with reference to preferred embodiments, various modifications may be made and equivalents may be substituted for parts thereof without departing from the scope of the application, particularly, provided that no structural conflict exists , each technical feature mentioned in each embodiment can be combined in any manner. The present application is not limited to the specific embodiments disclosed herein, but includes all technical solutions falling within the scope of the claims.
Claims (10)
Priority Applications (1)
| Application Number | Priority Date | Filing Date | Title |
|---|---|---|---|
| CN202122637189.3U CN216488286U (en) | 2021-10-29 | 2021-10-29 | Battery cell, battery and power consumption device |
Applications Claiming Priority (1)
| Application Number | Priority Date | Filing Date | Title |
|---|---|---|---|
| CN202122637189.3U CN216488286U (en) | 2021-10-29 | 2021-10-29 | Battery cell, battery and power consumption device |
Publications (1)
| Publication Number | Publication Date |
|---|---|
| CN216488286U true CN216488286U (en) | 2022-05-10 |
Family
ID=81444160
Family Applications (1)
| Application Number | Title | Priority Date | Filing Date |
|---|---|---|---|
| CN202122637189.3U Active CN216488286U (en) | 2021-10-29 | 2021-10-29 | Battery cell, battery and power consumption device |
Country Status (1)
| Country | Link |
|---|---|
| CN (1) | CN216488286U (en) |
Cited By (8)
| Publication number | Priority date | Publication date | Assignee | Title |
|---|---|---|---|---|
| CN116565467A (en) * | 2023-07-10 | 2023-08-08 | 宁德新能源科技有限公司 | Electrochemical devices and electrical equipment |
| WO2024020847A1 (en) * | 2022-07-27 | 2024-02-01 | 宁德时代新能源科技股份有限公司 | Battery cell, battery, and electrical device |
| WO2024152260A1 (en) * | 2023-01-18 | 2024-07-25 | 宁德时代新能源科技股份有限公司 | Battery cell, battery, and electric device |
| WO2025015946A1 (en) * | 2023-07-18 | 2025-01-23 | 欣旺达动力科技股份有限公司 | Battery unit and battery pack comprising same |
| WO2025112390A1 (en) * | 2023-12-01 | 2025-06-05 | 宁德时代新能源科技股份有限公司 | Battery cell, battery pack, and electric device |
| WO2025118508A1 (en) * | 2023-12-06 | 2025-06-12 | 宁德时代新能源科技股份有限公司 | Battery cell, battery, electric device and energy storage cabinet |
| WO2025161415A1 (en) * | 2024-02-01 | 2025-08-07 | 宁德时代新能源科技股份有限公司 | Battery cell, battery and electric device |
| WO2025167316A1 (en) * | 2024-02-05 | 2025-08-14 | 宁德时代新能源科技股份有限公司 | Battery cell, battery, and electrical apparatus |
-
2021
- 2021-10-29 CN CN202122637189.3U patent/CN216488286U/en active Active
Cited By (9)
| Publication number | Priority date | Publication date | Assignee | Title |
|---|---|---|---|---|
| WO2024020847A1 (en) * | 2022-07-27 | 2024-02-01 | 宁德时代新能源科技股份有限公司 | Battery cell, battery, and electrical device |
| WO2024152260A1 (en) * | 2023-01-18 | 2024-07-25 | 宁德时代新能源科技股份有限公司 | Battery cell, battery, and electric device |
| CN116565467A (en) * | 2023-07-10 | 2023-08-08 | 宁德新能源科技有限公司 | Electrochemical devices and electrical equipment |
| CN116565467B (en) * | 2023-07-10 | 2023-09-19 | 宁德新能源科技有限公司 | Electrochemical device and electric equipment |
| WO2025015946A1 (en) * | 2023-07-18 | 2025-01-23 | 欣旺达动力科技股份有限公司 | Battery unit and battery pack comprising same |
| WO2025112390A1 (en) * | 2023-12-01 | 2025-06-05 | 宁德时代新能源科技股份有限公司 | Battery cell, battery pack, and electric device |
| WO2025118508A1 (en) * | 2023-12-06 | 2025-06-12 | 宁德时代新能源科技股份有限公司 | Battery cell, battery, electric device and energy storage cabinet |
| WO2025161415A1 (en) * | 2024-02-01 | 2025-08-07 | 宁德时代新能源科技股份有限公司 | Battery cell, battery and electric device |
| WO2025167316A1 (en) * | 2024-02-05 | 2025-08-14 | 宁德时代新能源科技股份有限公司 | Battery cell, battery, and electrical apparatus |
Similar Documents
| Publication | Publication Date | Title |
|---|---|---|
| CN216488286U (en) | Battery cell, battery and power consumption device | |
| CN218602681U (en) | Battery monomer, battery and consumer | |
| CN216903136U (en) | Battery cells, batteries and electrical equipment | |
| CN218414808U (en) | Battery cells, batteries and electrical devices | |
| CN219067168U (en) | Battery monomer, battery and electric equipment | |
| CN216698634U (en) | Exhaust device, battery cell, battery, and power consumption device | |
| CN218919088U (en) | End cover assembly of battery unit, battery and electricity utilization device | |
| CN216213945U (en) | Battery cells, batteries and electrical devices | |
| US20220352573A1 (en) | Battery cell, battery, power consumption device, and battery manufacturing method and device | |
| CN218414686U (en) | Battery cells, batteries and electrical devices | |
| CN115882132A (en) | Battery cell, battery, electric device, manufacturing method, and manufacturing apparatus | |
| US20230387558A1 (en) | Battery cell, battery, and electrical apparatus | |
| WO2024164512A1 (en) | Battery cell, battery, and electrical device | |
| CN219917360U (en) | Battery cells, batteries and electrical equipment | |
| CN219017869U (en) | Battery cell, battery and electricity utilization device | |
| WO2023092459A1 (en) | Electrode assembly, battery cell, battery, and electrical device | |
| CN217444527U (en) | Battery and electric device | |
| CN217562788U (en) | Battery cell, battery and power consumption device | |
| WO2023225903A1 (en) | Battery cell, battery, and electrical device | |
| CN216213915U (en) | Battery cell, battery and power consumption device | |
| WO2025086770A1 (en) | Battery cell, battery, and electric device | |
| CN218769981U (en) | Adapter, battery cell, battery and electrical device | |
| CN218586051U (en) | Battery cell, battery and power consumption device | |
| CN216872125U (en) | Battery cells, batteries and electrical equipment | |
| CN217485645U (en) | End cap assemblies, battery cells, batteries and powered devices |
Legal Events
| Date | Code | Title | Description |
|---|---|---|---|
| GR01 | Patent grant | ||
| GR01 | Patent grant |
