CN216470805U - A stable mobile phone case production equipment automatic manipulator slide - Google Patents
A stable mobile phone case production equipment automatic manipulator slide Download PDFInfo
- Publication number
- CN216470805U CN216470805U CN202123005125.8U CN202123005125U CN216470805U CN 216470805 U CN216470805 U CN 216470805U CN 202123005125 U CN202123005125 U CN 202123005125U CN 216470805 U CN216470805 U CN 216470805U
- Authority
- CN
- China
- Prior art keywords
- slide rail
- mounting seat
- seat
- sliding
- sliding seat
- Prior art date
- Legal status (The legal status is an assumption and is not a legal conclusion. Google has not performed a legal analysis and makes no representation as to the accuracy of the status listed.)
- Active
Links
Images
Landscapes
- Telephone Set Structure (AREA)
Abstract
本实用新型公开了一种稳定型手机外壳生产设备自动机械臂用滑道,包括横向滑轨,所述横向滑轨的底部对称设置有纵向滑轨,对称设置的所述纵向滑轨与横向滑轨之间为滑动连接,所述横向滑轨的表面设置有滑座,且滑座与横向滑轨为滑动连接,所述滑座的表面设置有安装座,所述安装座与滑座之间均开设有多个安装孔,且安装孔的内侧贯穿有螺栓,所述安装座的底部设置有支撑板;通过设计的收纳槽、支撑板、活动杆、硅胶块、第二卡槽、卡块,改善原先安装座在安装时,需要专门一位工作人员将安装座的位置固定,存在一定不便的现象,通过该结构对安装座起到一定的支撑性,且在不用时可将该结构进行收纳,从而增加拆装便捷性。
The utility model discloses a slideway for an automatic manipulator arm of a stable mobile phone case production equipment, which comprises a lateral slideway, the bottom of the lateral slideway is symmetrically provided with a longitudinal slideway, and the symmetrically arranged longitudinal slideway is connected to the lateral slideway. There is a sliding connection between the rails, the surface of the lateral slide rail is provided with a sliding seat, and the sliding seat and the lateral sliding rail are slidingly connected, the surface of the sliding seat is provided with a mounting seat, and the mounting seat and the sliding seat are provided between the sliding seat and the sliding seat. There are multiple mounting holes, and bolts run through the inner side of the mounting holes. The bottom of the mounting seat is provided with a support plate; through the designed storage slot, support plate, movable rod, silicone block, second card slot, card block , to improve the installation of the original mounting seat, a special staff member is required to fix the position of the mounting seat, which is inconvenient. This structure has a certain support for the mounting seat, and the structure can be installed when not in use. storage, thereby increasing the convenience of disassembly and assembly.
Description
技术领域technical field
本实用新型属于滑道技术领域,具体涉及一种稳定型手机外壳生产设备自动机械臂用滑道。The utility model belongs to the technical field of slideways, in particular to a slideway for an automatic mechanical arm of a stable mobile phone case production equipment.
背景技术Background technique
手机外壳生产过程中,通过机械臂将手机外壳进行拿取,在机械臂运作过程中,通过滑道来回移动。During the production process of the mobile phone case, the mobile phone case is taken by the mechanical arm, and during the operation of the mechanical arm, it moves back and forth through the slideway.
现有的机械臂用滑道在使用过程中,用于机械臂与滑道之间进行连接的安装座,在与滑座之间进行安装时,由于需要专门一人将安装座托住,另一人进行螺栓贯穿操作,从而存在操作不便的问题,为此本实用新型提出一种稳定型手机外壳生产设备自动机械臂用滑道。During the use of the existing slides for robotic arms, the mounting bases used for connecting the robotic arms and the slides are installed between the slides, because one person is required to hold the mounting base, and another person is required to hold the mounting bases. There is a problem of inconvenient operation due to the bolt penetration operation. Therefore, the utility model provides a slideway for an automatic manipulator arm of a stable mobile phone case production equipment.
实用新型内容Utility model content
本实用新型的目的在于提供一种稳定型手机外壳生产设备自动机械臂用滑道,以解决上述背景技术中提出的问题。The purpose of the present invention is to provide a slideway for an automatic manipulator arm of a stable mobile phone case production equipment, so as to solve the problems raised in the above-mentioned background technology.
为实现上述目的,本实用新型提供如下技术方案:一种稳定型手机外壳生产设备自动机械臂用滑道,包括横向滑轨,所述横向滑轨的底部对称设置有纵向滑轨,对称设置的所述纵向滑轨与横向滑轨之间为滑动连接,所述横向滑轨的表面设置有滑座,且滑座与横向滑轨为滑动连接,所述滑座的表面设置有安装座,所述安装座与滑座之间均开设有多个安装孔,且安装孔的内侧贯穿有螺栓,所述安装座的底部设置有支撑板,所述安装座的底端开设有第二卡槽,且第二卡槽的内侧设置有卡块,所述卡块的底端与支撑板为固定状态,所述滑座的表面开设有收纳槽,所述支撑板的另一端贯穿有活动杆,所述活动杆的两端与收纳槽的底端两侧固定,所述收纳槽的顶端底部开设有第一卡槽,且第一卡槽的内侧固定有硅胶块。In order to achieve the above purpose, the present utility model provides the following technical solutions: a slideway for an automatic manipulator arm of a stable mobile phone case production equipment, comprising a transverse slideway, the bottom of the transverse slideway is symmetrically provided with a longitudinal slideway, and the symmetrically arranged There is a sliding connection between the longitudinal slide rail and the transverse slide rail, the surface of the transverse slide rail is provided with a sliding seat, and the sliding seat and the transverse sliding rail are slidingly connected, and the surface of the sliding seat is provided with a mounting seat, so A plurality of mounting holes are opened between the mounting seat and the sliding seat, and bolts are inserted through the inner side of the mounting holes, a support plate is provided at the bottom of the mounting seat, and a second slot is opened at the bottom end of the mounting seat, And the inner side of the second card slot is provided with a card block, the bottom end of the card block and the support plate are in a fixed state, the surface of the sliding seat is provided with a receiving groove, and the other end of the support plate is penetrated by a movable rod, so The two ends of the movable rod are fixed with both sides of the bottom end of the storage slot, the top bottom of the storage slot is provided with a first clamping slot, and the inner side of the first clamping slot is fixed with a silica gel block.
优选的,所述支撑板的一端边缘处开设有固定槽,所述收纳槽的顶端边缘处开设有放置槽,且放置槽的内部固定有橡胶块,所述橡胶块的表面开设有多个固定卡槽。Preferably, one end edge of the support plate is provided with a fixing groove, a top edge of the receiving groove is provided with a placing groove, and a rubber block is fixed inside the placing groove, and a plurality of fixing grooves are formed on the surface of the rubber block. card slot.
优选的,所述橡胶块的表面与放置槽的内壁呈贴合状态,所述固定卡槽的长度尺寸与橡胶块的长度尺寸一致。Preferably, the surface of the rubber block is in a fit state with the inner wall of the placement groove, and the length dimension of the fixing slot is consistent with the length dimension of the rubber block.
优选的,所述支撑板的表面与收纳槽的内壁呈贴合状态,所述卡块的表面与第二卡槽的内壁呈贴合状态。Preferably, the surface of the support plate is in a fit state with the inner wall of the receiving slot, and the surface of the clamping block is in a fit state with the inner wall of the second clip slot.
优选的,所述第二卡槽的横截面尺寸与第一卡槽的横截面尺寸一致,所述活动杆为圆柱体结构。Preferably, the cross-sectional dimension of the second clamping slot is the same as the cross-sectional dimension of the first clamping slot, and the movable rod is a cylindrical structure.
优选的,所述滑座的表面设置有标示贴,所述安装座的内侧开设有多个连接孔。Preferably, the surface of the sliding seat is provided with a label sticker, and the inner side of the mounting seat is provided with a plurality of connecting holes.
与现有技术相比,本实用新型的有益效果是:Compared with the prior art, the beneficial effects of the present utility model are:
(1)通过设计的收纳槽、支撑板、活动杆、硅胶块、第二卡槽、卡块,改善原先安装座在安装时,需要专门一位工作人员将安装座的位置固定,存在一定不便的现象,通过该结构对安装座起到一定的支撑性,且在不用时可将该结构进行收纳,从而增加拆装便捷性。(1) Through the designed storage slot, support plate, movable rod, silica gel block, second card slot, and card block, when the original mounting seat is installed, a special staff member is required to fix the position of the mounting seat, which is inconvenient. Through the structure, the mounting seat can be supported to a certain extent, and the structure can be accommodated when not in use, thereby increasing the convenience of disassembly and assembly.
(2)通过设计的固定槽、放置槽、橡胶块、固定卡槽,便于工作人员对支撑板进行展开操作,从而增加支撑板的使用便捷度。(2) The designed fixing grooves, placement grooves, rubber blocks, and fixing card grooves facilitate the staff to expand the support plate, thereby increasing the convenience of use of the support plate.
附图说明Description of drawings
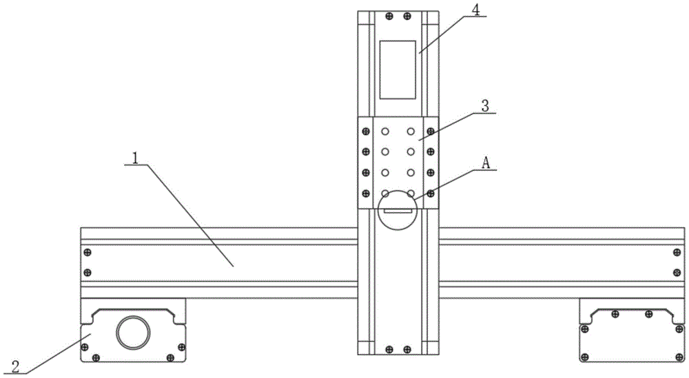
图1为本实用新型的结构示意图;Fig. 1 is the structural representation of the utility model;
图2为本实用新型图1中的A部区域放大示意图;Fig. 2 is the enlarged schematic diagram of the region A in Fig. 1 of the utility model;
图3为本实用新型的安装座与滑座侧面连接处剖视示意图;Figure 3 is a schematic cross-sectional view of the connection between the mounting seat and the side surface of the sliding seat of the present invention;
图4为本实用新型图3中的B部区域放大示意图;Fig. 4 is the enlarged schematic diagram of the B part region in Fig. 3 of the utility model;
图中:1、横向滑轨;2、纵向滑轨;3、安装座;4、滑座;5、支撑板;6、收纳槽;7、第一卡槽;8、硅胶块;9、第二卡槽;10、卡块;11、固定槽;12、活动杆;13、放置槽;14、橡胶块;15、固定卡槽。In the picture: 1. Horizontal slide rail; 2. Vertical slide rail; 3. Mounting seat; 4. Slide seat; 5. Support plate; 6. Storage slot; 7. First card slot; 8. Silicone block; 9. Section Two card slots; 10, card block; 11, fixed slot; 12, movable rod; 13, placement slot; 14, rubber block; 15, fixed card slot.
具体实施方式Detailed ways
下面将结合本实用新型实施例中的附图,对本实用新型实施例中的技术方案进行清楚、完整地描述,显然,所描述的实施例仅仅是本实用新型一部分实施例,而不是全部的实施例。基于本实用新型中的实施例,本领域普通技术人员在没有做出创造性劳动前提下所获得的所有其他实施例,都属于本实用新型保护的范围。The technical solutions in the embodiments of the present utility model will be clearly and completely described below with reference to the accompanying drawings in the embodiments of the present utility model. Obviously, the described embodiments are only a part of the embodiments of the present utility model, rather than all the implementations. example. Based on the embodiments of the present invention, all other embodiments obtained by those of ordinary skill in the art without creative work fall within the protection scope of the present invention.
请参阅图1至图4,本实用新型提供一种技术方案:一种稳定型手机外壳生产设备自动机械臂用滑道,包括横向滑轨1,横向滑轨1的底部对称设置有纵向滑轨2,对称设置的纵向滑轨2与横向滑轨1之间为滑动连接,横向滑轨1的表面设置有滑座4,且滑座4与横向滑轨1为滑动连接,滑座4的表面设置有安装座3,安装座3与滑座4之间均开设有多个安装孔,且安装孔的内侧贯穿有螺栓,安装座3的底部设置有支撑板5,安装座3的底端开设有第二卡槽9,且第二卡槽9的内侧设置有卡块10,卡块10的底端与支撑板5为固定状态,滑座4的表面开设有收纳槽6,支撑板5的另一端贯穿有活动杆12,活动杆12的两端与收纳槽6的底端两侧固定,收纳槽6的顶端底部开设有第一卡槽7,且第一卡槽7的内侧固定有硅胶块8,通过设计的收纳槽6、支撑板5、活动杆12、硅胶块8、第二卡槽9、卡块10,改善原先安装座3在安装时,需要专门一位工作人员将安装座3的位置固定,存在一定不便的现象,通过该结构对安装座3起到一定的支撑性,且在不用时可将该结构进行收纳,从而增加拆装便捷性,支撑板5的表面与收纳槽6的内壁呈贴合状态,卡块10的表面与第二卡槽9的内壁呈贴合状态,第二卡槽9的横截面尺寸与第一卡槽7的横截面尺寸一致,活动杆12为圆柱体结构。Please refer to FIG. 1 to FIG. 4 , the present utility model provides a technical solution: a slideway for an automatic manipulator arm of a stable mobile phone case production equipment, comprising a lateral slide rail 1 , and a longitudinal slide rail is symmetrically arranged at the bottom of the lateral slide rail 1 2. There is a sliding connection between the symmetrically arranged longitudinal slide rail 2 and the lateral slide rail 1. The surface of the lateral slide rail 1 is provided with a sliding
本实施例中,优选的,支撑板5的一端边缘处开设有固定槽11,收纳槽6的顶端边缘处开设有放置槽13,且放置槽13的内部固定有橡胶块14,橡胶块14的表面开设有多个固定卡槽15,通过设计的固定槽11、放置槽13、橡胶块14、固定卡槽15,便于工作人员对支撑板5进行展开操作,从而增加支撑板5的使用便捷度,橡胶块14的表面与放置槽13的内壁呈贴合状态,固定卡槽15的长度尺寸与橡胶块14的长度尺寸一致。In this embodiment, preferably, a
本实施例中,优选的,滑座4的表面设置有标示贴,安装座3的内侧开设有多个连接孔。In this embodiment, preferably, the surface of the sliding
本实用新型的工作原理及使用流程:在手机外壳生产过程中,通过机械臂自动对手机外壳进行拿取,当用于对机械臂进行移动的滑道在拆卸过程中,当组成该滑道的安装座3与滑座4之间在拆卸时,首先将贯穿于安装座3和滑座4内侧的多个螺栓进行拆卸,当螺栓拆卸完毕后,再将安装座3拿起,使卡块10与第二卡槽9分离,接着对支撑板5进行推动,使支撑板5以活动杆12为中心旋转,使支撑板5嵌入收纳槽6的内侧,且使支撑板5内侧固定的卡块10卡入第一卡槽7的内侧,且卡块10与第一卡槽7之间通过硅胶块8进行固定,当需要将嵌于收纳槽6内侧的支撑板5进行展开时,通过将手指卡入固定槽11的内侧,且手指与橡胶块14贴合,再对固定槽11的内壁进行拉动,使支撑板5以活动杆12为中心旋转,使支撑板5呈展开状态。The working principle and use process of the utility model: in the production process of the mobile phone case, the mobile phone case is automatically taken by the mechanical arm, when the slideway used for moving the mechanical arm is disassembled during the disassembly process, when the slideway is composed of the slideway When disassembling between the
尽管已经示出和描述了本实用新型的实施例,对于本领域的普通技术人员而言,可以理解在不脱离本实用新型的原理和精神的情况下可以对这些实施例进行多种变化、修改、替换和变型,本实用新型的范围由所附权利要求及其等同物限定。Although the embodiments of the present invention have been shown and described, it will be understood by those skilled in the art that various changes and modifications can be made to these embodiments without departing from the principles and spirit of the present invention , alternatives and modifications, the scope of the present invention is defined by the appended claims and their equivalents.
Claims (6)
Priority Applications (1)
| Application Number | Priority Date | Filing Date | Title |
|---|---|---|---|
| CN202123005125.8U CN216470805U (en) | 2021-12-02 | 2021-12-02 | A stable mobile phone case production equipment automatic manipulator slide |
Applications Claiming Priority (1)
| Application Number | Priority Date | Filing Date | Title |
|---|---|---|---|
| CN202123005125.8U CN216470805U (en) | 2021-12-02 | 2021-12-02 | A stable mobile phone case production equipment automatic manipulator slide |
Publications (1)
| Publication Number | Publication Date |
|---|---|
| CN216470805U true CN216470805U (en) | 2022-05-10 |
Family
ID=81403699
Family Applications (1)
| Application Number | Title | Priority Date | Filing Date |
|---|---|---|---|
| CN202123005125.8U Active CN216470805U (en) | 2021-12-02 | 2021-12-02 | A stable mobile phone case production equipment automatic manipulator slide |
Country Status (1)
| Country | Link |
|---|---|
| CN (1) | CN216470805U (en) |
-
2021
- 2021-12-02 CN CN202123005125.8U patent/CN216470805U/en active Active
Similar Documents
| Publication | Publication Date | Title |
|---|---|---|
| CN216470805U (en) | A stable mobile phone case production equipment automatic manipulator slide | |
| CN209769519U (en) | A foldable environmental design blueprint display table | |
| CN108357910A (en) | Blocking jacking apparatus on production line | |
| CN218509107U (en) | Steel structural support convenient to disassemble | |
| CN219406496U (en) | Handling device for mounting battery plate | |
| CN221449254U (en) | A building facade greening installation frame | |
| CN210711627U (en) | A clamping device for laser quenching test of sample block | |
| CN216447837U (en) | Portable laser scanning device for bridge detection | |
| CN216862247U (en) | Part shape trace embedding disc with fixing device | |
| CN216461258U (en) | A new type of bending machine | |
| CN221171661U (en) | Mounting base of electric automation equipment | |
| CN222200271U (en) | A buried tank body shaping fixture | |
| CN221933974U (en) | A reagent heating rack for laboratory use | |
| CN117214729B (en) | Novel battery and high-efficiency assembly conversion efficiency testing device and testing method | |
| CN217984459U (en) | Electric power outdoor construction cable collection device | |
| CN221716273U (en) | Positioning device for oil cylinder machining | |
| CN217973845U (en) | Railway track support base convenient to installation | |
| CN218707002U (en) | Loading attachment suitable for integrated circuit board | |
| CN205532244U (en) | Be applied to portable operation ladder of production tree operation | |
| CN212887176U (en) | A fixed bolster for cell-phone maintenance | |
| CN215990113U (en) | Installation device for electrical engineering that can fix a position fast | |
| CN222233963U (en) | SIM card holder with waterproof function | |
| CN219819474U (en) | Triaxial linkage clamping mechanism | |
| CN221552385U (en) | Conveniently fixed wireless USB docking station that fills | |
| CN210836695U (en) | Auxiliary teaching board for marketing teaching |
Legal Events
| Date | Code | Title | Description |
|---|---|---|---|
| GR01 | Patent grant | ||
| GR01 | Patent grant | ||
| TR01 | Transfer of patent right |
Effective date of registration: 20250530 Address after: 510700 Guangdong Province Guangzhou City Huangpu District Wanhui Yi Street Room 505, No. 113 China Patentee after: Li Qiuju Country or region after: China Patentee after: Li Tiezhong Address before: 441000 Hubei Province Xiangyang City Fancheng District Taipingdian Town Gaotian Road 186.NO Patentee before: Xiangyang Lizhuo metal products Co.,Ltd. Country or region before: China |
|
| TR01 | Transfer of patent right | ||
| TR01 | Transfer of patent right |
Effective date of registration: 20250620 Address after: 510000 Guangdong Province Guangzhou City Tianhe District Tangdong Tangji Street 1-11, 2nd and 3rd Floors, Room 222, N22 (Office Only) Patentee after: Guangzhou Taishu Technology Co.,Ltd. Country or region after: China Address before: 510700 Guangdong Province Guangzhou City Huangpu District Wanhui Yi Street Room 505, No. 113 China Patentee before: Li Qiuju Country or region before: China Patentee before: Li Tiezhong |
|
| TR01 | Transfer of patent right |
