CN216457606U - 一种用于化工塑料生产的烟气净化处理装置 - Google Patents
一种用于化工塑料生产的烟气净化处理装置 Download PDFInfo
- Publication number
- CN216457606U CN216457606U CN202220829809.5U CN202220829809U CN216457606U CN 216457606 U CN216457606 U CN 216457606U CN 202220829809 U CN202220829809 U CN 202220829809U CN 216457606 U CN216457606 U CN 216457606U
- Authority
- CN
- China
- Prior art keywords
- fixedly connected
- flue gas
- box
- treatment device
- gas purification
- Prior art date
- Legal status (The legal status is an assumption and is not a legal conclusion. Google has not performed a legal analysis and makes no representation as to the accuracy of the status listed.)
- Active
Links
- 239000000126 substance Substances 0.000 title claims abstract description 20
- 238000004519 manufacturing process Methods 0.000 title claims abstract description 17
- 238000004140 cleaning Methods 0.000 title claims abstract description 10
- 229920003023 plastic Polymers 0.000 title claims abstract description 9
- 239000004033 plastic Substances 0.000 title claims abstract description 9
- XLYOFNOQVPJJNP-UHFFFAOYSA-N water Substances O XLYOFNOQVPJJNP-UHFFFAOYSA-N 0.000 claims abstract description 34
- UGFAIRIUMAVXCW-UHFFFAOYSA-N Carbon monoxide Chemical compound [O+]#[C-] UGFAIRIUMAVXCW-UHFFFAOYSA-N 0.000 claims abstract description 28
- 239000003546 flue gas Substances 0.000 claims abstract description 28
- 230000029058 respiratory gaseous exchange Effects 0.000 claims abstract description 10
- 238000011068 loading method Methods 0.000 claims abstract description 7
- 239000007789 gas Substances 0.000 claims abstract description 6
- 238000000746 purification Methods 0.000 claims description 30
- 238000003889 chemical engineering Methods 0.000 claims description 8
- 229920006351 engineering plastic Polymers 0.000 claims description 8
- 230000000694 effects Effects 0.000 abstract description 8
- 241000220317 Rosa Species 0.000 abstract description 3
- 238000010521 absorption reaction Methods 0.000 abstract description 3
- 239000000203 mixture Substances 0.000 abstract description 3
- 238000000605 extraction Methods 0.000 abstract description 2
- 239000000779 smoke Substances 0.000 description 9
- 239000000428 dust Substances 0.000 description 6
- 238000001914 filtration Methods 0.000 description 4
- 238000010926 purge Methods 0.000 description 4
- 230000006378 damage Effects 0.000 description 3
- 230000007613 environmental effect Effects 0.000 description 3
- 239000010865 sewage Substances 0.000 description 3
- 239000007921 spray Substances 0.000 description 3
- 238000012824 chemical production Methods 0.000 description 2
- 239000002184 metal Substances 0.000 description 2
- 238000001179 sorption measurement Methods 0.000 description 2
- 238000003756 stirring Methods 0.000 description 2
- 208000027418 Wounds and injury Diseases 0.000 description 1
- 230000009286 beneficial effect Effects 0.000 description 1
- 238000001311 chemical methods and process Methods 0.000 description 1
- 125000004122 cyclic group Chemical group 0.000 description 1
- 230000007547 defect Effects 0.000 description 1
- 238000010586 diagram Methods 0.000 description 1
- 238000005516 engineering process Methods 0.000 description 1
- 238000010438 heat treatment Methods 0.000 description 1
- 208000014674 injury Diseases 0.000 description 1
- 238000000034 method Methods 0.000 description 1
- 238000012986 modification Methods 0.000 description 1
- 230000004048 modification Effects 0.000 description 1
- 239000002245 particle Substances 0.000 description 1
- 239000002918 waste heat Substances 0.000 description 1
Images
Landscapes
- Filtering Of Dispersed Particles In Gases (AREA)
- Treating Waste Gases (AREA)
Abstract
本实用新型涉及烟气净化设备技术领域,公开了一种用于化工塑料生产的烟气净化处理装置,包括承载板,所述承载板的顶端右侧固定连接有调节架,所述调节架的前后两端内壁均滑动连接有滑块,所述滑块的内侧一端均转动连接有阻力轴,所述阻力轴的内侧一端分别固定连接在吸气罩的两侧,所述调节架的顶端后方固定连接有伺服电机,所述伺服电机的驱动端固定连接有丝杆。本实用新型中,通过水泵抽取过滤箱内的水并由球形喷头喷出,能够对第一滤网进行冲洗,保证第一滤网的过滤效果,提高了工作效率,通过伺服电机带动丝杆转动,能够实现吸气罩的高度调节,通过转动阻力轴能够调整吸气罩的角度,提高了烟气的吸收效果。
Description
技术领域
本实用新型涉及烟气净化设备技术领域,尤其涉及一种用于化工塑料生产的烟气净化处理装置。
背景技术
化工,即化学工业,凡运用化学方法改变物质组成或结构、或合成新物质的,都属于化学生产技术,也就是化学工艺,所得的产品被称为化学品或化工产品,在对化工产品进行生产时,会产生大量的烟气,为了对烟气进行处理,需要使用净化装置。
中国专利文献CN215027084U公开了一种用于化工环境保护的烟气净化装置,包括固定框,所述固定框的中部固定连接有处理框,所述固定框的左侧设置有进气口,所述进气口的端部固定连接有金属管,所述金属管位于固定框的内部,本实用新型涉及环境保护技术领域。该一种用于化工环境保护的烟气净化装置,达到了将化工生产产生的烟气通入处理框中,经第一过滤网、第二过滤网进行多重过滤,过滤烟气中的颗粒物,设置搅拌装置,便于对过滤网进行擦拭,减少过滤网堵塞,提高过滤网的过滤效率,设置锥形收集板,便于对过滤物进行收集,设置进水口与排水口,便于往固定框内通入水,利用烟气的余热对水进行加热,提高资源利用率,满足使用需求的目的,但其通过搅拌装置对滤网进行清洁首先会导致滤网容易破损,滤网使用寿命降低,其次清理效果不明显,并且烟尘不易收集或清理,同时该装置的进气口灵活度低,不方便根据烟气产生的位置调节进气口的高度及角度,吸气效果差。
实用新型内容
本实用新型的目的是为了解决现有技术中存在的缺点,而提出的一种用于化工塑料生产的烟气净化处理装置。
为了实现上述目的,本实用新型采用了如下技术方案:一种用于化工塑料生产的烟气净化处理装置,包括承载板,所述承载板的顶端右侧固定连接有调节架,所述调节架的前后两端内壁均滑动连接有滑块,所述滑块的内侧一端均转动连接有阻力轴,所述阻力轴的内侧一端分别固定连接在吸气罩的两侧,所述调节架的顶端后方固定连接有伺服电机,所述伺服电机的驱动端固定连接有丝杆,所述承载板的顶端对应调节架的左侧固定连接有净化箱,所述净化箱的内壁中部 固定连接有第一滤网,所述净化箱的底端中部固定连接有出水管,所述出水管的底端固定连接有过滤箱,所述过滤箱的左端底部固定连接有循环管,所述循环管的顶端固定连接有水泵,所述水泵的顶端固定连接有进水管。
作为上述技术方案的进一步描述:
所述承载板的底端四角处均固定连接有万向轮,所述承载板的顶端左侧固定连接有推杆。
作为上述技术方案的进一步描述:
所述吸气罩的左端固定连接有软管,所述软管的左端固定连接在净化箱的右端底部。
作为上述技术方案的进一步描述:
所述丝杆的外径螺纹连接在后方滑块的内壁,所述丝杆的底端转动连接在调节架的底端内壁。
作为上述技术方案的进一步描述:
所述出水管的前方设置有阀门,所述过滤箱的内壁中部固定连接有第二滤网。
作为上述技术方案的进一步描述:
所述进水管的管体贯穿净化箱的左端顶部,所述进水管的末端设置有球形喷头。
作为上述技术方案的进一步描述:
所述净化箱的顶端右侧内壁固定连接有风机。
作为上述技术方案的进一步描述:
所述净化箱的顶端右侧固定连接有排气管。
本实用新型具有如下有益效果:
1、本实用新型中,首先关闭阀门,通过风机工作使净化箱内形成负压,烟气通过吸气罩和软管被吸入净化箱内,通过第一滤网能够将烟气中的有害粉尘过滤后通过排气管排出,通过水泵抽取过滤箱内的水并由球形喷头喷出,能够对第一滤网进行冲洗,使第一滤网表面吸附的烟尘脱落,保证第一滤网的过滤效果,最后打开阀门,污水排入过滤箱内并经过第二滤网过滤后可循环利用,节约了水资源,防止了烟气对人体和环境造成的伤害,同时便于清洗过滤装置,提高了工作效率。
2、本实用新型中,通过伺服电机带动丝杆转动,通过丝杆带动滑块在调节架内滑动,从而能够实现吸气罩的高度调节,通过转动阻力轴能够调整吸气罩的角度,使得吸气罩的位置灵活多变,能够更好地对准产生烟气的位置,提高了烟气的吸收效果。
附图说明
图1为本实用新型提出的一种用于化工塑料生产的烟气净化处理装置的立体图;
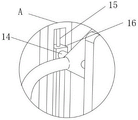
图2为图1中A处放大图;
图3为本实用新型提出的一种用于化工塑料生产的烟气净化处理装置的净化箱内部结构示意图。
图例说明:
1、承载板;2、调节架;3、吸气罩;4、伺服电机;5、净化箱;6、排气管;7、进水管;8、水泵;9、循环管;10、推杆;11、过滤箱;12、软管;13、万向轮;14、阻力轴;15、丝杆;16、滑块;17、风机;18、球形喷头;19、第一滤网;20、出水管;21、阀门;22、第二滤网。
具体实施方式
下面将结合本实用新型实施例中的附图,对本实用新型实施例中的技术方案进行清楚、完整地描述,显然,所描述的实施例仅仅是本实用新型一部分实施例,而不是全部的实施例。基于本实用新型中的实施例,本领域普通技术人员在没有做出创造性劳动前提下所获得的所有其他实施例,都属于本实用新型保护的范围。
在本实用新型的描述中,需要说明的是,术语“中心”、“上”、“下”、“左”、“右”、“竖直”、“水平”、“内”、“外”等指示的方位或位置关系为基于附图所示的方位或位置关系,仅是为了便于描述本实用新型和简化描述,而不是指示或暗示所指的装置或元件必须具有特定的方位、以特定的方位构造和操作,因此不能理解为对本实用新型的限制;术语“第一”、“第二”、“第三”仅用于描述目的,而不能理解为指示或暗示相对重要性,此外,除非另有明确的规定和限定,术语“安装”、“相连”、“连接”应做广义理解,例如,可以是固定连接,也可以是可拆卸连接,或一体地连接;可以是机械连接,也可以是电连接;可以是直接相连,也可以通过中间媒介间接相连,可以是两个元件内部的连通。对于本领域的普通技术人员而言,可以具体情况理解上述术语在本实用新型中的具体含义。
参照图1-3,本实用新型提供的一种实施例:一种用于化工塑料生产的烟气净化处理装置,包括承载板1,承载板1的顶端右侧固定连接有调节架2,调节架2的前后两端内壁均滑动连接有滑块16,滑块16的内侧一端均转动连接有阻力轴14,阻力轴14的内侧一端分别固定连接在吸气罩3的两侧,调节架2的顶端后方固定连接有伺服电机4,伺服电机4的驱动端固定连接有丝杆15,承载板1的顶端对应调节架2的左侧固定连接有净化箱5,净化箱5的内壁中部 固定连接有第一滤网19,净化箱5的底端中部固定连接有出水管20,出水管20的底端固定连接有过滤箱11,过滤箱11的左端底部固定连接有循环管9,循环管9的顶端固定连接有水泵8,水泵8的顶端固定连接有进水管7,通过风机17工作使净化箱5内形成负压,烟气通过吸气罩3和软管12被吸入净化箱5内,通过第一滤网19能够将烟气中的有害粉尘过滤后通过排气管6排出,通过水泵8抽取过滤箱11内的水并由球形喷头18喷出,能够对第一滤网19进行冲洗,使第一滤网19表面吸附的烟尘脱落。
承载板1的底端四角处均固定连接有万向轮13,承载板1的顶端左侧固定连接有推杆10,方便整体装置的移动,提高了灵活性,吸气罩3的左端固定连接有软管12,软管12的左端固定连接在净化箱5的右端底部,丝杆15的外径螺纹连接在后方滑块16的内壁,丝杆15的底端转动连接在调节架2的底端内壁,出水管20的前方设置有阀门21,过滤箱11的内壁中部固定连接有第二滤网22,打开阀门21,污水排入过滤箱11内经过第二滤网22过滤后可循环利用,进水管7的管体贯穿净化箱5的左端顶部,进水管7的末端设置有球形喷头18,通过球形喷头18提高了清洗面积,净化箱5的顶端右侧内壁固定连接有风机17,净化箱5的顶端右侧固定连接有排气管6。
工作原理:首先关闭阀门21,通过风机17工作使净化箱5内形成负压,烟气通过吸气罩3和软管12被吸入净化箱5内,通过第一滤网19能够将烟气中的有害粉尘过滤后通过排气管6排出,通过水泵8抽取过滤箱11内的水并由球形喷头18喷出,能够对第一滤网19进行冲洗,使第一滤网19表面吸附的烟尘脱落,保证第一滤网19的过滤效果,最后打开阀门21,污水排入过滤箱11内并经过第二滤网22过滤后可循环利用,防止了烟气对人体和环境造成的伤害,同时便于清洗过滤装置,提高了工作效率,通过伺服电机4带动丝杆15转动,通过丝杆15带动滑块16在调节架2内滑动,从而能够实现吸气罩3的高度调节,通过转动阻力轴14能够调整吸气罩3的角度,使得吸气罩3的位置灵活多变,能够更好地对准产生烟气的位置,提高了烟气的吸收效果。
最后应说明的是:以上所述仅为本实用新型的优选实施例而已,并不用于限制本实用新型,尽管参照前述实施例对本实用新型进行了详细的说明,对于本领域的技术人员来说,其依然可以对前述各实施例所记载的技术方案进行修改,或者对其中部分技术特征进行等同替换,凡在本实用新型的精神和原则之内,所作的任何修改、等同替换、改进等,均应包含在本实用新型的保护范围之内。
Claims (8)
1.一种用于化工塑料生产的烟气净化处理装置,包括承载板(1),其特征在于:所述承载板(1)的顶端右侧固定连接有调节架(2),所述调节架(2)的前后两端内壁均滑动连接有滑块(16),所述滑块(16)的内侧一端均转动连接有阻力轴(14),所述阻力轴(14)的内侧一端分别固定连接在吸气罩(3)的两侧,所述调节架(2)的顶端后方固定连接有伺服电机(4),所述伺服电机(4)的驱动端固定连接有丝杆(15),所述承载板(1)的顶端对应调节架(2)的左侧固定连接有净化箱(5),所述净化箱(5)的内壁中部 固定连接有第一滤网(19),所述净化箱(5)的底端中部固定连接有出水管(20),所述出水管(20)的底端固定连接有过滤箱(11),所述过滤箱(11)的左端底部固定连接有循环管(9),所述循环管(9)的顶端固定连接有水泵(8),所述水泵(8)的顶端固定连接有进水管(7)。
2.根据权利要求1所述的一种用于化工塑料生产的烟气净化处理装置,其特征在于:所述承载板(1)的底端四角处均固定连接有万向轮(13),所述承载板(1)的顶端左侧固定连接有推杆(10)。
3.根据权利要求1所述的一种用于化工塑料生产的烟气净化处理装置,其特征在于:所述吸气罩(3)的左端固定连接有软管(12),所述软管(12)的左端固定连接在净化箱(5)的右端底部。
4.根据权利要求1所述的一种用于化工塑料生产的烟气净化处理装置,其特征在于:所述丝杆(15)的外径螺纹连接在后方滑块(16)的内壁,所述丝杆(15)的底端转动连接在调节架(2)的底端内壁。
5.根据权利要求1所述的一种用于化工塑料生产的烟气净化处理装置,其特征在于:所述出水管(20)的前方设置有阀门(21),所述过滤箱(11)的内壁中部固定连接有第二滤网(22)。
6.根据权利要求1所述的一种用于化工塑料生产的烟气净化处理装置,其特征在于:所述进水管(7)的管体贯穿净化箱(5)的左端顶部,所述进水管(7)的末端设置有球形喷头(18)。
7.根据权利要求1所述的一种用于化工塑料生产的烟气净化处理装置,其特征在于:所述净化箱(5)的顶端右侧内壁固定连接有风机(17)。
8.根据权利要求1所述的一种用于化工塑料生产的烟气净化处理装置,其特征在于:所述净化箱(5)的顶端右侧固定连接有排气管(6)。
Priority Applications (1)
| Application Number | Priority Date | Filing Date | Title |
|---|---|---|---|
| CN202220829809.5U CN216457606U (zh) | 2022-04-12 | 2022-04-12 | 一种用于化工塑料生产的烟气净化处理装置 |
Applications Claiming Priority (1)
| Application Number | Priority Date | Filing Date | Title |
|---|---|---|---|
| CN202220829809.5U CN216457606U (zh) | 2022-04-12 | 2022-04-12 | 一种用于化工塑料生产的烟气净化处理装置 |
Publications (1)
| Publication Number | Publication Date |
|---|---|
| CN216457606U true CN216457606U (zh) | 2022-05-10 |
Family
ID=81435192
Family Applications (1)
| Application Number | Title | Priority Date | Filing Date |
|---|---|---|---|
| CN202220829809.5U Active CN216457606U (zh) | 2022-04-12 | 2022-04-12 | 一种用于化工塑料生产的烟气净化处理装置 |
Country Status (1)
| Country | Link |
|---|---|
| CN (1) | CN216457606U (zh) |
Cited By (3)
| Publication number | Priority date | Publication date | Assignee | Title |
|---|---|---|---|---|
| CN115046217A (zh) * | 2022-05-26 | 2022-09-13 | 江苏创盛锅炉有限公司 | 一种带有净化结构的热水锅炉用排烟装置 |
| CN115920567A (zh) * | 2023-01-06 | 2023-04-07 | 江苏苏华达新材料有限公司 | 一种废气净化处理设备 |
| CN117655038A (zh) * | 2023-12-29 | 2024-03-08 | 北京中海兴业安全玻璃有限公司 | 一种中空玻璃生产加工废气自动回收装置 |
-
2022
- 2022-04-12 CN CN202220829809.5U patent/CN216457606U/zh active Active
Cited By (4)
| Publication number | Priority date | Publication date | Assignee | Title |
|---|---|---|---|---|
| CN115046217A (zh) * | 2022-05-26 | 2022-09-13 | 江苏创盛锅炉有限公司 | 一种带有净化结构的热水锅炉用排烟装置 |
| CN115920567A (zh) * | 2023-01-06 | 2023-04-07 | 江苏苏华达新材料有限公司 | 一种废气净化处理设备 |
| CN115920567B (zh) * | 2023-01-06 | 2025-10-17 | 江苏苏华达新材料有限公司 | 一种废气净化处理设备 |
| CN117655038A (zh) * | 2023-12-29 | 2024-03-08 | 北京中海兴业安全玻璃有限公司 | 一种中空玻璃生产加工废气自动回收装置 |
Similar Documents
| Publication | Publication Date | Title |
|---|---|---|
| CN216457606U (zh) | 一种用于化工塑料生产的烟气净化处理装置 | |
| CN210699353U (zh) | 一种无尘车间空气净化装置 | |
| CN111249821A (zh) | 一种工业废气处理装置 | |
| CN207856619U (zh) | 一种活性炭吸附的气体净化装置 | |
| CN111237899A (zh) | 一种绿色建筑用空气净化设备及使用方法 | |
| CN211585775U (zh) | 家用新风预处理系统 | |
| CN212548921U (zh) | 一种十二烷基硫酸钠尾气处理装置 | |
| CN109999593B (zh) | 一种低成本高效率的除尘装置 | |
| CN219539849U (zh) | 一种橡胶生产的烟尘处理系统 | |
| CN223112758U (zh) | 一种pvc塑料流体软管生产废气净化装置 | |
| CN218980965U (zh) | 一种抑尘装置 | |
| CN221207411U (zh) | 一种可移动除味装置 | |
| CN220878146U (zh) | 一种实验室废气排放装置 | |
| CN221333251U (zh) | 一种油漆生产用的高效自动除废气装置 | |
| CN215692672U (zh) | 一种废气治理和除尘环保设备 | |
| CN222324672U (zh) | 一种防结盐垢的空气处理装置 | |
| CN219744349U (zh) | 一种环保型烟尘净化器 | |
| CN221359178U (zh) | 一种旋流式水幕废气处理一体机 | |
| CN222752811U (zh) | 一种污泥处理用除尘装置 | |
| CN220546728U (zh) | 一种可实现废料分层的酸碱废气处理设备 | |
| CN222092886U (zh) | 一种pvc生产用复合引发剂添加除尘装置 | |
| CN219209443U (zh) | 一种石化废气处理设备 | |
| CN210874630U (zh) | 一种便于清洗的实验室用螺旋式粉尘处理装置 | |
| CN222723953U (zh) | 一种废气粉尘净化处理设备 | |
| CN221333411U (zh) | 一种切割机用吸烟除尘装置 |
Legal Events
| Date | Code | Title | Description |
|---|---|---|---|
| GR01 | Patent grant | ||
| GR01 | Patent grant |