CN216450242U - Query tool convenient for consulting economic data - Google Patents

Query tool convenient for consulting economic data Download PDF

Info

Publication number
CN216450242U
CN216450242U CN202122288961.5U CN202122288961U CN216450242U CN 216450242 U CN216450242 U CN 216450242U CN 202122288961 U CN202122288961 U CN 202122288961U CN 216450242 U CN216450242 U CN 216450242U
Authority
CN
China
Prior art keywords
groove
supporting plate
rotating shaft
worm
base
Prior art date
Legal status (The legal status is an assumption and is not a legal conclusion. Google has not performed a legal analysis and makes no representation as to the accuracy of the status listed.)
Expired - Fee Related
Application number
CN202122288961.5U
Other languages
Chinese (zh)
Inventor
李士森
甘秀娜
魏会贤
孙世洲
Current Assignee (The listed assignees may be inaccurate. Google has not performed a legal analysis and makes no representation or warranty as to the accuracy of the list.)
Shijiazhuang Institute of Railway Technology
Original Assignee
Shijiazhuang Institute of Railway Technology
Priority date (The priority date is an assumption and is not a legal conclusion. Google has not performed a legal analysis and makes no representation as to the accuracy of the date listed.)
Filing date
Publication date
Application filed by Shijiazhuang Institute of Railway Technology filed Critical Shijiazhuang Institute of Railway Technology
Priority to CN202122288961.5U priority Critical patent/CN216450242U/en
Application granted granted Critical
Publication of CN216450242U publication Critical patent/CN216450242U/en
Expired - Fee Related legal-status Critical Current
Anticipated expiration legal-status Critical

Links

Images

Landscapes

  • Toys (AREA)

Abstract

The utility model discloses an inquiry tool convenient for consulting economic data, and relates to the technical field of inquiry tools. The technical key points are as follows: the automatic clamping device comprises a base, the groove is formed in the base, the inner wall of the groove is provided with two connecting rods, a rotating shaft is arranged on the connecting rods in an inserted mode, the rotating shaft rotates with the connecting rods, the rotating shaft is fixedly connected with the base, a worm wheel is sleeved on one of the rotating shafts, the worm wheel is connected with the rotating shaft in a rotating mode, the worm wheel is fixedly connected with the connecting rods, a worm is meshed on one side of the worm wheel, a supporting plate is arranged on one side of the connecting rods, two connecting rods are hinged to two sides of the supporting plate, the supporting plate is hinged to a supporting rod, a sliding groove is formed in the groove, a sliding block is connected in the sliding groove, the supporting rod is far away from one side of the supporting plate, the supporting rod is hinged to the sliding block, a lead screw is arranged on the sliding block in an inserted mode, the lead screw is connected with the sliding block in a threaded mode, the lead screw is connected with the base in a rotating mode, a clamping mechanism is arranged on the supporting plate, and a driving mechanism is arranged on one side of the lead screw and the worm. The utility model can adjust the angle according to the requirement when the user uses the inquiry tool.

Description

Query tool convenient for consulting economic data
Technical Field
The utility model relates to the technical field of query tools, in particular to a query tool convenient for consulting economic data.
Background
With the rapid development of national economy in recent years in China, the economic level of China also reaches the top level of the world after the United states, and the influence of the national economy is also recognized by the world. Certainly, the economic level of China is developing without the leaders of the nation, and a plurality of economic scholars are researched. As is well known, the Chinese economy is a new economic paradigm with high originality created by Chinese according to a symmetrical logical thinking mode contained in the Chinese traditional culture, can effectively explain Chinese economic phenomena, guide Chinese economic development and become an economic theoretical system for establishing a perfect market economic system theoretical basis in China.
The above prior art solution has the following drawbacks: when a user inquires data, the user needs to put the inquiry tool on a table, but the existing inquiry tool can not adjust the angle according to the requirements of different users.
In the prior art, the application number is CN202020191824.2, which is named as a query tool convenient for consulting economic data; the belt is adopted to fix the inquiry tool, so that the inquiry tool is easy to draw traces and needs to be improved; application number is CN202020515135.2, and the name is an inquiry instrument of conveniently looking up economic data, adopts the last fixed surface of dampproofing bottom plate to be connected with the cabinet body, the dampproofing roof of last fixed surface of the cabinet body, the front of the cabinet body is rotated through the hinge and is connected with the cabinet door, and this kind of mode of adopting the filing cabinet to deposit inquiry instrument exists at the repeated labor, designs unreasonable problem.
SUMMERY OF THE UTILITY MODEL
Aiming at the defects in the prior art, the utility model aims to provide a query tool which is convenient for looking up economic data and can be adjusted according to the requirements of different users.
The above object of the present invention is achieved by the following technical solutions:
an inquiry tool convenient for consulting economic data comprises a base, wherein a groove is formed in the base, two connecting rods are symmetrically arranged on the inner wall of the groove, a rotating shaft is inserted in the connecting rods and is rotatably connected with the connecting rods, the rotating shaft is inserted in the inner wall of the groove and is fixedly connected with the base, a worm wheel is sleeved on one rotating shaft and is rotatably connected with the rotating shaft, the worm wheel is fixedly connected with the connecting rods, a worm is meshed on one side of the worm wheel and is rotatably connected with the base, a supporting plate is arranged on the side, away from the rotating shaft, of the connecting rods, the two connecting rods are respectively hinged with two sides of the supporting plate, a supporting rod is hinged to the bottom of the supporting plate, a sliding groove is formed in the groove, a sliding block is slidably connected in the sliding groove, and the side, away from the supporting plate, is hinged to the sliding block, the screw rod is inserted on the sliding block and is in threaded connection with the sliding block, the screw rod is rotationally connected with the base, the clamping mechanism is arranged on the supporting plate, and the driving mechanism is arranged on one side of the screw rod and one side of the worm.
Through adopting the above-mentioned technical scheme, rotate through the worm that sets up on the base, it rotates rather than the worm wheel of meshing to drive, it rotates round the pivot on the base rather than fixed connecting rod to drive through the worm wheel, make the connecting rod drive the articulated recess from the base in rise, rotate through setting up the lead screw, it slides in the spout to drive rather than threaded connection's slider, the slider drives articulated bracing piece and rotates, it rotates round the connecting rod to make the bracing piece drive the backup pad, through setting up the latch mechanism in the backup pad, fix the inquiry instrument, thereby can carry out angle modulation to the inquiry instrument in the backup pad, and then can adjust according to different users' demand.
Further, the clamping mechanism comprises a plurality of supporting pieces and a plurality of clamping pieces, the supporting pieces are fixedly connected with one end of the supporting plate and a plurality of clamping pieces are respectively inserted into the two side walls of the supporting plate, the clamping pieces are slidably connected with the supporting plate, a spring is sleeved on each clamping piece, one end of the spring is fixedly connected with the clamping pieces, and the other end of the spring is fixedly connected with the supporting plate.
Through adopting above-mentioned technical scheme, through setting up the support piece in the backup pad, can support it when the inquiry instrument is put in the backup pad, prevent that it from dropping, through setting up at backup pad both sides sliding connection's joint spare, pulling joint spare drives spring deformation, put the inquiry instrument back release holder in the backup pad, the spring resumes to drive joint spare centre gripping in the both sides of inquiry instrument, and then carry out the centre gripping to it and fix, improve stability, the size that can be with living inquiry instrument simultaneously is adjusted.
Furthermore, the driving mechanism comprises a first knob and a second knob, the first knob is sleeved on the worm and fixedly connected with the worm, the second knob is sleeved on the screw rod, and the second knob is fixedly connected with the screw rod.
Through adopting above-mentioned technical scheme, through setting up actuating mechanism for fixing the first knob on the worm and fixing the second knob on the lead screw to conveniently control worm and lead screw through first knob and second knob and rotate, and then the rising and the angle modulation of control backup pad facilitate the use.
Furthermore, the bottom of the base, the supporting plate, the supporting piece and the clamping piece are all provided with non-slip pads.
Through adopting above-mentioned technical scheme, through setting up the slipmat on the base, can increase the frictional force between base and the desktop when the base is placed on the desktop, through setting up the slipmat in the backup pad, can increase frictional force when the inquiry instrument is put in the backup pad, through setting up the slipmat on support piece and joint spare, can increase frictional force when carrying out the joint to the inquiry instrument and fixing, and then increase stability.
In summary, the utility model includes at least one of the following beneficial technical effects:
1. rotate through the worm that sets up on the base, it rotates rather than the worm wheel of meshing to drive, it rotates round the pivot on the base rather than fixed connecting rod to drive through the worm wheel, make the connecting rod drive the articulated recess from the base in and raise, rotate through setting up the lead screw, it slides in the spout to drive the slider rather than threaded connection, the slider drives articulated bracing piece and rotates, it rotates round the connecting rod to make the bracing piece drive the backup pad, through setting up the latch mechanism in the backup pad, fix the inquiry instrument, thereby can carry out angle modulation to the inquiry instrument in the backup pad, and then can adjust according to different users' demand.
2. Through setting up the support piece in the backup pad, can support it when the inquiry instrument is put in the backup pad, prevent that it from dropping, through setting up the joint spare at backup pad both sides sliding connection, pulling joint spare drives spring deformation, loosens the holder after putting the inquiry instrument in the backup pad, and the spring resumes to drive the both sides of joint spare centre gripping at the inquiry instrument, and then carries out the centre gripping to it and fix, improves stability, and the size that can live in the inquiry instrument simultaneously is adjusted.
Drawings
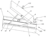
FIG. 1 is a schematic view of a first perspective structure of the present invention;
fig. 2 is a schematic view of a second viewing angle structure according to the present invention.
Reference numerals: 1. a base; 2. a groove; 3. a connecting rod; 4. a rotating shaft; 5. a worm gear; 6. a worm; 7. a support plate; 8. a chute; 9. a screw rod; 10. a slider; 11. a clamping mechanism; 111. a support member; 112. a clamping piece; 113. a spring; 12. a drive mechanism; 121. a first knob; 122. a second knob.
Detailed Description
The present invention will be described in further detail with reference to the accompanying drawings.
Example 1
As shown in figures 1 and 2 of the drawings,
an inquiry tool convenient for consulting economic data comprises a base 1, wherein a groove 2 is formed in the base 1, two connecting rods 3 are symmetrically arranged on the inner wall of the groove 2, a rotating shaft 4 is inserted in each connecting rod 3, each rotating shaft 4 is rotatably connected with the corresponding connecting rod 3, each rotating shaft 4 is inserted in the inner wall of the corresponding groove 2, each rotating shaft 4 is fixedly connected with the base 1, a worm wheel 5 is sleeved on one rotating shaft 4, each worm wheel 5 is rotatably connected with each rotating shaft 4, each worm wheel 5 is fixedly connected with the corresponding connecting rod 3, each worm wheel 5 is meshed with a worm 6, and each worm 6 is rotatably connected with the corresponding groove 2 in the base 1;
one end of each connecting rod 3, which is far away from the rotating shaft 4, is provided with a supporting plate 7, and the two connecting rods 3 are respectively hinged with the two sides of the supporting plate 7;
the bottom of the supporting plate 7 is hinged with a supporting rod;
a sliding groove 8 is formed in the groove 2, a sliding block 10 is connected in the sliding groove 8 in a sliding mode, one end, far away from the supporting rod 7, of the supporting rod is hinged to the sliding block 10, a lead screw 9 is inserted into the sliding block 10, the lead screw 9 is in threaded connection with the sliding block 10, the lead screw 9 is rotatably connected with the sliding groove 8, a clamping mechanism 11 is arranged on the supporting plate 7, and a driving mechanism 12 is arranged on one side of the lead screw 9 and one side of the worm 6.
The clamping mechanism 11 comprises a support piece 111 and a clamping piece 112, and the support piece 111 is fixedly connected with one end of the support plate 7; the clamping piece 112 is respectively inserted into two side faces of the supporting plate 7, the clamping piece 112 is connected with the supporting plate 7 in a sliding mode, the clamping piece 112 is sleeved with a spring 113, one end of the spring 113 is fixedly connected with the clamping piece 112, and the other end of the spring 113 is fixedly connected with the supporting plate 7.
The driving mechanism 12 includes a first knob 121 and a second knob 122, the first knob 121 is sleeved on the worm 6, the first knob 121 is fixedly connected with the worm 6, the second knob 122 is sleeved on the lead screw 9, and the second knob 122 is fixedly connected with the lead screw 9. The bottom of the base 1, the supporting plate 7, the supporting piece 111 and the clamping piece 112 are all provided with non-slip pads.
The working principle of the embodiment is as follows:
the first knob 121 of the driving mechanism 12 is rotated to drive the worm 6 to rotate, the worm 6 drives the worm wheel 5 meshed with the worm to rotate, the worm wheel 5 drives the connecting rod 3 fixed with the worm wheel 5 to rotate out of the groove 2 around the rotating shaft 4, then the clamping pieces 112 of the clamping mechanisms 11 on two sides of the supporting plate 7 are pulled towards two sides, the clamping pieces 112 drive the spring 113 to deform, the query device is placed on the supporting plate 7, and the bottom of the query tool is lapped with the supporting piece 111 to prevent slipping; the clamping piece 112 is loosened, and the spring 113 restores to drive the clamping piece 112 to abut against the two sides of the inquiry tool; the second knob 122 is rotated, the second knob 122 drives the screw rod 9 to rotate, the screw rod 9 drives the sliding block 10 in threaded connection with the screw rod to slide in the sliding groove 8, the hinged supporting rod on the sliding block 10 moves, the supporting rod drives the supporting plate 7 in hinged connection with the supporting rod to rotate around the connecting rod 3, and the angle of the query tool fixed by the supporting plate 7 and the clamping mechanism 11 is adjusted.
Example 2
The structure of the embodiment is basically the same as that of the embodiment 1, except that the supporting plate 7 is a nylon plate which has a large friction coefficient, so that the inquiry tool is not easy to move; the use of operators is convenient;
the working principle of this embodiment is the same as that of embodiment 1 and will not be described in detail.
Example 3
The structure of the present embodiment is substantially the same as that of embodiment 1, except that a motor is used to replace the first knob 121 and the second knob 122, and start and stop buttons are provided, such an arrangement employs the electric adjusting worm 6 and the screw rod 9, which has the advantages of rapidness and labor saving.
The working principle of the embodiment is the same as that of the embodiment 1, and the detailed description is omitted;
the embodiments of the present invention are preferred embodiments of the present invention, and the scope of the present invention is not limited by these embodiments, so: all equivalent changes made according to the structure, shape and principle of the utility model should be covered within the protection scope of the utility model.

Claims (4)

1. An inquiry tool convenient for consulting economic data comprises a base (1), and is characterized in that: the base (1) is provided with a groove (2), the inner wall of the groove (2) is symmetrically provided with two connecting rods (3), a rotating shaft (4) is inserted into each connecting rod (3), the rotating shaft (4) is rotatably connected with the corresponding connecting rod (3), the rotating shaft (4) is inserted into the inner wall of the groove (2), the rotating shaft (4) is rotatably connected with the inner wall of the groove (2), one rotating shaft (4) is sleeved with a worm wheel (5), the worm wheel (5) is rotatably connected with the rotating shaft (4), and the connecting rods (3) are fixedly connected with the worm wheels (5); the worm wheel (5) is meshed with a worm (6), the worm (6) is rotatably connected with the bottom of a groove (2) of the base (1), the connecting rod (3) is far away from one end of the rotating shaft (4) and is provided with a supporting plate (7), the connecting rod (3) is respectively hinged with the two sides of the supporting plate (7), the bottom of the supporting plate (7) is hinged with a supporting rod, a sliding groove (8) is formed in the groove (2), a sliding block (10) is connected in the sliding groove (8), one end, far away from the supporting plate (7), of the supporting rod is hinged with the sliding block (10), a lead screw (9) is arranged on the sliding block (10), the lead screw (9) is in threaded connection with the sliding block (10), the lead screw (9) is rotatably connected with the two ends of the sliding groove (8), and a clamping mechanism (11) is arranged on the supporting plate (7), and one end of the screw rod (9) and one end of the worm (6) are provided with driving mechanisms (12).
2. A query tool for facilitating the review of economic data as claimed in claim 1, further comprising: clamping mechanism (11) include support piece (111) and joint spare (112), backup pad (7) one end with support piece (111) fixed connection, joint spare (112) are inserted respectively and are established backup pad (7) both sides, joint spare (112) with backup pad (7) sliding connection, the cover is equipped with spring (113) on joint spare (112), spring (113) one end with joint spare (112) fixed connection, spring (113) the other end with backup pad (7) fixed connection.
3. A query tool for facilitating the review of economic data as claimed in claim 1, further comprising: the driving mechanism (12) comprises a first knob (121) and a second knob (122), the first knob (121) is sleeved on the worm (6), and the second knob (122) is sleeved on the screw rod (9).
4. A query tool for facilitating the review of economic data as claimed in claim 2, further comprising: the bottom of the base (1), the supporting plate (7), the supporting piece (111) and the clamping piece (112) are all provided with non-slip pads.
CN202122288961.5U 2021-09-22 2021-09-22 Query tool convenient for consulting economic data Expired - Fee Related CN216450242U (en)

Priority Applications (1)

Application Number Priority Date Filing Date Title
CN202122288961.5U CN216450242U (en) 2021-09-22 2021-09-22 Query tool convenient for consulting economic data

Applications Claiming Priority (1)

Application Number Priority Date Filing Date Title
CN202122288961.5U CN216450242U (en) 2021-09-22 2021-09-22 Query tool convenient for consulting economic data

Publications (1)

Publication Number Publication Date
CN216450242U true CN216450242U (en) 2022-05-06

Family

ID=81349511

Family Applications (1)

Application Number Title Priority Date Filing Date
CN202122288961.5U Expired - Fee Related CN216450242U (en) 2021-09-22 2021-09-22 Query tool convenient for consulting economic data

Country Status (1)

Country Link
CN (1) CN216450242U (en)

Similar Documents

Publication Publication Date Title
CN216450242U (en) Query tool convenient for consulting economic data
CN219019241U (en) Main cabinet convenient for dust removal
CN118394180A (en) Intelligent touch pen interaction tablet computer
CN217390206U (en) A new type of intelligent office conference table
CN216046979U (en) High school student's portable eyeshield desk lamp
CN215125617U (en) A height-adjustable construction cost consulting platform
CN215204228U (en) A drawing device for environmental art design
CN215764083U (en) Auxiliary device is used in computer picture and text design convenient to adjust
CN211511010U (en) Official working filing cabinet convenient to receive and release
CN215303558U (en) Multifunctional electronic information engineering communication equipment
CN221830245U (en) Embedded retractable file management cabinet
CN216059617U (en) Multi-functional english learning device
CN213333316U (en) Portable computer's convenient support device
CN220571741U (en) Extensible office furniture
CN213487702U (en) Engineering management data placer
CN219916377U (en) Face recognition all-in-one machine
CN214873786U (en) Gastroenterology is pressed from both sides with multi-functional nursing
CN217510200U (en) A model display stand based on interior design
CN219678730U (en) Light control console convenient for taking and placing articles
CN210478268U (en) Rotatable copyboard strutting arrangement
CN222117479U (en) Data storage device for computer
CN213940011U (en) Financial accounting is with workstation of functional partitioning
CN215382265U (en) Novel test bench for electronic information engineering
CN115042550B (en) A portable teaching aid device for advanced mathematics
CN222382858U (en) A kind of architectural design drawing box

Legal Events

Date Code Title Description
GR01 Patent grant
GR01 Patent grant
CF01 Termination of patent right due to non-payment of annual fee

Granted publication date: 20220506

CF01 Termination of patent right due to non-payment of annual fee