CN216446451U - 一种基于自动化的高效房屋装修用贴瓷砖铺设用铁架 - Google Patents
一种基于自动化的高效房屋装修用贴瓷砖铺设用铁架 Download PDFInfo
- Publication number
- CN216446451U CN216446451U CN202123382238.XU CN202123382238U CN216446451U CN 216446451 U CN216446451 U CN 216446451U CN 202123382238 U CN202123382238 U CN 202123382238U CN 216446451 U CN216446451 U CN 216446451U
- Authority
- CN
- China
- Prior art keywords
- frame
- plate
- tiling
- house decoration
- frame plate
- Prior art date
- Legal status (The legal status is an assumption and is not a legal conclusion. Google has not performed a legal analysis and makes no representation as to the accuracy of the status listed.)
- Expired - Fee Related
Links
- XEEYBQQBJWHFJM-UHFFFAOYSA-N Iron Chemical compound [Fe] XEEYBQQBJWHFJM-UHFFFAOYSA-N 0.000 title claims abstract description 36
- 238000005034 decoration Methods 0.000 title claims abstract description 18
- 229910052742 iron Inorganic materials 0.000 title claims abstract description 18
- XLYOFNOQVPJJNP-UHFFFAOYSA-N water Substances O XLYOFNOQVPJJNP-UHFFFAOYSA-N 0.000 claims abstract description 45
- 239000000725 suspension Substances 0.000 claims description 7
- 238000000034 method Methods 0.000 abstract description 20
- 230000008569 process Effects 0.000 abstract description 20
- 239000000919 ceramic Substances 0.000 abstract description 18
- 238000010276 construction Methods 0.000 abstract description 5
- 239000004568 cement Substances 0.000 description 14
- 238000009434 installation Methods 0.000 description 6
- 239000002002 slurry Substances 0.000 description 5
- 239000000203 mixture Substances 0.000 description 2
- 230000004048 modification Effects 0.000 description 2
- 238000012986 modification Methods 0.000 description 2
- 230000009286 beneficial effect Effects 0.000 description 1
- 230000002146 bilateral effect Effects 0.000 description 1
- 239000010882 bottom ash Substances 0.000 description 1
- 230000006872 improvement Effects 0.000 description 1
- 230000007306 turnover Effects 0.000 description 1
Images
Landscapes
- Road Paving Structures (AREA)
Abstract
本实用新型公开了一种基于自动化的高效房屋装修用贴瓷砖铺设用铁架,包括移动架、水桶架和工具箱,所述移动架包括L形架板和安装座,所述安装座安装在L形架板的侧面,且安装座与L形架板固定连接,所述水桶架设置在安装座上,且水桶架与安装座转动连接,所述工具箱安装在L形架板的上端面,且工具箱与L形架板固定连接,保证使用者需要使用的时候可以稳定的通过L形架板来安装工具箱来使用,方便使用者可以通过工具箱来进行存放施工工具,同时通过移动轮的设置来保证使用者可以灵活的移动设备设备来使用,而且通过橡胶圈的设置来保证移动轮不会直接与瓷砖进行接触,避免移动过程中出现对瓷砖破坏的情况。
Description
技术领域
本实用新型涉及瓷砖铺设用辅助设备技术领域,具体为一种基于自动化的高效房屋装修用贴瓷砖铺设用铁架。
背景技术
贴瓷砖是家庭装修必备的过程,往往可以分为墙面贴砖和地面贴砖,而墙面陶瓷砖粘贴是瓦工在家庭装修工程中主要从事的技术工作之一,墙面陶瓷砖规范的粘贴顺序为:基层清扫处理→抹底子灰→选砖→浸泡→排砖→弹线→粘贴标准点→粘贴瓷砖→勾缝→擦缝→清理,而贴砖的时候往往需要在水桶的内部进行搅拌好相应的泥浆来进行使用。
本实用新型的发明人发现,现有的瓷砖铺贴过程中水泥桶都是使用现场进行搅拌后进行携带,这样在张贴过程中往往需要将水泥桶摆放在瓷砖上进行移动,这样在使用过程中容易对瓷砖表面造成损伤,同时传统的瓷砖铺贴所使用的水泥桶不同使用灵活的进行取用泥浆,操作起来不够灵活。
实用新型内容
本实用新型的目的在于提供一种基于自动化的高效房屋装修用贴瓷砖铺设用铁架,旨在改善现有的瓷砖铺贴过程中水泥桶都是使用现场进行搅拌后进行携带,这样在张贴过程中往往需要将水泥桶摆放在瓷砖上进行移动,这样在使用过程中容易对瓷砖表面造成损伤,同时传统的瓷砖铺贴所使用的水泥桶不同使用灵活的进行取用泥浆,操作起来不够灵活的问题。
本实用新型是这样实现的:
一种基于自动化的高效房屋装修用贴瓷砖铺设用铁架,包括移动架、水桶架和工具箱,所述移动架包括L形架板和安装座,所述安装座安装在L形架板的侧面,且安装座与L形架板固定连接,所述水桶架设置在安装座上,且水桶架与安装座转动连接,所述工具箱安装在L形架板的上端面,且工具箱与L形架板固定连接,解决了现有的瓷砖铺贴过程中水泥桶都是使用现场进行搅拌后进行携带,这样在张贴过程中往往需要将水泥桶摆放在瓷砖上进行移动,这样在使用过程中容易对瓷砖表面造成损伤,同时传统的瓷砖铺贴所使用的水泥桶不同使用灵活的进行取用泥浆,操作起来不够灵活的问题。
进一步的,所述水桶架包括顶框和托架,所述托架安装在顶框的下端面,且托架与顶框固定连接,通过对水桶架的结构设置来保证使用者可以稳定的通过顶框来安装托架,方便使用者可以通过顶框和托架来支撑摆放水桶的目的。
进一步的,所述顶框包括环形框和侧板,所述环形框的侧面还固定安装有拨杆,所述侧板设置在环形框的侧面,且侧板与环形框固定连接,通过对顶框的结构设置来保证使用者可以稳定的通过环形框来限位水桶来使用,同时通过对侧板的设置来稳定的安装立架。
进一步的,所述环形框的上端面还设置有立架,所述立架与环形框垂直固定连接,且立架的头部还固定安装有水管架,通过对立架和水管架的设置来保证对水管进行夹持固定,保证水管可以稳定的进行供水使用。
进一步的,所述托架包括底板和悬挂杆,所述悬挂杆对称设置在底板的两端,且悬挂杆与底板固定连接,通过对托架的结构设置来保证使用者可以稳定的通过悬挂杆来安装底板,方便使用者可以通过底板来摆放水桶。
进一步的,所述L形架板的两侧对称设置有移动轮,所述移动轮与L形架板转动连接,且移动轮的外侧面上套设有橡胶圈,通过对移动轮和橡胶圈的设置来方便设备可以安全的在次装上进行灵活移动。
与现有技术相比,本实用新型的有益效果是:本实用新型通过对传统的瓷砖铺贴所使用的工具和施工过程加以研究,设计出一种基于自动化的高效房屋装修用贴瓷砖铺设用铁架,保证使用者需要使用的时候可以稳定的通过L形架板来安装工具箱来使用,方便使用者可以通过工具箱来进行存放施工工具,同时通过移动轮的设置来保证使用者可以灵活的移动设备设备来使用,而且通过橡胶圈的设置来保证移动轮不会直接与瓷砖进行接触,避免移动过程中出现对瓷砖破坏的情况,同时通过在L形架板的侧面安装安装座来方便使用者通过安装座来安装水桶架,保证使用者可以将存放泥浆的水桶放置在托架上,并且通过环形框来进行限位,保证使用者通过可以移动架来灵活带动水桶架进行移动,而且使用者还可以在移动架上进行混合泥浆,使用者可以将水管稳定的夹持在水管架上,保证水管可以稳定的给水桶进行供水使用,当使用者需要泥浆的时候就可以手持拨杆来将水桶翻转,方便使用者轻松进行取出泥浆的目的。
附图说明
为了更清楚地说明本实用新型实施方式的技术方案,下面将对实施方式中所需要使用的附图作简单地介绍,应当理解,以下附图仅示出了本实用新型的某些实施例,因此不应被看作是对范围的限定,对于本领域普通技术人员来讲,在不付出创造性劳动的前提下,还可以根据这些附图获得其他相关的附图。
图1是本实用新型装置的立体图;
图2是图1所示装置的正视图;
图3是图1所示装置的右视图;
图4是图1所示装置的俯视图。
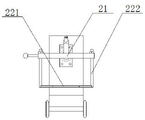
图中:1、移动架;11、L形架板;111、移动轮;112、橡胶圈;12、安装座;2、水桶架;21、顶框;210、拨杆;211、环形框;212、侧板;213、立架;214、水管架;22、托架;221、底板;222、悬挂杆;3、工具箱。
具体实施方式
为使本实用新型实施方式的目的、技术方案和优点更加清楚,下面将结合本实用新型实施方式中的附图,对本实用新型实施方式中的技术方案进行清楚、完整地描述,显然,所描述的实施方式是本实用新型一部分实施方式,而不是全部的实施方式。基于本实用新型中的实施方式,本领域普通技术人员在没有作出创造性劳动前提下所获得的所有其他实施方式,都属于本实用新型保护的范围。因此,以下对在附图中提供的本实用新型的实施方式的详细描述并非旨在限制要求保护的本实用新型的范围,而是仅仅表示本实用新型的选定实施方式。
参照图1、图2、图3和图4所示,一种基于自动化的高效房屋装修用贴瓷砖铺设用铁架,包括移动架1、水桶架2和工具箱3,移动架1包括L形架板11和安装座12,安装座12安装在L形架板11的侧面,且安装座12与L形架板11固定连接,通过对传统的瓷砖铺贴所使用的工具和施工过程加以研究,设计出一种基于自动化的高效房屋装修用贴瓷砖铺设用铁架,保证使用者需要使用的时候可以稳定的通过L形架板11来安装工具箱3来使用,方便使用者可以通过工具箱3来进行存放施工工具,同时通过移动轮111的设置来保证使用者可以灵活的移动设备设备来使用,而且通过橡胶圈112的设置来保证移动轮111不会直接与瓷砖进行接触,避免移动过程中出现对瓷砖破坏的情况,同时通过在L形架板11的侧面安装安装座12来方便使用者通过安装座12来安装水桶架2,保证使用者可以将存放泥浆的水桶放置在托架22上,并且通过环形框211来进行限位,保证使用者通过可以移动架1来灵活带动水桶架2进行移动,而且使用者还可以在移动架1上进行混合泥浆,使用者可以将水管稳定的夹持在水管架214上,保证水管可以稳定的给水桶进行供水使用,当使用者需要泥浆的时候就可以手持拨杆210来将水桶翻转,方便使用者轻松进行取出泥浆的目的,有效的解决了现有的瓷砖铺贴过程中水泥桶都是使用现场进行搅拌后进行携带,这样在张贴过程中往往需要将水泥桶摆放在瓷砖上进行移动,这样在使用过程中容易对瓷砖表面造成损伤,同时传统的瓷砖铺贴所使用的水泥桶不同使用灵活的进行取用泥浆,操作起来不够灵活的问题,L形架板11的两侧对称设置有移动轮111,移动轮111与L形架板11转动连接,且移动轮111的外侧面上套设有橡胶圈112,通过对移动轮111和橡胶圈112的设置来方便设备可以安全的在次装上进行灵活移动;
水桶架2设置在安装座12上,且水桶架2与安装座12转动连接,水桶架2包括顶框21和托架22,托架22安装在顶框21的下端面,且托架22与顶框21固定连接,通过对水桶架2的结构设置来保证使用者可以稳定的通过顶框21来安装托架22,方便使用者可以通过顶框21和托架22来支撑摆放水桶的目的,顶框21包括环形框211和侧板212,环形框211的侧面还固定安装有拨杆210,侧板212设置在环形框211的侧面,且侧板212与环形框211固定连接,通过对顶框21的结构设置来保证使用者可以稳定的通过环形框211来限位水桶来使用,同时通过对侧板212的设置来稳定的安装立架213,环形框211的上端面还设置有立架213,立架213与环形框211垂直固定连接,且立架213的头部还固定安装有水管架214,通过对立架213和水管架214的设置来保证对水管进行夹持固定,保证水管可以稳定的进行供水使用;
托架22包括底板221和悬挂杆222,悬挂杆222对称设置在底板221的两端,且悬挂杆222与底板221固定连接,通过对托架22的结构设置来保证使用者可以稳定的通过悬挂杆222来安装底板221,方便使用者可以通过底板221来摆放水桶,工具箱3安装在L形架板11的上端面,且工具箱3与L形架板11固定连接。
通过上述设计得到的装置已基本能满足一种基于自动化的高效房屋装修用贴瓷砖铺设用铁架的使用,但本着进一步完善其功能的宗旨,设计者对该装置进行了进一步的改良。
以上所述仅为本实用新型的优选实施方式而已,并不用于限制本实用新型,对于本领域的技术人员来说,本实用新型可以有各种更改和变化。凡在本实用新型的精神和原则之内,所作的任何修改、等同替换、改进等,均应包含在本实用新型的保护范围之内。
Claims (6)
1.一种基于自动化的高效房屋装修用贴瓷砖铺设用铁架,包括移动架(1)、水桶架(2)和工具箱(3),其特征在于:所述移动架(1)包括L形架板(11)和安装座(12),所述安装座(12)安装在L形架板(11)的侧面,且安装座(12)与L形架板(11)固定连接,所述水桶架(2)设置在安装座(12)上,且水桶架(2)与安装座(12)转动连接,所述工具箱(3)安装在L形架板(11)的上端面,且工具箱(3)与L形架板(11)固定连接。
2.根据权利要求1所述的一种基于自动化的高效房屋装修用贴瓷砖铺设用铁架,其特征在于,所述水桶架(2)包括顶框(21)和托架(22),所述托架(22)安装在顶框(21)的下端面,且托架(22)与顶框(21)固定连接。
3.根据权利要求2所述的一种基于自动化的高效房屋装修用贴瓷砖铺设用铁架,其特征在于,所述顶框(21)包括环形框(211)和侧板(212),所述环形框(211)的侧面还固定安装有拨杆(210),所述侧板(212)设置在环形框(211)的侧面,且侧板(212)与环形框(211)固定连接。
4.根据权利要求3所述的一种基于自动化的高效房屋装修用贴瓷砖铺设用铁架,其特征在于,所述环形框(211)的上端面还设置有立架(213),所述立架(213)与环形框(211)垂直固定连接,且立架(213)的头部还固定安装有水管架(214)。
5.根据权利要求4所述的一种基于自动化的高效房屋装修用贴瓷砖铺设用铁架,其特征在于,所述托架(22)包括底板(221)和悬挂杆(222),所述悬挂杆(222)对称设置在底板(221)的两端,且悬挂杆(222)与底板(221)固定连接。
6.根据权利要求5所述的一种基于自动化的高效房屋装修用贴瓷砖铺设用铁架,其特征在于,所述L形架板(11)的两侧对称设置有移动轮(111),所述移动轮(111)与L形架板(11)转动连接,且移动轮(111)的外侧面上套设有橡胶圈(112)。
Priority Applications (1)
| Application Number | Priority Date | Filing Date | Title |
|---|---|---|---|
| CN202123382238.XU CN216446451U (zh) | 2021-12-30 | 2021-12-30 | 一种基于自动化的高效房屋装修用贴瓷砖铺设用铁架 |
Applications Claiming Priority (1)
| Application Number | Priority Date | Filing Date | Title |
|---|---|---|---|
| CN202123382238.XU CN216446451U (zh) | 2021-12-30 | 2021-12-30 | 一种基于自动化的高效房屋装修用贴瓷砖铺设用铁架 |
Publications (1)
| Publication Number | Publication Date |
|---|---|
| CN216446451U true CN216446451U (zh) | 2022-05-06 |
Family
ID=81377952
Family Applications (1)
| Application Number | Title | Priority Date | Filing Date |
|---|---|---|---|
| CN202123382238.XU Expired - Fee Related CN216446451U (zh) | 2021-12-30 | 2021-12-30 | 一种基于自动化的高效房屋装修用贴瓷砖铺设用铁架 |
Country Status (1)
| Country | Link |
|---|---|
| CN (1) | CN216446451U (zh) |
-
2021
- 2021-12-30 CN CN202123382238.XU patent/CN216446451U/zh not_active Expired - Fee Related
Similar Documents
| Publication | Publication Date | Title |
|---|---|---|
| CN210395317U (zh) | 一种地下连续墙墙头快速破除结构 | |
| CN216446451U (zh) | 一种基于自动化的高效房屋装修用贴瓷砖铺设用铁架 | |
| CN210182938U (zh) | 一种电力电缆架设用固定夹持装置 | |
| CN211850943U (zh) | 一种建筑施工用防尘网铺设装置 | |
| CN217776425U (zh) | 一种等离子抛光去毛刺自动翻转设备 | |
| CN101832018B (zh) | 地砖安装机 | |
| CN215120003U (zh) | 一种供配电工程施工用的电缆安装调节架 | |
| CN213622895U (zh) | 一种大直径钢筋混凝土管吊具 | |
| CN217869861U (zh) | 一种建筑装修用人工智能型铺砖机 | |
| CN217869860U (zh) | 一种快速安装路沿石的装置 | |
| CN214743746U (zh) | 一种水利水电施工用支撑架 | |
| CN214465154U (zh) | 一种用于供水机组水泵底座临时定位安装装置 | |
| CN211285299U (zh) | 一种桥梁施工用防护支架 | |
| CN202620807U (zh) | 碳化硅沉淀池挖掘站台 | |
| CN216542352U (zh) | 一种硬式透水管用成品毛刺去除装置 | |
| CN215716990U (zh) | 一种居民楼建筑施工用贴砖辅助装置 | |
| CN210164264U (zh) | 一种大型埋件后置施工用的固定装置 | |
| CN213105108U (zh) | 一种手持便携式激光打标机 | |
| CN217602000U (zh) | 一种铺设地面砖的机械手 | |
| CN219471472U (zh) | 一种贴地砖设备 | |
| CN216843386U (zh) | 一种城镇燃气工程的压力管道铺设装置 | |
| CN214216508U (zh) | 一种便移式办公室装修工程涂料桶用支撑装置 | |
| CN221348232U (zh) | 一种水电安装用吊运装置 | |
| CN215445309U (zh) | 一种用于市政给水管道的管道安装支撑装置 | |
| CN217583832U (zh) | 一种机电工程设备安装定位装置 |
Legal Events
| Date | Code | Title | Description |
|---|---|---|---|
| GR01 | Patent grant | ||
| GR01 | Patent grant | ||
| CF01 | Termination of patent right due to non-payment of annual fee |
Granted publication date: 20220506 |
|
| CF01 | Termination of patent right due to non-payment of annual fee |