CN216437750U - Power electronic components safety device - Google Patents

Power electronic components safety device Download PDF

Info

Publication number
CN216437750U
CN216437750U CN202123135708.2U CN202123135708U CN216437750U CN 216437750 U CN216437750 U CN 216437750U CN 202123135708 U CN202123135708 U CN 202123135708U CN 216437750 U CN216437750 U CN 216437750U
Authority
CN
China
Prior art keywords
electronic components
box body
box
power electronic
fixedly installed
Prior art date
Legal status (The legal status is an assumption and is not a legal conclusion. Google has not performed a legal analysis and makes no representation as to the accuracy of the status listed.)
Expired - Fee Related
Application number
CN202123135708.2U
Other languages
Chinese (zh)
Inventor
李昊通
Current Assignee (The listed assignees may be inaccurate. Google has not performed a legal analysis and makes no representation or warranty as to the accuracy of the list.)
Shanghai Xiaoyi Technology Co Ltd
Original Assignee
Shanghai Xiaoyi Technology Co Ltd
Priority date (The priority date is an assumption and is not a legal conclusion. Google has not performed a legal analysis and makes no representation as to the accuracy of the date listed.)
Filing date
Publication date
Application filed by Shanghai Xiaoyi Technology Co Ltd filed Critical Shanghai Xiaoyi Technology Co Ltd
Priority to CN202123135708.2U priority Critical patent/CN216437750U/en
Application granted granted Critical
Publication of CN216437750U publication Critical patent/CN216437750U/en
Expired - Fee Related legal-status Critical Current
Anticipated expiration legal-status Critical

Links

Images

Landscapes

  • Cooling Or The Like Of Electrical Apparatus (AREA)
  • Casings For Electric Apparatus (AREA)

Abstract

本实用新型涉及电力电子设备技术领域,且公开了一种电力电子元器件安全防护装置,包括箱体、保护机构和散热室,所述散热室固定安装于箱体的右壁,保护机构设置于箱体的内部,保护机构包括安装板、支撑块。该电力电子元器件安全防护装置,通过在箱体的内部设置保护机构可对电子元件起到保护作用,当箱体受到来自外界的碰撞时,箱体会受到碰撞力的冲击,其安装板会由于震动影响,沿着光杆向下移动对缓冲弹簧进行下压,其缓冲弹簧产生缓冲弹力进行缓冲,缓解箱体受到的冲击力对电子元件的影响,从而达到对电子元件的保护作用,启动散热风扇可对箱体的内部进行散热,使电子元件能更加稳定工作,提高了电力电子元器件安全防护装置的实用性。

Figure 202123135708

The utility model relates to the technical field of power electronic equipment, and discloses a safety protection device for power electronic components, which comprises a box body, a protection mechanism and a heat dissipation chamber. The heat dissipation chamber is fixedly installed on the right wall of the box body, and the protection mechanism is arranged on the Inside the box, the protection mechanism includes a mounting plate and a support block. The safety protection device for power electronic components can protect the electronic components by arranging a protection mechanism inside the box body. When the box body is collided from the outside, the box body will be impacted by the impact force, and its mounting plate will be damaged. Due to the impact of vibration, the buffer spring is pressed down by moving down the polished rod, and the buffer spring generates a buffer elastic force to buffer, so as to alleviate the impact of the impact force on the box on the electronic components, so as to achieve the protection of the electronic components and start the heat dissipation. The fan can dissipate heat inside the box, so that the electronic components can work more stably, and the practicability of the safety protection device for power electronic components is improved.

Figure 202123135708

Description

Power electronic components safety device
Technical Field
The utility model relates to a power electronic equipment technical field specifically is a power electronic components safety device.
Background
The power electronic equipment which takes a power electronic device as a main functional element comprises a converter, an electronic switch and an electronic alternating current power controller, and the power electronic device can play an effective energy-saving role besides ensuring the normal operation of the electronic equipment. Along with the continuous development of science and technology, the kind of power electronic components is more and more, and the function is also stronger and stronger. The chassis of an electronic device is an important heat transfer link that accepts heat from the interior of the device and dissipates the heat to the surrounding environment. The design of the enclosure is particularly important in electronic devices that use natural heat dissipation and some enclosures.
The existing power electronic component safety protection shell is simple in internal structure, low in protection performance on electronic components and capable of being protected only through a single shell.
SUMMERY OF THE UTILITY MODEL
An object of the utility model is to provide a power electronic components safety device to solve the problem that proposes in the above-mentioned background art.
In order to achieve the above object, the utility model provides a following technical scheme: the utility model provides a power electronic components safety device, includes box, protection mechanism and heat dissipation room, heat dissipation room fixed mounting is in the right wall of box, protection mechanism sets up in the inside of box.
The protection mechanism comprises a mounting plate and a supporting block, heat dissipation holes are formed in the upper surface of the mounting plate, a sliding hole is formed in the plate body of the mounting plate, a polished rod is connected to the inside of the sliding hole in a sliding mode, a buffer spring is sleeved on the rod body of the polished rod, and the polished rod is fixedly mounted on the upper surface of the supporting block.
Preferably, the supporting block is fixedly provided with the inner wall of the box body, the top end of the polished rod is fixedly provided with a limiting block, the upper surface of the mounting plate is fixedly provided with an electronic element, the limiting block is arranged to prevent the polished rod from separating from the mounting plate, and the polished rod is arranged to limit the mounting plate.
Preferably, the air inlet has been seted up to the right wall of box, the right wall fixed mounting of box has dustproof filter screen, and the setting of dustproof filter screen can prevent when the heat dissipation, the phenomenon that the dust caused the interference to electronic component is avoided to the inside of the box that its dust got into.
Preferably, the opening has been seted up to the upper surface of heat dissipation chamber, the inside fixed mounting of opening has first protection otter board, the inside upper end fixed mounting of heat dissipation chamber has the mount, and the setting of first protection otter board can prevent that the foreign matter from entering into the inside of heat dissipation chamber, also plays the guard action to radiator fan simultaneously.
Preferably, a heat radiation fan is fixedly mounted inside the fixing frame, a dismounting opening is formed in the right wall of the heat radiation chamber, a side plate is fixedly mounted inside the dismounting opening, and the fixing frame can support and fix the heat radiation fan.
Preferably, the left wall of the box body is provided with ventilation openings, the second protection screen is fixedly mounted inside the ventilation openings, the number of the ventilation openings is three, the three ventilation openings are respectively arranged on the left wall of the box body at equal intervals, and the second protection screen is arranged to prevent foreign matters from entering the box body from the ventilation openings.
Preferably, the hinge is fixedly mounted on the front face of the box body, the box door is fixedly mounted at the other end of the hinge, the supporting legs are fixedly mounted at the bottom of the box body, and the supporting legs can be used for supporting and fixing the box body.
Compared with the prior art, the utility model provides a power electronic components safety device. The method has the following beneficial effects:
this power electronic components safety device, can play the guard action to electronic component through the inside protection machanism that sets up at the box, when the box receives the collision from the external world, the box can receive the impact of impact, its mounting panel can be because vibrations influence, move down buffer spring along the polished rod, its buffer spring produces buffering elasticity and cushions, the impact force that alleviates the box and receive is to electronic component's influence, thereby reach the guard action to electronic component, start radiator fan and can dispel the heat to the inside of box, make electronic component can more stable work, power electronic components safety device's practicality has been improved.
Drawings
The accompanying drawings are included to provide a further understanding of the invention, and are incorporated in and constitute a part of this specification, illustrate embodiments of the invention, and together with the description serve to explain the invention and not to limit the invention. In the drawings:
FIG. 1 is a schematic front view of the present invention;
FIG. 2 is a schematic sectional view of the present invention;
FIG. 3 is a schematic view of the protection mechanism of the present invention;
fig. 4 is a schematic view of the sectional structure of the heat dissipation chamber of the present invention.
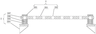
In the figure: 1. a box body; 2. a protection mechanism; 201. mounting a plate; 202. heat dissipation holes; 203. a limiting block; 204. a support block; 205. a buffer spring; 206. a polish rod; 207. a slide hole; 3. a heat dissipation chamber; 4. an air inlet; 5. a dustproof filter screen; 6. a fixed mount; 7. a first protective screen; 8. a heat radiation fan; 9. a side plate; 10. a vent; 11. a second protective screen; 12. an electronic component; 13. a box door; 14. support the feet.
Detailed Description
The technical solutions in the embodiments of the present invention will be described clearly and completely with reference to the accompanying drawings in the embodiments of the present invention, and it is obvious that the described embodiments are only some embodiments of the present invention, not all embodiments. Based on the embodiments in the present invention, all other embodiments obtained by a person skilled in the art without creative work belong to the protection scope of the present invention.
In the present invention, unless otherwise expressly stated or limited, the terms "mounted," "connected," and "fixed" are to be construed broadly and may, for example, be fixedly connected, detachably connected, or integrally formed; can be mechanically or electrically connected; either directly or indirectly through intervening media, either internally or in any other relationship. The specific meaning of the above terms in the present invention can be understood according to specific situations by those skilled in the art.
Referring to fig. 1-4, the present invention provides a technical solution: the utility model provides a power electronic components safety device, includes box 1, protection mechanism 2 and heat dissipation room 3, and 3 fixed mounting in the right wall of box 1 in the heat dissipation room, protection mechanism 2 set up in the inside of box 1.
The protection mechanism 2 comprises a mounting plate 201 and a supporting block 204, the upper surface of the mounting plate 201 is provided with heat dissipation holes 202, the plate body of the mounting plate 201 is provided with a slide hole 207, the inside of the slide hole 207 is slidably connected with a polish rod 206, the rod body of the polish rod 206 is sleeved with a buffer spring 205, and the polish rod 206 is fixedly mounted on the upper surface of the supporting block 204.
The inner wall of the box body 1 is fixedly installed on the supporting block 204, the limiting block 203 is fixedly installed at the top end of the polish rod 206, the electronic element 12 is fixedly installed on the upper surface of the mounting plate 201, the limiting block 203 is arranged to prevent the polish rod 206 from being separated from the mounting plate 201, the polish rod 206 is arranged to limit the mounting plate 201, the air inlet 4 is formed in the right wall of the box body 1, the dustproof filter screen 5 is fixedly installed on the right wall of the box body 1, the dustproof filter screen 5 is arranged to prevent dust from entering the interior of the box body 1 during heat dissipation and avoid interference of the dust on the electronic element 12, the upper surface of the heat dissipation chamber 3 is provided with an opening, a first protection screen plate 7 is fixedly installed in the opening, the fixing frame 6 is fixedly installed at the upper end in the heat dissipation chamber 3, foreign matters can be prevented from entering the interior of the heat dissipation chamber 3 by the first protection screen plate 7, and meanwhile, the heat dissipation fan 8 is protected, a heat radiation fan 8 is fixedly arranged in the fixing frame 6, a dismounting opening is arranged on the right wall of the heat radiation chamber 3, a side plate 9 is fixedly arranged in the dismounting opening, the fixing frame 6 can support and fix the heat radiation fan 8, a vent 10 is arranged on the left wall of the box body 1, a second protection screen plate 11 is fixedly arranged in the vent 10, the number of the vent 10 is three, the three vents 10 are respectively arranged on the left wall of the box body 1 at equal intervals, the second protection screen plate 11 is arranged to prevent foreign matters from entering the box body 1 from the vent 10, a hinge is fixedly arranged on the front surface of the box body 1, a box door 13 is fixedly arranged at the other end of the hinge, supporting legs 14 are fixedly arranged at the bottom of the box body 1, the supporting legs 14 can support and fix the box body 1, and the electronic element 12 can be protected by arranging the protection mechanism 2 in the box body 1, when box 1 receives the collision from the external world, box 1 can receive the impact of collision power, its mounting panel 201 can be because vibrations influence, move down buffer spring 205 along polished rod 206, its buffer spring 205 produces buffering elasticity and cushions, alleviate the impact force that box 1 received to electronic component 12's influence, thereby reach the guard action to electronic component 12, start radiator fan 8 and can dispel the heat to the inside of box 1, make electronic component 12 can more steady operation, the practicality that has improved power electronic components safety device.
In the actual operation process, when this device uses, can play the guard action to electronic component 12 through setting up protection machanism 2 in the inside of box 1, when box 1 receives the collision from the external world, box 1 can receive the impact of impact force, its mounting panel 201 can be because vibrations influence, move down buffer spring 205 along polished rod 206, its buffer spring 205 produces buffering elasticity and cushions, alleviate the impact force that box 1 received and to electronic component 12's influence, thereby reach the guard action to electronic component 12, start radiator fan 8 and can dispel the heat to the inside of box 1, make electronic component 12 can more steady operation, the practicality of power electronic components and parts safety device has been improved.
It is noted that, herein, relational terms such as first and second, and the like may be used solely to distinguish one entity or action from another entity or action without necessarily requiring or implying any actual such relationship or order between such entities or actions. Also, the terms "comprises," "comprising," or any other variation thereof, are intended to cover a non-exclusive inclusion, such that a process, method, article, or apparatus that comprises a list of elements does not include only those elements but may include other elements not expressly listed or inherent to such process, method, article, or apparatus. The term "comprising", without further limitation, means that the element so defined is not excluded from the group consisting of additional identical elements in the process, method, article, or apparatus that comprises the element.

Claims (7)

1.一种电力电子元器件安全防护装置,包括箱体(1)、保护机构(2)和散热室(3),其特征在于:所述散热室(3)固定安装于箱体(1)的右壁,所述保护机构(2)设置于箱体(1)的内部;1. A safety protection device for power electronic components, comprising a box body (1), a protection mechanism (2) and a heat dissipation chamber (3), characterized in that: the heat dissipation chamber (3) is fixedly mounted on the box body (1) the right wall, the protection mechanism (2) is arranged inside the box (1); 所述保护机构(2)包括安装板(201)、支撑块(204),所述安装板(201)的上表面开设有散热孔(202),所述安装板(201)的板体开设有滑孔(207),所述滑孔(207)的内部滑动连接有光杆(206),所述光杆(206)的杆体套接有缓冲弹簧(205),所述光杆(206)固定安装于支撑块(204)的上表面。The protection mechanism (2) comprises an installation plate (201) and a support block (204), a heat dissipation hole (202) is formed on the upper surface of the installation plate (201), and a plate body of the installation plate (201) is formed with A sliding hole (207), the interior of the sliding hole (207) is slidably connected with a polished rod (206), the rod body of the polished rod (206) is sleeved with a buffer spring (205), and the polished rod (206) is fixedly installed on the support Upper surface of block (204). 2.根据权利要求1所述的一种电力电子元器件安全防护装置,其特征在于:所述支撑块(204)固定安装有箱体(1)的内壁,所述光杆(206)的顶端固定安装有限位块(203),所述安装板(201)的上表面固定安装有电子元件(12)。2. A safety protection device for power electronic components according to claim 1, characterized in that: the support block (204) is fixedly installed with the inner wall of the box (1), and the top of the polished rod (206) is fixed A limiting block (203) is installed, and an electronic component (12) is fixedly installed on the upper surface of the installation plate (201). 3.根据权利要求1所述的一种电力电子元器件安全防护装置,其特征在于:所述箱体(1)的右壁开设有进风口(4),所述箱体(1)的右壁固定安装有防尘过滤网(5)。3. A safety protection device for power electronic components according to claim 1, characterized in that: the right wall of the box body (1) is provided with an air inlet (4), and the right wall of the box body (1) is provided with an air inlet (4). A dust filter (5) is fixedly mounted on the wall. 4.根据权利要求1所述的一种电力电子元器件安全防护装置,其特征在于:所述散热室(3)的上表面开设有通口,所述通口的内部固定安装有第一防护网板(7),所述散热室(3)的内部上端固定安装有固定架(6)。4. A safety protection device for power electronic components according to claim 1, characterized in that: a through opening is opened on the upper surface of the heat dissipation chamber (3), and a first protection device is fixedly installed inside the through opening. A screen plate (7), a fixing frame (6) is fixedly installed on the inner upper end of the heat dissipation chamber (3). 5.根据权利要求4所述的一种电力电子元器件安全防护装置,其特征在于:所述固定架(6)的内部固定安装有散热风扇(8),所述散热室(3)的右壁开设有拆卸口,所述拆卸口的内部固定安装有侧板(9)。5. A safety protection device for power electronic components according to claim 4, characterized in that: a cooling fan (8) is fixedly installed inside the fixing frame (6), and a right side of the cooling chamber (3) is installed. The wall is provided with a disassembly opening, and a side plate (9) is fixedly installed inside the disassembly opening. 6.根据权利要求1所述的一种电力电子元器件安全防护装置,其特征在于:所述箱体(1)的左壁开设有通风口(10),所述通风口(10)的内部固定安装有第二防护网板(11),所述通风口(10)的数量为三个,其三个所述通风口(10)分别等距离开设在箱体(1)的左壁。6 . The safety protection device for power electronic components according to claim 1 , wherein the left wall of the box body ( 1 ) is provided with a vent ( 10 ), and the interior of the vent ( 10 ) is provided with a vent ( 10 ). A second protective mesh plate (11) is fixedly installed, the number of the ventilation openings (10) is three, and the three ventilation openings (10) are respectively opened at the left wall of the box body (1) at equal distances. 7.根据权利要求1所述的一种电力电子元器件安全防护装置,其特征在于:所述箱体(1)的正面固定安装有合页,所述合页的另一端固定安装有箱门(13),所述箱体(1)的底部固定安装有支撑脚(14)。7. A safety protection device for power electronic components according to claim 1, characterized in that a hinge is fixedly installed on the front of the box (1), and a box door is fixedly installed at the other end of the hinge (13), supporting feet (14) are fixedly installed on the bottom of the box body (1).
CN202123135708.2U 2021-12-13 2021-12-13 Power electronic components safety device Expired - Fee Related CN216437750U (en)

Priority Applications (1)

Application Number Priority Date Filing Date Title
CN202123135708.2U CN216437750U (en) 2021-12-13 2021-12-13 Power electronic components safety device

Applications Claiming Priority (1)

Application Number Priority Date Filing Date Title
CN202123135708.2U CN216437750U (en) 2021-12-13 2021-12-13 Power electronic components safety device

Publications (1)

Publication Number Publication Date
CN216437750U true CN216437750U (en) 2022-05-03

Family

ID=81316688

Family Applications (1)

Application Number Title Priority Date Filing Date
CN202123135708.2U Expired - Fee Related CN216437750U (en) 2021-12-13 2021-12-13 Power electronic components safety device

Country Status (1)

Country Link
CN (1) CN216437750U (en)

Similar Documents

Publication Publication Date Title
CN211044109U (en) Microcomputer for intelligent manufacturing equipment
CN216437750U (en) Power electronic components safety device
CN117032403A (en) Dustproof case of computer
CN114942680B (en) Movable automatic heat-dissipating dust-removing device for desk computer host
CN112253540A (en) A shock attenuation dust cover for fan
CN208175159U (en) A kind of equipment installs case of the electronic communication with damping effect
CN108874076A (en) A kind of computer cooling cabinet
CN207663359U (en) A kind of computer hardware fixed structure
CN212648838U (en) Movable intelligent central control system control cabinet
CN209708059U (en) A kind of vehicle-mounted vibration-resistant main frame
CN219625951U (en) Shock-resistant chassis
CN211149353U (en) Computer host power supply shell with anti-seismic function
CN220733260U (en) Communication rack heat dissipation dust collector
CN110994414A (en) An industrial enterprise mechatronics power distribution cabinet protection device
CN217486846U (en) Inverter power supply with anti-interference performance
CN217902377U (en) Computer server support
CN211828858U (en) Lithium battery mounting bracket
CN212515589U (en) Mounting structure of mainboard subassembly
CN216600421U (en) Electric automatization control box
CN222838395U (en) Shockproof type mounting structure of internal device for computer
CN219181958U (en) Heat dissipation type embedded industrial personal computer housing
CN218848694U (en) Dustproof installation box for computer hardware
CN222214963U (en) A modular power supply box
CN211126701U (en) Multi-frequency-multiplication power supply generator with shock absorption function
CN110864803A (en) Noise detection device and noise detection method

Legal Events

Date Code Title Description
GR01 Patent grant
GR01 Patent grant
CF01 Termination of patent right due to non-payment of annual fee

Granted publication date: 20220503

CF01 Termination of patent right due to non-payment of annual fee