CN216419379U - Reation kettle with self-cleaning function - Google Patents

Reation kettle with self-cleaning function Download PDF

Info

Publication number
CN216419379U
CN216419379U CN202122663109.1U CN202122663109U CN216419379U CN 216419379 U CN216419379 U CN 216419379U CN 202122663109 U CN202122663109 U CN 202122663109U CN 216419379 U CN216419379 U CN 216419379U
Authority
CN
China
Prior art keywords
reaction kettle
main body
wall
self
gear
Prior art date
Legal status (The legal status is an assumption and is not a legal conclusion. Google has not performed a legal analysis and makes no representation as to the accuracy of the status listed.)
Expired - Fee Related
Application number
CN202122663109.1U
Other languages
Chinese (zh)
Inventor
张宇睦
石岩
张忠正
Current Assignee (The listed assignees may be inaccurate. Google has not performed a legal analysis and makes no representation or warranty as to the accuracy of the list.)
Shandong Wanfeng Chemical Equipment Technology Co ltd
Original Assignee
Shandong Wanfeng Chemical Equipment Technology Co ltd
Priority date (The priority date is an assumption and is not a legal conclusion. Google has not performed a legal analysis and makes no representation as to the accuracy of the date listed.)
Filing date
Publication date
Application filed by Shandong Wanfeng Chemical Equipment Technology Co ltd filed Critical Shandong Wanfeng Chemical Equipment Technology Co ltd
Priority to CN202122663109.1U priority Critical patent/CN216419379U/en
Application granted granted Critical
Publication of CN216419379U publication Critical patent/CN216419379U/en
Expired - Fee Related legal-status Critical Current
Anticipated expiration legal-status Critical

Links

Images

Landscapes

  • Mixers Of The Rotary Stirring Type (AREA)
  • Accessories For Mixers (AREA)

Abstract

本实用新型公开了一种具有自清洁功能的反应釜,具体涉及反应釜技术领域,目前的反应釜在使用后,内壁上容易附着较多残留物,清洗时需要将反应釜拆开,较为麻烦,包括反应釜主体,反应釜主体的上表面一侧开设有进料口,反应釜主体的一侧开设有出料口,反应釜主体的上表面固接有保护罩,保护罩的内部设置有调速组件,反应釜主体的内部设置有搅拌组件,通过设置搅拌组件,搅拌杆可以便于加速原材料的混合,提高了工作效率,第一刮板和第二刮板可以在搅拌的过程中,刮去反应釜主体内壁上附着的残留物,便于清洗反应釜主体的内壁,通过设置调速组件,可以便于调节搅拌杆的转速,便于适用混合不同的原材料,提高了装置的适用范围。

Figure 202122663109

The utility model discloses a reaction kettle with a self-cleaning function, in particular to the technical field of reaction kettles. After the current reaction kettle is used, many residues are easily attached to the inner wall, and the reaction kettle needs to be disassembled during cleaning, which is troublesome. , including the main body of the reaction kettle, the upper surface of the main body of the reaction kettle is provided with a feed port, the side of the main body of the reaction kettle is provided with a discharge port, the upper surface of the main body of the reaction kettle is fixed with a protective cover, and the interior of the protective cover is provided with Speed regulation component, the inside of the main body of the reaction kettle is provided with a stirring component. By setting the stirring component, the stirring rod can facilitate the mixing of raw materials and improve the work efficiency. The first scraper and the second scraper can scrape the It is convenient to clean the inner wall of the main body of the reaction kettle by removing the residues attached to the inner wall of the main body of the reaction kettle. By setting the speed regulating component, it is convenient to adjust the rotation speed of the stirring rod, which is convenient for mixing different raw materials and improves the application range of the device.

Figure 202122663109

Description

Reation kettle with self-cleaning function
Technical Field
The utility model relates to a reation kettle technical field specifically is a reation kettle with self-cleaning function.
Background
The reaction kettle is a pressure container which is widely applied to the fields of petroleum, chemical engineering, rubber, pesticides, dyes, medicines, food and the like and is used for completing the technological processes of vulcanization, nitration, hydrogenation, alkylation, polymerization, condensation and the like.
However, after the existing reaction kettle is used, more residues are easily adhered to the inner wall, and the reaction kettle needs to be disassembled during cleaning, which is troublesome. Accordingly, those skilled in the art have provided a reaction vessel having a self-cleaning function to solve the problems set forth in the background art described above.
SUMMERY OF THE UTILITY MODEL
An object of the utility model is to provide a reation kettle with self-cleaning function, through setting up the stirring subassembly, can be convenient for clean the adnexed residual on the reation kettle main part inner wall, and can be convenient for the mixture of raw and other materials, through setting up the speed governing subassembly, can be convenient for adjust the rotational speed of puddler to be convenient for be applicable to the raw and other materials of stirring different grade type and mix, improved the application scope of device.
The purpose of the utility model can be realized by the following technical scheme:
the utility model provides a reation kettle with self-cleaning function, including the reation kettle main part, the upper surface rigid coupling of reation kettle main part has the safety cover, the inside of safety cover is provided with the speed governing subassembly, the speed governing subassembly includes electric putter, electric putter's flexible end rigid coupling has the installation piece, the last inner wall rigid coupling of installation piece has the motor, the output of motor runs through the lower surface of installation piece and is connected with first axis of rotation, the surface of first axis of rotation has fixed cover respectively to connect first drive gear and second drive gear, one side meshing of first drive gear has first driven gear, inside of first driven gear runs through and the rigid coupling has the second axis of rotation, the fixed surface of second axis of rotation has cup jointed the second driven gear.
As the utility model discloses further scheme again: the inside of reation kettle main part is provided with the stirring subassembly, and the stirring subassembly includes the connecting rod, and the inside of connecting rod is rotated through the bearing and is connected with the puddler, and the top of puddler runs through the upper surface and the rigid coupling of connecting rod and has first gear, and the equal rigid coupling in lower surface both sides of connecting rod has first scraper blade, and one side rigid coupling of first scraper blade has the second scraper blade, and one side meshing of first gear has the second gear, and the upper surface rigid coupling of second gear has the fixed block.
As a further aspect of the present invention: the upper surface of the electric push rod is fixedly connected with the upper inner wall of the protective cover, and one side of the mounting block is attached to the inner wall of one side of the protective cover.
As a further aspect of the present invention: the second rotating shaft is rotatably connected with the upper surface of the reaction kettle main body through a bearing, and the bottom end of the second rotating shaft penetrates through the upper surface of the reaction kettle main body and is fixedly connected with the connecting rod.
As a further aspect of the present invention: the upper surface of fixed block and the last inner wall looks rigid coupling of reation kettle main part, and the center department of second gear and fixed block has all seted up the through-hole, and the diameter of through-hole is greater than the diameter of second axis of rotation simultaneously.
As a further aspect of the present invention: one side of first scraper blade and the laminating of one side inner wall of reation kettle main part mutually, the lower surface of second scraper blade and the laminating of the lower inner wall of reation kettle main part mutually.
As a further aspect of the present invention: a feed inlet is formed in one side of the upper surface of the reaction kettle main body, and a discharge outlet is formed in one side of the reaction kettle main body.
As a further aspect of the present invention: the inner cavity of the reaction kettle main body is cylindrical.
Compared with the prior art, the beneficial effects of the utility model are that:
1. the stirring rod can accelerate the mixing of the raw materials by arranging the stirring assembly, so that the working efficiency is improved, and the first scraper blade and the second scraper blade can scrape residues attached to the inner wall of the reaction kettle main body in the stirring process, so that the inner wall of the reaction kettle main body can be cleaned conveniently;
2. through setting up the speed governing subassembly, can be convenient for adjust the rotational speed of puddler, be convenient for be suitable for and mix different raw and other materials, improved the application scope of device.
Drawings
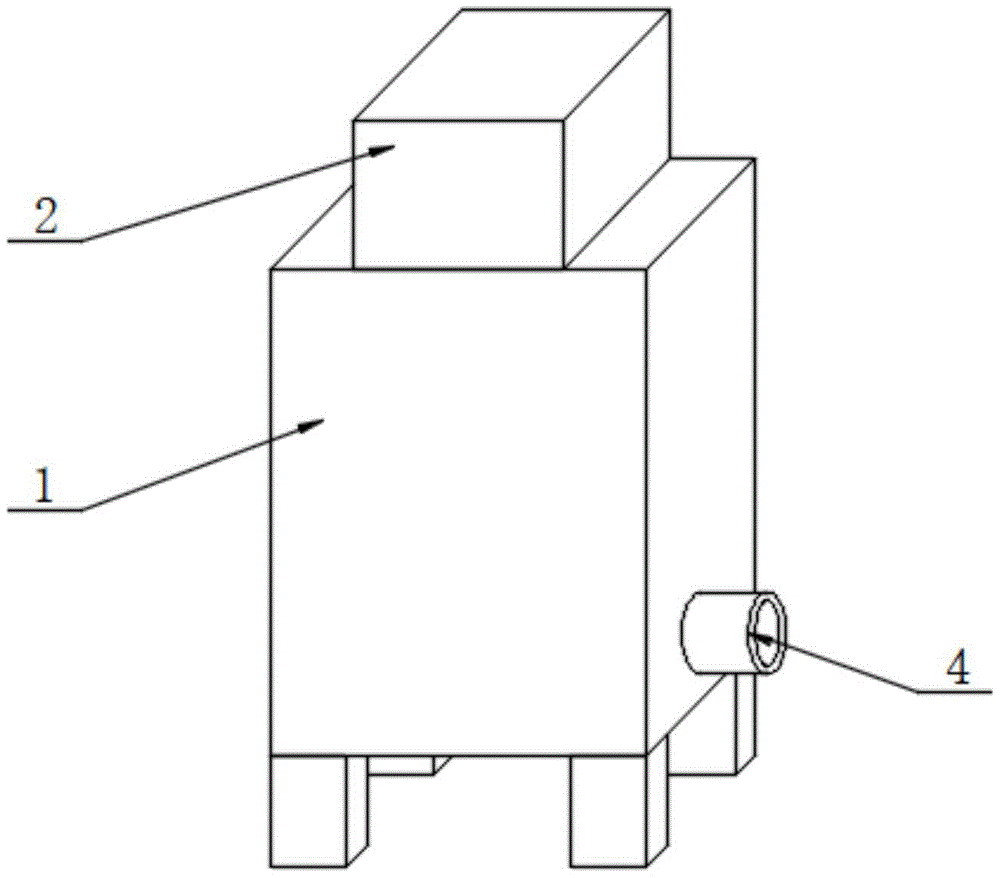
FIG. 1 is a schematic structural diagram of a reaction kettle with a self-cleaning function;
FIG. 2 is a schematic view of the internal structure of a reaction vessel having a self-cleaning function;
FIG. 3 is a schematic structural diagram of a speed regulating assembly in a reaction kettle with a self-cleaning function;
FIG. 4 is a schematic structural diagram of a connecting rod in a reaction kettle with a self-cleaning function.
In the figure: 1. a reaction kettle main body; 2. a protective cover; 3. a feed inlet; 4. a discharge port; 5. a speed regulation component; 51. an electric push rod; 52. mounting blocks; 53. a motor; 54. a first rotating shaft; 55. a first drive gear; 56. a second drive gear; 57. a first driven gear; 58. a second rotating shaft; 59. a second driven gear; 6. a stirring assembly; 61. a connecting rod; 62. a stirring rod; 63. a first gear; 64. a first squeegee; 65. a second squeegee; 66. a second gear; 67. and (5) fixing blocks.
Detailed Description
Example 1
As shown in fig. 1, 2 and 4, a reaction kettle with a self-cleaning function comprises a reaction kettle main body 1, wherein an inner cavity of the reaction kettle main body 1 is cylindrical, a protective cover 2 is fixedly connected to an upper surface of the reaction kettle main body 1, a feed inlet 3 is formed in one side of the upper surface of the reaction kettle main body 1, a discharge outlet 4 is formed in one side of the reaction kettle main body 1, a speed regulating assembly 5 is arranged inside the protective cover 2, the speed regulating assembly 5 comprises an electric push rod 51, a mounting block 52 is fixedly connected to a telescopic end of the electric push rod 51, an upper surface of the electric push rod 51 is fixedly connected to an upper inner wall of the protective cover 2, one side of the mounting block 52 is attached to an inner wall of one side of the protective cover 2, a motor 53 is fixedly connected to an upper inner wall of the mounting block 52, an output end of the motor 53 penetrates through a lower surface of the mounting block 52 and is connected with a first rotating shaft 54, a first driving gear 55 and a second driving gear 56 are fixedly connected to a surface of the first rotating shaft 54 respectively, a first driven gear 57 is engaged with one side of the first driving gear 55, a second rotating shaft 58 is penetrated and fixedly connected inside the first driven gear 57, a second driven gear 59 is fixedly sleeved on the surface of the second rotating shaft 58, the second rotating shaft 58 is rotatably connected with the upper surface of the reaction kettle main body 1 through a bearing, the bottom end of the second rotating shaft 58 penetrates through the upper surface of the reaction kettle main body 1 and is fixedly connected with a connecting rod 61, when the rotating speed of the stirring rod 62 needs to be adjusted, the telescopic end of the electric push rod 51 can be extended, when the electric push rod 51 drives the central point of the second driving gear 56 and the central point of the second driven gear 59 to be on the same horizontal line, the stirring speed of the stirring rod 62 can be reduced because the second driving gear 56 is engaged with the second driven gear 59, and the diameter of the second driving gear 56 is smaller than that of the first driving gear 55, when the first driving gear 55 is engaged with the first driven gear 57, the rotation speed of the stirring rod 62 is relatively fast, and different raw materials can be mixed by setting different rotation speeds, so that the application range of the device is widened.
As shown in fig. 1 and 3, a stirring assembly 6 is disposed inside the reaction kettle main body 1, the stirring assembly 6 includes a connecting rod 61, a stirring rod 62 is rotatably connected inside the connecting rod 61 through a bearing, a first gear 63 is fixedly connected to the top end of the stirring rod 62 through the upper surface of the connecting rod 61, first scrapers 64 are fixedly connected to both sides of the lower surface of the connecting rod 61, a second scraper 65 is fixedly connected to one side of the first scraper 64, one side of the first scraper 64 is attached to the inner wall of one side of the reaction kettle main body 1, the lower surface of the second scraper 65 is attached to the lower inner wall of the reaction kettle main body 1, a second gear 66 is engaged to one side of the first gear 63, a fixing block 67 is fixedly connected to the upper surface of the second gear 66, the upper surface of the fixing block 67 is fixedly connected to the upper inner wall of the reaction kettle main body 1, through holes are formed in the centers of the second gear 66 and the fixing block 67, and the diameter of the through holes is greater than that of the second rotating shaft 58, when in use, raw materials to be mixed can be firstly put into the reaction kettle main body 1 from the feed inlet 3, then the motor 53 can be started to work, when the motor 53 rotates, the first driving gear 55 can be driven to rotate through the first rotating shaft 54, when the first driving gear 55 rotates, the first driven gear 57 meshed with the first driving gear 55 can also synchronously rotate, when the first driven gear 57 rotates, the connecting rod 61 can be driven to rotate through the second rotating shaft 58, when the connecting rod 61 rotates, the stirring rod 62, the first scraper 64 and the second scraper 65 can be synchronously driven to synchronously rotate, when the stirring rod 62 rotates, the raw materials can be fully mixed, when the first scraper 64 and the second scraper 65 rotate, because one side of the first scraper 64 is attached to the inner wall of the reaction kettle main body 1, and the lower surface of the second scraper 65 is attached to the lower inner wall of the reaction kettle main body 1, when the first scraper 64 and the second scraper 65 rotate, the residues adhered to the inner wall can be scraped off, and the function of cleaning the inner wall of the reaction kettle main body 1 can be achieved.
The utility model discloses a theory of operation is: when in use, raw materials to be mixed can be firstly put into the reaction kettle main body 1 from the feed inlet 3, then the motor 53 can be started to work, when the motor 53 rotates, the first driving gear 55 can be driven to rotate through the first rotating shaft 54, when the first driving gear 55 rotates, the first driven gear 57 meshed with the first driving gear 55 can also synchronously rotate, when the first driven gear 57 rotates, the connecting rod 61 can be driven to rotate through the second rotating shaft 58, when the connecting rod 61 rotates, the stirring rod 62, the first scraper 64 and the second scraper 65 can be synchronously driven to synchronously rotate, when the stirring rod 62 rotates, the raw materials can be fully mixed, when the first scraper 64 and the second scraper 65 rotate, because one side of the first scraper 64 is attached to the inner wall of the reaction kettle main body 1, and the lower surface of the second scraper 65 is attached to the lower inner wall of the reaction kettle main body 1, when the first scraper 64 and the second scraper 65 rotate, the residues attached to the inner wall can be scraped off, the function of cleaning the inner wall of the reaction kettle main body 1 can be achieved, when the rotating speed of the stirring rod 62 needs to be adjusted, the telescopic end of the electric push rod 51 can be extended, when the electric push rod 51 drives the central point of the second driving gear 56 and the central point of the second driven gear 59 to be on the same horizontal line, the stirring speed of the stirring rod 62 can be reduced because the second driving gear 56 is meshed with the second driven gear 59, and the diameter of the second driving gear 56 is smaller than that of the first driving gear 55, when the first driving gear 55 is meshed with the first driven gear 57, the rotating speed of the stirring rod 62 is relatively high, different raw materials can be mixed by setting different rotating speeds, and the application range of the device is improved.
The foregoing shows and describes the general principles, essential features, and advantages of the invention. It will be understood by those skilled in the art that the present invention is not limited to the above embodiments, and that the foregoing embodiments and descriptions are provided only to illustrate the principles of the present invention without departing from the spirit and scope of the present invention.

Claims (8)

1.一种具有自清洁功能的反应釜,包括反应釜主体(1),其特征在于,所述反应釜主体(1)的上表面固接有保护罩(2),保护罩(2)的内部设置有调速组件(5),调速组件(5)包括电动推杆(51),电动推杆(51)的伸缩端固接有安装块(52),安装块(52)的上内壁固接有电机(53),电机(53)的输出端贯穿安装块(52)的下表面且连接有第一转动轴(54),第一转动轴(54)的表面分别固定套接有第一驱动齿轮(55)和第二驱动齿轮(56),第一驱动齿轮(55)的一侧啮合有第一从动齿轮(57),第一从动齿轮(57)的内部贯穿并固接有第二转动轴(58),第二转动轴(58)的表面固定套接有第二从动齿轮(59)。1. a reaction kettle with self-cleaning function, comprising a reaction kettle main body (1), characterized in that the upper surface of the reaction kettle main body (1) is fixed with a protective cover (2), and the protective cover (2) is A speed regulating assembly (5) is arranged inside, and the speed regulating assembly (5) includes an electric push rod (51), the telescopic end of the electric push rod (51) is fixedly connected with a mounting block (52), and the upper inner wall of the mounting block (52) A motor (53) is fixedly connected, and the output end of the motor (53) penetrates the lower surface of the mounting block (52) and is connected with a first rotating shaft (54), and the surfaces of the first rotating shaft (54) are respectively fixed and sleeved with the first rotating shaft (54). A driving gear (55) and a second driving gear (56), a first driven gear (57) is engaged with one side of the first driving gear (55), and the inside of the first driven gear (57) penetrates and is fixedly connected There is a second rotating shaft (58), and a second driven gear (59) is fixedly sleeved on the surface of the second rotating shaft (58). 2.根据权利要求1所述的一种具有自清洁功能的反应釜,其特征在于,所述反应釜主体(1)的内部设置有搅拌组件(6),搅拌组件(6)包括连接杆(61),连接杆(61)的内部通过轴承转动连接有搅拌杆(62),搅拌杆(62)的顶端贯穿连接杆(61)的上表面并固接有第一齿轮(63),连接杆(61)的下表面两侧均固接有第一刮板(64),第一刮板(64)的一侧固接有第二刮板(65),第一齿轮(63)的一侧啮合有第二齿轮(66),第二齿轮(66)的上表面固接有固定块(67)。2. A kind of reaction kettle with self-cleaning function according to claim 1, is characterized in that, the interior of described reaction kettle main body (1) is provided with stirring assembly (6), and stirring assembly (6) comprises connecting rod ( 61), the inside of the connecting rod (61) is rotatably connected with a stirring rod (62) through a bearing, and the top of the stirring rod (62) penetrates the upper surface of the connecting rod (61) and is fixed with a first gear (63), the connecting rod Both sides of the lower surface of (61) are fixed with a first scraper (64), one side of the first scraper (64) is fixed with a second scraper (65), and one side of the first gear (63) A second gear (66) is engaged, and a fixing block (67) is fixed on the upper surface of the second gear (66). 3.根据权利要求1所述的一种具有自清洁功能的反应釜,其特征在于,所述电动推杆(51)的上表面与保护罩(2)的上内壁相固接,且安装块(52)的一侧与保护罩(2)的一侧内壁相贴合。3. The reaction kettle with self-cleaning function according to claim 1, wherein the upper surface of the electric push rod (51) is fixedly connected with the upper inner wall of the protective cover (2), and the mounting block One side of (52) is in contact with one side of the inner wall of the protective cover (2). 4.根据权利要求2所述的一种具有自清洁功能的反应釜,其特征在于,所述第二转动轴(58)的通过轴承与反应釜主体(1)的上表面转动连接,且第二转动轴(58)的底端贯穿反应釜主体(1)的上表面并与连接杆(61)相固接。4. A reaction kettle with self-cleaning function according to claim 2, characterized in that the second rotating shaft (58) is rotatably connected to the upper surface of the reaction kettle main body (1) through a bearing, and the first The bottom ends of the two rotating shafts (58) penetrate through the upper surface of the reactor main body (1) and are fixedly connected with the connecting rod (61). 5.根据权利要求2所述的一种具有自清洁功能的反应釜,其特征在于,所述固定块(67)的上表面与反应釜主体(1)的上内壁相固接,且第二齿轮(66)和固定块(67)的中心处均开设有通孔,同时通孔的直径大于第二转动轴(58)的直径。5. The reaction kettle with self-cleaning function according to claim 2, wherein the upper surface of the fixing block (67) is fixedly connected to the upper inner wall of the reaction kettle main body (1), and the second The center of the gear (66) and the fixing block (67) is provided with a through hole, and the diameter of the through hole is larger than the diameter of the second rotating shaft (58). 6.根据权利要求2所述的一种具有自清洁功能的反应釜,其特征在于,所述第一刮板(64)的一侧与反应釜主体(1)的一侧内壁相贴合,第二刮板(65)的下表面与反应釜主体(1)的下内壁相贴合。6. The reaction kettle with self-cleaning function according to claim 2, wherein one side of the first scraper (64) is in contact with the inner wall of one side of the main body (1) of the reaction kettle, The lower surface of the second scraper (65) is in contact with the lower inner wall of the reactor main body (1). 7.根据权利要求1所述的一种具有自清洁功能的反应釜,其特征在于,所述反应釜主体(1)的上表面一侧开设有进料口(3),反应釜主体(1)的一侧开设有出料口(4)。7. A kind of reaction kettle with self-cleaning function according to claim 1 is characterized in that, the upper surface side of the main body of the reaction kettle (1) is provided with a feeding port (3), and the main body of the reaction kettle (1) is provided with a feeding port (3). ) is provided with a discharge port (4). 8.根据权利要求1所述的一种具有自清洁功能的反应釜,其特征在于,所述反应釜主体(1)的内腔为圆柱状。8 . The reaction kettle with self-cleaning function according to claim 1 , wherein the inner cavity of the reaction kettle main body ( 1 ) is cylindrical. 9 .
CN202122663109.1U 2021-11-02 2021-11-02 Reation kettle with self-cleaning function Expired - Fee Related CN216419379U (en)

Priority Applications (1)

Application Number Priority Date Filing Date Title
CN202122663109.1U CN216419379U (en) 2021-11-02 2021-11-02 Reation kettle with self-cleaning function

Applications Claiming Priority (1)

Application Number Priority Date Filing Date Title
CN202122663109.1U CN216419379U (en) 2021-11-02 2021-11-02 Reation kettle with self-cleaning function

Publications (1)

Publication Number Publication Date
CN216419379U true CN216419379U (en) 2022-05-03

Family

ID=81334906

Family Applications (1)

Application Number Title Priority Date Filing Date
CN202122663109.1U Expired - Fee Related CN216419379U (en) 2021-11-02 2021-11-02 Reation kettle with self-cleaning function

Country Status (1)

Country Link
CN (1) CN216419379U (en)

Cited By (1)

* Cited by examiner, † Cited by third party
Publication number Priority date Publication date Assignee Title
CN116159525A (en) * 2023-04-14 2023-05-26 河北和煜药业科技有限公司 Glass lining reaction kettle with blanking speed adjusting function

Cited By (2)

* Cited by examiner, † Cited by third party
Publication number Priority date Publication date Assignee Title
CN116159525A (en) * 2023-04-14 2023-05-26 河北和煜药业科技有限公司 Glass lining reaction kettle with blanking speed adjusting function
CN116159525B (en) * 2023-04-14 2023-07-07 河北和煜药业科技有限公司 Glass lining reaction kettle with blanking speed adjusting function

Similar Documents

Publication Publication Date Title
CN216419379U (en) Reation kettle with self-cleaning function
CN208553917U (en) A high-efficiency stirring device for polymer water-based coatings
CN216458516U (en) An automatic stirring device for industrial production materials
CN219186927U (en) Reaction kettle with cleaning structure
CN216856470U (en) Organic silicon oil stirred tank with high homogeneity stirring function
CN219463115U (en) Waterproof coating agitated vessel
CN214599014U (en) Chemical industry reation kettle who easily washs
CN215693983U (en) Paddle type stirring reaction kettle
CN215877103U (en) Multi-functional chemical industry pigment agitating unit
CN215353051U (en) High-viscosity bidirectional double-stirring mixing mechanism
CN220047972U (en) Small-sized material mixing equipment for house building construction
CN212758561U (en) Adhesive production reation kettle
CN223439781U (en) A built-in stirring device for a high-pressure reactor
CN222789051U (en) Mixing and stirring device for detergent production
CN220919004U (en) Reaction kettle capable of preventing materials from adhering to inner wall
CN222871942U (en) Chemical raw material stirring device
CN220780317U (en) Reation kettle is used in pesticide processing
CN216711630U (en) Integrated domestic sewage treatment equipment
CN220900118U (en) Thermal insulation equipment for production and processing of water-based paint
CN219308613U (en) Agitating unit that organosilicon product production was used
CN220590002U (en) High-purity sodium metaaluminate reaction kettle
CN221536507U (en) Portal stirrer capable of stirring uniformly
CN219518834U (en) Mixed reaction kettle for producing multifunctional acrylic acid adhesive
CN222658440U (en) Stirred tank for the preparation of release agents
CN221386443U (en) Alkali-free accelerator reaction kettle

Legal Events

Date Code Title Description
GR01 Patent grant
GR01 Patent grant
CF01 Termination of patent right due to non-payment of annual fee
CF01 Termination of patent right due to non-payment of annual fee

Granted publication date: 20220503