CN216417261U - Intracardiac branch of academic or vocational study nursing is with pressing hemostasis device - Google Patents
Intracardiac branch of academic or vocational study nursing is with pressing hemostasis device Download PDFInfo
- Publication number
- CN216417261U CN216417261U CN202122830119.XU CN202122830119U CN216417261U CN 216417261 U CN216417261 U CN 216417261U CN 202122830119 U CN202122830119 U CN 202122830119U CN 216417261 U CN216417261 U CN 216417261U
- Authority
- CN
- China
- Prior art keywords
- rod
- pressing
- fixedly connected
- plate
- telescopic
- Prior art date
- Legal status (The legal status is an assumption and is not a legal conclusion. Google has not performed a legal analysis and makes no representation as to the accuracy of the status listed.)
- Expired - Fee Related
Links
- 230000023597 hemostasis Effects 0.000 title claims abstract description 18
- 230000000474 nursing effect Effects 0.000 title claims abstract description 15
- 230000001755 vocal effect Effects 0.000 title claims 2
- 238000010070 extrusion (rubber) Methods 0.000 claims description 4
- 230000006835 compression Effects 0.000 claims 5
- 238000007906 compression Methods 0.000 claims 5
- 230000007306 turnover Effects 0.000 claims 2
- 230000000740 bleeding effect Effects 0.000 abstract description 5
- 230000002439 hemostatic effect Effects 0.000 abstract description 5
- 238000010586 diagram Methods 0.000 description 3
- 208000024172 Cardiovascular disease Diseases 0.000 description 2
- 230000009286 beneficial effect Effects 0.000 description 2
- 239000003814 drug Substances 0.000 description 2
- 230000002526 effect on cardiovascular system Effects 0.000 description 2
- 238000012986 modification Methods 0.000 description 2
- 230000004048 modification Effects 0.000 description 2
- 238000001356 surgical procedure Methods 0.000 description 2
- 206010000891 acute myocardial infarction Diseases 0.000 description 1
- 229940079593 drug Drugs 0.000 description 1
- 238000005516 engineering process Methods 0.000 description 1
- 230000002708 enhancing effect Effects 0.000 description 1
- 238000001125 extrusion Methods 0.000 description 1
- 208000019622 heart disease Diseases 0.000 description 1
- 238000000034 method Methods 0.000 description 1
- 208000019553 vascular disease Diseases 0.000 description 1
Images
Landscapes
- Surgical Instruments (AREA)
Abstract
本实用新型公开了一种心内科护理用按压止血装置,包括移动底板,所述移动底板的上表面固定连接有支撑竖筒,支撑竖筒的左侧设置有控制器,支撑竖筒的内部滑动连接有伸缩滑杆,伸缩滑杆的顶部转动连接有转轴,转轴的表面固定连接有转动座,转动座的表面转动连接有翻转杆,翻转杆的右端固定连接有按压顶板。该心内科护理用按压止血装置,通过设置电动推杆,能够带动伸缩滑杆在支撑竖筒内部滑动,对按压顶板的高度进行快速调节,通过设置十字滑槽、T型滑块和锁紧螺杆,能够对弧形按压板的位置进行横向调节,通过设置电动伸缩杆、限位滑套和限位滑杆,控制电动伸缩杆伸长,能够带动弧形按压板下降,达到对患者术处进行按压止血的目的,使用方便。
The utility model discloses a pressing hemostasis device for nursing care in cardiology, which comprises a moving base plate, a support vertical cylinder is fixedly connected to the upper surface of the moving base plate, a controller is arranged on the left side of the support vertical cylinder, and the inner side of the support vertical cylinder slides A telescopic sliding rod is connected, the top of the telescopic sliding rod is rotatably connected with a rotating shaft, the surface of the rotating shaft is fixedly connected with a rotating seat, the surface of the rotating seat is rotatably connected with a turning rod, and the right end of the turning rod is fixedly connected with a pressing top plate. The pressing hemostatic device for cardiology nursing can drive the telescopic sliding rod to slide inside the supporting vertical cylinder by setting the electric push rod, and quickly adjust the height of the pressing top plate. , the position of the arc-shaped pressing plate can be adjusted horizontally. By setting the electric telescopic rod, the limit sliding sleeve and the limit sliding rod, the extension of the electric telescopic rod can be controlled, and the arc-shaped pressing plate can be lowered, so as to achieve the operation of the patient's operation. The purpose of pressing to stop bleeding is convenient to use.
Description
技术领域technical field
本实用新型涉及医疗辅助器械技术领域,具体为一种心内科护理用按压止血装置。The utility model relates to the technical field of medical aids, in particular to a pressing hemostasis device for cardiology nursing.
背景技术Background technique
心内科的全称为心血管内科,是各级医院大内科为了诊疗心血管血管疾病而设置的一个临床科室,治疗的疾病包括心绞痛、高血压、猝死、心律失常、心力衰竭、早搏、心律不齐、急性心肌梗死等心血管疾病。The full name of Cardiology Department is the Department of Cardiovascular Medicine, which is a clinical department set up by major internal medicine departments of hospitals at all levels to diagnose and treat cardiovascular and vascular diseases. , acute myocardial infarction and other cardiovascular diseases.
在对心内科疾病患者进行治疗时,多采用手术的方式,在术后,需要对创口处进行按压止血护理,因此需要使用按压止血装置,而现有的按压止血装置,大多为固定式结构,体积较大,在安装时较为困难,在使用后较为占用储物空间,且在对患者进行按压止血时,调节性差,不便于使用。When treating patients with cardiac diseases, surgery is often used. After surgery, it is necessary to perform pressure hemostasis care on the wound. Therefore, a pressure hemostasis device needs to be used. Most of the existing pressure hemostasis devices are of fixed structure. The volume is relatively large, which is difficult to install, occupies a storage space after use, and has poor adjustability when pressing the patient to stop bleeding, which is inconvenient to use.
为此,本实用新型提出一种心内科护理用按压止血装置。To this end, the utility model proposes a pressing hemostasis device for cardiology nursing.
实用新型内容Utility model content
本实用新型的目的在于提供一种心内科护理用按压止血装置,以解决上述背景技术中提出的问题。The purpose of the present utility model is to provide a pressing hemostasis device for nursing care in cardiology, so as to solve the problems raised in the above background technology.
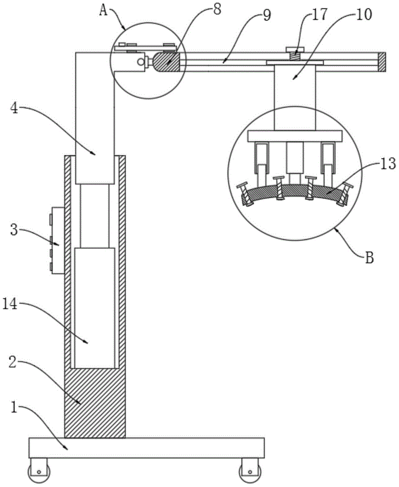
为实现上述目的,本实用新型提供如下技术方案:一种心内科护理用按压止血装置,包括移动底板,所述移动底板的上表面固定连接有支撑竖筒,支撑竖筒的左侧设置有控制器,支撑竖筒的内部滑动连接有伸缩滑杆,伸缩滑杆的顶部转动连接有转轴,转轴的表面固定连接有转动座,转动座的表面转动连接有翻转杆,翻转杆的右端固定连接有按压顶板,伸缩滑杆的表面与按压顶板之间设置有固定机构,按压顶板的表面横向开设有十字滑槽,十字滑槽的内壁滑动连接有T型滑块,T型滑块的底端固定连接有衔接板,衔接板的下表面固定连接有电动伸缩杆,电动伸缩杆的伸缩端固定连接有弧形按压板。In order to achieve the above purpose, the present utility model provides the following technical solutions: a pressing hemostasis device for cardiology nursing, comprising a moving base plate, the upper surface of the moving base plate is fixedly connected with a supporting vertical cylinder, and the left side of the supporting vertical cylinder is provided with a control device. The interior of the supporting vertical cylinder is slidably connected with a telescopic sliding rod, the top of the telescopic sliding rod is rotatably connected with a rotating shaft, the surface of the rotating shaft is fixedly connected with a rotating seat, the surface of the rotating seat is rotatably connected with a turning rod, and the right end of the turning rod is fixedly connected with a When pressing the top plate, a fixing mechanism is arranged between the surface of the telescopic sliding rod and the pressing top plate. The surface of the pressing top plate is provided with a cross slot, and the inner wall of the cross slot is slidably connected with a T-shaped slider, and the bottom end of the T-shaped slider is fixed A connecting plate is connected, the lower surface of the connecting plate is fixedly connected with an electric telescopic rod, and the telescopic end of the electric telescopic rod is fixedly connected with an arc-shaped pressing plate.
优选的,所述支撑竖筒的内底壁固定连接有电动推杆,电动推杆的伸缩端与伸缩滑杆的底端固定连接。Preferably, an electric push rod is fixedly connected to the inner bottom wall of the supporting vertical cylinder, and the telescopic end of the electric push rod is fixedly connected to the bottom end of the telescopic sliding rod.
优选的,所述固定机构包括设置在伸缩滑杆顶部的插销杆,按压顶板的上表面设置有与插销杆相适配的插销座。Preferably, the fixing mechanism includes a latch rod arranged on the top of the telescopic sliding rod, and a latch seat adapted to the latch rod is provided on the upper surface of the pressing top plate.
优选的,所述T型滑块的顶部设置有锁紧螺杆,锁紧螺杆的螺帽与按压顶板的上表面抵接。Preferably, the top of the T-shaped slider is provided with a locking screw, and the nut of the locking screw is in contact with the upper surface of the pressing top plate.
优选的,所述衔接板的下表面呈对称设置有两个限位滑套,限位滑套的底端滑动连接有限位滑杆,限位滑杆的底端与弧形按压板的上弧面固定连接。Preferably, two limit slide sleeves are symmetrically arranged on the lower surface of the connecting plate, the bottom end of the limit slide sleeve is slidably connected to the limit slide bar, and the bottom end of the limit slide bar is connected to the upper arc of the arc-shaped pressing plate. surface fixed connection.
优选的,所述弧形按压板的表面螺纹连接有精调螺母,精调螺母的螺纹端延伸至弧形按压板的下表面并转动连接有橡胶挤压块。Preferably, the surface of the arc-shaped pressing plate is threadedly connected with a fine-adjusting nut, and the threaded end of the fine-adjusting nut extends to the lower surface of the arc-shaped pressing plate and is rotatably connected with a rubber pressing block.
有益效果beneficial effect
本实用新型提供了一种心内科护理用按压止血装置,具备以下有益效果:The utility model provides a pressing hemostasis device for cardiology nursing, which has the following beneficial effects:
1.该心内科护理用按压止血装置,通过设置移动底板,便于对该装置进行移动,通过设置电动推杆,能够带动伸缩滑杆在支撑竖筒内部滑动,对按压顶板的高度进行快速调节,通过设置十字滑槽、T型滑块和锁紧螺杆,能够对弧形按压板的位置进行横向调节,通过设置电动伸缩杆、限位滑套和限位滑杆,控制电动伸缩杆伸长,能够带动弧形按压板下降,达到对患者术处进行按压止血的目的,使用方便。1. The pressing hemostatic device for nursing care in cardiology is easy to move the device by setting a moving bottom plate, and by setting an electric push rod, it can drive the telescopic sliding rod to slide inside the supporting vertical cylinder, and quickly adjust the height of the pressing top plate, By setting the cross chute, T-shaped slider and locking screw, the position of the arc-shaped pressing plate can be adjusted laterally. The arc-shaped pressing plate can be driven to descend, so as to achieve the purpose of pressing the patient's surgical site to stop bleeding, and it is convenient to use.
2.该心内科护理用按压止血装置,通过设置转轴、转动座、翻转杆和固定机构,首先将插销杆从插销座内抽出,将按压顶板以翻转杆为轴翻转180度,翻转杆在转动座内进行转动,然后将按压顶板围绕转轴向下折弯,电动推杆收缩,从而达到了减少装置体积的目的,便于运输和收纳。2. The pressing hemostatic device for nursing care in cardiology, by setting a rotating shaft, a rotating seat, a turning rod and a fixing mechanism, firstly pull out the bolt rod from the bolt seat, and turn the pressing top plate 180 degrees with the turning rod as the axis, and the turning rod is rotating. The seat is rotated, and then the pressing top plate is bent down around the rotating shaft, and the electric push rod is retracted, thereby achieving the purpose of reducing the volume of the device and facilitating transportation and storage.
3.该心内科护理用按压止血装置,通过设置精调螺母和橡胶挤压块,能够针对创口的位置,转动精调螺母,使相应位置的橡胶挤压块更加凸起,增强局部的挤压力。3. The press hemostasis device for nursing care in cardiology, by setting the fine adjustment nut and the rubber extrusion block, can rotate the fine adjustment nut according to the position of the wound, so that the rubber extrusion block in the corresponding position is more convex and the local extrusion is enhanced. force.
附图说明Description of drawings
图1为本实用新型状态一正视正剖结构示意图;Fig. 1 is a schematic view of a frontal cross-sectional structure in a state of the present utility model;
图2为图1中A处放大结构示意图;Fig. 2 is a schematic view of enlarged structure at A place in Fig. 1;
图3为图1中B处放大结构示意图;Fig. 3 is the enlarged structural schematic diagram at B in Fig. 1;
图4为本实用新型状态二正视结构示意图;4 is a schematic diagram of the front view structure of the utility model state two;
图5为本实用新型固定机构立体结构示意图。FIG. 5 is a schematic diagram of the three-dimensional structure of the fixing mechanism of the present invention.
图中:1移动底板、2支撑竖筒、3控制器、4伸缩滑杆、5转轴、6转动座、7翻转杆、8按压顶板、9十字滑槽、10T型滑块、11衔接板、12电动伸缩杆、13弧形按压板、14电动推杆、15插销杆、16插销座、17锁紧螺杆、18限位滑套、19限位滑杆、20精调螺母、21橡胶挤压块。In the picture: 1 moving bottom plate, 2 supporting vertical cylinder, 3 controller, 4 telescopic sliding rod, 5 rotating shaft, 6 rotating seat, 7 flipping rod, 8 pressing top plate, 9 cross chute, 10T type slider, 11 connecting plate, 12 electric telescopic rod, 13 arc pressing plate, 14 electric push rod, 15 bolt rod, 16 bolt seat, 17 locking screw, 18 limit sliding sleeve, 19 limit sliding rod, 20 fine adjustment nut, 21 rubber extrusion piece.
具体实施方式Detailed ways
下面将结合本实用新型实施例中的附图,对本实用新型实施例中的技术方案进行清楚、完整地描述,显然,所描述的实施例仅仅是本实用新型一部分实施例,而不是全部的实施例。基于本实用新型中的实施例,本领域普通技术人员在没有做出创造性劳动前提下所获得的所有其他实施例,都属于本实用新型保护的范围。The technical solutions in the embodiments of the present utility model will be clearly and completely described below with reference to the accompanying drawings in the embodiments of the present utility model. Obviously, the described embodiments are only a part of the embodiments of the present utility model, rather than all the implementations. example. Based on the embodiments of the present invention, all other embodiments obtained by those of ordinary skill in the art without creative work fall within the protection scope of the present invention.
请参阅图1-5,本实用新型提供一种技术方案:一种心内科护理用按压止血装置,包括移动底板1,通过设置移动底板1,便于对该装置进行移动,移动底板1的上表面固定连接有支撑竖筒2,支撑竖筒2的左侧设置有控制器3,支撑竖筒2的内部滑动连接有伸缩滑杆4,支撑竖筒2的内底壁固定连接有电动推杆14,电动推杆14的伸缩端与伸缩滑杆4的底端固定连接,通过设置电动推杆14,能够带动伸缩滑杆4在支撑竖筒2内部滑动,对装置的整体高度进行快速调节。Please refer to FIGS. 1-5 , the present invention provides a technical solution: a pressing hemostasis device for cardiology nursing, comprising a moving
伸缩滑杆4的顶部转动连接有转轴5,转轴5的表面固定连接有转动座6,转动座6的表面转动连接有翻转杆7,翻转杆7的右端固定连接有按压顶板8,伸缩滑杆4的表面与按压顶板8之间设置有固定机构,固定机构包括设置在伸缩滑杆4顶部的插销杆15,按压顶板8的上表面设置有与插销杆15相适配的插销座16。The top of the
该心内科护理用按压止血装置,通过设置转轴5、转动座6、翻转杆7和固定机构,首先将插销杆15从插销座16内抽出,将按压顶板8以翻转杆7为轴翻转180度,翻转杆7在转动座6内进行转动,然后将按压顶板8围绕转轴5向下折弯,从而达到了减少装置体积的目的,使其便于运输和收纳。The pressing hemostatic device for nursing care in cardiology is provided with a rotating
按压顶板8的表面横向开设有十字滑槽9,十字滑槽9的内壁滑动连接有T型滑块10,T型滑块10的顶部设置有锁紧螺杆17,锁紧螺杆17的螺帽与按压顶板8的上表面抵接。A
T型滑块10的底端固定连接有衔接板11,衔接板11的下表面固定连接有电动伸缩杆12,电动伸缩杆12的伸缩端固定连接有弧形按压板13,弧形按压板13的表面螺纹连接有精调螺母20,精调螺母20的螺纹端延伸至弧形按压板13的下表面并转动连接有橡胶挤压块21。A connecting
通过设置十字滑槽9、T型滑块10和锁紧螺杆17,能够对弧形按压板13的位置进行横向调节,通过设置电动伸缩杆12、限位滑套18和限位滑杆19,控制电动伸缩杆12伸长,能够带动弧形按压板13下降,达到对患者术处进行按压止血的目的,使用方便,通过设置精调螺母20和橡胶挤压块21,能够针对创口的位置,转动精调螺母20,使相应位置的橡胶挤压块21更加凸起,增强局部的挤压力。By setting the
衔接板11的下表面呈对称设置有两个限位滑套18,限位滑套18的底端滑动连接有限位滑杆19,限位滑杆19的底端与弧形按压板13的上弧面固定连接,通过设置限位滑套18和限位滑杆19,能够增强弧形按压板13移动时的稳定性。The lower surface of the connecting
工作原理:当该心内科护理用按压止血装置使用时,利用移动底板1将该装置移动至患者病床处,将控制器3与市电接通,利用电动推杆14伸缩,带动伸缩滑杆4在支撑竖筒2内部滑动,对按压顶板8的高度进行快速调节,然后根据患者的位置,在十字滑槽9内滑动T型滑块10,使弧形按压板13与患者的位置相对应,使用锁紧螺杆17锁紧,再控制电动伸缩杆12缓慢伸长,带动弧形按压板13下降,达到对患者术处进行按压止血的目的,针对创口的位置,转动精调螺母20,使相应位置的橡胶挤压块21更加凸起,增强局部的按压力,在使用结束后,将插销杆15从插销座16内抽出,将按压顶板8以翻转杆7为轴翻转180度,翻转杆7在转动座6内进行转动,然后将按压顶板8围绕转轴5向下折弯放稳,从而达到了减少装置体积的目的,便于运输和收纳。Working principle: When the pressing hemostatic device for cardiology nursing is used, the device is moved to the patient's bed by the
尽管已经示出和描述了本实用新型的实施例,对于本领域的普通技术人员而言,可以理解在不脱离本实用新型的原理和精神的情况下可以对这些实施例进行多种变化、修改、替换和变型,本实用新型的范围由所附权利要求及其等同物限定。Although the embodiments of the present invention have been shown and described, it will be understood by those skilled in the art that various changes and modifications can be made to these embodiments without departing from the principles and spirit of the present invention , alternatives and modifications, the scope of the present invention is defined by the appended claims and their equivalents.
Claims (6)
Priority Applications (1)
| Application Number | Priority Date | Filing Date | Title |
|---|---|---|---|
| CN202122830119.XU CN216417261U (en) | 2021-11-18 | 2021-11-18 | Intracardiac branch of academic or vocational study nursing is with pressing hemostasis device |
Applications Claiming Priority (1)
| Application Number | Priority Date | Filing Date | Title |
|---|---|---|---|
| CN202122830119.XU CN216417261U (en) | 2021-11-18 | 2021-11-18 | Intracardiac branch of academic or vocational study nursing is with pressing hemostasis device |
Publications (1)
| Publication Number | Publication Date |
|---|---|
| CN216417261U true CN216417261U (en) | 2022-05-03 |
Family
ID=81339112
Family Applications (1)
| Application Number | Title | Priority Date | Filing Date |
|---|---|---|---|
| CN202122830119.XU Expired - Fee Related CN216417261U (en) | 2021-11-18 | 2021-11-18 | Intracardiac branch of academic or vocational study nursing is with pressing hemostasis device |
Country Status (1)
| Country | Link |
|---|---|
| CN (1) | CN216417261U (en) |
-
2021
- 2021-11-18 CN CN202122830119.XU patent/CN216417261U/en not_active Expired - Fee Related
Similar Documents
| Publication | Publication Date | Title |
|---|---|---|
| CN216417261U (en) | Intracardiac branch of academic or vocational study nursing is with pressing hemostasis device | |
| CN205459476U (en) | Nursing bed of orthopedics | |
| CN211271854U (en) | A medical leg support | |
| CN218960964U (en) | bracket for surgery | |
| CN216823950U (en) | An auxiliary patient turning device for geriatric nursing | |
| CN215081143U (en) | Turnover device for nursing of old patients | |
| CN215503877U (en) | A turning device for nursing care of elderly patients | |
| CN111297418A (en) | Lumbar vertebra three-way minimally invasive retractor | |
| CN211131748U (en) | Cardiac surgery patient transfer bed | |
| CN212547471U (en) | A kind of auxiliary turning device for geriatric nursing | |
| CN210044316U (en) | Internal medicine nursing is with supplementary ware of standing up | |
| CN212037561U (en) | A radiology examination bed | |
| CN211797353U (en) | Position adjusting device for postpartum care | |
| CN112754684B (en) | A support device for urological surgery | |
| CN219398678U (en) | A cleaning device | |
| CN210873400U (en) | A kind of infusion stand lifting device for medical nursing in surgical hospital | |
| CN218279707U (en) | An auxiliary muscle stretching device for general surgery | |
| CN221691354U (en) | A gynecological clinical dilator | |
| CN209422005U (en) | Drag hook for thyroid surgery | |
| CN220327640U (en) | Leg plate rotating assembly of operation table | |
| CN220513072U (en) | A kind of bandaging auxiliary device | |
| CN215459486U (en) | Division of endocrinology's physiotherapy bed convenient to adjust | |
| CN221808181U (en) | Limb auxiliary adjusting device | |
| CN217310910U (en) | Multifunctional nursing and turning-over device for cardiovascular internal medicine | |
| CN221672404U (en) | A nursing standing auxiliary support device |
Legal Events
| Date | Code | Title | Description |
|---|---|---|---|
| GR01 | Patent grant | ||
| GR01 | Patent grant | ||
| CF01 | Termination of patent right due to non-payment of annual fee | ||
| CF01 | Termination of patent right due to non-payment of annual fee |
Granted publication date: 20220503 |
