CN216407754U - Low-torsion plug valve - Google Patents

Low-torsion plug valve Download PDF

Info

Publication number
CN216407754U
CN216407754U CN202123119871.XU CN202123119871U CN216407754U CN 216407754 U CN216407754 U CN 216407754U CN 202123119871 U CN202123119871 U CN 202123119871U CN 216407754 U CN216407754 U CN 216407754U
Authority
CN
China
Prior art keywords
valve
plug
port
screw rod
valve plug
Prior art date
Legal status (The legal status is an assumption and is not a legal conclusion. Google has not performed a legal analysis and makes no representation as to the accuracy of the status listed.)
Active
Application number
CN202123119871.XU
Other languages
Chinese (zh)
Inventor
魏福芝
车希国
刘志振
刘永明
Current Assignee (The listed assignees may be inaccurate. Google has not performed a legal analysis and makes no representation or warranty as to the accuracy of the list.)
Shandong Yukos Petroleum Equipment Co ltd
Original Assignee
Shandong Yukos Petroleum Equipment Co ltd
Priority date (The priority date is an assumption and is not a legal conclusion. Google has not performed a legal analysis and makes no representation as to the accuracy of the date listed.)
Filing date
Publication date
Application filed by Shandong Yukos Petroleum Equipment Co ltd filed Critical Shandong Yukos Petroleum Equipment Co ltd
Priority to CN202123119871.XU priority Critical patent/CN216407754U/en
Application granted granted Critical
Publication of CN216407754U publication Critical patent/CN216407754U/en
Active legal-status Critical Current
Anticipated expiration legal-status Critical

Links

Images

Landscapes

  • Lift Valve (AREA)
  • Sliding Valves (AREA)

Abstract

The utility model discloses a low-torsion plug valve which comprises a valve plug, wherein a groove is formed in the middle of the bottom end of the valve plug, a water guide hole is formed in the middle of the groove, a flow control port is formed in the outer side of the valve plug, a pressing plate is welded to the top end of the valve plug, the valve plug is embedded and installed in the valve port, the valve port is arranged in the middle of an inner cavity of a valve body, and a screw rod is installed in the middle of the top end of the pressing plate through an installing head. The utility model discloses a valve plug seals valve port department through vertical lift control mode, and the valve rod is established to the screw rod structure, screw rod and valve body top middle part screw hole lead screw transmission, make it carry out the accurate control to the lift of valve plug, this kind of mode is comparatively accurate to the seal control of valve port department, and be provided with on the valve plug with the equal size accuse of valve port wall flow mouth, can be through the control accuse flow mouth and the valve port wall height that staggers each other, adjust the accuse and flow, compare the accuse flow that staggers of side direction, vertical accuse flows better measurement, and make things convenient for the accurate control to the flow more.

Description

Low-torsion plug valve
Technical Field
The utility model relates to the related field of plug valves, in particular to a low-torsion plug valve.
Background
The plug valve is a valve with a plug-shaped closing member, a channel port on the plug valve is communicated with or separated from a channel port on the valve body by rotating 90 degrees, so that opening or closing is realized. Because the movement between the sealing surfaces of the plug valve has a wiping action, the contact with flowing media can be completely prevented when the plug valve is fully opened.
The plug valve at the present stage is insufficient in sealing effect at the valve port, the disc valve adopting vertical control is used for sealing, flow is controlled through the positions of the rotary valve plate and the valve port, accuracy control of the flow is insufficient for lateral control, the single sealing through the single arc-shaped valve plate is insufficient, and the sealing effect at the valve port is insufficient.
SUMMERY OF THE UTILITY MODEL
The utility model aims to provide a low-torsion plug valve, which aims to solve the problems that the plug valve provided in the background technology has insufficient sealing effect on a valve port, a vertically controlled disc valve is used for sealing, the flow is controlled through the positions of a rotary valve plate and the valve port, the accuracy control on the flow is insufficient for lateral control, and the sealing effect on the valve port is insufficient through single sealing of a single arc-shaped valve plate.
In order to achieve the purpose, the utility model provides the following technical scheme: the utility model provides a low twist plug valve, includes the valve plug, the bottom middle part of valve plug is provided with the recess, the middle part of recess is provided with the water guide hole, the outside of valve plug is provided with accuse stream mouth, the inner chamber of valve body position department placed in the middle is provided with the valve port, the top welding of valve plug has the clamp plate, and the valve plug inlays and install in the valve port, the screw rod is installed through the installation head in the middle part of the top of clamp plate, the top middle part of valve body is provided with the screw hole, and the screw rod is connected with screw hole lead screw transmission.
In a further embodiment, the two ends of the valve body are respectively provided with a flange plate through bolts, and the flange plates are respectively provided with a pipeline through bolts.
In a further embodiment, a top cover is installed at the top end of the valve body through bolts, and a sealing sleeve is welded in the middle of the top end of the top cover.
In a further embodiment, a protective framework is welded on the outer side of the sealing sleeve, an adjusting handle is mounted at the top end of the screw rod in an embedded mode, and the screw rod penetrates through the sealing sleeve to be mounted.
In a further embodiment, the pressing plate is arranged in a disc structure, and a rubber pad is bonded to the bottom end of the pressing plate.
In a further embodiment, the outer diameter of the valve plug is the same as the caliber of the valve port, an expansion layer is arranged on the outer side of the valve plug, and the height of the flow control port is the same as the wall thickness of the valve port.
Compared with the prior art, the utility model has the beneficial effects that:
1. the utility model discloses a valve plug seals valve port department through vertical lift control mode, and the valve rod is established to the screw rod structure, screw rod and valve body top middle part screw hole lead screw transmission, make it carry out the accurate control to the lift of valve plug, this kind of mode is comparatively accurate to the seal control of valve port department, and be provided with on the valve plug with the equal size accuse of valve port wall flow mouth, can be through the control accuse flow mouth and the valve port wall height that staggers each other, adjust the accuse and flow, compare the accuse flow that staggers of side direction, vertical accuse flows better measurement, and make things convenient for the accurate control to the flow more.
2. The utility model discloses a top welding of valve plug has the clamp plate, and clamp plate cooperation valve plug compresses tightly sealed on the top of valve port, makes its sealing capacity to valve port department improve greatly.
Drawings
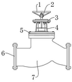
FIG. 1 is a schematic diagram of a low-twist plug valve according to the present invention;
FIG. 2 is a schematic view of the internal structure of the present invention;
FIG. 3 is a schematic view of a valve plug according to the present invention;
fig. 4 is a bottom view of the valve plug of the present invention.
In the figure: 1. an adjusting handle; 2. a screw; 3. sealing sleeves; 4. a protective framework; 5. a top cover; 6. a flange plate; 7. a valve body; 8. a valve port; 9. a valve plug; 10. pressing a plate; 11. a mounting head; 12. a flow control port; 13. a groove; 14. a water guide hole.
Detailed Description
The technical solutions in the embodiments of the present invention will be clearly and completely described below with reference to the drawings in the embodiments of the present invention, and it is obvious that the described embodiments are only a part of the embodiments of the present invention, and not all of the embodiments.
Referring to fig. 1-4, an embodiment of the present invention is shown: the utility model provides a low-twist plug valve, including valve plug 9, the bottom middle part of valve plug 9 is provided with recess 13, the middle part of recess 13 is provided with water guide hole 14, be used for the water guide through water guide hole 14, the outside of valve plug 9 is provided with accuse stream mouth 12, accuse stream mouth 12 is used for the water guide and controls the flow of drainage, the top welding of valve plug 9 has clamp plate 10, and valve plug 9 inlays and installs in valve port 8, can seal valve port 8 through clamp plate 10, and valve port 8 sets up the inner chamber position department placed in the middle at valve body 7, screw rod 2 is installed through installation head 11 in the top middle part of clamp plate 10, through screw rod 2 and screw hole lead screw transmission, make screw rod 2 control valve plug 9 go up and down, make valve plug 9 seal valve port 8, the top middle part of valve body 7 is provided with the screw hole, screw rod 2 is connected with screw hole lead screw transmission.
Further, flange plates 6 are mounted at two ends of the valve body 7 through bolts, pipelines are respectively mounted on the flange plates 6 through bolts, and the flange plates 6 are used for being connected and fixed with the valve body 7.
Further, top cap 5 is installed through the bolt in the top of valve body 7, and the welding of top end middle part of top cap 5 has seal cover 3, seals valve port 8 through top cap 5, can prevent that liquid from leaking outward by the top through seal cover 3.
Further, the outside welding of seal cover 3 has protection skeleton 4, and the top of screw rod 2 is inlayed and is installed the regulation 1, and screw rod 2 passes seal cover 3 installation, is used for protecting seal cover 3's the outside through protection skeleton 4.
Further, the pressing plate 10 is of a disc structure, a rubber pad is bonded to the bottom end of the pressing plate 10, and the sealing performance of the pressing plate 10 on the valve port 8 is high through the rubber pad.
Further, the outer diameter of the valve plug 9 is the same as the caliber of the valve port 8, an expansion layer is arranged on the outer side of the valve plug 9, the height of the flow control port 12 is the same as the wall thickness of the valve port 8, and the flow can be accurately controlled through the design.
The working principle is as follows: when the valve is used, the screw rod 2 is controlled to rotate through the adjusting handle 1, the screw rod 2 is driven by the threaded hole screw rod in the middle of the top end of the valve body 7, the valve plug 9 is controlled to lift by the screw rod 2, the valve plug 9 is sealed in the valve port 8, meanwhile, when the valve is completely closed, the top end of the valve port 8 is sealed through the pressing plate 10, the lifting of the valve plug 9 is controlled through the screw rod 2, the size of the flow control port 12 on the valve plug 9 and the size of the valve port wall which are mutually staggered can be adjusted, a medium is conveyed to the flow control port 12 through the water guide hole 14 to be discharged, the flow can be accurately adjusted, the flange plates 6 at the two ends of the valve body 7 can be connected with a pipeline, the sealing sleeve 3 is used for water-up sealing protection, and the protective framework 4 is used for carrying out safety protection on the outer side of the sealing sleeve 3.
It will be evident to those skilled in the art that the utility model is not limited to the details of the foregoing illustrative embodiments, and that the present invention may be embodied in other specific forms without departing from the spirit or essential attributes thereof. The present embodiments are therefore to be considered in all respects as illustrative and not restrictive, the scope of the utility model being indicated by the appended claims rather than by the foregoing description, and all changes which come within the meaning and range of equivalency of the claims are therefore intended to be embraced therein. Any reference sign in a claim should not be construed as limiting the claim concerned.

Claims (6)

1. A low-twist plug valve comprises a valve body (7) and a valve plug (9), and is characterized in that: the bottom middle part of valve plug (9) is provided with recess (13), the middle part of recess (13) is provided with water guide hole (14), the outside of valve plug (9) is provided with accuse flow mouth (12), the inner chamber position department placed in the middle of the valve body is provided with the valve port, the top welding of valve plug (9) has clamp plate (10), and valve plug (9) inlays and installs in valve port (8), screw rod (2) are installed through installation head (11) in the middle part of the top of clamp plate (10), the top middle part of valve body (7) is provided with the screw hole, and screw rod (2) are connected with screw hole lead screw transmission.
2. A low-twist plug valve according to claim 1, wherein: the flange plates (6) are mounted at the two ends of the valve body (7) through bolts, and pipelines are respectively mounted on the flange plates (6) through bolts.
3. A low-twist plug valve according to claim 1, wherein: the top end of the valve body (7) is provided with a top cover (5) through a bolt, and the middle part of the top end of the top cover (5) is welded with a sealing sleeve (3).
4. A low twist plug valve according to claim 3, wherein: the outer side welding of seal cover (3) has protection skeleton (4), the top of screw rod (2) is inlayed and is installed regulation handle (1), screw rod (2) pass seal cover (3) and install.
5. A low-twist plug valve according to claim 1, wherein: the pressing plate (10) is of a disc structure, and a rubber pad is bonded at the bottom end of the pressing plate (10).
6. A low-twist plug valve according to claim 1, wherein: the outer diameter of the valve plug (9) is the same as the caliber of the valve port (8), an expansion layer is arranged on the outer side of the valve plug (9), and the height of the flow control port (12) is the same as the wall thickness of the valve port (8).
CN202123119871.XU 2021-12-13 2021-12-13 Low-torsion plug valve Active CN216407754U (en)

Priority Applications (1)

Application Number Priority Date Filing Date Title
CN202123119871.XU CN216407754U (en) 2021-12-13 2021-12-13 Low-torsion plug valve

Applications Claiming Priority (1)

Application Number Priority Date Filing Date Title
CN202123119871.XU CN216407754U (en) 2021-12-13 2021-12-13 Low-torsion plug valve

Publications (1)

Publication Number Publication Date
CN216407754U true CN216407754U (en) 2022-04-29

Family

ID=81282549

Family Applications (1)

Application Number Title Priority Date Filing Date
CN202123119871.XU Active CN216407754U (en) 2021-12-13 2021-12-13 Low-torsion plug valve

Country Status (1)

Country Link
CN (1) CN216407754U (en)

Similar Documents

Publication Publication Date Title
CN212004343U (en) Novel oil seal type plug valve
CN216407754U (en) Low-torsion plug valve
CN108869764B (en) High leakproofness butterfly valve
CN207975265U (en) A kind of bidirectional sealed butterfly valve using fluoroplastics valve seat construction
CN102644760A (en) Sealing structure of ultrahigh-pressure needle valve
CN221054314U (en) Stainless steel seal assembly of regulating valve
CN218207858U (en) Butterfly valve with high sealing performance
CN221569484U (en) V-shaped ball valve
CN218207883U (en) Gate valve with protection function
CN214946809U (en) Interconnected metering ball valve type valve port
CN206368972U (en) A kind of novel cutoff valve
CN105090538B (en) From filling pressure sealing butterfly valve
CN205937950U (en) Take monolith support's ball valve that valve rod blew off of preventing
CN204962008U (en) Two packing seal valves
CN210949953U (en) Gate valve with anti-interference non-return function
CN216279512U (en) High-sealing ball valve easy to assemble and disassemble
CN201103716Y (en) Electric three-way valve for inlet of high pressure heater
CN113154071A (en) Soft sealing gate valve
CN219888786U (en) Axial sealing floating ball valve
CN220185961U (en) Valve rod leakage-proof device
CN221120920U (en) Integrated small water valve
CN203421204U (en) Sealing and adjusting ball valve
CN206274078U (en) A kind of idle call cutoff valve with high sealing performance
CN218152401U (en) High-performance double-eccentric ceramic valve seat
CN214789101U (en) Open-type U-shaped butterfly valve

Legal Events

Date Code Title Description
GR01 Patent grant
GR01 Patent grant
PE01 Entry into force of the registration of the contract for pledge of patent right
PE01 Entry into force of the registration of the contract for pledge of patent right

Denomination of utility model: A low torque plug valve

Granted publication date: 20220429

Pledgee: China Postal Savings Bank Co.,Ltd. Dongying Kenli District sub branch

Pledgor: SHANDONG YUKOS PETROLEUM EQUIPMENT CO.,LTD.

Registration number: Y2024980026443