CN216404772U - Printed calico dyeing equipment of easily operating - Google Patents

Printed calico dyeing equipment of easily operating Download PDF

Info

Publication number
CN216404772U
CN216404772U CN202123336512.XU CN202123336512U CN216404772U CN 216404772 U CN216404772 U CN 216404772U CN 202123336512 U CN202123336512 U CN 202123336512U CN 216404772 U CN216404772 U CN 216404772U
Authority
CN
China
Prior art keywords
printing
dyeing
dyeing box
box
rotating shaft
Prior art date
Legal status (The legal status is an assumption and is not a legal conclusion. Google has not performed a legal analysis and makes no representation as to the accuracy of the status listed.)
Expired - Fee Related
Application number
CN202123336512.XU
Other languages
Chinese (zh)
Inventor
史燕平
钱得琪
王耀
Current Assignee (The listed assignees may be inaccurate. Google has not performed a legal analysis and makes no representation or warranty as to the accuracy of the list.)
Yixing Weiye Printing And Dyeing Co ltd
Original Assignee
Yixing Weiye Printing And Dyeing Co ltd
Priority date (The priority date is an assumption and is not a legal conclusion. Google has not performed a legal analysis and makes no representation as to the accuracy of the date listed.)
Filing date
Publication date
Application filed by Yixing Weiye Printing And Dyeing Co ltd filed Critical Yixing Weiye Printing And Dyeing Co ltd
Priority to CN202123336512.XU priority Critical patent/CN216404772U/en
Application granted granted Critical
Publication of CN216404772U publication Critical patent/CN216404772U/en
Expired - Fee Related legal-status Critical Current
Anticipated expiration legal-status Critical

Links

Images

Landscapes

  • Treatment Of Fiber Materials (AREA)

Abstract

The utility model provides easy-to-operate printed cloth dyeing equipment which comprises a printing and dyeing box, wherein two ends of the top of the printing and dyeing box are provided with feeding mechanisms, the bottom of the printing and dyeing box is provided with a base in an extending mode, one side of the top of the base is fixedly provided with an L-shaped support, the top of the L-shaped support is positioned above the printing and dyeing box, two sides of the top end inside the L-shaped support are fixedly provided with first hydraulic cylinders through bolts, the bottom of each first hydraulic cylinder is connected with a connecting block, a rotating roller is arranged between the connecting blocks, two ends of each rotating roller are connected with the connecting blocks through bearings, each feeding mechanism comprises U-shaped frames fixed on two sides inside the printing and dyeing box and material guide rollers arranged between the U-shaped frames, and two ends of each material guide roller are fixed on the U-shaped frames through bearings. This application can push the cloth into the printing and dyeing case through first pneumatic cylinder in, increase the area of contact of cloth and dyestuff, increase the dyeing effect then.

Description

一种易于操作的印花布染色设备An easy-to-operate calico dyeing equipment

技术领域technical field

本实用新型属于染色设备技术领域,特别是指一种易于操作的印花布染色设备。The utility model belongs to the technical field of dyeing equipment, in particular to an easy-to-operate printing cloth dyeing equipment.

背景技术Background technique

目前,在对布料上色时,需要通过专用的染色设备进行染色,而现有的染色设备上的导料辊通常固定连接在染色机构上,位置不能进行调节,导致布料与染料的接触面积恒定,染色时间不足而影响染色效果,且染色完成后的布料在向下一工序移动的过程中,布料上吸附的多余染料会滴落到工作环境中,造成极大的浪费,为此,我们提出一种易于操作的印花布染色设备。At present, when dyeing the fabric, it needs to be dyed by special dyeing equipment, and the guide roller on the existing dyeing equipment is usually fixedly connected to the dyeing mechanism, and the position cannot be adjusted, resulting in a constant contact area between the fabric and the dye. , the dyeing time is insufficient and the dyeing effect is affected. In the process of moving the dyed fabric to the next process, the excess dye adsorbed on the fabric will drip into the working environment, causing great waste. For this reason, we propose An easy-to-operate calico dyeing equipment.

实用新型内容Utility model content

为解决以上现有技术的不足,本实用新型提出了一种易于操作的印花布染色设备。In order to solve the above shortcomings of the prior art, the utility model proposes an easy-to-operate printed cloth dyeing equipment.

本实用新型的技术方案是这样实现的:The technical scheme of the present utility model is realized in this way:

一种易于操作的印花布染色设备,包括印染箱,所述印染箱顶部两端安装有送料机构,所述印染箱底部延伸设有底座,底座的顶部一侧固定安装有L型支架,且L型支架顶部位于印染箱上方,L型支架的内部顶端两侧均通过螺栓固定安装有第一液压缸,第一液压缸的底部连接有连接块,连接块之间设有转动辊,转动辊两端均通过轴承与连接块相连。An easy-to-operate printed cloth dyeing equipment includes a printing and dyeing box, a feeding mechanism is installed at both ends of the top of the printing and dyeing box, a base is extended at the bottom of the printing and dyeing box, an L-shaped bracket is fixedly installed on one side of the top of the base, and the L-shaped bracket is installed. The top of the L-shaped bracket is located above the printing and dyeing box, and both sides of the inner top of the L-shaped bracket are fixed with a first hydraulic cylinder by bolts. The bottom of the first hydraulic cylinder is connected with a connecting block, and a rotating roller is arranged between the connecting blocks. Both ends are connected to the connecting block through bearings.

优选的是,送料机构包括固定在印染箱内部两侧的U型架,还包括设置在U型架之间的导料辊,所述导料辊两端通过轴承固定在U型架上,通过导料辊可将布料匀速输送到印染箱内进行染色,染色完成后再将染色后的布料输送到下一工序。Preferably, the feeding mechanism includes a U-shaped frame fixed on both sides of the inside of the printing and dyeing box, and also includes a material guide roller arranged between the U-shaped frames. Both ends of the material guide roller are fixed on the U-shaped frame through bearings. The guide roller can transport the fabric to the printing and dyeing box at a constant speed for dyeing, and after the dyeing is completed, the dyed fabric is transported to the next process.

优选的是,所述印染箱的内部设有搅拌机构,搅拌机构包括设置在印染箱内部两端的第一转轴和第二转轴,第一转轴和第二转轴的两端通过轴承固定在印染箱两侧,所述第一转轴的一端连接有电机,电机通过电机安装架固定在印染箱的侧面,所述第一转轴和第二转轴的另一端均固定安装有皮带轮,皮带轮通过皮带相连,染色时,可控制电机工作,电机可在皮带轮的作用下同时带动第一转轴和第二转轴转动,对染料进行搅拌,提高印染效果;Preferably, the inside of the printing and dyeing box is provided with a stirring mechanism, and the stirring mechanism includes a first rotating shaft and a second rotating shaft arranged at both ends of the inside of the printing and dyeing box, and both ends of the first rotating shaft and the second rotating shaft are fixed on the two sides of the printing and dyeing box through bearings. One end of the first rotating shaft is connected with a motor, the motor is fixed on the side of the printing and dyeing box through the motor mounting frame, the other ends of the first rotating shaft and the second rotating shaft are fixedly installed with pulleys, and the pulleys are connected by a belt. , can control the motor work, the motor can drive the first shaft and the second shaft to rotate at the same time under the action of the pulley, stir the dye, and improve the printing and dyeing effect;

所述第一转轴和第二转轴的侧面均连接有至少三组搅拌叶,搅拌叶为等距设置,搅拌叶为等距设置,通过搅拌叶可搅动染料,使得染料与布料充分接触,提高染色效果。The sides of the first rotating shaft and the second rotating shaft are connected with at least three groups of stirring blades, the stirring blades are arranged at equal distances, and the stirring blades are arranged at equal distances. Effect.

优选的是,所述L型支架的内部顶端一侧固定安装有第二液压缸,第二液压缸的自由端连接有横杆,横杆的外表面设有挤压辊,挤压辊与横杆之间为转动连接,且挤压辊的一侧与导料辊相接触,印染后的布料沿着导料辊向下一工序移动,与此同时,控制第二液压缸移动,第二液压缸带动横杆移动,使得挤压辊对导料辊上的布料进行挤压,将布料吸附多余的染料挤出,挤出后的染料再次落入印染箱内,以免浪费。Preferably, a second hydraulic cylinder is fixedly installed on one side of the inner top end of the L-shaped bracket, the free end of the second hydraulic cylinder is connected with a cross bar, the outer surface of the cross bar is provided with a squeezing roller, and the squeezing roller is connected to the horizontal bar. There is a rotational connection between the rods, and one side of the squeeze roller is in contact with the guide roller. The cloth after printing and dyeing moves along the guide roller to the next process. At the same time, the second hydraulic cylinder is controlled to move, and the second hydraulic The cylinder drives the horizontal bar to move, so that the squeezing roller squeezes the fabric on the guide roller, and the fabric absorbs the excess dye and extrudes, and the extruded dye falls into the printing and dyeing box again to avoid waste.

优选的是,所述底座顶部一端固定安装有输料泵,输料泵两端设有进料管,进料管的一端连接于印染箱的侧面,且进料管与印染箱内部相连通,进料管另一端与外界储料箱相连;Preferably, a feeding pump is fixedly installed at one end of the top of the base, a feeding pipe is provided at both ends of the feeding pump, one end of the feeding pipe is connected to the side of the printing and dyeing box, and the feeding pipe is communicated with the interior of the printing and dyeing box, The other end of the feeding pipe is connected to the external storage box;

染箱的内部底面设有液位传感器,且印染箱的侧面设有PLC控制器,PLC控制器、液位传感器和输料泵通过数据线相连,当印染箱内的染料液面下降到一定高度时,液位传感器将信号传递到控制器内,通过控制器控制输料泵工作,将外界储料箱内的染料经过进料管输送到印染箱内,进行补充。The inner bottom of the dyeing box is provided with a liquid level sensor, and the side of the printing and dyeing box is provided with a PLC controller. The PLC controller, the liquid level sensor and the feeding pump are connected by a data line. When the dye liquid level in the printing and dyeing box drops to a certain height When the liquid level sensor transmits the signal to the controller, the controller controls the feeding pump to work, and the dye in the external storage tank is transported to the printing and dyeing box through the feeding pipe for replenishment.

优选的是,所述印染箱的内部两侧均匀设有若干个加热块,加热块为等距设置,通过加热块可对印染箱内的染料进行加热,以免染料温度过低而影响染色。Preferably, several heating blocks are evenly arranged on both sides of the inner side of the printing and dyeing box, and the heating blocks are arranged at equal distances, and the dyes in the printing and dyeing box can be heated by the heating blocks, so as to avoid the dyeing temperature being too low and affecting the dyeing.

与现有技术相比,本装置通过第一液压缸可将转动辊移入印染箱内部,从而增加布料与印染箱内部染料的接触面积,再通过搅拌叶搅动染料,进一步增加布料的染色效果,通过第二液压缸可使得挤压辊与导料辊紧密接触,将布料上吸附的多余染料挤出,以免造成浪费。Compared with the prior art, the device can move the rotating roller into the interior of the printing and dyeing box through the first hydraulic cylinder, thereby increasing the contact area between the cloth and the dye inside the printing and dyeing box, and then stirring the dye through the stirring blade to further increase the dyeing effect of the cloth. The second hydraulic cylinder can make the squeeze roller and the guide roller in close contact, and squeeze out the excess dye absorbed on the cloth, so as to avoid waste.

附图说明Description of drawings

附图用来提供对本实用新型的进一步理解,并且构成说明书的一部分,与本实用新型的实施例一起用于解释本实用新型,并不构成对本实用新型的限制。The accompanying drawings are used to provide a further understanding of the present invention, and constitute a part of the specification, and are used to explain the present invention together with the embodiments of the present invention, and do not constitute a limitation to the present invention.

在附图中:In the attached image:

图1为本实用新型提出的一种易于操作的印花布染色设备的结构前视图。Fig. 1 is a structural front view of an easy-to-operate printed cloth dyeing equipment proposed by the utility model.

图2为本实用新型提出的一种易于操作的印花布染色设备的结构后视图。FIG. 2 is a rear view of the structure of an easy-to-operate printed cloth dyeing equipment proposed by the utility model.

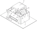
图中:1-印染箱、2-底座、3-L型支架、4-第一液压缸、5-连接块、6-转动辊、7-U型架、8-导料辊、9-第一转轴、10-第二转轴、11-电机、12-皮带轮、13-搅拌叶、14-第二液压缸、15-横杆、16-挤压辊、17-输料泵、18-进料管、19-液位传感器、20-PLC控制器、21-加热块。In the picture: 1-printing and dyeing box, 2-base, 3-L-shaped bracket, 4-first hydraulic cylinder, 5-connection block, 6-rotating roller, 7-U-shaped frame, 8-feeding roller, 9-first One shaft, 10-second shaft, 11-motor, 12-belt pulley, 13-stirring blade, 14-second hydraulic cylinder, 15-crossbar, 16-extrusion roller, 17-feeding pump, 18-feeding Tube, 19-liquid level sensor, 20-PLC controller, 21-heating block.

具体实施方式Detailed ways

下面将结合本实用新型实施例中的附图,对本实用新型实施例中的技术方案进行清楚、完整地描述,显然,所描述的实施例仅仅是本实用新型一部分实施例,而不是全部的实施例。基于本实用新型中的实施例,本领域普通技术人员在没有作出创造性劳动前提下所获得的所有其他实施例,都属于本实用新型保护的范围。The technical solutions in the embodiments of the present utility model will be clearly and completely described below with reference to the accompanying drawings in the embodiments of the present utility model. Obviously, the described embodiments are only a part of the embodiments of the present utility model, rather than all the implementations. example. Based on the embodiments of the present invention, all other embodiments obtained by those of ordinary skill in the art without creative work fall within the protection scope of the present invention.

请参阅图1-2,本实用新型提供一种技术方案:一种易于操作的印花布染色设备,包括印染箱1,印染箱1顶部两端安装有送料机构,通过送料机构可将带染色的布料输送到印染箱1内,进行染色;1-2, the present utility model provides a technical solution: an easy-to-operate printed cloth dyeing equipment, including a printing and dyeing box 1, and a feeding mechanism is installed at both ends of the top of the printing and dyeing box 1. The cloth is transported into the printing and dyeing box 1 for dyeing;

印染箱1底部延伸设有底座2,底座2的顶部一侧固定安装有L型支架3,且L型支架3顶部位于印染箱1上方,L型支架3的内部顶端两侧均通过螺栓固定安装有第一液压缸4,第一液压缸4的底部连接有连接块5,连接块5之间设有转动辊6,转动辊6两端均通过轴承与连接块5相连,通过第一液压缸4可推动转动辊6移动,使得转动辊6将布料压入印染箱1内进行染色,可根据需要调节布料与印染箱1内染料接触面积,提高染色效果。The bottom of the printing and dyeing box 1 is extended with a base 2, and one side of the top of the base 2 is fixedly installed with an L-shaped bracket 3, and the top of the L-shaped bracket 3 is located above the printing and dyeing box 1, and both sides of the inner top of the L-shaped bracket 3 are fixed by bolts. There is a first hydraulic cylinder 4, the bottom of the first hydraulic cylinder 4 is connected with a connecting block 5, a rotating roller 6 is arranged between the connecting blocks 5, and both ends of the rotating roller 6 are connected with the connecting block 5 through bearings, and the first hydraulic cylinder 4. The rotating roller 6 can be pushed to move, so that the rotating roller 6 presses the cloth into the printing and dyeing box 1 for dyeing, and the contact area between the cloth and the dye in the printing and dyeing box 1 can be adjusted as required to improve the dyeing effect.

使用时,布料沿着导料辊8移动,在移动过程中,控制第一液压缸4工作,第一液压缸4带动连接块5移动,使得转动辊6将布料压入印染箱1内,进行染色,与此同时,控制电机11工作,电机11通过皮带轮12带动第一转轴9和第二转轴10转动,使得搅拌叶13搅动染料,增加布料与染料的接触面积,从而可使得染色较为充分,染色后的布料移动到印染箱1另一端上的导料辊8上时,控制第二液压缸14移动,第二液压缸14通过横杆15带动挤压辊16工作,通过挤压辊16可将布料上多余的染料挤压出来,挤压出的染料落入印染箱1内,以免造成浪费,当印染箱1内的染料不足时,液位传感器19将信号传递到PLC控制器20上,PLC控制器20控制输料泵17工作,将外界储料箱内的染料经过进料管18输送到印染箱1内,对印染箱1内的染料进行及时补充。When in use, the cloth moves along the guide roller 8. During the moving process, the first hydraulic cylinder 4 is controlled to work, and the first hydraulic cylinder 4 drives the connecting block 5 to move, so that the rotating roller 6 presses the cloth into the printing and dyeing box 1, and the operation is carried out. Dyeing, at the same time, control the motor 11 to work, the motor 11 drives the first rotating shaft 9 and the second rotating shaft 10 to rotate through the pulley 12, so that the stirring blade 13 stirs the dye and increases the contact area between the cloth and the dye, so that the dyeing can be more sufficient, When the dyed fabric moves to the guide roller 8 on the other end of the printing and dyeing box 1, the second hydraulic cylinder 14 is controlled to move, and the second hydraulic cylinder 14 drives the squeeze roller 16 to work through the cross bar 15. Extrude the excess dye on the cloth, and the extruded dye falls into the printing and dyeing box 1 to avoid waste. When the dye in the printing and dyeing box 1 is insufficient, the liquid level sensor 19 transmits the signal to the PLC controller 20. The PLC controller 20 controls the feeding pump 17 to work, and transports the dyes in the external storage tank to the printing and dyeing box 1 through the feeding pipe 18 to replenish the dyes in the printing and dyeing box 1 in time.

其中,如图1所示,送料机构包括固定在印染箱1内部两侧的U型架7,还包括设置在U型架7之间的导料辊8,导料辊8两端通过轴承固定在U型架7上,通过导料辊8可将布料匀速输送到印染箱1内进行染色,染色完成后再将染色后的布料输送到下一工序。Among them, as shown in FIG. 1 , the feeding mechanism includes U-shaped frames 7 fixed on both sides of the interior of the printing and dyeing box 1, and also includes a guide roller 8 arranged between the U-shaped frames 7, and both ends of the guide roller 8 are fixed by bearings. On the U-shaped frame 7, the fabric can be transported into the printing and dyeing box 1 at a constant speed through the guide roller 8 for dyeing, and after the dyeing is completed, the dyed fabric is transported to the next process.

其中,如图1-2所示,印染箱1的内部设有搅拌机构,搅拌机构包括设置在印染箱1内部两端的第一转轴9和第二转轴10,第一转轴9和第二转轴10的两端通过轴承固定在印染箱1两侧,第一转轴9的一端连接有电机11,电机11通过电机安装架固定在印染箱1的侧面,第一转轴9和第二转轴10的另一端均固定安装有皮带轮12,皮带轮12通过皮带相连,染色时,可控制电机11工作,电机11可在皮带轮12的作用下同时带动第一转轴9和第二转轴10转动,对染料进行搅拌,提高印染效果;Among them, as shown in Fig. 1-2, the inside of the printing box 1 is provided with a stirring mechanism, and the stirring mechanism includes a first rotating shaft 9 and a second rotating shaft 10 arranged at both ends of the inside of the printing and dyeing box 1. The first rotating shaft 9 and the second rotating shaft 10 The two ends of the printing and dyeing box 1 are fixed on both sides of the printing and dyeing box 1 through bearings, one end of the first rotating shaft 9 is connected with a motor 11, and the motor 11 is fixed on the side of the printing and dyeing box 1 through the motor mounting frame. The pulley 12 is fixedly installed, and the pulley 12 is connected by a belt. When dyeing, the motor 11 can be controlled to work. The motor 11 can simultaneously drive the first rotating shaft 9 and the second rotating shaft 10 under the action of the pulley 12. printing and dyeing effect;

第一转轴9和第二转轴10的侧面均连接有至少三组搅拌叶13,搅拌叶13为等距设置,通过搅拌叶13可搅动染料,使得染料与布料充分接触,提高染色效果。At least three groups of stirring blades 13 are connected to the sides of the first rotating shaft 9 and the second rotating shaft 10. The stirring blades 13 are equidistantly arranged. The stirring blades 13 can stir the dyestuff, so that the dyestuff and the cloth are fully contacted, and the dyeing effect is improved.

其中,如图1所示,L型支架3的内部顶端一侧固定安装有第二液压缸14,第二液压缸14的自由端连接有横杆15,横杆15的外表面设有挤压辊16,挤压辊16与横杆15之间为转动连接,且挤压辊16的一侧与导料辊8相接触,印染后的布料沿着导料辊8向下一工序移动,与此同时,控制第二液压缸14移动,第二液压缸14带动横杆15移动,使得挤压辊16对导料辊8上的布料进行挤压,将布料吸附多余的染料挤出,挤出后的染料再次落入印染箱1内,以免浪费。Among them, as shown in FIG. 1 , the inner top side of the L-shaped bracket 3 is fixedly installed with a second hydraulic cylinder 14 , the free end of the second hydraulic cylinder 14 is connected with a transverse rod 15 , and the outer surface of the transverse rod 15 is provided with an extrusion The roller 16, the squeezing roller 16 and the cross bar 15 are connected in rotation, and one side of the squeezing roller 16 is in contact with the guide roller 8, and the printed and dyed fabric moves along the guide roller 8 to the next process. At the same time, the second hydraulic cylinder 14 is controlled to move, and the second hydraulic cylinder 14 drives the cross bar 15 to move, so that the squeezing roller 16 squeezes the cloth on the guide roller 8, and the cloth absorbs excess dye and squeezes out. The latter dyes fall into the printing and dyeing box 1 again to avoid waste.

其中,如图2所示,底座2顶部一端固定安装有输料泵17,输料泵17两端设有进料管18,进料管18的一端连接于印染箱1的侧面,且进料管18与印染箱1内部相连通,进料管18另一端与外界储料箱相连,当印染箱1内的染料不足时,通过输料泵17可将外界储料箱内的染料沿着进料管18输送到印染箱1内,以免颜料不足而影响染色;Among them, as shown in FIG. 2, a feeding pump 17 is fixedly installed at one end of the top of the base 2, and feeding pipes 18 are provided at both ends of the feeding pump 17. One end of the feeding pipe 18 is connected to the side of the printing and dyeing box 1, and the feeding The tube 18 is communicated with the inside of the printing and dyeing box 1, and the other end of the feeding tube 18 is connected with the external storage box. When the dye in the printing and dyeing box 1 is insufficient, the dye in the external storage box can be fed along the feeding by the feeding pump 17. The material pipe 18 is transported into the printing and dyeing box 1, so as not to affect the dyeing due to insufficient pigment;

印染箱1的内部底面设有液位传感器19,且印染箱1的侧面设有PLC控制器20,PLC控制器20、液位传感器19和输料泵17通过数据线相连,当印染箱1内的染料液面下降到一定高度时,液位传感器19将信号传递到PLC控制器20内,通过PLC控制器20控制输料泵17工作,将外界储料箱内的染料经过进料管18输送到印染箱1内,进行补充。The inner bottom surface of the printing and dyeing box 1 is provided with a liquid level sensor 19, and the side of the printing and dyeing box 1 is provided with a PLC controller 20. The PLC controller 20, the liquid level sensor 19 and the feeding pump 17 are connected through a data line. When the liquid level of the dyestuff drops to a certain height, the liquid level sensor 19 transmits the signal to the PLC controller 20, and the PLC controller 20 controls the feeding pump 17 to work, and the dye in the external storage tank is transported through the feeding pipe 18. To the printing and dyeing box 1 for replenishment.

其中,如图1所示,印染箱1的内部两侧均匀设有若干个加热块21,加热块21为等距设置,通过加热块21可对印染箱1内的染料进行加热,以免染料温度过低而影响染色。Among them, as shown in FIG. 1 , several heating blocks 21 are evenly arranged on both sides of the inner side of the printing and dyeing box 1. The heating blocks 21 are arranged at equal distances, and the dyes in the printing and dyeing box 1 can be heated by the heating blocks 21 to avoid the temperature Too low to affect staining.

本实用新型所用的第一液压缸4、第二液压缸14、输料泵17、液位传感器19、PLC控制器20、加热块21均采用现有技术,本领域技术人员可根据需要进行选择,在此不做特殊限定。The first hydraulic cylinder 4, the second hydraulic cylinder 14, the feeding pump 17, the liquid level sensor 19, the PLC controller 20, and the heating block 21 used in the present invention all adopt the existing technology, and those skilled in the art can choose according to their needs. , no special restrictions are made here.

尽管已经示出和描述了本实用新型的实施例,对于本领域的普通技术人员而言,可以理解在不脱离本实用新型的原理和精神的情况下可以对这些实施例进行多种变化、修改、替换和变型,本实用新型的范围由所附权利要求及其等同物限定。Although the embodiments of the present invention have been shown and described, it will be understood by those skilled in the art that various changes and modifications can be made to these embodiments without departing from the principles and spirit of the present invention , alternatives and modifications, the scope of the present invention is defined by the appended claims and their equivalents.

Claims (6)

1. The utility model provides an easy calico dyeing equipment of operation, includes printing and dyeing case (1), its characterized in that, feeding mechanism is installed at printing and dyeing case (1) top both ends, printing and dyeing case (1) bottom is extended and is equipped with base (2), and top one side fixed mounting of base (2) has L type support (3), and L type support (3) top is located printing and dyeing case (1) top, and the inside top both sides of L type support (3) all have first pneumatic cylinder (4) through bolt fixed mounting, and the bottom of first pneumatic cylinder (4) is connected with connecting block (5), is equipped with between connecting block (5) and rotates roller (6), and rotate roller (6) both ends all link to each other with connecting block (5) through the bearing.
2. An easy-to-operate calico dyeing apparatus according to claim 1, characterized in that the feeding mechanism comprises U-shaped frames (7) fixed on both sides of the inside of the printing and dyeing box (1), and further comprises a guide roller (8) arranged between the U-shaped frames (7), and both ends of the guide roller (8) are fixed on the U-shaped frames (7) through bearings.
3. The easy-to-operate printed cloth dyeing equipment is characterized in that a stirring mechanism is arranged inside the printing and dyeing box (1), the stirring mechanism comprises a first rotating shaft (9) and a second rotating shaft (10) which are arranged at two ends inside the printing and dyeing box (1), two ends of the first rotating shaft (9) and two ends of the second rotating shaft (10) are fixed at two sides of the printing and dyeing box (1) through bearings, one end of the first rotating shaft (9) is connected with a motor (11), the motor (11) is fixed at the side surface of the printing and dyeing box (1) through a motor mounting frame, a belt pulley (12) is fixedly installed at the other end of each of the first rotating shaft (9) and the second rotating shaft (10), and the belt pulleys (12) are connected through belts; the side of first pivot (9) and second pivot (10) all is connected with three at least groups stirring leaf (13), and stirring leaf (13) are the equidistance setting.
4. The easy-to-operate printed calico dyeing apparatus according to claim 1, characterized in that, a second hydraulic cylinder (14) is fixedly installed on one side of the top end inside the L-shaped support (3), a cross bar (15) is connected to the free end of the second hydraulic cylinder (14), a squeeze roll (16) is arranged on the outer surface of the cross bar (15), the squeeze roll (16) is rotatably connected with the cross bar (15), and one side of the squeeze roll (16) is in contact with the guide roll (8).
5. The easy-to-operate printed calico dyeing equipment according to claim 1, characterized in that, a material delivery pump (17) is fixedly installed at one end of the top of the base (2), a material feeding pipe (18) is installed at two ends of the material delivery pump (17), one end of the material feeding pipe (18) is connected to the side surface of the printing and dyeing box (1), the material feeding pipe (18) is communicated with the inside of the printing and dyeing box (1), and the other end of the material feeding pipe (18) is connected with an external material storage box;
the inside bottom surface of printing and dyeing case (1) is equipped with level sensor (19), and the side of printing and dyeing case (1) is equipped with PLC controller (20), and PLC controller (20), level sensor (19) and defeated material pump (17) link to each other through the data line.
6. An easy-to-operate calico dyeing apparatus in accordance with claim 1, characterized in that a plurality of heating blocks (21) are provided uniformly on both sides of the interior of the printing and dyeing box (1), the heating blocks (21) being disposed at equal intervals.
CN202123336512.XU 2021-12-28 2021-12-28 Printed calico dyeing equipment of easily operating Expired - Fee Related CN216404772U (en)

Priority Applications (1)

Application Number Priority Date Filing Date Title
CN202123336512.XU CN216404772U (en) 2021-12-28 2021-12-28 Printed calico dyeing equipment of easily operating

Applications Claiming Priority (1)

Application Number Priority Date Filing Date Title
CN202123336512.XU CN216404772U (en) 2021-12-28 2021-12-28 Printed calico dyeing equipment of easily operating

Publications (1)

Publication Number Publication Date
CN216404772U true CN216404772U (en) 2022-04-29

Family

ID=81287091

Family Applications (1)

Application Number Title Priority Date Filing Date
CN202123336512.XU Expired - Fee Related CN216404772U (en) 2021-12-28 2021-12-28 Printed calico dyeing equipment of easily operating

Country Status (1)

Country Link
CN (1) CN216404772U (en)

Cited By (1)

* Cited by examiner, † Cited by third party
Publication number Priority date Publication date Assignee Title
CN115404613A (en) * 2022-07-20 2022-11-29 晋江市宏兴服饰织造有限公司 Double-layer waterproof and heat-preservation swimwear fabric preparation device and preparation process thereof

Cited By (1)

* Cited by examiner, † Cited by third party
Publication number Priority date Publication date Assignee Title
CN115404613A (en) * 2022-07-20 2022-11-29 晋江市宏兴服饰织造有限公司 Double-layer waterproof and heat-preservation swimwear fabric preparation device and preparation process thereof

Similar Documents

Publication Publication Date Title
CN210368289U (en) Dyeing device for knitted fabric
CN216404772U (en) Printed calico dyeing equipment of easily operating
CN113684629A (en) Cloth printing and dyeing equipment for textile processing and use method thereof
CN108507278B (en) One kind, which is dyed cloth, expects drying wrap-up
CN219752694U (en) An environmentally friendly cotton yarn dyeing device
CN220977407U (en) Middle-arranged storage tank for printing and dyeing system
CN209890897U (en) Anti-static fabric dyeing equipment
CN212611373U (en) A dyeing tank with adjustable printing and dyeing time for printing and dyeing textiles
CN211284870U (en) Textile dyeing and finishing equipment
CN214056877U (en) A surface printing equipment for textile fabric processing
CN213772543U (en) Cold-batch ultrasonic dyeing machine
CN216998877U (en) Padding device for printing and dyeing cotton cloth
CN211843620U (en) Textile printing equipment capable of being printed and dyed quickly
CN218838976U (en) A digital inkjet printing device for a printing machine
CN218756527U (en) A textile dyeing machine
CN219356709U (en) A rubber coating device for processing of compound wrapping bag
CN113334898A (en) Glue point transferring compound machine for processing silica gel mattress
CN221142127U (en) Textile sizing device
CN214496785U (en) Uniform fabric sizing device before printing
CN221892795U (en) A scraper mechanism in a printing and dyeing device of a printing and dyeing machine
CN220927190U (en) Dyeing device for polyester elastic cloth
CN218436213U (en) Polyester fabric dyeing device
CN222715590U (en) Ultralow bath ratio continuous pad dyeing feeding device
CN217869530U (en) Oil pressure padder for wringing wet cloth
CN219079844U (en) Two-roller padding device for printing and dyeing

Legal Events

Date Code Title Description
GR01 Patent grant
GR01 Patent grant
CF01 Termination of patent right due to non-payment of annual fee
CF01 Termination of patent right due to non-payment of annual fee

Granted publication date: 20220429