CN216377260U - 一种物料提升装置 - Google Patents

一种物料提升装置 Download PDF

Info

Publication number
CN216377260U
CN216377260U CN202122596574.8U CN202122596574U CN216377260U CN 216377260 U CN216377260 U CN 216377260U CN 202122596574 U CN202122596574 U CN 202122596574U CN 216377260 U CN216377260 U CN 216377260U
Authority
CN
China
Prior art keywords
lifting device
material lifting
movable groove
operation platform
feeding notch
Prior art date
Legal status (The legal status is an assumption and is not a legal conclusion. Google has not performed a legal analysis and makes no representation as to the accuracy of the status listed.)
Active
Application number
CN202122596574.8U
Other languages
English (en)
Inventor
袁近辉
朱娜
王冠
韩瑞娜
王利
Current Assignee (The listed assignees may be inaccurate. Google has not performed a legal analysis and makes no representation or warranty as to the accuracy of the list.)
Xinjiang Tiantian Xiangshang Building Materials Co ltd
Original Assignee
Henan Zhaolin Municipal Engineering Co ltd
Priority date (The priority date is an assumption and is not a legal conclusion. Google has not performed a legal analysis and makes no representation as to the accuracy of the date listed.)
Filing date
Publication date
Application filed by Henan Zhaolin Municipal Engineering Co ltd filed Critical Henan Zhaolin Municipal Engineering Co ltd
Priority to CN202122596574.8U priority Critical patent/CN216377260U/zh
Application granted granted Critical
Publication of CN216377260U publication Critical patent/CN216377260U/zh
Active legal-status Critical Current
Anticipated expiration legal-status Critical

Links

Images

Landscapes

  • Invalid Beds And Related Equipment (AREA)

Abstract

本实用新型公开了一种物料提升装置,包括吊葫芦和支撑座,所述支撑座上方通过升降机构安装有作业平台,作业平台的右端部开设有上料凹口;所述上料凹口的上方固设有支架,支架的右端向外伸出,支架的顶面下方水平安装有第一滑杆和与驱动电机动力相连的第一螺杆,所述吊葫芦安装在连接架上;连接架的上端与滑杆滑动套设,并与螺杆螺纹套设;所述上料凹口内侧开设有活动槽,活动槽内设有通过调节机构控制、可向外伸出的支撑板。本实用新型旨在提供一种上料方便,物料提升省时省力的物料提升装置。

Description

一种物料提升装置
技术领域
本实用新型属于建筑施工设备领域,具体涉及一种物料提升装置。
背景技术
建筑施工中,经常需要将物料提升至高处进行作业。现有的物料提升装置一般是在施工平台中部开设上料口,吊升物料的体积会受上料口大小的限制,对施工造成不便。并且现有的提升装置通过吊绳将物料提升至作业平台上方后,物料仍处于悬空状态需要工人手动把物料拽到平台上,费时费力,存在安全隐患。
实用新型内容
为了解决现有技术的不足,本实用新型旨在提供一种上料方便,物料提升省时省力的物料提升装置。
为了实现上述目的,本实用新型采用的技术方案为:
一种物料提升装置,包括吊葫芦和支撑座,所述支撑座上方通过升降机构安装有作业平台,作业平台的右端部开设有上料凹口;所述上料凹口的上方固设有支架,支架的右端向外伸出,支架的顶面下方水平安装有第一滑杆和与驱动电机动力相连的第一螺杆,所述吊葫芦安装在连接架上;连接架的上端与滑杆滑动套设,并与螺杆螺纹套设;所述上料凹口内侧开设有活动槽,活动槽内设有通过调节机构控制、可向外伸出的支撑板。
优选地,所述支撑板底部通过滑轨与活动槽的底部相连。
优选地,所述活动槽远离开口处的内侧平行设置有第二滑杆和第二螺杆,第二螺杆的一端螺纹套设有两个移动块,另一端与调节机构相连;两个移动块均与第二滑杆滑动套设;所述支撑板处于活动槽内的端部设有两个交叉设置的活动杆,两个活动杆的一端部均铰接在支撑板上,中部转动连接在一起,另一端分别铰接在对应的移动块上。
优选地,所述调节机构包括壳体、摇把和齿轮,壳体安装在作业平台上方,设在外部的摇把贯穿壳体与壳体内的齿轮同心固连,齿轮向下贯穿作业平台与所述第二螺杆上相啮合。
优选地,所述活动槽的开口处设有抵触块,支撑板上方固设有与抵触块相配合的限位块。
优选地,所述上料凹口的开口边沿和支撑板的外沿处均设有耐磨垫片。
优选地,所述作业平台的四周边沿安装有防护栏。
优选地,所述支撑座远离上料凹口的一侧设有配重块。
本实用新型具有的有益效果为:
1. 与现有技术中需要人工将物料拽到平台上相比,本实用新型通过第一螺杆与连接杆的配合,能够使吊葫芦在水平方向上进行运动,进而实现物料的平移动作,有效减轻了施工人员的作业强度,使物料的提升更加省时省力。同时本实用新型通过设置上料凹口能够有效扩大上料作业空间,更有利于大体积物料的吊升作业,提高上料效率。
2. 支撑板底部通过滑轨与活动槽的底部相连,当上料完成后,控制调节机构动作,能够使支撑板向外滑动伸出,进而将上料凹口闭合封住,提高作业安全性。
3. 需要支撑板伸出闭合上料凹口时,转动摇把通过齿轮带动第二螺杆转动,使两个移动块能够相向运动,进而使两个活动杆推着支撑板向外伸出,实现对支撑板的有效控制。上料作业时,只需通过转动摇把即可将支撑板收回活动槽中,简单方便,支撑板的收放更加省力高效。
4. 通过限位块与抵触块的配合能对支撑板的伸出长度进行有效限制,防止上料时支撑板受力向外拽出,有效提高装置运行的稳定性。
5. 上料凹口的开口边沿和支撑板的外沿处均设有耐磨垫片,有效避免上料时上料凹口和支撑板边沿磕碰物料,耐磨垫片可起到有效的缓冲作用。
附图说明
图1为本实用新型的结构示意图;
图2为本实用新型作业平台的俯视图;
图3为本实用新型作业平台的剖面图;
图4为本实用新型支撑板的连接示意图。
具体实施方式
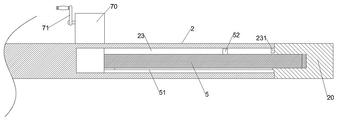
如图1-4所示,本实用新型提出了一种物料提升装置,包括吊葫芦4和支撑座1,支撑座1上方通过升降机构12(可采用液压气缸)安装有作业平台2,作业平台2的右端部向内开设有上料凹口20。上料凹口20的上方固设有支架3,倒L型结构的支架3右端伸出作业平台2外,支架3的顶面下方水平安装有第一滑杆31和与驱动电机动力相连的第一螺杆32,第一滑杆31起限位作用。吊葫芦4安装在连接架33上,连接架33的上端与滑杆滑动套设并与螺杆螺纹套设。支撑座1远离上料凹口20的一侧设有配重块11,有效提高配重,保证作业安全。
吊葫芦4的吊绳将物料提升至作业平台2上方后,控制驱动电机带动第一螺杆32动作,使连接架33带着吊葫芦4向左动作,将物料平移至作业平台2中部上方后,控制吊葫芦4将物料放置在作业平台2上即可。与现有技术中需要人工将物料拽到平台上相比,本实用新型通过第一螺杆32与连接杆的配合,能够使吊葫芦4在水平方向上进行运动,进而实现物料的平移动作,有效减轻了施工人员的作业强度,使物料的提升更加省时省力。同时本实用新型通过设置上料凹口20能够有效扩大上料作业空间,更有利于大体积物料的吊升作业,提高上料效率。
上料凹口20内侧向内开设有活动槽23,活动槽23内设有通过调节机构控制、可向外伸出的支撑板5。支撑板5底部通过滑轨51与活动槽23的底部相连,当上料完成后,控制调节机构动作,能够使支撑板5向外滑动伸出,进而将上料凹口20闭合封住,提高作业安全性。
其中,活动槽23远离开口处的内侧平行设置有第二滑杆82和第二螺杆81,第二螺杆81转动安装在活动槽23内,第二螺杆81的一端螺纹套设有两个移动块83。两个移动块83均滑动套设在第二滑杆82上,第二滑杆82起滑动限位作用。支撑板5处于活动槽23内的端部设有两个呈X型、交叉设置的活动杆84,两个活动杆84的左端均铰接在支撑板5上,中部转动连接在一起,右端分别铰接在对应的移动块83上。调节机构包括壳体70、摇把71和齿轮,壳体70安装在作业平台2上方,设在外部的摇把71贯穿壳体70与壳体70内的齿轮同心固连,齿轮向下贯穿作业平台2与第二螺杆81的另一端相啮合。需要支撑板5伸出闭合上料凹口20时,转动摇把71通过齿轮带动第二螺杆81转动,使两个移动块83能够相向运动,进而使两个活动杆84推着支撑板5向外伸出,实现对支撑板5的有效控制。上料作业时,只需通过转动摇把71即可将支撑板5收回活动槽23中,简单方便,支撑板5的收放更加省力高效。
其中,活动槽23的开口处设有抵触块231,支撑板5上方固设有与抵触块231相配合的限位块52。通过限位块52与抵触块231的配合能对支撑板5的伸出长度进行有效限制,防止上料时支撑板5受力向外拽出,有效提高装置运行的稳定性。
上料凹口20的开口边沿和支撑板5的外沿处均设有耐磨垫片6,有效避免上料时上料凹口20和支撑板5边沿磕碰物料,耐磨垫片6可起到有效的缓冲作用。
作业平台2的四周边沿安装有防护栏21,可对工人作业起到有效的安全防护作用。

Claims (8)

1.一种物料提升装置,包括吊葫芦和支撑座,其特征在于:所述支撑座上方通过升降机构安装有作业平台,作业平台的右端部开设有上料凹口;所述上料凹口的上方固设有支架,支架的右端向外伸出,支架的顶面下方水平安装有第一滑杆和与驱动电机动力相连的第一螺杆,所述吊葫芦安装在连接架上;连接架的上端与滑杆滑动套设,并与螺杆螺纹套设;所述上料凹口内侧开设有活动槽,活动槽内设有通过调节机构控制、可向外伸出的支撑板。
2.根据权利要求1所述的物料提升装置,其特征在于:所述支撑板底部通过滑轨与活动槽的底部相连。
3.根据权利要求2所述的物料提升装置,其特征在于:所述活动槽远离开口处的内侧平行设置有第二滑杆和第二螺杆,第二螺杆的一端螺纹套设有两个移动块,另一端与调节机构相连;两个移动块均与第二滑杆滑动套设;所述支撑板处于活动槽内的端部设有两个交叉设置的活动杆,两个活动杆的一端部均铰接在支撑板上,中部转动连接在一起,另一端分别铰接在对应的移动块上。
4.根据权利要求3所述的物料提升装置,其特征在于:所述调节机构包括壳体、摇把和齿轮,壳体安装在作业平台上方,设在外部的摇把贯穿壳体与壳体内的齿轮同心固连,齿轮向下贯穿作业平台与所述第二螺杆上相啮合。
5.根据权利要求1所述的物料提升装置,其特征在于:所述活动槽的开口处设有抵触块,支撑板上方固设有与抵触块相配合的限位块。
6.根据权利要求1所述的物料提升装置,其特征在于:所述上料凹口的开口边沿和支撑板的外沿处均设有耐磨垫片。
7.根据权利要求1所述的物料提升装置,其特征在于:所述作业平台的四周边沿安装有防护栏。
8.根据权利要求1所述的物料提升装置,其特征在于:所述支撑座远离上料凹口的一侧设有配重块。
CN202122596574.8U 2021-10-27 2021-10-27 一种物料提升装置 Active CN216377260U (zh)

Priority Applications (1)

Application Number Priority Date Filing Date Title
CN202122596574.8U CN216377260U (zh) 2021-10-27 2021-10-27 一种物料提升装置

Applications Claiming Priority (1)

Application Number Priority Date Filing Date Title
CN202122596574.8U CN216377260U (zh) 2021-10-27 2021-10-27 一种物料提升装置

Publications (1)

Publication Number Publication Date
CN216377260U true CN216377260U (zh) 2022-04-26

Family

ID=81246853

Family Applications (1)

Application Number Title Priority Date Filing Date
CN202122596574.8U Active CN216377260U (zh) 2021-10-27 2021-10-27 一种物料提升装置

Country Status (1)

Country Link
CN (1) CN216377260U (zh)

Similar Documents

Publication Publication Date Title
CN103693591B (zh) 料斗提升装置
CN203667522U (zh) 集装箱举升翻转设备
CN216235720U (zh) 一种可调节移动方向的装卸搬运吊装设备
CN108838954A (zh) 一种新型多功能机械设备检修台装置及其检修方法
CN216377260U (zh) 一种物料提升装置
CN208842449U (zh) 一种大型涂料桶的搬运及倾倒装置
CN204434117U (zh) 一种平衡吊装装置
CN112209283B (zh) 一种建筑施工用便于操作的机械提升设备
CN211169627U (zh) 一种煤矿检修设备起吊装置
CN220283308U (zh) 一种区块链物流吊装机
CN218025211U (zh) 一种土木建筑用吊运装置
CN216426489U (zh) 一种汽电双驱汽轮机用起吊设备
CN217172978U (zh) 一种装配式建筑施工吊装侧向支撑体系
CN204980884U (zh) 一种起升机构
CN212743292U (zh) 一种房屋建筑施工用升降装置
CN112125123A (zh) 一种建筑工程用工字钢吊运装置
CN219044808U (zh) 一种可调节臂长的起重机
CN219217225U (zh) 一种用于高层建筑安装管道安全吊装装置
CN221662499U (zh) 一种升降稳定的提升机
CN112573421A (zh) 一种起重机专用行车
CN218931536U (zh) 一种房屋建设起重机
CN217535378U (zh) 一种新型施工升降机
CN206336980U (zh) 一种建筑升降装置
CN219297006U (zh) 一种便于调节的吊装结构
CN223060501U (zh) 一种吊装工具

Legal Events

Date Code Title Description
GR01 Patent grant
GR01 Patent grant
TR01 Transfer of patent right

Effective date of registration: 20231115

Address after: No. 23-2 Weisi Road, North Industrial Park, Development Zone, Shihezi City, Xinjiang Uygur Autonomous Region, 832099

Patentee after: Xinjiang Tiantian Xiangshang Building Materials Co.,Ltd.

Address before: 466000 room 1203, Merrill Lynch International, south section of Zhongzhou Road, Chuanhui District, Zhoukou City, Henan Province

Patentee before: Henan Zhaolin Municipal Engineering Co.,Ltd.

TR01 Transfer of patent right