CN216359349U - 一种大尺寸火车制动缸的内壁加工装置 - Google Patents

一种大尺寸火车制动缸的内壁加工装置 Download PDF

Info

Publication number
CN216359349U
CN216359349U CN202122617739.5U CN202122617739U CN216359349U CN 216359349 U CN216359349 U CN 216359349U CN 202122617739 U CN202122617739 U CN 202122617739U CN 216359349 U CN216359349 U CN 216359349U
Authority
CN
China
Prior art keywords
brake cylinder
train brake
movable seat
base
guide rails
Prior art date
Legal status (The legal status is an assumption and is not a legal conclusion. Google has not performed a legal analysis and makes no representation as to the accuracy of the status listed.)
Expired - Fee Related
Application number
CN202122617739.5U
Other languages
English (en)
Inventor
曾四华
Current Assignee (The listed assignees may be inaccurate. Google has not performed a legal analysis and makes no representation or warranty as to the accuracy of the list.)
Hubei Luwei Track Equipment Co ltd
Original Assignee
Hubei Luwei Track Equipment Co ltd
Priority date (The priority date is an assumption and is not a legal conclusion. Google has not performed a legal analysis and makes no representation as to the accuracy of the date listed.)
Filing date
Publication date
Application filed by Hubei Luwei Track Equipment Co ltd filed Critical Hubei Luwei Track Equipment Co ltd
Priority to CN202122617739.5U priority Critical patent/CN216359349U/zh
Application granted granted Critical
Publication of CN216359349U publication Critical patent/CN216359349U/zh
Expired - Fee Related legal-status Critical Current
Anticipated expiration legal-status Critical

Links

Images

Landscapes

  • Machine Tool Units (AREA)

Abstract

本实用新型是一种大尺寸火车制动缸的内壁加工装置,包括底座,底座顶部沿长度方向设有两根导轨,两根导轨上装有沿导轨移动的活动座,底座一端装有驱动机构A,驱动机构A与活动座连接以带动活动座移动,活动座上设有与导轨垂直的滑轨,滑轨上装有一块沿滑轨移动的工件支撑板,活动座一侧装有驱动机构B,驱动机构B与工件支撑板连接以带动工件支撑板移动;底座另一端装有刀头动力机构,刀头动力机构的输出轴端部装有刀架,刀架上装有可拆卸的刀头;底座一侧设有冷却液喷射管,冷却液喷射管端部装有法兰,法兰用于与火车制动缸的耳座法兰板对接;本实用新型实现了将火车制动缸缸体固定、刀头旋转加工,操作更简便,提高了加工质量。

Description

一种大尺寸火车制动缸的内壁加工装置
技术领域
本实用新型涉及火车制动缸生产技术领域,具体是一种大尺寸火车制动缸的内壁加工装置。
背景技术
火车制动缸是火车刹车机构的重要组成部分,其主体部分为缸体,缸体端面设有耳座,缸体一侧设有支撑底座,生产过程中需要对缸体内壁进行加工,现有的加工方式是将工件夹紧在车床夹爪上,刀头固定不动,夹爪带动工件旋转进行加工,而大尺寸的火车制动缸缸体体积大,重量也很重,采用传统方式很难操作,加工效率较低,加工质量也不稳定。
发明内容
本实用新型的目的就是为了解决目前火车制动缸采用传统加工方式很难操作,加工效率较低,加工质量也不稳定的问题,提供一种大尺寸火车制动缸的内壁加工装置。
本实用新型的具体方案是:一种大尺寸火车制动缸的内壁加工装置,包括底座,底座顶部沿长度方向设有两根导轨,两根导轨上装有沿导轨移动的活动座,底座一端装有驱动机构A,驱动机构A与活动座连接以带动活动座移动,活动座上设有与导轨垂直的滑轨,滑轨上装有一块沿滑轨移动的工件支撑板,活动座一侧装有驱动机构B,驱动机构B与工件支撑板连接以带动工件支撑板移动;底座另一端装有刀头动力机构,刀头动力机构的输出轴端部装有刀架,刀架上装有可拆卸的刀头;底座一侧设有冷却液喷射管,冷却液喷射管端部装有法兰,法兰用于与火车制动缸的耳座法兰板对接。
本实用新型所述驱动机构A包括伺服电机,伺服电机的输出端装有一根螺杆,螺杆与两根导轨平行,螺杆与所述活动座底部螺纹连接。
本实用新型所述驱动机构B包括一根丝杆,丝杆与工件支撑板底部螺纹连接,丝杆外端装有手轮。
本实用新型所述滑轨由两根呈燕尾形对称布置的轨道组成,所述丝杆位于两轨道之间。
本实用新型所述工件支撑板上设有若干个安装槽,安装槽内装有可拆卸的锁紧螺栓,火车制动缸通过安装槽及锁紧螺栓固定在工件支撑板上。
本实用新型的工作原理如下:将火车制动缸的支撑底座通过锁紧螺栓固定在工件支撑板上,通过手轮及丝杆调节加工部位使其对准刀头,加工时通过伺服电机自动推进;加工过程中,冷却液从耳座法兰板的通气孔处进入缸体内部。
本实用新型具有以下有益效果:改变了传统的加工方式,实现了将火车制动缸缸体固定、刀头旋转加工,操作更简便,提高了加工效率,提高了加工质量。
附图说明
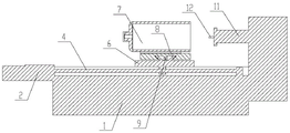
图1是本实用新型结构立体视图;
图2是本实用新型主视图;
图3是图2的A-A视图;
图4是图3的B-B视图;
图5是图3的C-C视图;
图中:1-底座,2-伺服电机,3-导轨,4-螺杆,5-冷却液喷射管,6-活动座,7-火车制动缸,8-滑轨,9-丝杆,10-工件支撑板,11-刀头动力机构,12-刀头。
具体实施方式
参见图1-5,本实施例是一种大尺寸火车制动缸的内壁加工装置,包括底座1,底座1顶部沿长度方向设有两根导轨3,两根导轨3上装有沿导轨3移动的活动座6,底座1一端装有驱动机构A,驱动机构A与活动座6连接以带动活动座6移动,活动座6上设有与导轨3垂直的滑轨8,滑轨8上装有一块沿滑轨8移动的工件支撑板10,活动座6一侧装有驱动机构B,驱动机构B与工件支撑板10连接以带动工件支撑板10移动;底座1另一端装有刀头动力机构11,刀头动力机构11的输出轴端部装有刀架,刀架上装有可拆卸的刀头12;底座1一侧设有冷却液喷射管5,冷却液喷射管5端部装有法兰,法兰用于与火车制动缸7的耳座法兰板对接。
本实施例所述驱动机构A包括伺服电机2,伺服电机2的输出端装有一根螺杆4,螺杆4与两根导轨3平行,螺杆4与所述活动座6底部螺纹连接。
本实施例所述驱动机构B包括一根丝杆9,丝杆9与工件支撑板10底部螺纹连接,丝杆9外端装有手轮。
本实施例所述滑轨8由两根呈燕尾形对称布置的轨道组成,所述丝杆9位于两轨道之间。
本实施例所述工件支撑板10上设有若干个安装槽,安装槽内装有可拆卸的锁紧螺栓,火车制动缸7通过安装槽及锁紧螺栓固定在工件支撑板10上。

Claims (5)

1.一种大尺寸火车制动缸的内壁加工装置,其特征是:包括底座,底座顶部沿长度方向设有两根导轨,两根导轨上装有沿导轨移动的活动座,底座一端装有驱动机构A,驱动机构A与活动座连接以带动活动座移动,活动座上设有与导轨垂直的滑轨,滑轨上装有一块沿滑轨移动的工件支撑板,活动座一侧装有驱动机构B,驱动机构B与工件支撑板连接以带动工件支撑板移动;底座另一端装有刀头动力机构,刀头动力机构的输出轴端部装有刀架,刀架上装有可拆卸的刀头;底座一侧设有冷却液喷射管,冷却液喷射管端部装有法兰,法兰用于与火车制动缸的耳座法兰板对接。
2.根据权利要求1所述的一种大尺寸火车制动缸的内壁加工装置,其特征是:所述驱动机构A包括伺服电机,伺服电机的输出端装有一根螺杆,螺杆与两根导轨平行,螺杆与所述活动座底部螺纹连接。
3.根据权利要求1所述的一种大尺寸火车制动缸的内壁加工装置,其特征是:所述驱动机构B包括一根丝杆,丝杆与工件支撑板底部螺纹连接,丝杆外端装有手轮。
4.根据权利要求3所述的一种大尺寸火车制动缸的内壁加工装置,其特征是:所述滑轨由两根呈燕尾形对称布置的轨道组成,所述丝杆位于两轨道之间。
5.根据权利要求1所述的一种大尺寸火车制动缸的内壁加工装置,其特征是:所述工件支撑板上设有若干个安装槽,安装槽内装有可拆卸的锁紧螺栓,火车制动缸通过安装槽及锁紧螺栓固定在工件支撑板上。
CN202122617739.5U 2021-10-29 2021-10-29 一种大尺寸火车制动缸的内壁加工装置 Expired - Fee Related CN216359349U (zh)

Priority Applications (1)

Application Number Priority Date Filing Date Title
CN202122617739.5U CN216359349U (zh) 2021-10-29 2021-10-29 一种大尺寸火车制动缸的内壁加工装置

Applications Claiming Priority (1)

Application Number Priority Date Filing Date Title
CN202122617739.5U CN216359349U (zh) 2021-10-29 2021-10-29 一种大尺寸火车制动缸的内壁加工装置

Publications (1)

Publication Number Publication Date
CN216359349U true CN216359349U (zh) 2022-04-22

Family

ID=81189940

Family Applications (1)

Application Number Title Priority Date Filing Date
CN202122617739.5U Expired - Fee Related CN216359349U (zh) 2021-10-29 2021-10-29 一种大尺寸火车制动缸的内壁加工装置

Country Status (1)

Country Link
CN (1) CN216359349U (zh)

Similar Documents

Publication Publication Date Title
CN101961836B (zh) 数控龙门立卧复合机床
CN201792194U (zh) 数控龙门立卧复合机床
CN203343729U (zh) 一种刀库与主轴复合在滑鞍的数控龙门立卧复合加工中心
CN218193929U (zh) 一种车铣磨复合加工车床
CN210548130U (zh) 一种轴类加工双头车床
CN216359349U (zh) 一种大尺寸火车制动缸的内壁加工装置
CN215034177U (zh) 一种倒角机
CN213794269U (zh) 一种机床用尾架组件
CN213438257U (zh) 一种挤出模具粗加工用机床
CN219901075U (zh) 一种数控机床的转动定位机构
CN210099459U (zh) 铣镗中心孔及车加工组合机床
CN217166644U (zh) 一种龙门铣床
CN202106436U (zh) 铝木铣榫机
CN111761360A (zh) 一种大型龙门立式数控镗铣机床
CN221516911U (zh) 一种工件夹具斜身导向机构
CN221160726U (zh) 一种带c轴可旋转十字刀头的侧面加工装置
CN212761253U (zh) 一种转向器壳体加工装置
CN221791979U (zh) 一种双主轴机床
CN222626232U (zh) 一种用于机械加工的立式钻床设备
CN217966188U (zh) 一种数控拉刀前刃磨床
CN220427038U (zh) 一种多头倒角机设备
CN220717877U (zh) 一种铣内孔键槽加工专用工装
CN223301290U (zh) 一种铣床定位治具
CN216542843U (zh) 一种可调式行程的工装夹具
CN219617126U (zh) 一种可自动换刀的铣打中心孔机床

Legal Events

Date Code Title Description
GR01 Patent grant
GR01 Patent grant
CF01 Termination of patent right due to non-payment of annual fee
CF01 Termination of patent right due to non-payment of annual fee

Granted publication date: 20220422