CN216355608U - Intrinsic safety type power box with good heat dissipation performance - Google Patents

Intrinsic safety type power box with good heat dissipation performance Download PDF

Info

Publication number
CN216355608U
CN216355608U CN202122890563.0U CN202122890563U CN216355608U CN 216355608 U CN216355608 U CN 216355608U CN 202122890563 U CN202122890563 U CN 202122890563U CN 216355608 U CN216355608 U CN 216355608U
Authority
CN
China
Prior art keywords
box
heat dissipation
groups
exhaust fan
outlet pipe
Prior art date
Legal status (The legal status is an assumption and is not a legal conclusion. Google has not performed a legal analysis and makes no representation as to the accuracy of the status listed.)
Expired - Fee Related
Application number
CN202122890563.0U
Other languages
Chinese (zh)
Inventor
史开放
郭昆艳
赵兴兴
Current Assignee (The listed assignees may be inaccurate. Google has not performed a legal analysis and makes no representation or warranty as to the accuracy of the list.)
Xuzhou Xinyuan Power Technology Co ltd
Original Assignee
Xuzhou Xinyuan Power Technology Co ltd
Priority date (The priority date is an assumption and is not a legal conclusion. Google has not performed a legal analysis and makes no representation as to the accuracy of the date listed.)
Filing date
Publication date
Application filed by Xuzhou Xinyuan Power Technology Co ltd filed Critical Xuzhou Xinyuan Power Technology Co ltd
Priority to CN202122890563.0U priority Critical patent/CN216355608U/en
Application granted granted Critical
Publication of CN216355608U publication Critical patent/CN216355608U/en
Expired - Fee Related legal-status Critical Current
Anticipated expiration legal-status Critical

Links

Images

Landscapes

  • Casings For Electric Apparatus (AREA)

Abstract

本实用新型涉及矿用防爆设备的技术领域,特别是涉及一种散热性能好的本安型电源箱,其可提高散热效果,保证电源箱的正常使用;包括箱体、散热箱、第一温度传感器、第一抽风机、箱盖、安装板、滑块、U型冷却管、进水管、出水管、两组连通管、两组水管接头、第二温度传感器和第二抽风机,箱体右端和散热箱左端固定连接,第一温度传感器固定安装在箱体内部顶端,第一温度传感器和第一抽风机电连接,第一抽风机的输入端和箱体连通,第一抽风机的输出端设有第一出风管,第一出风管的输出端和散热箱连通,箱盖可拆卸安装在散热箱后端,散热箱内壁设有滑槽,安装板通过两组滑块和滑槽的配合滑动安装在散热箱内,安装板上设有多组通气孔。

Figure 202122890563

The utility model relates to the technical field of mining explosion-proof equipment, in particular to an intrinsically safe power box with good heat dissipation performance, which can improve the heat dissipation effect and ensure the normal use of the power box; Sensor, first exhaust fan, box cover, mounting plate, slider, U-shaped cooling pipe, water inlet pipe, water outlet pipe, two groups of connecting pipes, two groups of water pipe joints, second temperature sensor and second exhaust fan, the right end of the box It is fixedly connected with the left end of the cooling box, the first temperature sensor is fixedly installed at the top of the box, the first temperature sensor is electrically connected with the first exhaust fan, the input end of the first exhaust fan is connected with the box body, and the output end of the first exhaust fan is set. There is a first air outlet pipe, the output end of the first air outlet pipe is connected with the cooling box, the box cover is detachably installed at the rear end of the cooling box, the inner wall of the cooling box is provided with a chute, and the mounting plate passes through the two sets of sliders and the chute. It is installed in the heat dissipation box with sliding, and there are several sets of ventilation holes on the installation plate.

Figure 202122890563

Description

Intrinsic safety type power box with good heat dissipation performance
Technical Field
The utility model relates to the technical field of mining explosion-proof equipment, in particular to an intrinsic safety type power box with good heat dissipation performance.
Background
Since all electronic equipment generates heat during operation, this heat must be dissipated to the outside of the equipment, otherwise the heat build-up could cause the equipment to malfunction. For the mining power supply equipment, the heat generated by the mining power supply equipment during operation is not a little, so that the heat dissipation performance of the mining power supply equipment becomes one of important factors for safety protection in safety production.
In current this ampere of type power supply unit use, monitor the temperature in the box through temperature sensor, when the temperature surpassed the normal value of regulation, start the fan, with in the box hot-air take out can, current radiating effect is not good, influences power supply unit's normal use.
SUMMERY OF THE UTILITY MODEL
In order to solve the technical problems, the utility model provides the intrinsic safety type power box which can improve the heat dissipation effect and ensure good heat dissipation performance of the normal use of the power box.
The utility model relates to an intrinsic safety type power supply box with good heat dissipation performance, which comprises a box body, a heat dissipation box, a first temperature sensor, a first exhaust fan, a box cover, a mounting plate, a sliding block, a U-shaped cooling pipe, a water inlet pipe, a water outlet pipe, two groups of communicating pipes, two groups of water pipe joints, a second temperature sensor and a second exhaust fan, wherein the right end of the box body is fixedly connected with the left end of the heat dissipation box, the first temperature sensor is fixedly arranged at the top end inside the box body, the first temperature sensor is electrically connected with the first exhaust fan, the input end of the first exhaust fan is communicated with the box body, the output end of the first exhaust fan is provided with a first air outlet pipe, the output end of the first air outlet pipe is communicated with the heat dissipation box, the box cover is detachably arranged at the rear end of the heat dissipation box, the inner wall of the heat dissipation box is provided with a sliding groove, the mounting plate is slidably arranged in the heat dissipation box through the matching of the two groups of sliding blocks and the sliding groove, a plurality of air holes are arranged on the mounting plate, and the bottom ends of the U-shaped cooling pipes respectively penetrate through the mounting plate, all be equipped with multiunit heat absorption fin on every group U type cooling tube, the input intercommunication of inlet tube and multiunit U type cooling tube, the output intercommunication of outlet pipe and multiunit U type cooling tube, two sets of water pipe head are respectively through two sets of communicating pipes and inlet tube and outlet pipe intercommunication, second temperature sensor fixed mounting is on the heat dissipation incasement wall, the output and the heat dissipation bottom of the case portion intercommunication of second air exhauster, the input of second air exhauster is equipped with the second and goes out the tuber pipe, the second goes out tuber pipe and box intercommunication.
The intrinsically safe power box with good heat dissipation performance further comprises a flow equalizing disc and connecting columns, wherein the flow equalizing disc is fixedly mounted at the top end of the heat dissipation box through two groups of connecting columns, and the flow equalizing disc is communicated with the output end of the first air outlet pipe.
The intrinsic safety type power box with good heat dissipation performance further comprises a handle, and the handle is fixedly installed at the top end of the installation plate.
The intrinsic safety type power box with good heat dissipation performance further comprises an observation window, wherein an access door is arranged at the front end of the box body, and the observation window is fixedly installed on the access door.
The intrinsically safe power box with good heat dissipation performance further comprises four groups of shock absorbing seats, and the four groups of shock absorbing seats are respectively installed at the bottom end of the box body.
The intrinsically safe power box with good heat dissipation performance further comprises four groups of universal wheels, and the four groups of universal wheels are respectively installed at the bottom ends of the four groups of shock absorption seats.
The intrinsic safety type power box with good heat dissipation performance further comprises a push handle frame, and the push handle frame is fixedly installed at the left end of the box body.
The intrinsically safe power box with good heat dissipation performance further comprises an anti-skidding handle sleeve, and the anti-skidding handle sleeve is fixedly sleeved on the handle pushing frame.
Compared with the prior art, the utility model has the beneficial effects that: the first temperature sensor monitors the temperature in the box body, when the temperature exceeds a specified normal value, the first exhaust fan is started to exhaust hot air in the box body, the hot air enters the heat dissipation box through the first air outlet pipe, at the moment, two groups of water pipe joints are respectively connected with an external cooling water circulating device, cooling water enters the water inlet pipe through one group of water pipe joints and then enters a plurality of groups of U-shaped cooling pipes, a plurality of groups of heat absorption fins absorb the heat of the hot air in the heat dissipation box to reduce the temperature in the heat dissipation box as much as possible, at the moment, the temperature of the water in the U-shaped cooling pipes is increased, the external cooling water circulating device is started, cold water enters the cooling water circulating device, after cooling, the cold water flows back into the U-shaped cooling pipes to be cooled, the temperature is reduced, the second exhaust fan is started to suck the cold air in the heat dissipation box body into the box body through the second air outlet pipe, make the cold air to the box in cool down can, the temperature of second temperature sensor in to the heat dissipation incasement monitors simultaneously, the staff operation of being convenient for, through the aforesaid setting, can improve the radiating effect, guarantees the normal use of power supply box.
Drawings
FIG. 1 is a schematic structural view of the present invention;
FIG. 2 is a schematic cross-sectional view of FIG. 1;
FIG. 3 is a schematic diagram of the right view of the U-shaped cooling tube and mounting plate connection;
FIG. 4 is a rear view of the heat sink box and the box cover;
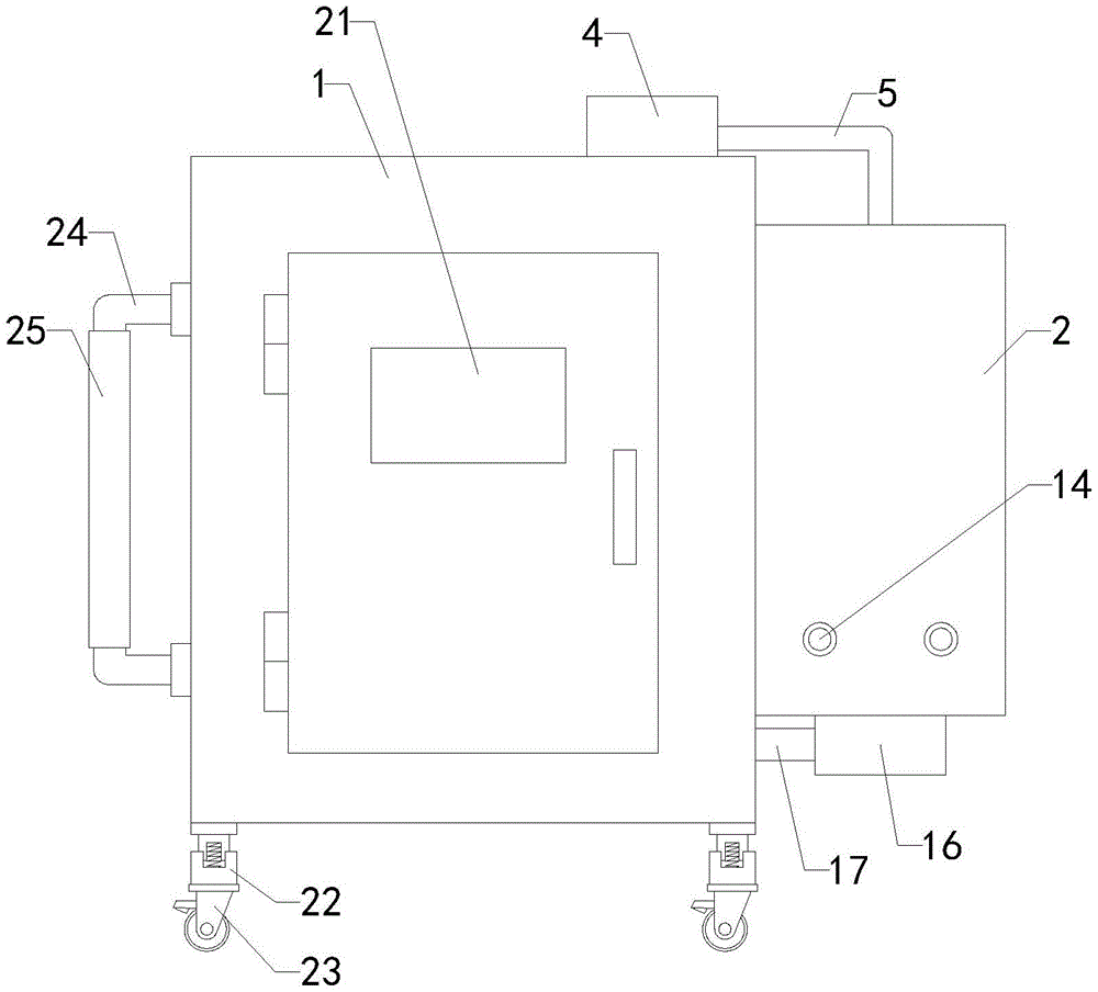
in the drawings, the reference numbers: 1. a box body; 2. a heat dissipation box; 3. a first temperature sensor; 4. a first exhaust fan; 5. a first air outlet pipe; 6. a box cover; 7. mounting a plate; 8. a slider; 9. a U-shaped cooling tube; 10. a heat absorbing fin; 11. a water inlet pipe; 12. a water outlet pipe; 13. a communicating pipe; 14. a water pipe joint; 15. a second temperature sensor; 16. a second exhaust fan; 17. a second air outlet pipe; 18. a flow equalizing disc; 19. connecting columns; 20. a handle; 21. an observation window; 22. a shock absorbing seat; 23. a universal wheel; 24. a handle pushing frame; 25. an anti-slip handle sleeve.
Detailed Description
The following detailed description of embodiments of the present invention is provided in connection with the accompanying drawings and examples. The following examples are intended to illustrate the utility model but are not intended to limit the scope of the utility model.
As shown in figures 1 to 4, the intrinsically safe power supply box with good heat dissipation performance comprises a box body 1, a heat dissipation box 2, a first temperature sensor 3, a first exhaust fan 4, a box cover 6, a mounting plate 7, a sliding block 8, a U-shaped cooling pipe 9, a water inlet pipe 11, a water outlet pipe 12, two groups of communicating pipes 13, two groups of water pipe joints 14, a second temperature sensor 15 and a second exhaust fan 16, wherein the right end of the box body 1 is fixedly connected with the left end of the heat dissipation box 2, the first temperature sensor 3 is fixedly arranged at the top end inside the box body 1, the first temperature sensor 3 is electrically connected with the first exhaust fan 4, the input end of the first exhaust fan 4 is communicated with the box body 1, the output end of the first exhaust fan 4 is provided with a first air outlet pipe 5, the output end of the first air outlet pipe 5 is communicated with the heat dissipation box 2, the box cover 6 is detachably arranged at the rear end of the heat dissipation box 2, the inner wall of the heat dissipation box 2 is provided with a sliding groove, the mounting plate 7 is slidably arranged in the heat dissipation box 2 through the matching of the two groups of the sliding block 8 and the sliding groove, a plurality of groups of vent holes are formed in the mounting plate 7, the bottom ends of a plurality of groups of U-shaped cooling pipes 9 respectively penetrate through the mounting plate 7, a plurality of groups of heat absorbing fins 10 are arranged on each group of U-shaped cooling pipes 9, a water inlet pipe 11 is communicated with the input ends of the plurality of groups of U-shaped cooling pipes 9, a water outlet pipe 12 is communicated with the output ends of the plurality of groups of U-shaped cooling pipes 9, two groups of water pipe connectors 14 are respectively communicated with the water inlet pipe 11 and the water outlet pipe 12 through two groups of communicating pipes 13, a second temperature sensor 15 is fixedly arranged on the inner wall of the heat dissipation box 2, the output end of a second exhaust fan 16 is communicated with the bottom end of the heat dissipation box 2, the input end of the second exhaust fan 16 is provided with a second air outlet pipe 17, and the second air outlet pipe 17 is communicated with the box body 1; firstly, a first temperature sensor 3 monitors the temperature in a box body 1, when the temperature exceeds a specified normal value, a first exhaust fan 4 is started to extract hot air in the box body 1, the hot air enters a heat dissipation box 2 through a first air outlet pipe 5, at the moment, two groups of water pipe joints 14 are respectively connected with an external cooling water circulating device, cooling water enters a water inlet pipe 11 through one group of water pipe joints 14 and then enters a plurality of groups of U-shaped cooling pipes 9, a plurality of groups of heat absorption fins 10 absorb the heat of the hot air in the heat dissipation box 2 to reduce the temperature in the heat dissipation box 2 as much as possible, the temperature of the water in the U-shaped cooling pipes 9 is increased at the moment, the external cooling water circulating device is started, cold water enters the cooling water circulating device and flows back to the U-shaped cooling pipes 9 after cooling, the temperature is reduced, and a second exhaust fan 16 is started after the temperature in the heat dissipation box 2 is reduced, with the cold air in the heat dissipation case 2 through the second play tuber pipe 17 suction box 1 in, make the cold air to box 1 in cool down can, second temperature sensor 15 monitors the temperature in the heat dissipation case 2 simultaneously, the staff's operation of being convenient for, through the aforesaid setting, can improve the radiating effect, guarantee the normal use of power supply box.
The intrinsically safe power box with good heat dissipation performance further comprises a current-sharing disc 18 and connecting columns 19, wherein the current-sharing disc 18 is fixedly installed at the top end of the heat dissipation box 2 through the two groups of connecting columns 19, and the current-sharing disc 18 is communicated with the output end of the first air outlet pipe 5; through setting up the flow equalizing disc 18, can make the hot-air in the heat dissipation case 2 evenly discharge in the heat dissipation case 2, enlarge the area of contact of hot-air and multiunit heat absorption fin 10, improve the radiating efficiency.
The intrinsic safety type power box with good heat dissipation performance further comprises a handle 20, wherein the handle 20 is fixedly arranged at the top end of the mounting plate 7; through setting up handle 20, be convenient for take mounting panel 7 out, change and maintenance are overhauld the multiunit U type cooling tube 9 and heat absorption fin 10.
The intrinsic safety type power box with good heat dissipation performance further comprises an observation window 21, wherein an access door is arranged at the front end of the box body 1, and the observation window 21 is fixedly arranged on the access door; through setting up observation window 21, the staff of being convenient for looks over the behavior in the box 1, improves the convenience.
The intrinsically safe power box with good heat dissipation performance further comprises four groups of shock absorbing seats 22, wherein the four groups of shock absorbing seats 22 are respectively arranged at the bottom end of the box body 1; by arranging the shock absorption seat 22, a shock absorption effect can be achieved, and the stability of the whole device is improved.
The intrinsically safe power box with good heat dissipation performance further comprises four groups of universal wheels 23, wherein the four groups of universal wheels 23 are respectively arranged at the bottom ends of four groups of shock absorption seats 22; through setting up universal wheel 23, the removal of the whole device of being convenient for improves the flexibility.
The intrinsic safety type power box with good heat dissipation performance further comprises a push handle frame 24, wherein the push handle frame 24 is fixedly arranged at the left end of the box body 1; through setting up and pushing away handle frame 24, the staff of being convenient for promotes the overall device and removes, improves the practicality.
The intrinsically safe power box with good heat dissipation performance further comprises an anti-skidding handle sleeve 25, wherein the anti-skidding handle sleeve 25 is fixedly sleeved on the push handle frame 24; by arranging the anti-slip handle sleeve 25, the friction of the push handle frame 24 can be increased, the hand slip is prevented, and the stability is improved.
The utility model relates to an intrinsic safety type power box with good heat dissipation performance, which comprises a first temperature sensor 3 for monitoring the temperature in a box body 1, a first exhaust fan 4 for exhausting hot air in the box body 1 when the temperature exceeds a specified normal value, a first air outlet pipe 5 for exhausting the hot air in the box body 2, a flow equalizing disc 18 for uniformly discharging the hot air, two groups of water pipe joints 14 respectively connected with an external cooling water circulating device, cooling water entering a water inlet pipe 11 through one group of water pipe joints 14 and then entering a plurality of groups of U-shaped cooling pipes 9, a plurality of groups of heat absorbing fins 10 for absorbing the heat of the hot air in the heat dissipation box 2 to reduce the temperature in the heat dissipation box 2 as much as possible, a water temperature in the U-shaped cooling pipes 9 rising, the external cooling water circulating device for starting, cold water entering the cooling water circulating device and cooling, then the cooling liquid flows back into the U-shaped cooling pipe 9 for cooling, when the temperature in the heat dissipation box 2 is reduced, the second exhaust fan 16 is started to suck the cold air in the heat dissipation box 2 into the box body 1 through the second air outlet pipe 17, so that the cold air cools the box body 1, meanwhile, the second temperature sensor 15 monitors the temperature in the heat dissipation box 2, so that the operation of workers is convenient, when a plurality of groups of U-shaped cooling pipes 9 and heat absorbing fins 10 need to be replaced, maintained and overhauled, the box cover 6 is opened, the handle 20 is held, the mounting plate 7 is pulled out of the heat radiating box 2, a worker can check the working condition in the box body 1 through the observation window 21, the shock absorption seat 22 can play a role in shock absorption, the stability of the whole device is improved, when the whole device needs to be moved, a worker holds the push handle frame 24, pushes the box body 1 and drives the universal wheels 23 to rotate.
According to the intrinsic safety type power box with good heat dissipation performance, the installation mode, the connection mode or the arrangement mode are common mechanical modes, and the intrinsic safety type power box can be implemented as long as the beneficial effects are achieved; the second temperature sensor 15 and the second exhaust fan 16 of the intrinsically safe power box with good heat dissipation performance are purchased from the market, and technicians in the industry only need to install and operate the intrinsically safe power box according to the attached operating instructions.
The above description is only a preferred embodiment of the present invention, and it should be noted that, for those skilled in the art, several modifications and variations can be made without departing from the technical principle of the present invention, and these modifications and variations should also be regarded as the protection scope of the present invention.

Claims (8)

1. An intrinsic safety type power box with good heat dissipation performance is characterized by comprising a box body (1), a heat dissipation box (2), a first temperature sensor (3), a first exhaust fan (4), a box cover (6), a mounting plate (7), a sliding block (8), a U-shaped cooling pipe (9), a water inlet pipe (11), a water outlet pipe (12), two groups of communicating pipes (13), two groups of water pipe joints (14), a second temperature sensor (15) and a second exhaust fan (16), wherein the right end of the box body (1) is fixedly connected with the left end of the heat dissipation box (2), the first temperature sensor (3) is fixedly arranged at the top end inside the box body (1), the first temperature sensor (3) is electrically connected with the first exhaust fan (4), the input end of the first exhaust fan (4) is communicated with the box body (1), the output end of the first exhaust fan (4) is provided with a first air outlet pipe (5), and the output end of the first air outlet pipe (5) is communicated with the heat dissipation box (2), the box cover (6) is detachably arranged at the rear end of the heat dissipation box (2), the inner wall of the heat dissipation box (2) is provided with a sliding chute, the mounting plate (7) is slidably arranged in the heat dissipation box (2) through the matching of two groups of sliding blocks (8) and the sliding chute, the mounting plate (7) is provided with a plurality of groups of vent holes, the bottom ends of a plurality of groups of U-shaped cooling pipes (9) respectively penetrate through the mounting plate (7), each group of U-shaped cooling pipes (9) is provided with a plurality of groups of heat absorption fins (10), the water inlet pipe (11) is communicated with the input ends of the plurality of groups of U-shaped cooling pipes (9), the water outlet pipe (12) is communicated with the output ends of the plurality of groups of U-shaped cooling pipes (9), two groups of water pipe joints (14) are respectively communicated with the water inlet pipe (11) and the water outlet pipe (12) through two groups of communicating pipes (13), the second temperature sensor (15) is fixedly arranged on the inner wall of the heat dissipation box (2), the output end of the second exhaust fan (16) is communicated with the bottom end of the heat dissipation box (2), the input end of the second exhaust fan (16) is provided with a second air outlet pipe (17), and the second air outlet pipe (17) is communicated with the box body (1).
2. The intrinsically safe power box with good heat dissipation performance as claimed in claim 1, further comprising a current sharing disk (18) and connecting columns (19), wherein the current sharing disk (18) is fixedly installed at the top end of the heat dissipation box (2) through the two groups of connecting columns (19), and the current sharing disk (18) is communicated with the output end of the first air outlet pipe (5).
3. The intrinsically safe power box with good heat dissipation performance as claimed in claim 2, further comprising a handle (20), wherein the handle (20) is fixedly installed at the top end of the installation plate (7).
4. The intrinsically safe power box with good heat dissipation performance as defined in claim 3, further comprising an observation window (21), wherein an access door is arranged at the front end of the box body (1), and the observation window (21) is fixedly arranged on the access door.
5. The intrinsically safe power box with good heat dissipation performance as claimed in claim 4, further comprising four groups of shock absorbing seats (22), wherein the four groups of shock absorbing seats (22) are respectively installed at the bottom end of the box body (1).
6. The intrinsically safe power box with good heat dissipation performance as claimed in claim 5, further comprising four sets of universal wheels (23), wherein the four sets of universal wheels (23) are respectively mounted at the bottom ends of the four sets of shock-absorbing seats (22).
7. The intrinsically safe power box with good heat dissipation performance as defined in claim 6, further comprising a push handle frame (24), wherein the push handle frame (24) is fixedly arranged at the left end of the box body (1).
8. The intrinsically safe power box with good heat dissipation performance as claimed in claim 7, further comprising an anti-slip handle sleeve (25), wherein the anti-slip handle sleeve (25) is fixedly sleeved on the push handle frame (24).
CN202122890563.0U 2021-11-23 2021-11-23 Intrinsic safety type power box with good heat dissipation performance Expired - Fee Related CN216355608U (en)

Priority Applications (1)

Application Number Priority Date Filing Date Title
CN202122890563.0U CN216355608U (en) 2021-11-23 2021-11-23 Intrinsic safety type power box with good heat dissipation performance

Applications Claiming Priority (1)

Application Number Priority Date Filing Date Title
CN202122890563.0U CN216355608U (en) 2021-11-23 2021-11-23 Intrinsic safety type power box with good heat dissipation performance

Publications (1)

Publication Number Publication Date
CN216355608U true CN216355608U (en) 2022-04-19

Family

ID=81151752

Family Applications (1)

Application Number Title Priority Date Filing Date
CN202122890563.0U Expired - Fee Related CN216355608U (en) 2021-11-23 2021-11-23 Intrinsic safety type power box with good heat dissipation performance

Country Status (1)

Country Link
CN (1) CN216355608U (en)

Cited By (1)

* Cited by examiner, † Cited by third party
Publication number Priority date Publication date Assignee Title
CN116234241A (en) * 2023-01-06 2023-06-06 深圳市鹏辉制冷工程有限公司 Energy-saving electromechanical refrigeration system

Cited By (1)

* Cited by examiner, † Cited by third party
Publication number Priority date Publication date Assignee Title
CN116234241A (en) * 2023-01-06 2023-06-06 深圳市鹏辉制冷工程有限公司 Energy-saving electromechanical refrigeration system

Similar Documents

Publication Publication Date Title
CN209895255U (en) Wind-liquid mixed heat dissipation case
CN216355608U (en) Intrinsic safety type power box with good heat dissipation performance
CN110209251A (en) A kind of computer cabinet improving computer-internal heat-dissipating space
CN109119567A (en) A kind of new energy battery case of high efficiency and heat radiation
CN116860088A (en) A liquid cooling radiator
CN217545887U (en) Off-grid photovoltaic inverter with good heat dissipation effect
CN109067295A (en) A kind of frequency converter cabinet
CN221466657U (en) Lithium battery thermal management device
CN213601179U (en) A tablet computer with good thermal conductivity
CN207518467U (en) A kind of twin grinding frequency converter radiator
CN118159002A (en) Data acquisition device for big data processing
CN118040153A (en) Safety prevention and control device for electric automobile and electric bicycle
CN211236816U (en) Enterprise information management terminal
CN212033985U (en) Intelligent high-frequency direct-current power supply
CN206077210U (en) A kind of converter dust-proof radiating structure
CN209250011U (en) DC charging screen dust-proof radiating cabinet
CN222254132U (en) Aluminum laminated radiator
CN210128414U (en) Frequency conversion system and air conditioning equipment
CN222827463U (en) Electromechanical protection device
CN222215378U (en) Cooling device of magnetic separator
CN223212249U (en) High-efficient radiating fills electric pile
CN114744323A (en) A high-efficient heat dissipation ventilation unit for new energy automobile group battery
CN216773343U (en) A device for heat dissipation and cooling of equipment during high-performance battery processing
CN222336063U (en) A medium frequency electric furnace with cooling function
CN218151572U (en) Heat dissipation formula centrifugal fan

Legal Events

Date Code Title Description
GR01 Patent grant
GR01 Patent grant
CF01 Termination of patent right due to non-payment of annual fee

Granted publication date: 20220419

CF01 Termination of patent right due to non-payment of annual fee