CN216339987U - Three-dimensional drainage system of underground garage - Google Patents
Three-dimensional drainage system of underground garage Download PDFInfo
- Publication number
- CN216339987U CN216339987U CN202122953120.1U CN202122953120U CN216339987U CN 216339987 U CN216339987 U CN 216339987U CN 202122953120 U CN202122953120 U CN 202122953120U CN 216339987 U CN216339987 U CN 216339987U
- Authority
- CN
- China
- Prior art keywords
- drainage
- pipeline
- frame
- side wall
- underground garage
- Prior art date
- Legal status (The legal status is an assumption and is not a legal conclusion. Google has not performed a legal analysis and makes no representation as to the accuracy of the status listed.)
- Expired - Fee Related
Links
- 238000001914 filtration Methods 0.000 claims abstract description 8
- OKTJSMMVPCPJKN-UHFFFAOYSA-N Carbon Chemical compound [C] OKTJSMMVPCPJKN-UHFFFAOYSA-N 0.000 claims description 19
- 229910052799 carbon Inorganic materials 0.000 claims description 9
- 241001233242 Lontra Species 0.000 claims description 7
- 238000007789 sealing Methods 0.000 claims description 6
- 239000000796 flavoring agent Substances 0.000 claims description 5
- 235000019634 flavors Nutrition 0.000 claims description 5
- 230000000712 assembly Effects 0.000 claims 1
- 238000000429 assembly Methods 0.000 claims 1
- XLYOFNOQVPJJNP-UHFFFAOYSA-N water Substances O XLYOFNOQVPJJNP-UHFFFAOYSA-N 0.000 abstract description 7
- 239000012535 impurity Substances 0.000 abstract description 5
- 239000007787 solid Substances 0.000 abstract description 5
- 239000002245 particle Substances 0.000 abstract description 3
- 238000004140 cleaning Methods 0.000 abstract description 2
- 238000001556 precipitation Methods 0.000 abstract description 2
- 238000009792 diffusion process Methods 0.000 description 2
- 238000010521 absorption reaction Methods 0.000 description 1
- 230000004075 alteration Effects 0.000 description 1
- 230000009286 beneficial effect Effects 0.000 description 1
- 238000003912 environmental pollution Methods 0.000 description 1
- 238000012986 modification Methods 0.000 description 1
- 230000004048 modification Effects 0.000 description 1
- 230000002093 peripheral effect Effects 0.000 description 1
- 239000012466 permeate Substances 0.000 description 1
- 238000000746 purification Methods 0.000 description 1
- 239000000126 substance Substances 0.000 description 1
- 238000006467 substitution reaction Methods 0.000 description 1
Images
Landscapes
- Sewage (AREA)
Abstract
The utility model discloses a three-dimensional drainage system for an underground garage, which belongs to the technical field of building drainage and comprises an entrance ramp, wherein a grid net is arranged above the entrance ramp, drainage ditches are arranged inside the entrance ramp and below the grid net, a pipeline is connected to the side wall of the entrance ramp and at the position corresponding to the drainage ditches, and a filtering component is arranged inside the pipeline; the filter assembly comprises a filter screen, a mounting groove and a mounting frame, and the mounting groove is formed in the side wall of the pipeline; the rainwater drainage device is provided with the limiting plate, the lifting block, the limiting groove, the filter screen, the mounting groove, the mounting frame and other structures, and under the mutual matching of the structures, the rainwater entering the pipeline can be filtered, so that the rainwater is prevented from being mixed with solid particle impurities to enter the drainage well, the precipitation is avoided in the drainage well, the water storage capacity of the drainage well is influenced, and the subsequent cleaning operation is inconvenient.
Description
Technical Field
The utility model belongs to the technical field of building drainage, and particularly relates to a three-dimensional drainage system for an underground garage.
Background
The drainage means that the flow direction of water is artificially controlled to control the underground water level. Manual drainage, and measures for removing and treating excessive water.
Chinese patent application No. 201920594692.5 discloses a drainage system for underground garage, wherein rainwater falling into a drainage ditch through a grid net is easily doped with small-particle fixed impurities, solid substances directly enter a drainage well through a pipeline, and are easily precipitated in the drainage well to influence the water storage capacity of the drainage well; in addition, if solid impurities entering the drainage ditch are not cleaned in time, peculiar smell is easily generated, and environmental pollution at the entrance ramp is caused.
SUMMERY OF THE UTILITY MODEL
To solve the problems set forth in the background art described above. The utility model provides a three-dimensional drainage system for an underground garage, which has the characteristics of filtering and removing peculiar smell.
In order to achieve the purpose, the utility model provides the following technical scheme: the stereoscopic drainage system of the underground garage comprises an entrance ramp, wherein a grid net is arranged above the entrance ramp, drainage ditches are arranged inside the entrance ramp and below the grid net, pipelines are connected to the side wall of the entrance ramp and the positions corresponding to the drainage ditches, and filtering components are arranged inside the pipelines;
the filter assembly comprises a filter screen, a mounting groove and a mounting frame, the mounting groove is formed in the side wall of the pipeline, the mounting frame is arranged inside the mounting groove, the filter screen is connected to the inner side wall of the mounting frame, and one end, far away from the inlet ramp, of the pipeline is connected with a drainage well.
Preferably, the filtering component further comprises a limiting plate, a lifting block and a limiting groove, the lifting block is connected to the upper portion of the mounting frame, the two sides of one end, far away from the mounting frame, of the lifting block are connected with the limiting plate, the limiting groove is formed in the position, corresponding to the limiting plate, of the side wall of the pipeline, and the limiting plate and the pipeline are connected through bolts.
Preferably, a sealing gasket is connected to the outer side wall of the mounting frame and at a position corresponding to the mounting groove.
Preferably, the below of grid net is provided with removes the flavor subassembly, remove the flavor subassembly and include active carbon, otter board and fixed frame, the below of grid net is connected with fixed frame, be connected with the otter board on the lateral wall of fixed frame, the top of otter board is provided with active carbon.
Preferably, remove the flavor subassembly and still include through-hole and fixed plate, just be located the top of active carbon on the inside wall of fixed frame and be connected with the fixed plate, be provided with a plurality of through-hole on the fixed plate.
Preferably, the side wall of the fixed frame is connected with a filling opening, and one end of the filling opening, which is far away from the fixed frame, is in threaded connection with a sealing cover.
Compared with the prior art, the utility model has the beneficial effects that:
1. the rainwater drainage device is provided with the limiting plate, the lifting block, the limiting groove, the filter screen, the mounting groove, the mounting frame and other structures, and under the mutual matching of the structures, the rainwater entering the pipeline can be filtered, so that the rainwater is prevented from being mixed with solid particle impurities to enter the drainage well, the precipitation is avoided in the drainage well, the water storage capacity of the drainage well is influenced, and the subsequent cleaning operation is inconvenient.
2. The utility model is provided with the structures such as the through hole, the fixing plate, the active carbon, the mesh plate, the fixing frame and the like, and can realize the function of adsorbing and purifying the peculiar smell generated in the drainage ditch under the mutual cooperation of the structures, thereby avoiding the pollution to the environment around the grid net caused by the outward diffusion of the peculiar smell generated in the drainage ditch through the grid net without treatment.
Drawings
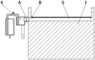
FIG. 1 is a schematic structural view of the present invention;
FIG. 2 is a cross-sectional view of the present invention;
FIG. 3 is an enlarged view taken at A of FIG. 2 in accordance with the present invention;
FIG. 4 is a cross-sectional view of a pipe of the present invention;
fig. 5 is an enlarged view of the utility model at B in fig. 2.
In the figure: 1. an entrance ramp; 2. a grid net; 3. a pipeline; 4. a drainage well; 5. a drainage ditch; 6. a filter assembly; 61. a limiting plate; 62. lifting the block; 63. a limiting groove; 64. filtering with a screen; 65. mounting grooves; 66. installing a frame; 7. a odor removal assembly; 71. a through hole; 72. a fixing plate; 73. activated carbon; 74. a screen plate; 75. a fixing frame is provided.
Detailed Description
The technical solutions in the embodiments of the present invention will be clearly and completely described below with reference to the drawings in the embodiments of the present invention, and it is obvious that the described embodiments are only a part of the embodiments of the present invention, and not all of the embodiments. All other embodiments, which can be derived by a person skilled in the art from the embodiments given herein without making any creative effort, shall fall within the protection scope of the present invention.
Example 1
Referring to fig. 1-5, the present invention provides the following technical solutions: a three-dimensional drainage system of an underground garage comprises an entrance ramp 1, a grid net 2 is arranged above the entrance ramp 1, drainage ditches 5 are arranged inside the entrance ramp 1 and below the grid net 2, pipelines 3 are connected to the side wall of the entrance ramp 1 and the positions corresponding to the drainage ditches 5, and filtering components 6 are arranged inside the pipelines 3;
Specifically, the filtering assembly 6 further comprises a limiting plate 61, a lifting block 62 and a limiting groove 63, the lifting block 62 is connected above the mounting frame 66, the limiting plates 61 are connected to both sides of one end of the lifting block 62 away from the mounting frame 66, the limiting groove 63 is arranged on the side wall of the pipeline 3 and corresponding to the position of the limiting plate 61, the limiting plate 61 is connected with the pipeline 3 through a bolt,
through adopting above-mentioned technical scheme, be convenient for with installing frame 66 detachable connection to inside the pipeline 3, and then be convenient for follow-up clear up the operation to filter screen 64.
Specifically, a sealing gasket is connected to the outer side wall of the mounting frame 66 at a position corresponding to the mounting groove 65,
through adopting above-mentioned technical scheme, avoid having the gap between installing frame 66 and the mounting groove 65, cause the rainwater directly to enter into inside the drainage well 4 through the gap.
When the rainwater collecting device is used, rainwater flows downwards through the inlet ramp 1 and flows to the position of the grid net 2, the rainwater falls into the drainage ditch 5 through the holes of the grid net 2, the water flowing into the drainage ditch 5 moves towards the inside of the pipeline 3, after the rainwater is contacted with the filter screen 64 in the pipeline 3, solid impurities mixed in the rainwater are blocked by the filter screen 64, the rainwater directly flows into the drainage well 4, when the filter screen 64 needs to be cleaned, the bolt is taken down, then the lifting block 62 is lifted upwards, the mounting frame 66 is further driven to move upwards, and after the mounting frame 66 is separated from the mounting groove 65, the filter screen 64 is cleaned;
example 2
The present embodiment is different from embodiment 1 in that: a smell removal component 7 is arranged below the grille net 2, the smell removal component 7 comprises active carbon 73, a screen plate 74 and a fixing frame 75, the fixing frame 75 is connected below the grille net 2, the screen plate 74 is connected on the side wall of the fixing frame 75, the active carbon 73 is arranged above the screen plate 74,
specifically, the smell removing assembly 7 further comprises a through hole 71 and a fixing plate 72, the fixing plate 72 is connected on the inner side wall of the fixing frame 75 and above the activated carbon 73, the fixing plate 72 is provided with a plurality of through holes 71,
by adopting the technical scheme, the leakage of the activated carbon 73 is avoided.
Specifically, the side wall of the fixed frame 75 is connected with a feeding port, one end of the feeding port far away from the fixed frame 75 is connected with a sealing cover through a screw thread,
through adopting above-mentioned technical scheme, be convenient for change the processing operation to the inside active carbon 73 of fixed frame 75.
When this embodiment uses, when the peculiar smell in the escape canal 5 outwards diffuses, permeate the otter board 74 and enter into fixed frame 75 inside, by the activated carbon 73 absorption purification in the fixed frame 75, avoid the peculiar smell to pass through grid net 2 outwards diffusion, cause the peripheral environment of grid net 2 to receive the pollution.
The structure of the launching ramp 1, the structure of the drainage well 4 and the working principle of the underground garage three-dimensional drainage system are disclosed in the underground garage drainage system disclosed in the Chinese patent application No. 201920594692.5.
Although embodiments of the present invention have been shown and described, it will be appreciated by those skilled in the art that changes, modifications, substitutions and alterations can be made in these embodiments without departing from the principles and spirit of the utility model, the scope of which is defined in the appended claims and their equivalents.
Claims (6)
1. The utility model provides a three-dimensional drainage system of underground garage, includes entry ramp (1), its characterized in that: a grid net (2) is arranged above the inlet ramp (1), drainage ditches (5) are arranged in the inlet ramp (1) and below the grid net (2), pipelines (3) are connected to the side wall of the inlet ramp (1) and the positions corresponding to the drainage ditches (5), and filtering assemblies (6) are arranged in the pipelines (3);
filter component (6) include filter screen (64), mounting groove (65) and installing frame (66), be provided with mounting groove (65) on the lateral wall of pipeline (3), the inside of mounting groove (65) is provided with installing frame (66), be connected with filter screen (64) on the inside wall of installing frame (66), the one end that entry ramp (1) was kept away from in pipeline (3) is connected with drainage well (4).
2. The stereo drainage system for underground garage of claim 1, wherein: the filter assembly (6) further comprises a limiting plate (61), a lifting block (62) and a limiting groove (63), the lifting block (62) is connected to the upper portion of the mounting frame (66), one end of the lifting block (62) far away from the mounting frame (66) is connected with the limiting plate (61), the limiting groove (63) is formed in the position of the side wall of the pipeline (3) corresponding to the limiting plate (61), and the limiting plate (61) is connected with the pipeline (3) through bolts.
3. The stereo drainage system for underground garage of claim 1, wherein: and a sealing gasket is connected on the outer side wall of the mounting frame (66) and at the position corresponding to the mounting groove (65).
4. The stereo drainage system for underground garage of claim 1, wherein: the below of grid net (2) is provided with removes flavor subassembly (7), remove flavor subassembly (7) and include active carbon (73), otter board (74) and fixed frame (75), the below of grid net (2) is connected with fixed frame (75), be connected with otter board (74) on the lateral wall of fixed frame (75), the top of otter board (74) is provided with active carbon (73).
5. The stereo drainage system for underground garage of claim 4, wherein: the smell removing assembly (7) further comprises a through hole (71) and a fixing plate (72), the fixing plate (72) is connected to the inner side wall of the fixing frame (75) and located above the activated carbon (73), and the fixing plate (72) is provided with a plurality of through holes (71).
6. The stereo drainage system for underground garage of claim 4, wherein: the side wall of the fixed frame (75) is connected with a filling opening, and one end of the filling opening, which is far away from the fixed frame (75), is in threaded connection with a sealing cover.
Priority Applications (1)
| Application Number | Priority Date | Filing Date | Title |
|---|---|---|---|
| CN202122953120.1U CN216339987U (en) | 2021-11-29 | 2021-11-29 | Three-dimensional drainage system of underground garage |
Applications Claiming Priority (1)
| Application Number | Priority Date | Filing Date | Title |
|---|---|---|---|
| CN202122953120.1U CN216339987U (en) | 2021-11-29 | 2021-11-29 | Three-dimensional drainage system of underground garage |
Publications (1)
| Publication Number | Publication Date |
|---|---|
| CN216339987U true CN216339987U (en) | 2022-04-19 |
Family
ID=81156869
Family Applications (1)
| Application Number | Title | Priority Date | Filing Date |
|---|---|---|---|
| CN202122953120.1U Expired - Fee Related CN216339987U (en) | 2021-11-29 | 2021-11-29 | Three-dimensional drainage system of underground garage |
Country Status (1)
| Country | Link |
|---|---|
| CN (1) | CN216339987U (en) |
-
2021
- 2021-11-29 CN CN202122953120.1U patent/CN216339987U/en not_active Expired - Fee Related
Similar Documents
| Publication | Publication Date | Title |
|---|---|---|
| CN216339987U (en) | Three-dimensional drainage system of underground garage | |
| CN211328338U (en) | High efficiency's waste water filter equipment | |
| CN2545186Y (en) | Filter type oil-water separator | |
| CN209523286U (en) | Rainwater terminal emergency catch-basin | |
| CN212680207U (en) | Filter and filtration system thereof | |
| CN204601735U (en) | Auto purification type rain water filtering device | |
| CN111549896A (en) | Oil-intercepting and dirt-intercepting device for rainwater pumping station | |
| CN111499049A (en) | Vertical segmentation sewage treatment device | |
| CN207314489U (en) | A kind of catch-basin of environment-protecting clean | |
| CN216191443U (en) | Industrial sewage treatment equipment with hierarchical filtering capability | |
| CN107761925B (en) | An integrated rainwater filter | |
| CN205296361U (en) | Inlet for stom water structure with filter screen | |
| CN105330043A (en) | Rainwater filter device | |
| CN212926414U (en) | Oil-intercepting and dirt-intercepting device for rainwater pumping station | |
| CN211367201U (en) | Circulating waste water management device | |
| CN218508632U (en) | Vatch basin with block sediment function | |
| KR101164135B1 (en) | Pmeumatic type movable weir | |
| CN220704642U (en) | Ground rainwater recovery processing device | |
| CN220550663U (en) | Municipal drainage floor drain device | |
| CN218323042U (en) | Drainage floor drain suitable for negative pressure sewage is collected | |
| CN219863210U (en) | Rainwater safety diversion well structure | |
| CN210944938U (en) | Emergency pipeline system for discharging sewage into sea | |
| CN220225545U (en) | River course fire control intake structure | |
| CN215670027U (en) | Integration pump station combination grid desilting device | |
| CN211328492U (en) | Precipitation equipment for filtering wastewater |
Legal Events
| Date | Code | Title | Description |
|---|---|---|---|
| GR01 | Patent grant | ||
| GR01 | Patent grant | ||
| CF01 | Termination of patent right due to non-payment of annual fee | ||
| CF01 | Termination of patent right due to non-payment of annual fee |
Granted publication date: 20220419 |