CN216336940U - Dross collection device for sewage treatment - Google Patents

Dross collection device for sewage treatment Download PDF

Info

Publication number
CN216336940U
CN216336940U CN202122965518.7U CN202122965518U CN216336940U CN 216336940 U CN216336940 U CN 216336940U CN 202122965518 U CN202122965518 U CN 202122965518U CN 216336940 U CN216336940 U CN 216336940U
Authority
CN
China
Prior art keywords
water conduit
box body
sewage
water
sewage treatment
Prior art date
Legal status (The legal status is an assumption and is not a legal conclusion. Google has not performed a legal analysis and makes no representation as to the accuracy of the status listed.)
Expired - Fee Related
Application number
CN202122965518.7U
Other languages
Chinese (zh)
Inventor
蔺文华
Current Assignee (The listed assignees may be inaccurate. Google has not performed a legal analysis and makes no representation or warranty as to the accuracy of the list.)
Tianjin Development Zone Gabriel Environmental Protection Technology Co ltd
Original Assignee
Tianjin Development Zone Gabriel Environmental Protection Technology Co ltd
Priority date (The priority date is an assumption and is not a legal conclusion. Google has not performed a legal analysis and makes no representation as to the accuracy of the date listed.)
Filing date
Publication date
Application filed by Tianjin Development Zone Gabriel Environmental Protection Technology Co ltd filed Critical Tianjin Development Zone Gabriel Environmental Protection Technology Co ltd
Priority to CN202122965518.7U priority Critical patent/CN216336940U/en
Application granted granted Critical
Publication of CN216336940U publication Critical patent/CN216336940U/en
Expired - Fee Related legal-status Critical Current
Anticipated expiration legal-status Critical

Links

Images

Landscapes

  • Removal Of Floating Material (AREA)

Abstract

本实用新型涉及污水处理的技术领域,特别是涉及一种污水处理用浮渣收集装置,其通过设置此设备,便于对污水表面的浮渣进行收集,节省了大量的人力和时间,提高其工作效率;包括污水池、箱体、隔板、第一水泵、第一导水管、第二导水管、两组法兰、第三导水管、控制阀、第二水泵、第四导水管、第五导水管、第六导水管、管套、支撑架、抽屉、过滤网、清理门、清理把手和升降装置,污水池内部设置有污水,隔板安装在箱体内左部,隔板将箱体内部分为左腔室和右腔室,支撑架安装在箱体右腔室下部,抽屉安装在支撑架上,过滤网安装在抽屉底端,箱体右端连通设置有清理口,清理门可转动安装在清理口处,清理把手安装在清理门右端。

Figure 202122965518

The utility model relates to the technical field of sewage treatment, in particular to a scum collection device for sewage treatment. By setting the device, it is convenient to collect the scum on the surface of sewage, save a lot of manpower and time, and improve its work. Efficiency; including sewage pool, box, partition, first water pump, first water pipe, second water pipe, two sets of flanges, third water pipe, control valve, second water pump, fourth water pipe, fifth water pipe The aqueduct, the sixth aqueduct, the pipe sleeve, the support frame, the drawer, the filter, the cleaning door, the cleaning handle and the lifting device, the sewage tank is provided with sewage, the partition is installed in the left part of the box, and the partition separates the inner part of the box. It is the left chamber and the right chamber, the support frame is installed on the lower part of the right chamber of the box body, the drawer is installed on the support frame, the filter screen is installed at the bottom end of the drawer, the right end of the box body is connected with a cleaning port, and the cleaning door can be rotatably installed at the bottom of the drawer. At the cleaning port, the cleaning handle is installed on the right end of the cleaning door.

Figure 202122965518

Description

Dross collection device for sewage treatment
Technical Field
The utility model relates to the technical field of sewage treatment, in particular to a scum collecting device for sewage treatment.
Background
Sewage treatment is a process of purifying sewage to meet the water quality requirement of discharging the sewage into a certain water body or reusing the sewage. Sewage treatment is widely applied to various fields such as buildings, agriculture, traffic, energy, petrifaction, environmental protection, urban landscape, medical treatment, catering and the like, and is increasingly used in daily life of common people.
The surface of sewage has the dross among the sewage treatment process, needs to collect the dross on sewage surface, and current method of collecting the dross on sewage surface is, and the manual work uses the salvage net to salvage the collection to the dross on sewage surface, but this method not only consumes the manpower, and is consuming time longer moreover, and work efficiency is lower.
SUMMERY OF THE UTILITY MODEL
In order to solve the technical problems, the utility model provides the scum collecting device for sewage treatment, which is convenient for collecting scum on the surface of sewage, saves a large amount of labor and time and improves the working efficiency.
The utility model relates to a scum collecting device for sewage treatment, which comprises a sewage pool, a box body, a partition plate, a first water pump, a first water guide pipe, a second water guide pipe, two groups of flanges, a third water guide pipe, a control valve, a second water pump, a fourth water guide pipe, a fifth water guide pipe, a sixth water guide pipe, a pipe sleeve, a support frame, a drawer, a filter screen, a cleaning door, a cleaning handle and a lifting device, wherein sewage is arranged in the sewage pool, the partition plate is arranged at the left part in the box body and divides the interior of the box body into a left chamber and a right chamber, the first water pump is arranged at the lower part of the left chamber of the box body, the output end of the first water guide pipe is connected with the input end of the first water pump, the input end of the first water guide pipe penetrates through the partition plate and is communicated with the right chamber of the box body, the input end of the second water guide pipe penetrates through the left end of the box body and is connected with the output end of the first water pump, the output end of the second water guide pipe is connected with the input end of the third water guide pipe through two groups of flanges, the control valve is installed on the third aqueduct, third aqueduct output and effluent water sump right-hand member lower part intercommunication, the second water pump is installed at box left side cavity top, the fourth aqueduct input is connected with second water pump output, the fourth aqueduct output passes baffle upper portion and box right side cavity intercommunication, the fifth aqueduct output passes box left end upside and is connected with second water pump input, fifth aqueduct input and sixth aqueduct output rotatable coupling, sixth aqueduct and pipe box pass through elevating gear sliding connection, the support frame is installed in box right side cavity lower part, the drawer is installed on the support frame, the filter screen is installed in the drawer bottom, box right-hand member intercommunication is provided with the clearance mouth, clearance door rotatable mounting is in clearance mouth department, the clearance handle is installed at clearance door right-hand member.
The utility model relates to a scum collecting device for sewage treatment, which comprises a lifting device, a first fixing ring, a second fixing ring, three groups of screw rods, three groups of belt pulleys and a belt, wherein the first fixing ring is arranged at the upper part of the outer side of a pipe sleeve, the second fixing ring is arranged at the upper part of the outer side of a sixth water guide pipe, the three groups of screw rods are respectively and equally rotatably connected with the second fixing ring, the three groups of screw rods are in threaded connection with the first fixing ring, the three groups of belt pulleys are respectively arranged at the upper parts of the three groups of screw rods, the three groups of belt pulleys are positioned between the first fixing ring and the second fixing ring, and the three groups of belt pulleys synchronously rotate through the belt.
The scum collecting device for sewage treatment further comprises a rotating handle, and the rotating handle is mounted at the top end of the left screw.
The scum collecting device for sewage treatment further comprises a sealing ring, wherein the sealing ring is arranged on the upper side inside the pipe sleeve and is in contact with the sixth water guide pipe.
The scum collecting device for sewage treatment further comprises a maintenance door, wherein the left end of the box body is communicated with the maintenance opening, and the maintenance door is covered at the maintenance opening.
The scum collecting device for sewage treatment further comprises a maintenance handle, and the maintenance handle is installed on the maintenance door.
The scum collecting device for sewage treatment further comprises four groups of universal wheels, wherein the four groups of universal wheels are respectively arranged on the left front side, the right front side, the left rear side and the right rear side of the bottom end of the box body.
The scum collecting device for sewage treatment further comprises three groups of limiting blocks, and the three groups of limiting blocks are respectively installed at the bottom ends of the three groups of screw rods.
Compared with the prior art, the utility model has the beneficial effects that: the height of the pipe sleeve is adjusted through the lifting device, the pipe sleeve slides outside the sixth water guide pipe, when the pipe sleeve is positioned on the surface of sewage in the sewage pool, the second water pump is opened, scum and water on the surface of the sewage are guided into the drawer in the right chamber of the box body through the pipe sleeve, the sixth water guide pipe, the fifth water guide pipe, the second water pump and the fourth water guide pipe, then the water is guided into the lower part of the right chamber of the box body after being filtered by the filter screen, the first water pump and the control valve are opened, the water on the lower part of the right chamber of the box body is guided back to the inside of the sewage pool through the first water guide pipe, the first water pump, the second water guide pipe and the third water guide pipe, the scum is left in the drawer, then the cleaning door is opened through the cleaning handle, the drawer is taken to clean the scum in the drawer, the device is convenient to collect the scum on the surface of the sewage, a large amount of manpower and time are saved, the working efficiency is improved.
Drawings
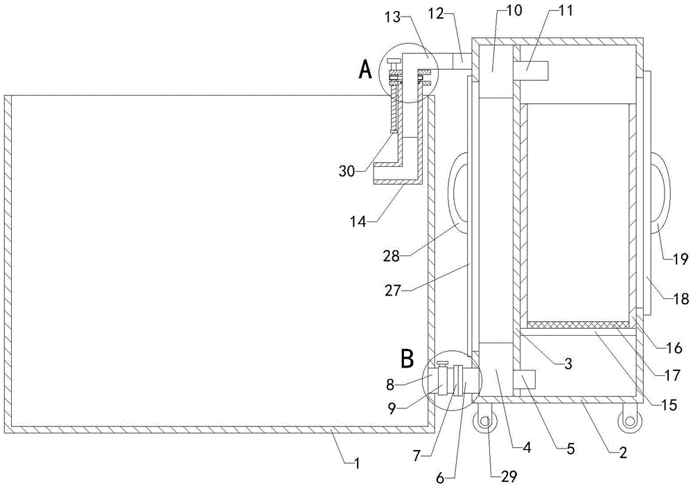
FIG. 1 is a schematic structural view of the present invention;
FIG. 2 is an enlarged schematic view of A in FIG. 1;
FIG. 3 is a schematic top view of the structure of FIG. 2;
FIG. 4 is an enlarged schematic view of B of FIG. 1;
in the drawings, the reference numbers: 1. a sewage tank; 2. a box body; 3. a partition plate; 4. a first water pump; 5. a first water conduit; 6. a second water conduit; 7. a flange; 8. a third water conduit; 9. a control valve; 10. a second water pump; 11. a fourth aqueduct; 12. a fifth aqueduct; 13. a sixth aqueduct; 14. pipe sleeve; 15. a support frame; 16. a drawer; 17. a filter screen; 18. cleaning the door; 19. cleaning the handle; 20. a first retaining ring; 21. a second retaining ring; 22. a screw; 23. a belt pulley; 24. a belt; 25. rotating the handle; 26. a seal ring; 27. repairing the door; 28. maintaining the handle; 29. a universal wheel; 30. and a limiting block.
Detailed Description
The following detailed description of embodiments of the present invention is provided in connection with the accompanying drawings and examples. The following examples are intended to illustrate the utility model but are not intended to limit the scope of the utility model.
As shown in fig. 1 to 4, the scum collecting device for sewage treatment of the present invention comprises a sewage tank 1, a tank 2, a partition plate 3, a first water pump 4, a first water conduit 5, a second water conduit 6, two sets of flanges 7, a third water conduit 8, a control valve 9, a second water pump 10, a fourth water conduit 11, a fifth water conduit 12, a sixth water conduit 13, a pipe sleeve 14, a support frame 15, a drawer 16, a filter screen 17, a cleaning door 18, a cleaning handle 19 and a lifting device, wherein sewage is arranged inside the sewage tank 1, the partition plate 3 is arranged at the left part inside the tank 2, the partition plate 3 divides the inside of the tank 2 into a left chamber and a right chamber, the first water pump 4 is arranged at the lower part of the left chamber of the tank 2, the output end of the first water conduit 5 is connected with the input end of the first water pump 4, the input end of the first water conduit 5 is communicated with the right chamber of the tank 2 through the partition plate 3, the input end of the second water conduit 6 is connected with the output end of the first water pump 4 through the left end of the tank 2, the output end of a second water guide pipe 6 is connected with the input end of a third water guide pipe 8 through two groups of flanges 7, a control valve 9 is arranged on the third water guide pipe 8, the output end of the third water guide pipe 8 is communicated with the lower part of the right end of a sewage pool 1, a second water pump 10 is arranged at the top of a left cavity of a box body 2, the input end of a fourth water guide pipe 11 is connected with the output end of the second water pump 10, the output end of the fourth water guide pipe 11 passes through the upper part of a clapboard 3 and is communicated with a right cavity of the box body 2, the output end of a fifth water guide pipe 12 passes through the upper side of the left end of the box body 2 and is connected with the input end of the second water pump 10, the input end of the fifth water guide pipe 12 is rotatably connected with the output end of a sixth water guide pipe 13, the sixth water guide pipe 13 is slidably connected with a pipe sleeve 14 through a lifting device, a support frame 15 is arranged at the lower part of the right cavity of the box body 2, a drawer 16 is arranged on the support frame 15, a filter screen 17 is arranged at the bottom end of the drawer 16, and the right end of the box body 2 is communicated with a cleaning port, the cleaning door 18 is rotatably arranged at the cleaning opening, and the cleaning handle 19 is arranged at the right end of the cleaning door 18; the height of the pipe sleeve 14 is adjusted through the lifting device, the pipe sleeve 14 slides outside the sixth water guide pipe 13, when the pipe sleeve 14 is positioned on the surface of sewage in the sewage pool 1, the second water pump 10 is opened, scum and water on the surface of the sewage are guided into the drawer 16 in the right chamber of the box body 2 through the pipe sleeve 14, the sixth water guide pipe 13, the fifth water guide pipe 12, the second water pump 10 and the fourth water guide pipe 11, then the water is guided into the lower part of the right chamber of the box body 2 after being filtered by the filter screen 17, the first water pump 4 and the control valve 9 are opened, the water in the lower part of the right chamber of the box body 2 is guided back into the sewage pool 1 through the first water guide pipe 5, the first water pump 4, the second water guide pipe 6 and the third water guide pipe 8, the scum is left in the drawer 16, then the cleaning door 18 is opened through the cleaning handle 19, the scum in the drawer 16 is cleaned, and by arranging the device, the scum on the surface of the sewage is convenient to collect, a large amount of manpower and time are saved, and the working efficiency is improved.
The utility model relates to a scum collecting device for sewage treatment, which comprises a lifting device and a lifting device, wherein the lifting device comprises a first fixing ring 20, a second fixing ring 21, three groups of screw rods 22, three groups of belt pulleys 23 and a belt 24, the first fixing ring 20 is arranged on the upper part of the outer side of a pipe sleeve 14, the second fixing ring 21 is arranged on the upper part of the outer side of a sixth water guide pipe 13, the three groups of screw rods 22 are respectively and equally and rotatably connected with the second fixing ring 21, the three groups of screw rods 22 are in threaded connection with the first fixing ring 20, the three groups of belt pulleys 23 are respectively arranged on the upper parts of the three groups of screw rods 22, the three groups of belt pulleys 23 are positioned between the first fixing ring 20 and the second fixing ring 21, and the three groups of belt pulleys 23 synchronously rotate through the belt 24; through rotating left side screw rod 22, left side screw rod 22 then drives left side belt pulley 23 and rotates, left side belt pulley 23 then drives other two sets of screw rods 22 through belt 24 and rotates, three sets of screw rods 22 rotate then with first solid fixed ring 20 threaded connection, first solid fixed ring 20 then drives pipe box 14 and slides on sixth aqueduct 13 to adjust the height of pipe box 14, make pipe box 14 input be located the sewage surface, be convenient for adjust the height of pipe box 14, thereby can collect the sewage dross of different water levels.
The scum collecting device for sewage treatment of the utility model also comprises a rotating handle 25, wherein the rotating handle 25 is arranged at the top end of the left screw 22; by providing a turning handle 25, turning of the screw 22 is facilitated.
The scum collecting device for sewage treatment further comprises a sealing ring 26, wherein the sealing ring 26 is arranged on the upper side inside the pipe sleeve 14, and the sealing ring 26 is in contact with the sixth water guide pipe 13; by providing the packing 26, the sealing performance between the sixth conduit 13 and the socket 14 can be improved.
The scum collecting device for sewage treatment further comprises a maintenance door 27, wherein a maintenance opening is formed in the left end of the box body 2 in a communicating mode, and the maintenance door 27 is covered at the maintenance opening; by providing the maintenance door 27, it is convenient to maintain the equipment in the left chamber of the cabinet 2 when it is damaged.
The scum collecting device for sewage treatment of the utility model also comprises a maintenance handle 28, wherein the maintenance handle 28 is arranged on the maintenance door 27; the service door 27 is facilitated to be operated by providing a service handle 28.
The scum collecting device for sewage treatment further comprises four groups of universal wheels 29, wherein the four groups of universal wheels 29 are respectively arranged on the left front side, the right front side, the left rear side and the right rear side of the bottom end of the box body 2; through setting up universal wheel 29, make two sets of flanges 7 that second aqueduct 6 and third aqueduct 8 are connected separately, later rotate sixth aqueduct 13, make pipe box 14 be in horizontal state, then make four sets of universal wheels 29 rotate and drive box 2 and wholly remove, be convenient for remove box 2.
The scum collecting device for sewage treatment further comprises three groups of limiting blocks 30, wherein the three groups of limiting blocks 30 are respectively arranged at the bottom ends of the three groups of screw rods 22; the limit block 30 is arranged to limit the screw 22, so that the pipe sleeve 14 is limited, and the pipe sleeve 14 is prevented from being separated from the sixth water guiding pipe 13.
The scum collecting device for sewage treatment comprises a left screw 22, a left belt pulley 23, two other screw 22 groups, a first fixing ring 20, a second water pump 10, a pipe sleeve 14, a sixth water guide pipe 13, a pipe sleeve 14, a drawer 16, a filter screen 17, a first water pump 4 and a control valve 9, wherein the left screw 22 is rotated, the left belt pulley 23 is rotated, the three screw 22 groups are rotated through a belt 24, the first fixing ring 20 is in threaded connection with the first fixing ring 20, the first fixing ring 20 drives the pipe sleeve 14 to slide on the sixth water guide pipe 13, so that the height of the pipe sleeve 14 is adjusted, the input end of the pipe sleeve 14 is positioned on the surface of sewage, the second water pump 10 is opened, scum and water on the surface of the sewage are guided into the drawer 16 in a right chamber of a box body 2 through the pipe sleeve 14, the sixth water guide pipe 13, the fifth water guide pipe 12, the second water pump 10 and the fourth water guide pipe 11, the water is then filtered by the filter screen 17 and then guided into the lower part of the right chamber of the box body 2, the first water guide pipe 5, the first water pump 4 and the control valve 9 are opened, and the water guide pipe, The first water pump 4, the second water guide pipe 6 and the third water guide pipe 8 are guided back to the inside of the wastewater tank 1, scum is left inside the drawer 16, and then the cleaning door 18 is opened by the cleaning handle 19, and the drawer 16 is taken out to clean the scum inside.
According to the scum collecting device for sewage treatment, the installation mode, the connection mode or the arrangement mode are common mechanical modes, and the scum collecting device can be implemented as long as the beneficial effects of the scum collecting device can be achieved; the first water pump 4 and the second water pump 10 of the scum collecting device for sewage treatment are purchased from the market, and technicians in the industry only need to install and operate the scum collecting device according to the attached operating instructions.
The above description is only a preferred embodiment of the present invention, and it should be noted that, for those skilled in the art, several modifications and variations can be made without departing from the technical principle of the present invention, and these modifications and variations should also be regarded as the protection scope of the present invention.

Claims (8)

1.一种污水处理用浮渣收集装置,其特征在于,包括污水池(1)、箱体(2)、隔板(3)、第一水泵(4)、第一导水管(5)、第二导水管(6)、两组法兰(7)、第三导水管(8)、控制阀(9)、第二水泵(10)、第四导水管(11)、第五导水管(12)、第六导水管(13)、管套(14)、支撑架(15)、抽屉(16)、过滤网(17)、清理门(18)、清理把手(19)和升降装置,污水池(1)内部设置有污水,隔板(3)安装在箱体(2)内左部,隔板(3)将箱体(2)内部分为左腔室和右腔室,第一水泵(4)安装在箱体(2)左腔室下部,第一导水管(5)输出端与第一水泵(4)输入端连接,第一导水管(5)输入端穿过隔板(3)与箱体(2)右腔室连通,第二导水管(6)输入端穿过箱体(2)左端与第一水泵(4)输出端连接,第二导水管(6)输出端和第三导水管(8)输入端通过两组法兰(7)连接,控制阀(9)安装在第三导水管(8)上,第三导水管(8)输出端与污水池(1)右端下部连通,第二水泵(10)安装在箱体(2)左腔室顶部,第四导水管(11)输入端与第二水泵(10)输出端连接,第四导水管(11)输出端穿过隔板(3)上部与箱体(2)右腔室连通,第五导水管(12)输出端穿过箱体(2)左端上侧与第二水泵(10)输入端连接,第五导水管(12)输入端与第六导水管(13)输出端可转动连接,第六导水管(13)和管套(14)通过升降装置滑动连接,支撑架(15)安装在箱体(2)右腔室下部,抽屉(16)安装在支撑架(15)上,过滤网(17)安装在抽屉(16)底端,箱体(2)右端连通设置有清理口,清理门(18)可转动安装在清理口处,清理把手(19)安装在清理门(18)右端。1. A scum collection device for sewage treatment, characterized in that it comprises a sewage pool (1), a box body (2), a partition plate (3), a first water pump (4), a first water conduit (5), The second water conduit (6), two sets of flanges (7), the third water conduit (8), the control valve (9), the second water pump (10), the fourth water conduit (11), the fifth water conduit ( 12), the sixth water conduit (13), the pipe sleeve (14), the support frame (15), the drawer (16), the filter screen (17), the cleaning door (18), the cleaning handle (19) and the lifting device, sewage The pool (1) is provided with sewage, the partition plate (3) is installed in the left part of the box body (2), and the partition plate (3) divides the inside of the box body (2) into a left chamber and a right chamber. The first water pump (4) Installed in the lower part of the left chamber of the box body (2), the output end of the first water conduit (5) is connected to the input end of the first water pump (4), and the input end of the first water conduit (5) passes through the partition plate (3) ) is communicated with the right chamber of the box body (2), the input end of the second water conduit (6) passes through the left end of the box body (2) and is connected to the output end of the first water pump (4), and the output end of the second water conduit (6) is connected to the output end of the first water pump (4). The input end of the third water conduit (8) is connected through two sets of flanges (7), the control valve (9) is installed on the third water conduit (8), and the output end of the third water conduit (8) is connected to the sewage pool (1) The lower part of the right end is connected, the second water pump (10) is installed on the top of the left chamber of the box body (2), the input end of the fourth water conduit (11) is connected with the output end of the second water pump (10), and the fourth water conduit (11) outputs The end passes through the upper part of the partition plate (3) and is connected with the right chamber of the box body (2). The input end of the fifth water conduit (12) is rotatably connected to the output end of the sixth water conduit (13), the sixth water conduit (13) and the pipe sleeve (14) are slidably connected through a lifting device, and the support frame (15) is installed in the box In the lower part of the right chamber of the body (2), the drawer (16) is installed on the support frame (15), the filter screen (17) is installed at the bottom end of the drawer (16), and the right end of the box body (2) is communicated with a cleaning port and a cleaning door. (18) is rotatably installed at the cleaning port, and the cleaning handle (19) is installed at the right end of the cleaning door (18). 2.如权利要求1所述的一种污水处理用浮渣收集装置,其特征在于,升降装置包括第一固定环(20)、第二固定环(21)、三组螺杆(22)、三组皮带轮(23)和皮带(24),第一固定环(20)安装在管套(14)外侧上部,第二固定环(21)安装在第六导水管(13)外侧上部,三组螺杆(22)分别均等与第二固定环(21)可转动连接,三组螺杆(22)与第一固定环(20)螺纹连接,三组皮带轮(23)分别安装在三组螺杆(22)上部,三组皮带轮(23)位于第一固定环(20)和第二固定环(21)之间,三组皮带轮(23)通过皮带(24)同步转动。2. A scum collection device for sewage treatment according to claim 1, characterized in that the lifting device comprises a first fixing ring (20), a second fixing ring (21), three sets of screws (22), three A set of pulleys (23) and belts (24), the first fixing ring (20) is installed on the outer upper part of the pipe sleeve (14), the second fixing ring (21) is installed on the outer upper part of the sixth water conduit (13), and three sets of screws (22) are respectively equally and rotatably connected to the second fixing ring (21), the three sets of screws (22) are threadedly connected to the first fixing ring (20), and the three sets of pulleys (23) are respectively installed on the upper parts of the three sets of screws (22). , the three groups of pulleys (23) are located between the first fixed ring (20) and the second fixed ring (21), and the three groups of pulleys (23) rotate synchronously through the belt (24). 3.如权利要求2所述的一种污水处理用浮渣收集装置,其特征在于,还包括转动把手(25),转动把手(25)安装在左侧螺杆(22)顶端。3 . The scum collection device for sewage treatment according to claim 2 , further comprising a rotating handle ( 25 ), and the rotating handle ( 25 ) is installed on the top end of the left screw ( 22 ). 4 . 4.如权利要求3所述的一种污水处理用浮渣收集装置,其特征在于,还包括密封圈(26),密封圈(26)安装在管套(14)内部上侧,密封圈(26)与第六导水管(13)接触。4. A scum collection device for sewage treatment according to claim 3, characterized in that it further comprises a sealing ring (26), the sealing ring (26) is installed on the inner upper side of the pipe sleeve (14), and the sealing ring (26) 26) Contact with the sixth water conduit (13). 5.如权利要求4所述的一种污水处理用浮渣收集装置,其特征在于,还包括维修门(27),箱体(2)左端连通设置有维修口,维修门(27)盖装在维修口处。5. A scum collection device for sewage treatment according to claim 4, characterized in that it further comprises a maintenance door (27), the left end of the box body (2) is communicated with a maintenance port, and the maintenance door (27) is covered with a cover at the maintenance port. 6.如权利要求5所述的一种污水处理用浮渣收集装置,其特征在于,还包括维修把手(28),维修把手(28)安装在维修门(27)上。6 . The scum collection device for sewage treatment according to claim 5 , further comprising a maintenance handle ( 28 ), and the maintenance handle ( 28 ) is installed on the maintenance door ( 27 ). 7 . 7.如权利要求6所述的一种污水处理用浮渣收集装置,其特征在于,还包括四组万向轮(29),四组万向轮(29)分别安装在箱体(2)底端左前侧、右前侧、左后侧和右后侧。7. The scum collection device for sewage treatment according to claim 6, characterized in that it further comprises four groups of universal wheels (29), and the four groups of universal wheels (29) are respectively installed on the box body (2) Bottom left front, right front, left rear and right rear. 8.如权利要求7所述的一种污水处理用浮渣收集装置,其特征在于,还包括三组限位块(30),三组限位块(30)分别安装在三组螺杆(22)底端。8 . The scum collection device for sewage treatment according to claim 7 , further comprising three groups of limit blocks ( 30 ), and the three groups of limit blocks ( 30 ) are respectively installed on the three groups of screws ( 22 ). 9 . ) at the bottom.
CN202122965518.7U 2021-11-29 2021-11-29 Dross collection device for sewage treatment Expired - Fee Related CN216336940U (en)

Priority Applications (1)

Application Number Priority Date Filing Date Title
CN202122965518.7U CN216336940U (en) 2021-11-29 2021-11-29 Dross collection device for sewage treatment

Applications Claiming Priority (1)

Application Number Priority Date Filing Date Title
CN202122965518.7U CN216336940U (en) 2021-11-29 2021-11-29 Dross collection device for sewage treatment

Publications (1)

Publication Number Publication Date
CN216336940U true CN216336940U (en) 2022-04-19

Family

ID=81156011

Family Applications (1)

Application Number Title Priority Date Filing Date
CN202122965518.7U Expired - Fee Related CN216336940U (en) 2021-11-29 2021-11-29 Dross collection device for sewage treatment

Country Status (1)

Country Link
CN (1) CN216336940U (en)

Similar Documents

Publication Publication Date Title
CN209411945U (en) A kind of waste water treatment box uninterruptedly continuously filtered
CN112939111A (en) Sewage treatment plant for construction that possesses supplementary clearance structure
CN109607932B (en) A kind of urban sewage treatment reclaimed water circulation filter device
CN210728884U (en) River course sewage multi-stage filtration device
CN216336940U (en) Dross collection device for sewage treatment
CN210385061U (en) Sewage treatment device
CN114797304B (en) Dust collector for construction
CN218107029U (en) Precipitation equipment for treating oily sewage
CN211078547U (en) A new type of high-efficiency oil-water separator
CN215053738U (en) A kind of interception well with good filtering effect
CN213823706U (en) A river circulation purifier for environmental protection field
CN210674428U (en) Solid-liquid separation device for sewage treatment
CN207628015U (en) An integrated industrial wastewater treatment device
CN222400637U (en) Sewage treatment device for food processing
CN209178118U (en) A kind of energy-saving and environment-friendly apparatus for treating sewage
CN114772763A (en) Integrated sewage treatment equipment convenient to clean and cleaning method
CN218900974U (en) Filtering device for chemical sewage treatment
CN215102364U (en) Pretreatment device of reverse osmosis water purification system
CN112933725A (en) Waste residue filtration equipment for sewage treatment
CN215462333U (en) Sewage treatment integration equipment based on thing networking
CN217504500U (en) Cleaning device for air conditioner condenser
CN222623826U (en) Sewage treatment tank for sewage treatment equipment
CN216366911U (en) Multi-media filter for sewage treatment
CN220424662U (en) A submersible microfiltration machine
CN223112441U (en) Sewage filtering environment-friendly device

Legal Events

Date Code Title Description
GR01 Patent grant
GR01 Patent grant
CF01 Termination of patent right due to non-payment of annual fee

Granted publication date: 20220419

CF01 Termination of patent right due to non-payment of annual fee