CN216320474U - 一种餐余垃圾油水分离装置 - Google Patents
一种餐余垃圾油水分离装置 Download PDFInfo
- Publication number
- CN216320474U CN216320474U CN202122504902.7U CN202122504902U CN216320474U CN 216320474 U CN216320474 U CN 216320474U CN 202122504902 U CN202122504902 U CN 202122504902U CN 216320474 U CN216320474 U CN 216320474U
- Authority
- CN
- China
- Prior art keywords
- oil
- tank body
- water
- collecting tank
- sewage
- Prior art date
- Legal status (The legal status is an assumption and is not a legal conclusion. Google has not performed a legal analysis and makes no representation as to the accuracy of the status listed.)
- Active
Links
- XLYOFNOQVPJJNP-UHFFFAOYSA-N water Substances O XLYOFNOQVPJJNP-UHFFFAOYSA-N 0.000 title claims abstract description 85
- 238000000926 separation method Methods 0.000 title claims abstract description 39
- 239000010794 food waste Substances 0.000 title claims abstract description 23
- 239000010865 sewage Substances 0.000 claims abstract description 50
- 238000001914 filtration Methods 0.000 claims abstract description 12
- 239000010813 municipal solid waste Substances 0.000 claims abstract description 9
- 229910001220 stainless steel Inorganic materials 0.000 claims description 7
- 239000010935 stainless steel Substances 0.000 claims description 7
- 238000007789 sealing Methods 0.000 claims description 3
- 239000002893 slag Substances 0.000 claims description 3
- 235000012054 meals Nutrition 0.000 claims 1
- 230000000694 effects Effects 0.000 abstract description 3
- 235000013305 food Nutrition 0.000 abstract description 3
- 230000003068 static effect Effects 0.000 abstract description 3
- 235000019198 oils Nutrition 0.000 description 50
- 239000004519 grease Substances 0.000 description 9
- 235000019476 oil-water mixture Nutrition 0.000 description 7
- 238000003466 welding Methods 0.000 description 3
- 239000010806 kitchen waste Substances 0.000 description 2
- 238000012986 modification Methods 0.000 description 2
- 230000004048 modification Effects 0.000 description 2
- 230000032683 aging Effects 0.000 description 1
- 230000009286 beneficial effect Effects 0.000 description 1
- 230000007547 defect Effects 0.000 description 1
- 238000007599 discharging Methods 0.000 description 1
- 239000011521 glass Substances 0.000 description 1
- 238000004519 manufacturing process Methods 0.000 description 1
- 239000000463 material Substances 0.000 description 1
- 238000000034 method Methods 0.000 description 1
- 239000007787 solid Substances 0.000 description 1
- 239000002910 solid waste Substances 0.000 description 1
- 230000007704 transition Effects 0.000 description 1
Images
Landscapes
- Sewage (AREA)
Abstract
本实用新型公开了一种餐余垃圾油水分离装置,由滤渣箱和油水分离箱组成。滤渣箱用于对进入箱内的污水进行滤渣,避免污水中残留有餐余垃圾,容易堵塞油水分离箱的管路及排污效果。油水分离箱基于油密度比水密度小的原理,在相对静止的空间里会分离漂浮在水面之上,通过排油管进行油水分离。
Description
技术领域
本实用新型涉及垃圾处理设备技术领域,具体涉及一种餐余垃圾油水分离装置。
背景技术
在家庭、饭店、酒店等厨房中会产生大量的厨余垃圾,厨余垃圾中主要含有固体废弃物、水以及油脂等。目前,常规处理方法是将厨余垃圾进行过滤,餐余垃圾经过滤后会剩下油水混合物,将其排入城市管网中,由城市管网集中汇到污水处理场进行处理。
但由于油水混合物中有油的存在,在将油水混合物排入城市管网中时,油会加快城市管网的老化,并且油水混合物内的少量微小固形物在城市管网中沉积,时间长了会导致城市管网堵塞。为此,需要对餐余垃圾产生的油水混合物进行油水分离。
实用新型内容
为了克服上述技术缺陷,本实用新型提供一种餐余垃圾油水分离装置。
为了解决上述问题,本实用新型按以下技术方案予以实现的:
本实用新型所述一种餐余垃圾油水分离装置,包括:
滤渣箱,其设置有进污水管,所述滤渣箱用于对进入箱内的污水进行滤渣;
油水分离箱,其通过输污水管与滤渣箱连接;所述油水分离箱的顶部设置有排油管,于油水分离箱的底部设置有排污水管。
优选地,所述油水分离箱包括上下分布设置的集油箱体和集水箱体,集油箱体和集水箱体密封连接,且两者的箱体内部相互贯通;
所述集油箱体的外径远小于集水箱体的外径,所述排油管设置于集油箱体上,所述排污水管设置于集水箱体。
优选地,所述集油箱体的侧壁和顶部围蔽,集油箱体的底部设置有豁口;
所述集油箱体为中空的矩体结构,在集油箱体的侧壁上设置有油位观察窗。
优选地,所述集水箱体的顶部外径自下而上的逐渐缩小,集水箱体的顶部开口适配集油箱体的底部豁口。
优选地,所述滤渣箱的顶部设置有防溢出管,所述防溢出管与油水分离箱的顶部连通。
优选地,所述滤渣箱设置有底架,通过底架使滤渣箱的底部水平高度与集油箱体相近。
优选地,所述排油管和排污水管上均设置有球阀。
优选地,所述滤渣箱的中部设置有不锈钢滤网,所述进污水管延伸至滤渣箱的底部;
所述滤渣箱的底部设置有排污管,排污管设置有蝶阀。
与现有技术相比,本实用新型的有益效果是:
本实用新型提供了一种餐余垃圾油水分离装置,由滤渣箱和油水分离箱组成。滤渣箱用于对进入箱内的污水进行滤渣,避免污水中残留有餐余垃圾,容易堵塞油水分离箱的管路及排污效果。油水分离箱基于油密度比水密度小的原理,在相对静止的空间里会分离漂浮在水面之上,通过排油管进行油水分离。
附图说明
下面结合附图对本实用新型的具体实施方式作进一步详细的说明,其中:
图1是本实用新型的一种餐余垃圾油水分离装置的立体示意图;
图2是本实用新型的一种餐余垃圾油水分离装置的侧视图;
图3是本实用新型的一种餐余垃圾油水分离装置的剖面示意图;
图中:
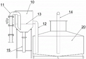
10-滤渣箱、11-进污水管、12-输污水管、13-不锈钢滤网、14-防溢出管、15-排污管;
20-油水分离箱、21-集油箱体、211-排油管、22-集水箱体、221-排污水管;
具体实施方式
以下结合附图对本实用新型的优选实施例进行说明,应当理解,此处所描述的优选实施例仅用于说明和解释本实用新型,并不用于限定本实用新型。
如图1~图3所示,本实用新型所述的一种餐余垃圾油水分离装置的优选结构。
如图1所示,所述餐余垃圾油水分离装置包括滤渣箱10和油水分离箱20。其中,滤渣箱10设置有进污水管11,用于向滤渣箱10内输送餐余垃圾过滤后的污水。所述油水分离箱通过输污水管与滤渣箱连接;所述油水分离箱的顶部设置有排油管,于油水分离箱的底部设置有排污水管。
其中,滤渣箱用于对进入箱内的污水进行滤渣,避免污水中残留有餐余垃圾,容易堵塞油水分离箱的管路及排污效果。油水分离箱基于油密度比水密度小的原理,在相对静止的空间里会分离漂浮在水面之上,通过排油管进行油水分离,油脂层从排油管排走;排污水管用于排走分层后的污水。
如图3所示,所述滤渣箱10为不锈钢板焊接而成的箱体。所述滤渣箱整体呈矩体形状,滤渣箱的底部外径自上而下的逐渐缩小。所述滤渣箱的中部设置有不锈钢滤网13,用于对进入箱内的污水进行滤渣。所述进污水管延伸至滤渣箱的底部,污水从滤渣箱的底部进入,污水缓慢上升,污水漫过输污水管时排入油水分离箱中,而不锈钢滤网则将污水中残留的垃圾隔开。在所述滤渣箱的底部设置有排污管15,排污管设置有蝶阀。排污管用于排走滤渣箱中滤下的垃圾等。
其中,滤渣箱顶部设置有推拉窗板,用于观察维护和清理滤渣箱。所述滤渣箱设置有底架,通过底架使滤渣箱的底部水平高度与集油箱体相近。通过此设计无需泵进行输送污水,污水可自流入油水分离箱中。所述底架为方管焊接而成,滤渣箱固定架设在底架上。
优选地,如图3所述,所述滤渣箱的顶部设置有防溢出管14,所述防溢出管与油水分离箱的顶部连通。为避免污水排入过多时,造成污水从滤渣箱溢出,造成污染等,通过防溢出管连通油水分离箱的顶部,以提高滤渣箱的排水能力。
如图1所示,所述油水分离箱20同样为不锈钢板焊接而成。亦可采用其他现有材料制作。
其中,所述油水分离箱20包括上下分布设置的集油箱体21和集水箱体22,集油箱体21和集水箱体22密封连接,且两者的箱体内部相互贯通。所述集油箱体的外径远小于集水箱体的外径,所述排油管211设置于集油箱体21上,所述排污水管221设置于集水箱体22。
由于餐余垃圾过滤后的污水,水占污水的比例是较大的,油脂较少。为此,将集油箱体的箱内体积缩小,当水体和油脂漫入集油箱体,集油箱体将油脂汇集,通过减小表面积的方式使油脂层的厚度加大,更有利于及时排走油脂。
具体的,所述集油箱体的侧壁和顶部围蔽,集油箱体的底部设置有豁口;所述集油箱体为中空的矩体结构,在集油箱体的侧壁上设置有油位观察窗。
油位观察窗包括玻璃和法兰,油位观察窗是本领域技术人员可实现的。
通过此设计,方便集油箱体的加工,且通过设置油位观察窗,方便观察油脂层的情况,及时操作排走油脂,然后排走污水。
优选地,如图1和图2所示,所述集水箱体的顶部外径自下而上的逐渐缩小,集水箱体的顶部开口适配集油箱体的底部豁口。通过此设计,水体上升时,油脂层会随着倾斜的顶壁过渡进入集油箱体中。
具体的,所述排油管和排污水管上均设置有球阀。可采用电动球阀或手动球阀。
本实施例所述一种餐余垃圾油水分离装置的其它结构参见现有技术。
以上所述,仅是本实用新型的较佳实施例而已,并非对本实用新型作任何形式上的限制,故凡是未脱离本实用新型技术方案内容,依据本实用新型的技术实质对以上实施例所作的任何修改、等同变化与修饰,均仍属于本实用新型技术方案的范围内。
Claims (8)
1.一种餐余垃圾油水分离装置,其特征在于,包括:
滤渣箱,其设置有进污水管,所述滤渣箱用于对进入箱内的污水进行滤渣;
油水分离箱,其通过输污水管与滤渣箱连接;所述油水分离箱的顶部设置有排油管,于油水分离箱的底部设置有排污水管。
2.根据权利要求1所述的餐余垃圾油水分离装置,其特征在于:
所述油水分离箱包括上下分布设置的集油箱体和集水箱体,集油箱体和集水箱体密封连接,且两者的箱体内部相互贯通;
所述集油箱体的外径远小于集水箱体的外径,所述排油管设置于集油箱体上,所述排污水管设置于集水箱体。
3.根据权利要求2所述的餐余垃圾油水分离装置,其特征在于:
所述集油箱体的侧壁和顶部围蔽,集油箱体的底部设置有豁口;
所述集油箱体为中空的矩体结构,在集油箱体的侧壁上设置有油位观察窗。
4.根据权利要求3所述的餐余垃圾油水分离装置,其特征在于:
所述集水箱体的顶部外径自下而上的逐渐缩小,集水箱体的顶部开口适配集油箱体的底部豁口。
5.根据权利要求2所述的餐余垃圾油水分离装置,其特征在于:
所述滤渣箱的顶部设置有防溢出管,所述防溢出管与油水分离箱的顶部连通。
6.根据权利要求2所述的餐余垃圾油水分离装置,其特征在于:
所述滤渣箱设置有底架,通过底架使滤渣箱的底部水平高度与集油箱体相近。
7.根据权利要求1所述的餐余垃圾油水分离装置,其特征在于:
所述排油管和排污水管上均设置有球阀。
8.根据权利要求1所述的餐余垃圾油水分离装置,其特征在于:
所述滤渣箱的中部设置有不锈钢滤网,所述进污水管延伸至滤渣箱的底部;
所述滤渣箱的底部设置有排污管,排污管设置有蝶阀。
Priority Applications (1)
| Application Number | Priority Date | Filing Date | Title |
|---|---|---|---|
| CN202122504902.7U CN216320474U (zh) | 2021-10-18 | 2021-10-18 | 一种餐余垃圾油水分离装置 |
Applications Claiming Priority (1)
| Application Number | Priority Date | Filing Date | Title |
|---|---|---|---|
| CN202122504902.7U CN216320474U (zh) | 2021-10-18 | 2021-10-18 | 一种餐余垃圾油水分离装置 |
Publications (1)
| Publication Number | Publication Date |
|---|---|
| CN216320474U true CN216320474U (zh) | 2022-04-19 |
Family
ID=81178112
Family Applications (1)
| Application Number | Title | Priority Date | Filing Date |
|---|---|---|---|
| CN202122504902.7U Active CN216320474U (zh) | 2021-10-18 | 2021-10-18 | 一种餐余垃圾油水分离装置 |
Country Status (1)
| Country | Link |
|---|---|
| CN (1) | CN216320474U (zh) |
Cited By (1)
| Publication number | Priority date | Publication date | Assignee | Title |
|---|---|---|---|---|
| CN117658275A (zh) * | 2024-01-31 | 2024-03-08 | 安徽华荣环保科技有限公司 | 一种含油污水处理装置 |
-
2021
- 2021-10-18 CN CN202122504902.7U patent/CN216320474U/zh active Active
Cited By (2)
| Publication number | Priority date | Publication date | Assignee | Title |
|---|---|---|---|---|
| CN117658275A (zh) * | 2024-01-31 | 2024-03-08 | 安徽华荣环保科技有限公司 | 一种含油污水处理装置 |
| CN117658275B (zh) * | 2024-01-31 | 2024-04-19 | 安徽华荣环保科技有限公司 | 一种含油污水处理装置 |
Similar Documents
| Publication | Publication Date | Title |
|---|---|---|
| CN201865162U (zh) | 一种真空收集污水装置 | |
| CN101602528B (zh) | 一种处理含油废水的油水分离装置 | |
| CN111847687B (zh) | 一种餐饮业用油水分离回收设备 | |
| CN216320474U (zh) | 一种餐余垃圾油水分离装置 | |
| WO2004022197A1 (ja) | 油分回収機能を備えた流し台 | |
| CN215798609U (zh) | 一种全自动化油泥水三相分离设备 | |
| CN101927101B (zh) | 一种环保废油回收器 | |
| CN209940539U (zh) | 一种餐厨半自动油水分离器 | |
| CN203382581U (zh) | 一种全自动隔油和提升一体化设备 | |
| CN206494751U (zh) | 一种油水自动分离装置 | |
| CN202322522U (zh) | 厨房移动式油水分离装置 | |
| CN219846375U (zh) | 负压沥水结构 | |
| CN201420030Y (zh) | 处理含油废水的油水分离装置 | |
| CN208995172U (zh) | 一种便于人工除油的不锈钢隔油池 | |
| CN213652027U (zh) | 一种多级过滤隔油装置 | |
| CN218860385U (zh) | 基坑内油水分离系统 | |
| CN216711749U (zh) | 一种油脂自动收集装置 | |
| CN204779090U (zh) | 环保收集潲水油装置 | |
| CN206008107U (zh) | 一种厨房专用螺旋式油水分离装置 | |
| CN210964046U (zh) | 一种油水分离器 | |
| CN214360547U (zh) | 地埋隔油器的自动出油出渣系统 | |
| CN217921562U (zh) | 一种油水分离器 | |
| CN217782251U (zh) | 一种新型洗菜盆 | |
| CN220715106U (zh) | 一种油水分离器 | |
| CN201423190Y (zh) | 环保废油回收器 |
Legal Events
| Date | Code | Title | Description |
|---|---|---|---|
| GR01 | Patent grant | ||
| GR01 | Patent grant |