CN216318525U - 一种可测量体重方便部分生活自理患者多功能病床 - Google Patents
一种可测量体重方便部分生活自理患者多功能病床 Download PDFInfo
- Publication number
- CN216318525U CN216318525U CN202122548668.8U CN202122548668U CN216318525U CN 216318525 U CN216318525 U CN 216318525U CN 202122548668 U CN202122548668 U CN 202122548668U CN 216318525 U CN216318525 U CN 216318525U
- Authority
- CN
- China
- Prior art keywords
- movable
- bed
- mattress
- patients
- frame
- Prior art date
- Legal status (The legal status is an assumption and is not a legal conclusion. Google has not performed a legal analysis and makes no representation as to the accuracy of the status listed.)
- Expired - Fee Related
Links
- 230000037396 body weight Effects 0.000 claims abstract description 14
- 238000009434 installation Methods 0.000 claims 1
- 238000005303 weighing Methods 0.000 abstract description 5
- 235000013399 edible fruits Nutrition 0.000 abstract description 4
- 235000019645 odor Nutrition 0.000 abstract description 3
- 206010008118 cerebral infarction Diseases 0.000 description 4
- 208000026106 cerebrovascular disease Diseases 0.000 description 4
- 238000010586 diagram Methods 0.000 description 3
- 230000007547 defect Effects 0.000 description 2
- 230000000694 effects Effects 0.000 description 2
- 238000012986 modification Methods 0.000 description 2
- 230000004048 modification Effects 0.000 description 2
- 206010008088 Cerebral artery embolism Diseases 0.000 description 1
- 206010008132 Cerebral thrombosis Diseases 0.000 description 1
- 206010021143 Hypoxia Diseases 0.000 description 1
- 201000001429 Intracranial Thrombosis Diseases 0.000 description 1
- 208000032382 Ischaemic stroke Diseases 0.000 description 1
- 208000004552 Lacunar Stroke Diseases 0.000 description 1
- 206010051078 Lacunar infarction Diseases 0.000 description 1
- 206010028851 Necrosis Diseases 0.000 description 1
- 230000009286 beneficial effect Effects 0.000 description 1
- 230000036770 blood supply Effects 0.000 description 1
- 210000005013 brain tissue Anatomy 0.000 description 1
- 230000002490 cerebral effect Effects 0.000 description 1
- 230000007812 deficiency Effects 0.000 description 1
- 208000037265 diseases, disorders, signs and symptoms Diseases 0.000 description 1
- 208000035475 disorder Diseases 0.000 description 1
- 230000007954 hypoxia Effects 0.000 description 1
- 201000010849 intracranial embolism Diseases 0.000 description 1
- 208000028867 ischemia Diseases 0.000 description 1
- 230000000302 ischemic effect Effects 0.000 description 1
- 238000000034 method Methods 0.000 description 1
- 230000017074 necrotic cell death Effects 0.000 description 1
Images
Landscapes
- Invalid Beds And Related Equipment (AREA)
- Accommodation For Nursing Or Treatment Tables (AREA)
Abstract
本实用新型涉及医疗行业技术领域,且公开了一种可测量体重方便部分生活自理患者多功能病床,包括床架,所述床架的上侧设置有活动床垫和固定床垫,所述固定床垫上端的凹陷处设置缝合连接有体重秤。本实用新型提供有尿壶伸缩机构、拐杖放置组件、生活用品存放组件和体重秤,体重秤可对患者进行称重,不需要患者下床称重,电动伸缩杆的活动端可推动活动箱上下运动,活动箱可带动内部的尿壶上下运动,在使用时可实现尿壶上升,不使用时,尿壶可进行收缩,同时活动板可对凹槽进行密封,有效避免杂物或异味外泄,拐杖放置组件内部的放置板可对拐杖本体进行存放,生活用品存放组件内部的活动架可方便放置水果等物品,方便患者的生活自理。
Description
技术领域
本实用新型涉及医疗行业技术领域,具体为一种可测量体重方便部分生活自理患者多功能病床。
背景技术
脑梗死旧称脑梗塞,又称缺血性脑卒中,是指因脑部血液供应障碍,缺血、缺氧所导致的局限性脑组织的缺血性坏死或软化,脑梗死的临床常见类型有脑血栓形成、腔隙性梗死和脑栓塞等,在脑梗死患者生活的过程中往往需要使用多功能病床。
但是,现有大多数的多功能病床,结构单一,既不能对患者进行称重,也不具有尿壶的伸缩功能,往往需要看护者辅助患者进行排尿,存在一定的缺陷,同时现有大多数的多功能病床,也没有设置生活用品存放组件,患者生活自拟存在一定的局限性,设计存在缺陷,不便于使用。
实用新型内容
(一)解决的技术问题
针对现有技术的不足,本实用新型提供了一种可测量体重方便部分生活自理患者多功能病床,以解决上述背景中提出的,现有大多数的多功能病床,结构单一,既不能对患者进行称重,也不具有尿壶的伸缩功能,往往需要看护者辅助患者进行排尿,存在一定的缺陷,同时现有大多数的多功能病床,也没有设置生活用品存放组件,患者生活自拟存在一定的局限性,设计存在缺陷,不便于使用的问题。
(二)技术方案
为实现上述目的,本实用新型提供如下技术方案:一种可测量体重方便部分生活自理患者多功能病床,包括床架,所述床架的上侧设置有活动床垫和固定床垫,所述固定床垫上端的凹陷处设置缝合连接有体重秤,所述固定床垫上端的中间设置有尿壶伸缩机构;
所述床架靠近床头的底端设置有生活用品存放组件;
所述床架的底端设置有拐杖放置组件。
优选的,所述床架上端的边侧转动连接有护栏,所述床架的床头处设置有吊瓶挂杆,所述床架的床头处设置有控制开关,所述活动床垫和固定床垫为转动连接。
优选的,所述尿壶伸缩机构包括有凹槽、活动板、把手一、活动箱、底箱和电动伸缩杆,所述凹槽开设在固定床垫的中间,所述活动板活动安装在凹槽的内部,所述把手一设置在活动板的顶端,所述活动箱位于凹槽的内部,所述固定床垫的底部固定安装有底箱,所述底箱的内部固定安装有电动伸缩杆。
优选的,所述电动伸缩杆的活动端与活动箱为固定连接,所述活动箱与凹槽和底箱均为滑动连接。
优选的,所述拐杖放置组件包括有连接杆、放置板和拐杖本体,所述连接杆固定安装在床架的底端,所述放置板通过连接杆固定安装,所述拐杖本体放置在放置板的顶端。
优选的,所述生活用品存放组件包括有固定套、活动架、导向条、导向槽和把手二,所述固定套固定安装在床架的底部,所述活动架滑动连接在固定套的内部,所述活动架的外侧固定安装有把手二,所述导向条固定安装在活动架的外侧,所述导向槽开设在固定套的内部。
优选的,所述导向条和导向槽设置有相同的两个,所述导向条和导向槽对称分布在活动架的两侧,所述导向条和导向槽为滑动连接。
与相关技术相比较,本实用新型提供的一种可测量体重方便部分生活自理患者多功能病床具有如下有益效果:
本实用新型提供有尿壶伸缩机构、拐杖放置组件、生活用品存放组件和体重秤,体重秤可对患者进行称重,不需要患者下床称重,电动伸缩杆的活动端可推动活动箱上下运动,活动箱可带动内部的尿壶上下运动,在使用时可实现尿壶上升,不使用时,尿壶可进行收缩,同时活动板可对凹槽进行密封,有效避免杂物或异味外泄,拐杖放置组件内部的放置板可对拐杖本体进行存放,生活用品存放组件内部的活动架可方便放置水果等物品,方便患者的生活自理。
附图说明
图1为本实用新型侧面结构示意图;
图2为本实用新型立体结构示意图;
图3为本实用新型图1中A处放大结构示意图;
图4为本实用新型图2中B处放大结构示意图。
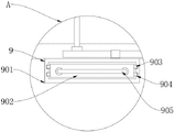
其中:1、床架;2、护栏;3、吊瓶挂杆;4、活动床垫;5、固定床垫;6、体重秤;7、尿壶伸缩机构;701、凹槽;702、活动板;703、把手一;704、活动箱;705、底箱;706、电动伸缩杆;8、拐杖放置组件;801、连接杆;802、放置板;803、拐杖本体;9、生活用品存放组件;901、固定套;902、活动架;903、导向条;904、导向槽;905、把手二。
具体实施方式
下面将结合本实用新型实施例中的附图,对本实用新型实施例中的技术方案进行清楚、完整地描述,显然,所描述的实施例仅仅是本实用新型一部分实施例,而不是全部的实施例。基于本实用新型中的实施例,本领域普通技术人员在没有做出创造性劳动前提下所获得的所有其他实施例,都属于本实用新型保护的范围。
实施例1:请参阅图1-4,一种可测量体重方便部分生活自理患者多功能病床,包括床架1,床架1的上侧设置有活动床垫4和固定床垫5,固定床垫5上端的凹陷处设置缝合连接有体重秤6,固定床垫5上端的中间设置有尿壶伸缩机构7;
床架1靠近床头的底端设置有生活用品存放组件9;
床架1的底端设置有拐杖放置组件8;
床架1上端的边侧转动连接有护栏2,床架1的床头处设置有吊瓶挂杆3,床架1的床头处设置有控制开关,活动床垫4和固定床垫5为转动连接;
请参阅图1-4,一种可测量体重方便部分生活自理患者多功能病床还包括尿壶伸缩机构7,尿壶伸缩机构7包括有凹槽701、活动板702、把手一703、活动箱704、底箱705和电动伸缩杆706,凹槽701开设在固定床垫5的中间,活动板702活动安装在凹槽701的内部,把手一703设置在活动板702的顶端,活动箱704位于凹槽701的内部,固定床垫5的底部固定安装有底箱705,底箱705的内部固定安装有电动伸缩杆706;
电动伸缩杆706的活动端与活动箱704为固定连接,活动箱704与凹槽701和底箱705均为滑动连接;
具体地,如图1、图2、图3和图4所示,在使用时,体重秤6可对患者进行称重,不需要患者下床称重,同时电动伸缩杆706的活动端可推动活动箱704上下运动,活动箱704可带动内部的尿壶上下运动,在使用时可实现尿壶上升,不使用时,尿壶可进行收缩,同时活动板702可对凹槽701进行密封,有效避免杂物或异味外泄。
实施例2:拐杖放置组件8包括有连接杆801、放置板802和拐杖本体803,连接杆801固定安装在床架1的底端,放置板802通过连接杆801固定安装,拐杖本体803放置在放置板802的顶端;
具体地,如图1、图2、图3和图4所示,在使用时,放置板802可对拐杖本体803进行存放,同时放置板802也能对其他生活进行收纳,提升了多功能病床的实用性。
实施例3:生活用品存放组件9包括有固定套901、活动架902、导向条903、导向槽904和把手二905,固定套901固定安装在床架1的底部,活动架902滑动连接在固定套901的内部,活动架902的外侧固定安装有把手二905,导向条903固定安装在活动架902的外侧,导向槽904开设在固定套901的内部;
导向条903和导向槽904设置有相同的两个,导向条903和导向槽904对称分布在活动架902的两侧,导向条903和导向槽904为滑动连接;
具体地,如图1、图2、图3和图4所示,在使用时,工作人员可通过把手二905拉动活动架902向外运动,导向条903和导向槽904可对活动架902进行导向,活动架902可方便放置水果等物品,方便患者的生活自理。
在使用时,体重秤6可对患者进行称重,不需要患者下床称重,同时电动伸缩杆706的活动端可推动活动箱704上下运动,活动箱704可带动内部的尿壶上下运动,在使用时可实现尿壶上升,不使用时,尿壶可进行收缩,同时活动板702可对凹槽701进行密封,有效避免杂物或异味外泄,放置板802可对拐杖本体803进行存放,同时放置板802也能对其他生活进行收纳,提升了多功能病床的实用性,通过把手二905拉动活动架902向外运动,导向条903和导向槽904可对活动架902进行导向,活动架902可以方便放置水果等物品,方便患者的生活自理。
尽管已经示出和描述了本实用新型的实施例,对于本领域的普通技术人员而言,可以理解在不脱离本实用新型的原理和精神的情况下可以对这些实施例进行多种变化、修改、替换和变型,本实用新型的范围由所附权利要求及其等同物限定。
Claims (7)
1.一种可测量体重方便部分生活自理患者多功能病床,包括床架(1),其特征在于:所述床架(1)的上侧设置有活动床垫(4)和固定床垫(5),所述固定床垫(5)上端的凹陷处设置缝合连接有体重秤(6),所述固定床垫(5)上端的中间设置有尿壶伸缩机构(7);
所述床架(1)靠近床头的底端设置有生活用品存放组件(9);
所述床架(1)的底端设置有拐杖放置组件(8)。
2.根据权利要求1所述的一种可测量体重方便部分生活自理患者多功能病床,其特征在于:所述床架(1)上端的边侧转动连接有护栏(2),所述床架(1)的床头处设置有吊瓶挂杆(3),所述床架(1)的床头处设置有控制开关,所述活动床垫(4)和固定床垫(5)为转动连接。
3.根据权利要求1所述的一种可测量体重方便部分生活自理患者多功能病床,其特征在于:所述尿壶伸缩机构(7)包括有凹槽(701)、活动板(702)、把手一(703)、活动箱(704)、底箱(705)和电动伸缩杆(706),所述凹槽(701)开设在固定床垫(5)的中间,所述活动板(702)活动安装在凹槽(701)的内部,所述把手一(703)设置在活动板(702)的顶端,所述活动箱(704)位于凹槽(701)的内部,所述固定床垫(5)的底部固定安装有底箱(705),所述底箱(705)的内部固定安装有电动伸缩杆(706)。
4.根据权利要求3所述的一种可测量体重方便部分生活自理患者多功能病床,其特征在于:所述电动伸缩杆(706)的活动端与活动箱(704)为固定连接,所述活动箱(704)与凹槽(701)和底箱(705)均为滑动连接。
5.根据权利要求1所述的一种可测量体重方便部分生活自理患者多功能病床,其特征在于:所述拐杖放置组件(8)包括有连接杆(801)、放置板(802)和拐杖本体(803),所述连接杆(801)固定安装在床架(1)的底端,所述放置板(802)通过连接杆(801)固定安装,所述拐杖本体(803)放置在放置板(802)的顶端。
6.根据权利要求1所述的一种可测量体重方便部分生活自理患者多功能病床,其特征在于:所述生活用品存放组件(9)包括有固定套(901)、活动架(902)、导向条(903)、导向槽(904)和把手二(905),所述固定套(901)固定安装在床架(1)的底部,所述活动架(902)滑动连接在固定套(901)的内部,所述活动架(902)的外侧固定安装有把手二(905),所述导向条(903)固定安装在活动架(902)的外侧,所述导向槽(904)开设在固定套(901)的内部。
7.根据权利要求6所述的一种可测量体重方便部分生活自理患者多功能病床,其特征在于:所述导向条(903)和导向槽(904)设置有相同的两个,所述导向条(903)和导向槽(904)对称分布在活动架(902)的两侧,所述导向条(903)和导向槽(904)为滑动连接。
Priority Applications (1)
| Application Number | Priority Date | Filing Date | Title |
|---|---|---|---|
| CN202122548668.8U CN216318525U (zh) | 2021-10-22 | 2021-10-22 | 一种可测量体重方便部分生活自理患者多功能病床 |
Applications Claiming Priority (1)
| Application Number | Priority Date | Filing Date | Title |
|---|---|---|---|
| CN202122548668.8U CN216318525U (zh) | 2021-10-22 | 2021-10-22 | 一种可测量体重方便部分生活自理患者多功能病床 |
Publications (1)
| Publication Number | Publication Date |
|---|---|
| CN216318525U true CN216318525U (zh) | 2022-04-19 |
Family
ID=81180929
Family Applications (1)
| Application Number | Title | Priority Date | Filing Date |
|---|---|---|---|
| CN202122548668.8U Expired - Fee Related CN216318525U (zh) | 2021-10-22 | 2021-10-22 | 一种可测量体重方便部分生活自理患者多功能病床 |
Country Status (1)
| Country | Link |
|---|---|
| CN (1) | CN216318525U (zh) |
-
2021
- 2021-10-22 CN CN202122548668.8U patent/CN216318525U/zh not_active Expired - Fee Related
Similar Documents
| Publication | Publication Date | Title |
|---|---|---|
| CN203280633U (zh) | 一种护理床 | |
| CN211244162U (zh) | 一种医疗护理辅助翻身器 | |
| CN216318525U (zh) | 一种可测量体重方便部分生活自理患者多功能病床 | |
| CN205832058U (zh) | 一种内科护理用床 | |
| CN214679239U (zh) | 一种泌尿外科专用护理床 | |
| CN112426302A (zh) | 一种多功能骨外科术后护理装置 | |
| CN207627510U (zh) | 一种带洗架的老年卧床病人护理床 | |
| CN208808901U (zh) | 一种可移动并能翻身的多功能床位 | |
| CN211705088U (zh) | 一种可拉伸康复科用病床 | |
| CN108014393A (zh) | 一种胸外护理科多用组合装置 | |
| CN209899931U (zh) | 一种心血管外科护理车 | |
| CN111870459A (zh) | 一种便于冲洗的糖尿病足换药车 | |
| CN206080899U (zh) | 一种新型医学护理床 | |
| CN213788327U (zh) | 一种新型电动多功能医用床 | |
| CN210096144U (zh) | 一种泌尿外科用护理床 | |
| CN210903854U (zh) | 一种五官科临床用器具托盘车 | |
| CN210044316U (zh) | 一种内科护理用辅助翻身器 | |
| CN219743176U (zh) | 一种辅助翻身装置 | |
| CN215607029U (zh) | 一种医用护理床 | |
| CN206285210U (zh) | 一种医用床 | |
| CN214679544U (zh) | 一种能够跟随病床抬高的引流瓶高度控制装置 | |
| CN208065373U (zh) | 一种三段抽拉式病床 | |
| CN221180855U (zh) | 一种医疗护理疗养床 | |
| CN111035510A (zh) | 一种可转移重症患者的病人床 | |
| CN112022550A (zh) | 一种重症监护多功能护理床及其使用方法 |
Legal Events
| Date | Code | Title | Description |
|---|---|---|---|
| GR01 | Patent grant | ||
| GR01 | Patent grant | ||
| CF01 | Termination of patent right due to non-payment of annual fee |
Granted publication date: 20220419 |
|
| CF01 | Termination of patent right due to non-payment of annual fee |