CN216316657U - Intelligent home multifunctional sofa with good comfort - Google Patents
Intelligent home multifunctional sofa with good comfort Download PDFInfo
- Publication number
- CN216316657U CN216316657U CN202121853382.4U CN202121853382U CN216316657U CN 216316657 U CN216316657 U CN 216316657U CN 202121853382 U CN202121853382 U CN 202121853382U CN 216316657 U CN216316657 U CN 216316657U
- Authority
- CN
- China
- Prior art keywords
- fixedly connected
- base
- cushion
- plate
- good
- Prior art date
- Legal status (The legal status is an assumption and is not a legal conclusion. Google has not performed a legal analysis and makes no representation as to the accuracy of the status listed.)
- Active
Links
Images
Landscapes
- Massaging Devices (AREA)
Abstract
本实用新型公开了一种智能家居用舒适性好的多功能沙发,包括底座、靠垫和扶手,底座顶部的左侧固定连接有安装板,靠垫的底部固定连接有驱动板。本实用新型通过驱动板、限位块、液压伸缩缸、滑动框、驱动电机、齿轮、齿牙板、腿托、旋转电机、传动机构、螺纹杆和螺纹套的配合,液压伸缩缸通过滑动框带动限位块移动,限位块在限位弧槽内腔滑动从而通过驱动板带动靠垫旋转,调节靠垫角度,驱动电机的输出轴通过齿轮和齿牙板带动腿托向右移动,对使用者腿部进行支撑,旋转电机的输出轴通过传动机构带动螺纹杆旋转,螺纹杆带动螺纹套上下移动,根据使用者的身高进行调整,从而达到舒适性好的效果,解决了现有装置舒适性差的问题。
The utility model discloses a comfortable multifunctional sofa for smart home, which comprises a base, a cushion and an armrest. A mounting plate is fixedly connected to the left side of the top of the base, and a driving plate is fixedly connected to the bottom of the cushion. The utility model uses the cooperation of a driving plate, a limit block, a hydraulic telescopic cylinder, a sliding frame, a driving motor, a gear, a tooth plate, a leg rest, a rotating motor, a transmission mechanism, a threaded rod and a threaded sleeve, and the hydraulic telescopic cylinder passes through the sliding frame. Drive the limit block to move, the limit block slides in the inner cavity of the limit arc groove to drive the cushion to rotate through the drive plate, adjust the angle of the cushion, and the output shaft of the drive motor drives the leg support to move to the right through the gear and the tooth plate, which is very convenient for the user. The legs are supported, and the output shaft of the rotating motor drives the threaded rod to rotate through the transmission mechanism, and the threaded rod drives the threaded sleeve to move up and down, and is adjusted according to the height of the user, so as to achieve the effect of good comfort and solve the problem of poor comfort of the existing device. question.
Description
技术领域technical field
本实用新型涉及智能家居技术领域,具体为一种智能家居用舒适性好的多功能沙发。The utility model relates to the technical field of smart home, in particular to a multifunctional sofa with good comfort for smart home.
背景技术Background technique
沙发是个外来词,根据英语单词sofa音译而来,为一种装有软垫的多座位椅子,装有弹簧或厚泡沫塑料等的靠背椅,两边有扶手,是软装家具的一种;Sofa is a foreign word, according to the transliteration of the English word sofa, it is a kind of upholstered multi-seat chair, a back chair with springs or thick foam plastic, etc., with armrests on both sides, is a kind of soft furniture;
如中国专利公开了“一种智能家居用舒适性好的多功能沙”,专利号为CN213371002U,该专利公开了一种智能家居用舒适性好的多功能沙发,包括坐垫部、扶手部、背靠部和头枕部,所述坐垫部顶部的两侧均固定连接有扶手部,两个所述扶手部的外侧均固定连接有置物架,所述坐垫部的顶部活动连接有背靠部,所述背靠部与扶手部的连接处活动连接,本实用新型通过设置加热板、 PLC处理器、温度传感器和电热丝,能够起到加热背靠部的作用,使装置具备了便于调节温度的功能,但该种多功能沙发结构简单,功能单一当使用者想躺在沙发上休息时,需要支架对腿部进行支撑,而且不方便调节靠垫的倾斜角度,使用起来舒适度不高。For example, a Chinese patent discloses "a comfortable multifunctional sofa for smart home", the patent number is CN213371002U, the patent discloses a comfortable multifunctional sofa for smart home, including a seat cushion, an armrest, a backrest For the backrest part and the headrest part, both sides of the top of the seat cushion part are fixedly connected with armrest parts, the outer sides of the two armrest parts are fixedly connected with a rack, and the top of the seat cushion part is movably connected with a backrest part, The joint of the backrest part and the armrest part is movably connected, and the utility model can play the role of heating the backrest part by setting a heating plate, a PLC processor, a temperature sensor and an electric heating wire, so that the device has the function of being easy to adjust the temperature. However, the multifunctional sofa has a simple structure and a single function. When the user wants to lie down on the sofa to rest, a bracket is required to support the legs, and it is inconvenient to adjust the inclination angle of the cushion, and the comfort is not high.
实用新型内容Utility model content
本实用新型的目的在于提供一种智能家居用舒适性好的多功能沙发,具备舒适性好的优点,解决了现有装置舒适性差的问题。The purpose of the utility model is to provide a comfortable multifunctional sofa for smart home, which has the advantages of good comfort and solves the problem of poor comfort of the existing device.
为实现上述目的,本实用新型提供如下技术方案:一种智能家居用舒适性好的多功能沙发,包括底座、靠垫和扶手,所述底座顶部的左侧固定连接有安装板,所述靠垫的底部固定连接有驱动板,所述驱动板的正面与背面均固定连接有限位块,所述底座内腔的左侧固定连接有液压伸缩缸,所述液压伸缩缸的右侧固定连接有滑动框,所述底座的内腔固定连接有驱动电机,所述驱动电机的输出轴固定连接有齿轮,所述齿轮的底部啮合有齿牙板,所述齿牙板的右侧固定连接有腿托,所述底座的底部固定连接有旋转电机,所述旋转电机的输出轴固定连接有传动机构,所述传动机构的轴心处固定连接有螺纹杆,所述螺纹杆的表面套设有螺纹套,所述螺纹套的底部固定连接有支撑座。In order to achieve the above purpose, the present invention provides the following technical solutions: a comfortable multifunctional sofa for smart home, comprising a base, a back cushion and an armrest, the left side of the top of the base is fixedly connected with a mounting plate, and the backrest The bottom is fixedly connected with a drive plate, the front and back of the drive plate are fixedly connected with limit blocks, the left side of the inner cavity of the base is fixedly connected with a hydraulic telescopic cylinder, and the right side of the hydraulic expansion cylinder is fixedly connected with a sliding frame , the inner cavity of the base is fixedly connected with a drive motor, the output shaft of the drive motor is fixedly connected with a gear, the bottom of the gear is meshed with a tooth plate, and the right side of the tooth plate is fixedly connected with a leg rest, The bottom of the base is fixedly connected with a rotating motor, the output shaft of the rotating motor is fixedly connected with a transmission mechanism, the shaft center of the transmission mechanism is fixedly connected with a threaded rod, and the surface of the threaded rod is sleeved with a threaded sleeve, The bottom of the threaded sleeve is fixedly connected with a support seat.
优选的,所述安装板的数量为两个,且两个安装板之间通过转杆与靠垫活动连接。Preferably, the number of the mounting plates is two, and the two mounting plates are movably connected to the back cushion through a rotating rod.
优选的,所述滑动框与驱动板一侧的限位块滑动连接,所述底座的内腔设置有限位弧槽,所述限位弧槽的内腔与驱动板另一侧的限位块滑动连接。Preferably, the sliding frame is slidably connected to the limit block on one side of the drive plate, the inner cavity of the base is provided with a limit arc groove, and the inner cavity of the limit arc groove is connected to the limit block on the other side of the drive plate Slide to connect.
优选的,所述齿牙板的底部固定连接有滑套,所述滑套的内腔滑动连接有滑杆,所述滑杆的左侧固定连接有挡块。Preferably, the bottom of the tooth plate is fixedly connected with a sliding sleeve, the inner cavity of the sliding sleeve is slidably connected with a sliding rod, and the left side of the sliding rod is fixedly connected with a stopper.
优选的,所述传动机构包括主动轮、传送带和从动轮,所述旋转电机的输出轴固定连接有主动轮,所述主动轮的表面传动连接有传送带,所述主动轮的表面通过传送带传动连接有从动轮。Preferably, the transmission mechanism includes a driving wheel, a conveyor belt and a driven wheel, the output shaft of the rotating electrical machine is fixedly connected with the driving wheel, the surface of the driving wheel is drivingly connected with the transmission belt, and the surface of the driving wheel is drivingly connected by the transmission belt There are driven wheels.
优选的,所述底座的底部固定连接有固定筒,所述螺纹套的左右两侧均固定连接有滑块,所述滑块的另一端滑动连接有滑槽。Preferably, the bottom of the base is fixedly connected with a fixing cylinder, the left and right sides of the threaded sleeve are fixedly connected with a slider, and the other end of the slider is slidably connected with a chute.
优选的,所述靠垫的右侧固定连接有按摩垫,所述底座的右侧固定连接有控制箱。Preferably, a massage pad is fixedly connected to the right side of the back cushion, and a control box is fixedly connected to the right side of the base.
与现有技术相比,本实用新型的有益效果如下:Compared with the prior art, the beneficial effects of the present utility model are as follows:
1、本实用新型通过驱动板、限位块、液压伸缩缸、滑动框、驱动电机、齿轮、齿牙板、腿托、旋转电机、传动机构、螺纹杆和螺纹套的配合,液压伸缩缸通过滑动框带动限位块移动,限位块在限位弧槽内腔滑动从而通过驱动板带动靠垫旋转,调节靠垫角度,驱动电机的输出轴通过齿轮和齿牙板带动腿托向右移动,对使用者腿部进行支撑,旋转电机的输出轴通过传动机构带动螺纹杆旋转,螺纹杆带动螺纹套上下移动,根据使用者的身高进行调整,从而达到舒适性好的效果,解决了现有装置舒适性差的问题。1. The utility model adopts the cooperation of the driving plate, the limit block, the hydraulic telescopic cylinder, the sliding frame, the driving motor, the gear, the tooth plate, the leg rest, the rotating motor, the transmission mechanism, the threaded rod and the threaded sleeve. The sliding frame drives the limit block to move, and the limit block slides in the inner cavity of the limit arc groove to drive the cushion to rotate through the drive plate to adjust the angle of the cushion. The output shaft of the drive motor drives the leg support to move to the right through the gear and the tooth plate. The user's legs are supported, the output shaft of the rotating motor drives the threaded rod to rotate through the transmission mechanism, and the threaded rod drives the threaded sleeve to move up and down, and adjusts according to the user's height, so as to achieve the effect of good comfort and solve the problem of the existing device comfort Sexual issues.
2、本实用新型通过设计限位弧槽,便于对限位块进行限位,提高装置的安全性,通过滑套、滑杆和挡块的配合,便于对齿牙板进行限位,通过设计按摩垫,提高舒适度。2. By designing the limit arc groove, the utility model is convenient to limit the limit block and improve the safety of the device. Massage pads for increased comfort.
附图说明Description of drawings
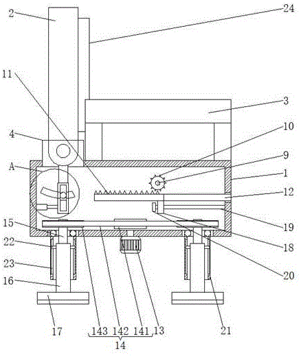
图1为本实用新型结构示意图;Fig. 1 is the structural representation of the utility model;
图2为本实用新型图1中A处局部放大图;Fig. 2 is a partial enlarged view at A in Fig. 1 of the utility model;
图3为本实用新型结构右视图。Figure 3 is a right side view of the structure of the utility model.
图中:1、底座;2、靠垫;3、扶手;4、安装板;5、驱动板;6、限位块;7、液压伸缩缸;8、滑动框;9、驱动电机;10、齿轮;11、齿牙板;12、腿托;13、旋转电机;14、传动机构;141、主动轮;142、传送带;143、从动轮;15、螺纹杆;16、螺纹套;17、支撑座;18、滑套;19、滑杆;20、挡块;21、固定筒;22、滑块;23、滑槽;24、按摩垫;25、控制箱;26、限位弧槽。In the picture: 1. Base; 2. Cushion; 3. Armrest; 4. Mounting plate; 5. Driving plate; 6. Limiting block; 7. Hydraulic telescopic cylinder; 8. Sliding frame; 9. Driving motor; 10. Gear ; 11, tooth plate; 12, leg rest; 13, rotary motor; 14, transmission mechanism; 141, driving wheel; 142, conveyor belt; 143, driven wheel; 15, threaded rod; 16, threaded sleeve; 17, support seat ; 18, sliding sleeve; 19, sliding rod; 20, block; 21, fixed cylinder; 22, slider; 23, chute; 24, massage pad; 25, control box; 26, limit arc groove.
具体实施方式Detailed ways
下面将结合本实用新型实施例中的附图,对本实用新型实施例中的技术方案进行清楚、完整地描述,显然,所描述的实施例仅仅是本实用新型一部分实施例,而不是全部的实施例。基于本实用新型中的实施例,本领域普通技术人员在没有做出创造性劳动前提下所获得的所有其他实施例,都属于本实用新型保护的范围。The technical solutions in the embodiments of the present utility model will be clearly and completely described below with reference to the accompanying drawings in the embodiments of the present utility model. Obviously, the described embodiments are only a part of the embodiments of the present utility model, rather than all the implementations. example. Based on the embodiments of the present invention, all other embodiments obtained by those of ordinary skill in the art without creative work fall within the protection scope of the present invention.
请参阅图1-3,一种智能家居用舒适性好的多功能沙发,包括底座1、靠垫 2和扶手3,底座1的底部固定连接有固定筒21,螺纹套16的左右两侧均固定连接有滑块22,滑块22的另一端滑动连接有滑槽23,靠垫2的右侧固定连接有按摩垫24,底座1的右侧固定连接有控制箱25,通过设计限位弧槽26,便于对限位块6进行限位,提高装置的安全性,通过滑套18、滑杆19和挡块20的配合,便于对齿牙板11进行限位,通过设计按摩垫24,提高舒适度,底座1顶部的左侧固定连接有安装板4,安装板4的数量为两个,且两个安装板4之间通过转杆与靠垫2活动连接,靠垫2的底部固定连接有驱动板5,驱动板5的正面与背面均固定连接有限位块6,底座1内腔的左侧固定连接有液压伸缩缸7,液压伸缩缸7的右侧固定连接有滑动框8,滑动框8与驱动板5一侧的限位块6滑动连接,底座1的内腔设置有限位弧槽26,限位弧槽26的内腔与驱动板5另一侧的限位块6滑动连接,底座1的内腔固定连接有驱动电机9,驱动电机9的输出轴固定连接有齿轮10,齿轮10的底部啮合有齿牙板11,齿牙板11的底部固定连接有滑套18,滑套18的内腔滑动连接有滑杆19,滑杆19的左侧固定连接有挡块20,齿牙板11的右侧固定连接有腿托12,底座1的底部固定连接有旋转电机13,旋转电机13的输出轴固定连接有传动机构14,传动机构14包括主动轮141、传送带142和从动轮143,旋转电机13的输出轴固定连接有主动轮 141,主动轮141的表面传动连接有传送带142,主动轮141的表面通过传送带 142传动连接有从动轮143,传动机构14的轴心处固定连接有螺纹杆15,螺纹杆15的表面套设有螺纹套16,螺纹套16的底部固定连接有支撑座17,通过驱动板5、限位块6、液压伸缩缸7、滑动框8、驱动电机9、齿轮10、齿牙板 11、腿托12、旋转电机13、传动机构14、螺纹杆15和螺纹套16的配合,液压伸缩缸7通过滑动框8带动限位块6移动,限位块6在限位弧槽26内腔滑动从而通过驱动板5带动靠垫2旋转,调节靠垫2角度,驱动电机9的输出轴通过齿轮10和齿牙板11带动腿托12向右移动,对使用者腿部进行支撑,旋转电机 13的输出轴通过传动机构14带动螺纹杆15旋转,螺纹杆15带动螺纹套16上下移动,根据使用者的身高进行调整,从而达到舒适性好的效果,解决了现有装置舒适性差的问题。Please refer to Fig. 1-3, a comfortable multifunctional sofa for smart home, including a base 1, a
使用时,液压伸缩缸7通过滑动框8带动限位块6移动,限位块6在限位弧槽26内腔滑动从而通过驱动板5带动靠垫2旋转,调节靠垫2角度,驱动电机9的输出轴通过齿轮10和齿牙板11带动腿托12向右移动,对使用者腿部进行支撑,旋转电机13的输出轴通过传动机构14带动螺纹杆15旋转,螺纹杆15 带动螺纹套16上下移动,根据使用者的身高进行调整,从而达到舒适性好的效果。When in use, the hydraulic
在本专利的描述中,需要理解的是,术语“中心”、“上”、“下”、“前”、“后”、“左”、“右”、“竖直”、“水平”、“顶”、“底”、“内”、“外”等指示的方位或位置关系为基于附图所示的方位或位置关系,仅是为了便于描述本专利和简化描述,而不是指示或暗示所指的装置或元件必须具有特定的方位、以特定的方位构造和操作,因此不能理解为对本专利的限制。在本专利的描述中,需要说明的是,除非另有明确的规定和限定,术语“安装”、“相连”、“连接”、“设置”应做广义理解,例如,可以是固定相连、设置,也可以是可拆卸连接、设置,或一体地连接、设置。对于本领域的普通技术人员而言,可以根据具体情况理解上述术语在本专利中的具体含义。In the description of this patent, it should be understood that the terms "center", "upper", "lower", "front", "rear", "left", "right", "vertical", "horizontal", The orientation or positional relationship indicated by "top", "bottom", "inner", "outer", etc. is based on the orientation or positional relationship shown in the drawings, and is only for the convenience of describing the present patent and simplifying the description, rather than indicating or implying The device or element referred to must have, be constructed, and operate in a particular orientation and is not to be construed as a limitation of this patent. In the description of this patent, it should be noted that, unless otherwise expressly specified and limited, the terms "installed", "connected", "connected" and "arranged" should be understood in a broad sense. , it can also be detachably connected and set, or integrally connected and set. For those of ordinary skill in the art, the specific meanings of the above terms in this patent can be understood according to specific situations.
尽管已经示出和描述了本实用新型的实施例,对于本领域的普通技术人员而言,可以理解在不脱离本实用新型的原理和精神的情况下可以对这些实施例进行多种变化、修改、替换和变型,本实用新型的范围由所附权利要求及其等同物限定。Although the embodiments of the present invention have been shown and described, it will be understood by those skilled in the art that various changes and modifications can be made to these embodiments without departing from the principles and spirit of the present invention , alternatives and modifications, the scope of the present invention is defined by the appended claims and their equivalents.
Claims (7)
Priority Applications (1)
| Application Number | Priority Date | Filing Date | Title |
|---|---|---|---|
| CN202121853382.4U CN216316657U (en) | 2021-08-10 | 2021-08-10 | Intelligent home multifunctional sofa with good comfort |
Applications Claiming Priority (1)
| Application Number | Priority Date | Filing Date | Title |
|---|---|---|---|
| CN202121853382.4U CN216316657U (en) | 2021-08-10 | 2021-08-10 | Intelligent home multifunctional sofa with good comfort |
Publications (1)
| Publication Number | Publication Date |
|---|---|
| CN216316657U true CN216316657U (en) | 2022-04-19 |
Family
ID=81168415
Family Applications (1)
| Application Number | Title | Priority Date | Filing Date |
|---|---|---|---|
| CN202121853382.4U Active CN216316657U (en) | 2021-08-10 | 2021-08-10 | Intelligent home multifunctional sofa with good comfort |
Country Status (1)
| Country | Link |
|---|---|
| CN (1) | CN216316657U (en) |
-
2021
- 2021-08-10 CN CN202121853382.4U patent/CN216316657U/en active Active
Similar Documents
| Publication | Publication Date | Title |
|---|---|---|
| CN205440371U (en) | Commercial affairs seat | |
| CN112370604A (en) | Multifunctional transfusion massage chair | |
| CN216316657U (en) | Intelligent home multifunctional sofa with good comfort | |
| CN210493392U (en) | Sofa with massage function | |
| WO2016201617A1 (en) | Wall-leaning chair frame with headrest | |
| WO2023197524A1 (en) | Angle adjustment device for child safety seat, and child safety seat | |
| CN210612616U (en) | Special transfusion chair for pediatric outpatient service | |
| CN212066269U (en) | Electric sofa with adjustable backrest angle | |
| CN211154670U (en) | A rotatable leisure seat | |
| CN204743350U (en) | Sofa with illumination automatically regulated | |
| CN207604682U (en) | Massage armchair | |
| CN211092819U (en) | Design seat with adjustable lumbar support device | |
| CN211748208U (en) | Amplitude-adjustable rocking chair for home | |
| CN216702089U (en) | Sofa with adjustable backrest | |
| CN209965810U (en) | Fixing structure and functional sofa using same | |
| CN221785771U (en) | Massage armchair armrest and massage armchair | |
| CN220694858U (en) | Bedside backrest framework | |
| CN213882516U (en) | Formula of can lying chair of accompanying | |
| CN216723875U (en) | Back cushion with massage function | |
| CN221914458U (en) | Adjustable backrest device | |
| CN219183232U (en) | A furniture beanbag sofa with a remote control storage mechanism | |
| CN221229050U (en) | Sofa convenient to adjust back | |
| CN208909412U (en) | A kind of multi-functional stadium seat | |
| CN213786393U (en) | But height-adjusting's intelligent sofa | |
| CN222397695U (en) | Multifunctional intelligent sofa |
Legal Events
| Date | Code | Title | Description |
|---|---|---|---|
| GR01 | Patent grant | ||
| GR01 | Patent grant | ||
| TR01 | Transfer of patent right |
Effective date of registration: 20250829 Address after: 065400 Hebei Province, Langfang City, Xianghe County, South Side of Jiaju Avenue, Shuyang Industrial Park, XinYang Road No.1 Patentee after: Hebei Aiyi Intelligent Furniture Co.,Ltd. Country or region after: China Address before: 221321 Jiangsu Province Xuzhou City Pizhou City Guanhu Town Shanghai Road Wood Products Wooden Structure Industrial Park Shanghai Road Patentee before: Aiyi smart home (Jiangsu) Co.,Ltd. Country or region before: China |
|
| TR01 | Transfer of patent right |
