CN216298939U - 一种研磨机空气主轴的抛光处理装置 - Google Patents

一种研磨机空气主轴的抛光处理装置 Download PDF

Info

Publication number
CN216298939U
CN216298939U CN202122301171.6U CN202122301171U CN216298939U CN 216298939 U CN216298939 U CN 216298939U CN 202122301171 U CN202122301171 U CN 202122301171U CN 216298939 U CN216298939 U CN 216298939U
Authority
CN
China
Prior art keywords
polishing
fixed
rectangular
shaft
inverted
Prior art date
Legal status (The legal status is an assumption and is not a legal conclusion. Google has not performed a legal analysis and makes no representation as to the accuracy of the status listed.)
Expired - Fee Related
Application number
CN202122301171.6U
Other languages
English (en)
Inventor
赵康
Current Assignee (The listed assignees may be inaccurate. Google has not performed a legal analysis and makes no representation or warranty as to the accuracy of the list.)
Suzhou Cuizhu Semiconductor Co ltd
Original Assignee
Suzhou Cuizhu Semiconductor Co ltd
Priority date (The priority date is an assumption and is not a legal conclusion. Google has not performed a legal analysis and makes no representation as to the accuracy of the date listed.)
Filing date
Publication date
Application filed by Suzhou Cuizhu Semiconductor Co ltd filed Critical Suzhou Cuizhu Semiconductor Co ltd
Priority to CN202122301171.6U priority Critical patent/CN216298939U/zh
Application granted granted Critical
Publication of CN216298939U publication Critical patent/CN216298939U/zh
Expired - Fee Related legal-status Critical Current
Anticipated expiration legal-status Critical

Links

Images

Landscapes

  • Grinding Of Cylindrical And Plane Surfaces (AREA)
  • Constituent Portions Of Griding Lathes, Driving, Sensing And Control (AREA)

Abstract

本实用新型公开了一种研磨机空气主轴的抛光处理装置,包括操作台,所述操作台的顶部设有固定轴相配合的旋转机床卡盘、弧面抛光装置以及平面抛光装置,所述固定轴包括轴杆以及轴头,所述弧面抛光装置包括矩形固定座、矩形安装槽、伺服减速电机、转轴、工字形抛光轮、横向矩形板、倒L形支板、液压缸、倒U形支板、上抛光辊,所述平面抛光装置包括矩形支座、传动连接有纵向丝杆的矩形凹面槽、固定座、倒L形固定板、减速电机、与减速电机的输出轴固定连接的纵向抛光连接轴、抛光圆柱以及电机。本实用新型将空气主轴上轴头的外弧面抛光以及前侧面抛光两个工艺合二为一,对轴头进行一次性抛光,有效提高抛光效率。

Description

一种研磨机空气主轴的抛光处理装置
技术领域
本实用新型属于研磨机技术领域,具体涉及一种研磨机空气主轴的抛光处理装置。
背景技术
研磨机是用涂上或嵌入磨料的研具对工件表面进行研磨的磨床。主要用于研磨工件中的高精度平面、内外圆柱面、圆锥面、球面、螺纹面和其他型面。用于研磨机的空气主轴在加工生产的过程中,为了是提升产品的外观形象以及产品的质量,要对空气主轴上的固定轴上的轴头进行打磨抛光。
现有技术对于空气主轴上的固定轴进行打磨抛光时,使用的抛光装置具有一定的局限性,对于固定轴进行打磨抛光的局限性在于,需要分两个打磨工艺对轴头进行打磨,对于轴头打磨抛光的两个工艺是对轴头的外弧面抛光以及前侧面抛光,对于轴头的外弧面抛光以及前侧面抛光分成两个工艺进行操作,因为不能够一次性的将两个工艺合二为一,对轴头直接抛光,不仅仅打磨效率低,而且对于轴头转换,需要人工,操作繁琐外,还增加了劳动力。
为此,我们提出一种能够将对于空气主轴上轴头的外弧面抛光以及前侧面抛光两个工艺合二为一,对轴头直接一次性抛光,有效提高抛光效率,简化操作工艺的研磨机空气主轴的抛光处理装置来解决上述问题。
实用新型内容
本实用新型的目的在于提供一种研磨机空气主轴的抛光处理装置,以解决上述背景技术中提出的问题。
为实现上述目的,本实用新型提供如下技术方案:一种研磨机空气主轴的抛光处理装置,包括操作台,所述操作台的顶部从前到后依次固定设有与空气主轴上固定轴相配合的旋转机床卡盘、弧面抛光装置以及平面抛光装置,所述固定轴包括轴杆以及轴头,所述弧面抛光装置包括固定设于操作台顶部且带有U形通孔槽的矩形固定座、固定设于矩形固定座左右两侧的两个矩形安装槽、分别固定设于两个矩形安装槽内部且的伺服减速电机、分别与两个伺服减速电机的输出端固定连接且与矩形固定座传动连接的两个转轴、分别与两个转轴固定连接且设于矩形固定座前侧面的两个工字形抛光轮、前后对称固定设于U形通孔槽顶部且与矩形固定座固定连接的两个横向矩形板、与位于前侧的横向矩形板固定连接的倒L形支板、固定设于倒L形支板顶部的液压缸、与液压缸上的液压杆固定连接且设于倒L形支板下方的倒U形支板、传动设于倒U形支板内侧且伺服电机的输出端传动连接的上抛光辊,所述轴头设于两个工字形抛光轮的上方且限位在上抛光辊的底部,所述平面抛光装置包括固定设于操作台顶部的矩形支座、固定设于矩形支座顶部且传动连接有纵向丝杆的矩形凹面槽、通过丝杆螺母与纵向丝杆传动连接的固定座、固定设于固定座顶部的倒L形固定板、固定设于倒L形固定板顶部的电机座、固定设于电机座顶部的减速电机、与减速电机的输出轴固定连接的纵向抛光连接轴、与纵向抛光连接轴固定连接的抛光圆柱以及固定设于矩形凹面槽后侧面且与纵向丝杆的输入端传动连接的电机。
优选的,所述旋转机床卡盘与轴杆上远离轴头的一端相配合夹装固定。
优选的,所述伺服电机固定设于倒U形支板的后侧面。
优选的,位于前侧的所述横向矩形板的顶部设有固定连接其与倒L形支板的加强板。
优选的,两个所述工字形抛光轮与一个上抛光辊与轴头的外弧面相配合打磨抛光。
优选的,所述固定座的顶部设有固定连接其与倒L形固定板的加强块。
优选的,所述抛光圆柱与轴头的前侧面相配合抛光。
本实用新型的技术效果和优点:该研磨机空气主轴的抛光处理装置,固定轴被卡接固定在旋转机床卡盘上后,轴杆穿插过U形通孔槽,轴头贴合设于两个工字形抛光轮的顶部,旋转机床卡盘带动固定轴的旋转,液压缸的液压杆延伸,推动上抛光辊下移与轴头贴合,上抛光辊来抛光工字形抛光轮上抛光不到的位置,工字形抛光轮与上抛光辊相配合对轴头的外弧面打磨抛光,电机带动纵向丝杆传动,从而带动固定座以及抛光圆柱后移,抛光圆柱后移至与轴头的前侧面且与轴头的前侧面贴合,减速电机带动抛光圆柱旋转,配合旋转中的轴头,对轴头的外侧面进行抛光,能够将对于轴头的外弧面抛光以及前侧面抛光两个工艺合二为一,简化操作工艺。
附图说明
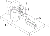
图1为本实用新型的结构示意图;
图2为本实用新型固定轴被抛光状态下的结构示意图;
图3为本实用新型旋转机床卡盘固定固定轴的结构示意图;
图4为本实用新型弧面抛光装置的结构示意图;
图5为本实用新型平面抛光装置的结构示意图。
图中:1、操作台;2、固定轴;3、旋转机床卡盘;4、弧面抛光装置;5、平面抛光装置;6、轴杆;7、轴头;8、U形通孔槽;9、矩形固定座;10、矩形安装槽;11、伺服减速电机;12、转轴;13、工字形抛光轮;14、横向矩形板;15、倒L形支板;16、液压缸;17、倒U形支板;18、伺服电机;19、上抛光辊;20、加强板;21、矩形支座;22、纵向丝杆;23、矩形凹面槽;24、固定座;25、倒L形固定板;26、电机座;27、减速电机;28、纵向抛光连接轴;29、抛光圆柱;30、电机;31、加强块。
具体实施方式
下面将结合本实用新型实施例中的附图,对本实用新型实施例中的技术方案进行清楚、完整地描述,显然,所描述的实施例仅仅是本实用新型一部分实施例,而不是全部的实施例。基于本实用新型中的实施例,本领域普通技术人员在没有做出创造性劳动前提下所获得的所有其他实施例,都属于本实用新型保护的范围。
本实用新型提供了如图1-5所示的一种研磨机空气主轴的抛光处理装置,包括操作台1,所述操作台1的顶部从前到后依次固定设有与空气主轴上固定轴2相配合的旋转机床卡盘3、弧面抛光装置4以及平面抛光装置5,所述固定轴2包括轴杆6以及轴头7,所述旋转机床卡盘3与轴杆6上远离轴头7的一端相配合夹装固定;
采用旋转机床卡盘3对轴杆6进行夹装固定,在固定轴2被抛光时,在旋转机床卡盘3的作用下,能够带动固定轴2的旋转;
所述弧面抛光装置4包括固定设于操作台1顶部且带有U形通孔槽8的矩形固定座9、固定设于矩形固定座9左右两侧的两个矩形安装槽10、分别固定设于两个矩形安装槽10内部且的伺服减速电机11、分别与两个伺服减速电机11的输出端固定连接且与矩形固定座9传动连接的两个转轴12、分别与两个转轴12固定连接且设于矩形固定座9前侧面的两个工字形抛光轮13、前后对称固定设于U形通孔槽8顶部且与矩形固定座9固定连接的两个横向矩形板14、与位于前侧的横向矩形板14固定连接的倒L形支板15、固定设于倒L形支板15顶部的液压缸16、与液压缸16上的液压杆固定连接且设于倒L形支板15下方的倒U形支板17、传动设于倒U形支板17内侧且伺服电机18的输出端传动连接的上抛光辊19,所述轴头7设于两个工字形抛光轮13的上方且限位在上抛光辊19的底部,所述伺服电机18固定设于倒U形支板17的后侧面,位于前侧的所述横向矩形板14的顶部设有固定连接其与倒L形支板15的加强板20,两个所述工字形抛光轮13与一个上抛光辊19与轴头7的外弧面相配合打磨抛光;
固定轴2被卡接固定在旋转机床卡盘3上后,轴杆6穿插过U形通孔槽,轴头7贴合设于两个工字形抛光轮13的顶部,液压缸16的液压杆延伸,推动上抛光辊19下移与轴头7贴合,上抛光辊19来抛光工字形抛光轮13上抛光不到的位置,工字形抛光轮13与上抛光辊19相配合对轴头7的外弧面打磨抛光;
所述平面抛光装置5包括固定设于操作台1顶部的矩形支座21、固定设于矩形支座21顶部且传动连接有纵向丝杆22的矩形凹面槽23、通过丝杆螺母与纵向丝杆22传动连接的固定座24、固定设于固定座24顶部的倒L形固定板25、固定设于倒L形固定板25顶部的电机座26、固定设于电机座26顶部的减速电机27、与减速电机27的输出轴固定连接的纵向抛光连接轴28、与纵向抛光连接轴28固定连接的抛光圆柱29以及固定设于矩形凹面槽23后侧面且与纵向丝杆22的输入端传动连接的电机30,所述固定座24的顶部设有固定连接其与倒L形固定板25的加强块31,所述抛光圆柱29与轴头7的前侧面相配合抛光;
电机30带动纵向丝杆22传动,从而带动固定座24以及抛光圆柱29后移,抛光圆柱29后移至与轴头7的前侧面且与轴头7的前侧面贴合,减速电机27带动抛光圆柱29旋转,配合旋转中的轴头7,对轴头7的外侧面进行抛光;
能够将对于轴头7的外弧面抛光以及前侧面抛光两个工艺合二为一,对轴头7直接一次性抛光,能够有效提高抛光效率,简化操作工艺,提高空气主轴的加工效率。
最后应说明的是:以上所述仅为本实用新型的优选实施例而已,并不用于限制本实用新型,尽管参照前述实施例对本实用新型进行了详细的说明,对于本领域的技术人员来说,其依然可以对前述各实施例所记载的技术方案进行修改,或者对其中部分技术特征进行等同替换,凡在本实用新型的精神和原则之内,所作的任何修改、等同替换、改进等,均应包含在本实用新型的保护范围之内。

Claims (7)

1.一种研磨机空气主轴的抛光处理装置,包括操作台(1),其特征在于:所述操作台(1)的顶部从前到后依次固定设有与空气主轴上固定轴(2)相配合的旋转机床卡盘(3)、弧面抛光装置(4)以及平面抛光装置(5),所述固定轴(2)包括轴杆(6)以及轴头(7);
所述弧面抛光装置(4)包括固定设于操作台(1)顶部且带有U形通孔槽(8)的矩形固定座(9)、固定设于矩形固定座(9)左右两侧的两个矩形安装槽(10)、分别固定设于两个矩形安装槽(10)内部且的伺服减速电机(11)、分别与两个伺服减速电机(11)的输出端固定连接且与矩形固定座(9)传动连接的两个转轴(12)、分别与两个转轴(12)固定连接且设于矩形固定座(9)前侧面的两个工字形抛光轮(13)、前后对称固定设于U形通孔槽(8)顶部且与矩形固定座(9)固定连接的两个横向矩形板(14)、与位于前侧的横向矩形板(14)固定连接的倒L形支板(15)、固定设于倒L形支板(15)顶部的液压缸(16)、与液压缸(16)上的液压杆固定连接且设于倒L形支板(15)下方的倒U形支板(17)、传动设于倒U形支板(17)内侧且伺服电机(18)的输出端传动连接的上抛光辊(19),所述轴头(7)设于两个工字形抛光轮(13)的上方且限位在上抛光辊(19)的底部;
所述平面抛光装置(5)包括固定设于操作台(1)顶部的矩形支座(21)、固定设于矩形支座(21)顶部且传动连接有纵向丝杆(22)的矩形凹面槽(23)、通过丝杆螺母与纵向丝杆(22)传动连接的固定座(24)、固定设于固定座(24)顶部的倒L形固定板(25)、固定设于倒L形固定板(25)顶部的电机座(26)、固定设于电机座(26)顶部的减速电机(27)、与减速电机(27)的输出轴固定连接的纵向抛光连接轴(28)、与纵向抛光连接轴(28)固定连接的抛光圆柱(29)以及固定设于矩形凹面槽(23)后侧面且与纵向丝杆(22)的输入端传动连接的电机(30)。
2.根据权利要求1所述的一种研磨机空气主轴的抛光处理装置,其特征在于:所述旋转机床卡盘(3)与轴杆(6)上远离轴头(7)的一端相配合夹装固定。
3.根据权利要求1所述的一种研磨机空气主轴的抛光处理装置,其特征在于:所述伺服电机(18)固定设于倒U形支板(17)的后侧面。
4.根据权利要求1所述的一种研磨机空气主轴的抛光处理装置,其特征在于:位于前侧的所述横向矩形板(14)的顶部设有固定连接其与倒L形支板(15)的加强板(20)。
5.根据权利要求1所述的一种研磨机空气主轴的抛光处理装置,其特征在于:两个所述工字形抛光轮(13)与一个上抛光辊(19)与轴头(7)的外弧面相配合打磨抛光。
6.根据权利要求1所述的一种研磨机空气主轴的抛光处理装置,其特征在于:所述固定座(24)的顶部设有固定连接其与倒L形固定板(25)的加强块(31)。
7.根据权利要求1所述的一种研磨机空气主轴的抛光处理装置,其特征在于:所述抛光圆柱(29)与轴头(7)的前侧面相配合抛光。
CN202122301171.6U 2021-09-23 2021-09-23 一种研磨机空气主轴的抛光处理装置 Expired - Fee Related CN216298939U (zh)

Priority Applications (1)

Application Number Priority Date Filing Date Title
CN202122301171.6U CN216298939U (zh) 2021-09-23 2021-09-23 一种研磨机空气主轴的抛光处理装置

Applications Claiming Priority (1)

Application Number Priority Date Filing Date Title
CN202122301171.6U CN216298939U (zh) 2021-09-23 2021-09-23 一种研磨机空气主轴的抛光处理装置

Publications (1)

Publication Number Publication Date
CN216298939U true CN216298939U (zh) 2022-04-15

Family

ID=81111536

Family Applications (1)

Application Number Title Priority Date Filing Date
CN202122301171.6U Expired - Fee Related CN216298939U (zh) 2021-09-23 2021-09-23 一种研磨机空气主轴的抛光处理装置

Country Status (1)

Country Link
CN (1) CN216298939U (zh)

Similar Documents

Publication Publication Date Title
CN111300210B (zh) 一种低温铁素体球磨铁件加工用打磨装置
CN109664191A (zh) 一种机械制造用打磨抛光装置
CN216298939U (zh) 一种研磨机空气主轴的抛光处理装置
CN215317774U (zh) 一种弹簧夹头全自动双端面磨抛机
CN101157189A (zh) 圆锯片侧面无心磨床及其对圆锯片侧面无心磨削的方法
CN210968450U (zh) Cbn砂轮的循环在线磨削与修整装置
CN103358217A (zh) 一种细长轴件的自动去毛刺机
CN201020645Y (zh) 用于双端面磨床的砂轮修整装置
CN217097206U (zh) 一种旋转超声研磨刹车分泵的设备
CN203542299U (zh) 一种对锯片进行开槽打磨的设备
CN211193178U (zh) 一种高线精轧机锥套修磨工具
CN210335458U (zh) 一种改进型磨削装置
CN216656608U (zh) 一种用于齿轮生产的抛光装置
CN201559108U (zh) 多角度钻石磨边机
CN2843743Y (zh) 四主轴锥体双端面磨床
CN114012517B (zh) 一种高效率外圆磨床辅助装置
CN220074235U (zh) 一种气门沟部加工精度高的研磨机
CN218427507U (zh) 一种多研磨工位砂带研磨机
CN206748147U (zh) 一种数控砂带磨床
CN223198704U (zh) 一种齿圈打磨去毛刺设备
CN213673190U (zh) 一种金刚石开刃机侧面开刃机构
CN215748187U (zh) 一种可内外同时打磨的轴承套圈打磨装置
CN222680469U (zh) 一种新型磨床机的磨切结构
CN221111209U (zh) 一种便于快速固定工件的抛光机
CN221454534U (zh) 一种金刚石锯片开刃机

Legal Events

Date Code Title Description
GR01 Patent grant
GR01 Patent grant
CF01 Termination of patent right due to non-payment of annual fee
CF01 Termination of patent right due to non-payment of annual fee

Granted publication date: 20220415