CN216294402U - External urine collecting device for male urinary tract - Google Patents

External urine collecting device for male urinary tract Download PDF

Info

Publication number
CN216294402U
CN216294402U CN202122803746.4U CN202122803746U CN216294402U CN 216294402 U CN216294402 U CN 216294402U CN 202122803746 U CN202122803746 U CN 202122803746U CN 216294402 U CN216294402 U CN 216294402U
Authority
CN
China
Prior art keywords
urine
urine collection
collection bag
condom
reflux
Prior art date
Legal status (The legal status is an assumption and is not a legal conclusion. Google has not performed a legal analysis and makes no representation as to the accuracy of the status listed.)
Expired - Fee Related
Application number
CN202122803746.4U
Other languages
Chinese (zh)
Inventor
汪健健
何莉
刘芳
袁江豪
Current Assignee (The listed assignees may be inaccurate. Google has not performed a legal analysis and makes no representation or warranty as to the accuracy of the list.)
Second Xiangya Hospital of Central South University
Original Assignee
Second Xiangya Hospital of Central South University
Priority date (The priority date is an assumption and is not a legal conclusion. Google has not performed a legal analysis and makes no representation as to the accuracy of the date listed.)
Filing date
Publication date
Application filed by Second Xiangya Hospital of Central South University filed Critical Second Xiangya Hospital of Central South University
Priority to CN202122803746.4U priority Critical patent/CN216294402U/en
Application granted granted Critical
Publication of CN216294402U publication Critical patent/CN216294402U/en
Expired - Fee Related legal-status Critical Current
Anticipated expiration legal-status Critical

Links

Images

Landscapes

  • Orthopedics, Nursing, And Contraception (AREA)

Abstract

本实用新型公开了一种男性泌尿道体外集尿装置,包括集尿袋、刻度线、软塑薄膜、内侧硬塑、阴茎套、抗反流瓣膜、魔术贴和放尿口;本实用新型结构合理简单、生产成本低、安装方便,功能齐全,阴茎套引导尿液单向流向集尿袋,在阴茎套和集尿袋连接处设置一个硬塑出口导流和软塑薄膜封堵构成抗反流结构,集尿袋内尿液满时,软塑薄膜漂浮封堵硬塑导流口,集尿袋倾斜或倒置时候,软塑薄膜被尿液压瘪封堵住硬塑导流口,从而实现了抗反流功能;此集尿袋无需患者主动配合、无侵入性操作安全性较强、使用便捷、防反流能力强避免了尿液逆流感染、皮肤损伤等医疗护理问题,且对于需记录24h出入水量而又未插导尿管的患者,此集尿袋记录得更为准确。

Figure 202122803746

The utility model discloses an external urine collection device for male urinary tract, which comprises a urine collection bag, a scale line, a soft plastic film, an inner hard plastic, a condom, an anti-reflux valve, a Velcro and a urine outlet; the utility model has a reasonable structure Simple, low production cost, convenient installation, and complete functions, the condom guides urine to flow to the urine collection bag in one direction, and a hard plastic outlet is set at the connection between the condom and the urine collection bag to prevent reflux. Structure, when the urine collection bag is full, the soft plastic film floats to block the hard plastic diversion port. Anti-reflux function; this urine collection bag does not require the active cooperation of the patient, non-invasive operation with strong safety, convenient use, and strong anti-reflux ability, which avoids medical care problems such as urine reflux infection and skin damage, and needs to be recorded for 24 hours. For patients with water in and out without a catheter, this urine collection bag can record more accurately.

Figure 202122803746

Description

External urine collecting device for male urinary tract
Technical Field
The utility model relates to the technical field of in-vitro urine collection, in particular to an in-vitro urine collection device for male urinary tracts.
Background
The male patient who can not get out of bed to relieve urine in present hospital, daily many times relieve urine demand is difficult to obtain satisfying, it is inconvenient to adopt male urinal or insert the catheter to this kind of patient hospital more, but most of these kinds of patients are unconscious, restless, the cooperation is poor, be difficult to use the urinal by oneself, even can not in time inform accompanying and nursing personnel oneself need relieve urine, therefore the urinal result of use is poor, and insert the catheter and exist many risks for invasive operation, if the urgent need of non-state of an illness avoids using as far as possible, consequently, a male urinary tract external urine collecting device of urethra has been proposed.
SUMMERY OF THE UTILITY MODEL
The utility model aims to solve the problems and provide an external urine collecting device for male urinary tracts, which solves the problem of inconvenient urination of male patients who do not need to insert a urinary catheter and cannot use a urinal in a matching way.
In order to solve the above problems, the present invention provides a technical solution: the utility model provides a male sex's external urine collection of urinary tract device which innovation point lies in: comprises a urine collection bag, scale marks, a soft plastic film, inner hard plastic, a condom, an anti-reflux valve, a magic tape and a urine discharge port; the end wall of the inner side of the urine collecting bag is provided with scale marks; the upper end in the urine collection bag cavity is provided with a soft plastic film; the soft plastic film is communicated with the inside of the chamber of the urine collection bag; the soft plastic film is communicated with the inner hard plastic; the upper end of the inner hard plastic is connected with a condom; a plurality of anti-reflux valves are arranged in the condom; the left side of the upper end of the condom is connected with a magic tape; the bottom end of the urine collection bag is connected with a urine discharge port.
Preferably, the condom is an elastic soft plastic condom.
Preferably, the urine collection bag is a transparent urine collection bag.
Preferably, the magic tape is detachable.
Preferably, the urine outlet is a cross urine outlet.
The utility model has the beneficial effects that:
(1) the urine collection bag is reasonable and simple in structure, low in production cost, convenient to install and complete in function, the condom guides urine to flow to the urine collection bag in a one-way mode, the hard plastic outlet diversion and the soft plastic film plugging are arranged at the joint of the condom and the urine collection bag to form a backflow resisting structure, when urine in the urine collection bag is full, the soft plastic film floats to plug the hard plastic diversion port, and when the urine collection bag is inclined or inverted, the soft plastic film is compressed by the urine to plug the hard plastic diversion port, so that the backflow resisting function is achieved.
(2) This collection urine bag of the utility model need not patient's initiative cooperation, non-invasive operation security is stronger, use convenient, prevent that the anti-reflux ability is strong and avoided medical care problems such as urine counter-current infection, skin damage, and to the patient that need to take notes 24h volume of cominging in and going out and do not insert the catheter, this collection urine bag record gets more accurate.
(3) This practicality puts the urine structure through the collection urine bag below design cross that sets up, is convenient for emit the urine.
Drawings
FIG. 1 is a schematic structural diagram of the present invention.
Fig. 2 is a first working diagram of the present invention.
Fig. 3 is a second working diagram of the present invention.
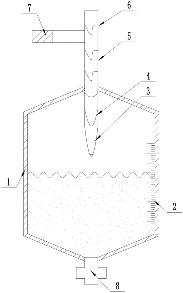
1-urine collection bag; 2-graduation line; 3-soft plastic film; 4-hard molding the inner side; 5-condom; 6-anti-regurgitation valve; 7-magic tape; 8-urine discharge port.
Detailed Description
As shown in fig. 1 to 3, the following technical solutions are adopted in the present embodiment: an external urine collection device for male urinary tract comprises a urine collection bag 1, scale marks 2, a soft plastic film 3, an inner side hard plastic 4, a condom 5, an anti-reflux valve 6, a magic tape 7 and a urine discharge port 8; the end wall of the inner side of the urine collecting bag 1 is provided with scale marks 2; the upper end in the chamber of the urine collection bag 1 is provided with a soft plastic film 3; thereby realizing the anti-reflux function; the soft plastic film 3 is communicated with the inside of the chamber of the urine collection bag 1; the soft plastic film 3 is communicated with an inner hard plastic 4; the upper end of the inner hard plastic 4 is connected with a condom 5; a plurality of anti-reflux valves 6 are arranged in the condom 5; the left side of the upper end of the condom 5 is connected with a magic tape 7; the bottom end of the urine collection bag 1 is connected with a urine discharge port 8, so that urine is conveniently discharged.
Wherein the condom is an elastic soft plastic condom; the urine collection bag 1 is a transparent urine collection bag; the magic tape 7 is detachable; the urine outlet 8 is a cross urine outlet.
The using state of the utility model is as follows: the utility model has reasonable and simple structure, low production cost, convenient installation and complete functions, when in use, the penis of a male patient is sleeved with the condom 5 and is fixed by the magic tape 7, the soft plastic film 3 with the anti-reflux valve structure guides urine to flow to the urine collection bag in a one-way manner, the inner side hard plastic 4 plug is arranged at the joint of the soft plastic film 3 and the urine collection bag 1 to form an anti-reflux structure, when the urine collection bag 1 is full of urine, the soft plastic film 3 floats to plug the inner side hard plastic 4 diversion port, and when the urine collection bag 1 is inclined or inverted, the soft plastic film 3 is shriveled by the urine to plug the inner side hard plastic 4 diversion port, thereby realizing the anti-reflux function. The urine outlet 8 is arranged below the urine collecting bag 1, so that urine can be discharged conveniently.
In the description of the present invention, it is to be understood that the terms "coaxial", "bottom", "one end", "top", "middle", "other end", "upper", "one side", "top", "inner", "front", "center", "both ends", and the like, indicate orientations or positional relationships based on those shown in the drawings, and are only for convenience of description and simplicity of description, and do not indicate or imply that the referenced device or element must have a particular orientation, be constructed and operated in a particular orientation, and thus, are not to be construed as limiting the present invention.
In the present invention, unless otherwise expressly specified or limited, the terms "mounted," "disposed," "connected," "secured," "screwed" and the like are to be construed broadly, e.g., as meaning fixedly connected, detachably connected, or integrally formed; can be mechanically or electrically connected; the terms may be directly connected or indirectly connected through an intermediate, and may be communication between two elements or interaction relationship between two elements, unless otherwise specifically limited, and the specific meaning of the terms in the present invention will be understood by those skilled in the art according to specific situations.
While there have been shown and described what are at present considered to be the fundamental principles of the utility model and its essential features and advantages, it will be understood by those skilled in the art that the utility model is not limited by the embodiments described above, which are merely illustrative of the principles of the utility model, but that various changes and modifications may be made therein without departing from the spirit and scope of the utility model as defined by the appended claims and their equivalents.
The control mode of the utility model is controlled by manually starting and closing the switch, the wiring diagram of the power element and the supply of the power source belong to the common knowledge in the field, and the utility model is mainly used for protecting mechanical devices, so the control mode and the wiring arrangement are not explained in detail in the utility model.

Claims (5)

1. An external urine collecting device for male urinary tract is characterized in that: comprises a urine collection bag (1), scale marks (2), a soft plastic film (3), an inner side hard plastic (4), a condom (5), an anti-reflux valve (6), a magic tape (7) and a urine outlet (8);
the end wall of the inner side of the urine collection bag (1) is provided with scale marks (2);
the upper end in the chamber of the urine collection bag (1) is provided with a soft plastic film (3);
the soft plastic film (3) is communicated with the interior of the chamber of the urine collection bag (1);
the soft plastic film (3) is communicated with an inner hard plastic (4);
the upper end of the inner hard plastic (4) is connected with a condom (5);
a plurality of anti-reflux valves (6) are arranged in the condom (5);
the left side of the upper end of the condom (5) is connected with a magic tape (7);
the bottom end of the urine collection bag (1) is connected with a urine discharge port (8).
2. The male urinary tract extracorporeal urine collection device according to claim 1, wherein: the condom is an elastic soft plastic condom.
3. The male urinary tract extracorporeal urine collection device according to claim 1, wherein: the urine collection bag (1) is a transparent urine collection bag.
4. The male urinary tract extracorporeal urine collection device according to claim 1, wherein: the magic tape (7) is detachable.
5. The male urinary tract extracorporeal urine collection device according to claim 1, wherein: the urine discharge port (8) is a cross urine discharge port.
CN202122803746.4U 2021-11-16 2021-11-16 External urine collecting device for male urinary tract Expired - Fee Related CN216294402U (en)

Priority Applications (1)

Application Number Priority Date Filing Date Title
CN202122803746.4U CN216294402U (en) 2021-11-16 2021-11-16 External urine collecting device for male urinary tract

Applications Claiming Priority (1)

Application Number Priority Date Filing Date Title
CN202122803746.4U CN216294402U (en) 2021-11-16 2021-11-16 External urine collecting device for male urinary tract

Publications (1)

Publication Number Publication Date
CN216294402U true CN216294402U (en) 2022-04-15

Family

ID=81120591

Family Applications (1)

Application Number Title Priority Date Filing Date
CN202122803746.4U Expired - Fee Related CN216294402U (en) 2021-11-16 2021-11-16 External urine collecting device for male urinary tract

Country Status (1)

Country Link
CN (1) CN216294402U (en)

Cited By (2)

* Cited by examiner, † Cited by third party
Publication number Priority date Publication date Assignee Title
US20230270584A1 (en) * 2022-02-28 2023-08-31 William Kyungha Joh Wearable urinary collection apparatus
US12472086B2 (en) 2022-02-28 2025-11-18 William K. Joh Wearable urinary collection apparatus

Cited By (2)

* Cited by examiner, † Cited by third party
Publication number Priority date Publication date Assignee Title
US20230270584A1 (en) * 2022-02-28 2023-08-31 William Kyungha Joh Wearable urinary collection apparatus
US12472086B2 (en) 2022-02-28 2025-11-18 William K. Joh Wearable urinary collection apparatus

Similar Documents

Publication Publication Date Title
CN216294402U (en) External urine collecting device for male urinary tract
RU197838U1 (en) UNIVERSAL PORTABLE DEVICE FOR MECHANICAL DRAIN OF URINE IN WOMEN
CN210697947U (en) Special urine collecting device used after urostomy
CN110251747A (en) An intelligent control device for clinical catheterization
CN210812671U (en) Digestive tract intubation protection device for digestive system physician
CN209847679U (en) Novel female bed urine collector
CN201275172Y (en) Urine bag for nursing bedridden patient
CN211157584U (en) Intelligent control device for clinical catheterization
CN215131261U (en) Combined stoma drainage device
CN218552544U (en) An ostomy bag with a built-in drainage tube
CN219250620U (en) Combined ostomy bag
CN215821502U (en) Female leakproof urine collector
CN214435033U (en) Urine collecting device for female bedridden patient
CN220124928U (en) Urine receiving bag for male patient
CN218833083U (en) Horizontal urine and excrement integrated collector for men
CN216603627U (en) A urine bag with better privacy
CN2261239Y (en) Medical urinal
CN211884203U (en) New hard shell urine collection bag
CN215585192U (en) Integrated ureter fixing plaster
CN201164524Y (en) Disposal device for urethral catheterization and urine storage for males
CN215690909U (en) Urinary catheter for surgery
CN217366844U (en) Ureter skin stoma set
CN2479960Y (en) Simple urinal for female patient
CN214805871U (en) Anti-reflux urine bag for bedridden men
CN213720125U (en) Urine drainage device special for men

Legal Events

Date Code Title Description
GR01 Patent grant
GR01 Patent grant
CF01 Termination of patent right due to non-payment of annual fee

Granted publication date: 20220415

CF01 Termination of patent right due to non-payment of annual fee