CN216288263U - 插入式断路器的助拔机构 - Google Patents

插入式断路器的助拔机构 Download PDF

Info

Publication number
CN216288263U
CN216288263U CN202121632324.9U CN202121632324U CN216288263U CN 216288263 U CN216288263 U CN 216288263U CN 202121632324 U CN202121632324 U CN 202121632324U CN 216288263 U CN216288263 U CN 216288263U
Authority
CN
China
Prior art keywords
circuit breaker
handle
plug
lifting
connecting shaft
Prior art date
Legal status (The legal status is an assumption and is not a legal conclusion. Google has not performed a legal analysis and makes no representation as to the accuracy of the status listed.)
Active
Application number
CN202121632324.9U
Other languages
English (en)
Inventor
杨以亮
吴昊
沈维佳
李凌飞
吴越
刘亚南
张莹
徐永富
韦尚靖
Current Assignee (The listed assignees may be inaccurate. Google has not performed a legal analysis and makes no representation or warranty as to the accuracy of the list.)
Shanghai Chint Intelligent Technology Co Ltd
Original Assignee
Shanghai Chint Intelligent Technology Co Ltd
Priority date (The priority date is an assumption and is not a legal conclusion. Google has not performed a legal analysis and makes no representation as to the accuracy of the date listed.)
Filing date
Publication date
Application filed by Shanghai Chint Intelligent Technology Co Ltd filed Critical Shanghai Chint Intelligent Technology Co Ltd
Priority to CN202121632324.9U priority Critical patent/CN216288263U/zh
Application granted granted Critical
Publication of CN216288263U publication Critical patent/CN216288263U/zh
Active legal-status Critical Current
Anticipated expiration legal-status Critical

Links

Images

Landscapes

  • Distribution Board (AREA)

Abstract

一种插入式断路器的助拔机构,其包括升降手柄,所述升降手柄包括枢转部、提拉部和升降部,所述枢转部与插装位点可拆卸连接,与所述升降部枢转连接,所述升降部与插入式断路器可拆卸连接,操作提拉部能够带动升降部绕枢转部转动,使升降部带动插入式断路器向远离插装位点的方向移动,通过可拆卸的升降手柄带动断路器在插装位点上移动,不仅可以省力的拔出断路器,还可以多个断路器共用一个升降手柄,而且升降手柄在取下后还可以减少断路器占用的空间。此外,手柄通过操作面板上方的空间进行操作,可以适用于安装空间紧凑的断路器。

Description

插入式断路器的助拔机构
技术领域
本实用新型涉及低压电器领域,特别是涉及一种插入式断路器的助拔机构。
背景技术
断路器是低压电气领域中重要的电器元件,能够接通和分断外部线路,并在外部线路中出现过电流或发生短路时自动切断电路,对外部线路进行保护。但是,现有断路器体积比较大,特别是插入式的塑壳断路器,将断路器从机柜中拔出时需要较大的力气,操作非常困难。
实用新型内容
本实用新型的目的在于克服现有技术的缺陷,提供一种插入式断路器的助拔机构。
为实现上述目的,本实用新型采用了如下技术方案:
一种插入式断路器的助拔机构,其包括升降手柄,所述升降手柄包括枢转部、提拉部和升降部,所述枢转部与插装位点可拆卸连接,与所述升降部枢转连接,所述升降部与插入式断路器可拆卸连接,操作提拉部能够带动升降部绕枢转部转动,使升降部带动插入式断路器向远离插装位点的方向移动。
优选的,所述升降部设有连接轴,所述插入式断路器设有与连接轴连接的挂钩结构。
优选的,所述枢转部上设有定位销或手柄定位孔,升降手柄通过定位销或手柄定位孔与插装位点连接。
优选的,所述升降手柄包括相对设置的两个升降部,两个升降部的中部设有与插入式断路器连接的连接轴,所述枢转部包括相对设置的两个侧板和底板,提拉部的两端分别与两个升降部的一端连接,两个升降部的另一端分别与两个侧板转动连接,底板与两个侧板连接且用于与插装位点连接。
优选的,所述升降部设有与连接轴配合的连接孔,连接孔的尺寸大于连接轴的外径,连接轴能够在连接孔中延连接孔的长度方向移动。
优选的,所述底板上设有与插装位点可拆卸连接的定位销,所述插装位点上设有与定位销配合的定位孔。
优选的,所述升降手柄还包括第二连接轴和以及连接在第二连接轴与所述连接轴之间的连接件,所述升降部上设有与第二连接轴配合的第二连接孔,连接轴和第二连接轴平行间隔设置且两端分别与两个升降部连接,连接轴和第二连接轴到插入式断路器一端的操作面板的距离不同。
优选的,插入式断路器上设有与升降手柄连接的手柄连接件,在断路器壳体上设有连接机构容纳槽,手柄连接件一端转动安装在连接机构容纳槽内,手柄连接件另一端能够转动置于连接机构容纳槽内,或转动伸出连接机构容纳槽。
优选的,所述定位孔包括用于避让定位销的插入部,以及与插入部一侧连通的限位部,限位部内径小于插入部内径,定位销上设有限位台阶,定位销能够从插入部滑到限位部中,使限位台阶与限位部限位。
优选的,所述插入式断路器包括设置在断路器壳体内的操作机构、触头系统、连接器和驱动机构,断路器壳体一端的操作面板上设有用于断路器手柄伸出的手柄孔,操作面板的两侧设有两个手柄连接件,断路器手柄与操作机构连接,连接器位于断路器壳体另一端内,触头系统通过连接器与插装位点内的外部导电件连接,连接器设有夹紧导电体的夹紧端,驱动机构与连接器连接用于锁定或解锁连接器。
本实用新型的插入式断路器的助拔机构,通过可拆卸的升降手柄带动断路器在插装位点上移动,不仅可以省力的拔出断路器,还可以多个断路器共用一个升降手柄,而且升降手柄在取下后还可以减少断路器占用的空间。此外,手柄通过操作面板上方的空间进行操作,可以适用于安装空间紧凑的断路器。
附图说明
图1是本实用新型实施例所述的断路器的结构示意图;
图2是本实用新型实施例所述的断路器与升降手柄的配合图;
图3是本实用新型实施例所述的断路器移动前的侧视图;
图4是本实用新型实施例所述的断路器移动后的侧视图;
图5是本实用新型实施例所述的升降手柄的结构示意图;
图6是本实用新型实施例所述的升降手柄的另一结构示意图;
图7是本实用新型实施例所述的升降手柄的分解图。
具体实施方式
以下结合附图1至7给出的实施例,进一步说明本实用新型的插入式断路器的助拔机构的具体实施方式。本实用新型的插入式断路器的助拔机构不限于以下实施例的描述。
如图1-4所示,本实用新型的插入式断路器插装在作为插装位点5的机柜的插框上,在断路器壳体1内设有操作机构、触头系统和连接器,触头系统通过连接器与插装位点5内的导电件连接,连接器设有夹紧导电体的夹紧端。
本实用新型的插入式断路器的助拔机构包括升降手柄20,用于拔出插装在插装位点5内的插入式断路器,所述升降手柄20包括枢转部21、提拉部22和升降部23,所述枢转部21与插装位点5可拆卸连接,所述升降部23与插入式断路器可拆卸连接,操作提拉部22能够带动升降部23绕枢转部21转动,使升降部23带动插入式断路器向远离插装位点5的方向移动,帮助将插入式断路器从机柜中拔出。
本实用新型的插入式断路器的助拔机构,通过可拆卸的升降手柄20带动断路器在插装位点上移动,不仅可以省力的拔出断路器,还可以多个断路器共用一个升降手柄20,而且升降手柄20在取下后还可以减少断路器占用的空间。此外,手柄通过操作面板上方的空间进行操作,可以适用于安装空间紧凑的断路器。本实施例的插装位点5为机柜的插框,只是插装位点的一种具体实施方式,所述插装位点还可以是墙面、配电箱等。
如图5-7所示,所述升降部23设有连接轴111,所述插入式断路器设有与连接轴111连接的挂钩结构,两者的拆卸结构方便,无需借助任何安装工具。具体,所述插入式断路器上设有与连接轴111可拆卸连接的手柄连接件30,所述手柄连接件30呈挂钩结构,连接轴111穿过挂钩结构的手柄连接件30就可以实现连接,将连接轴111抽出就可以实现拆卸,具有结构简单和方便操作的特点。可以理解的是,所述手柄连接机构也可以采用其它形状,例如手柄连接件30采用通孔结构或轴结构,采用通孔结构,则升降手柄20的连接轴111可以穿过通孔结构连接;采用轴结构例如凸起设置在手柄连接件30上的轴凸起,则升降手柄20可以采用挂钩结构,或通孔结构,都属于本发明创造的保护范围。
如图1所示,所述手柄连接机构的一个实施例,其包括手柄连接件30,手柄连接件30成片状结构,在断路器壳体1一端的操作面板上设有连接机构容纳槽,手柄连接件30一端转动安装在连接机构容纳槽内,手柄连接件30另一端能够转动置于连接机构容纳槽内,或转动伸出连接机构容纳槽。手柄连接件30 在不使用时可以缩回断路器壳体1,进一步减少断路器体积。优选的,所述插入式断路器一端的操作面板上还设有用于遮盖连接机构容纳槽的连接机构盖板。所述连接机构盖板枢转安装,当不连接升降手柄20时,手柄连接件30转动置于连接机构容纳槽内,盖上连接机构盖板;当需要连接升降手柄20时,打开连接机构盖板,将挂钩结构转动出来,与升降手柄20连接。
优选的,本实施例的插入式断路器为插入式的塑壳断路器,插入式断路器包括设置在断路器壳体1内的操作机构、触头系统、连接器和驱动机构,断路器壳体1一端的操作面板的中部上设有用于断路器手柄伸出的手柄孔,操作面板的两侧设有两个手柄连接件30,断路器手柄与操作机构连接,连接器位于断路器壳体1另一端内,触头系统通过连接器与插装位点5内的外部导电件连接,连接器设有夹紧外部导电体的夹紧端,外部导电件插入断路器壳体1内与连接器的夹紧端连接,驱动机构与连接器连接用于锁定或解锁连接器,即松开或夹紧夹紧端的导电件。优选的,手柄连接件30与驱动机构铰接,连接在手柄连接件30的一端,通过升降手柄20可以解锁连接器,且将插入式断路器从机柜中拔出。当然作为另一种实施例,所述手柄连接件30也可以铰接在断路器壳体1 上,不与驱动机构连接。
如图2所示,所述枢转部21上设有定位销213,所述插装位点5上设有与定位销213配合的定位孔51,升降手柄20通过定位销213与插装位点5连接,操作提拉部22带动升降部23向远离插装位点5的方向移动时,所述枢转部21 向插装位点5施加朝向插装位点5的作用力,两者的拆卸结构方便,无需借助任何安装工具。可以理解的是,也可以在枢转部21上设置手柄定位孔,在插装位点5上设置定位销213也可以实现相同的配合,都属于本发明创造的保护范围。
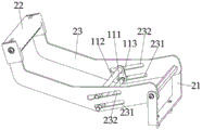
进一步,如图5-7所示的升降手柄20的优选实施例,所述升降手柄20包括相对设置的两个升降部23,两个升降部23的中部设有与插入式断路器连接的连接轴111,所述枢转部21包括相对设置的两个侧板211和底板212,提拉部 22的两端分别与两个升降部23的一端连接,两个升降部23的另一端分别与两个侧板211转动连接,底板212与两个侧板211连接且用于与插装位点5连接。优选的,所述连接轴111的两端连接在两个升降部23之间,可以提高升降手柄 20的强度。作为另一种实施例,连接轴111也可以为分别设置在两个升降部23 上的两个凸起轴。优选的,所述底板212上设有与插装位点5可拆卸连接的定位销213,所述插装位点5上设有与定位销213配合的定位孔51,定位销213 与插装位点5可拆卸连接。当然,本实施例所述枢转部21成U型结构,当然所述枢转部21也可以采用其它形状,如T字形等。
进一步,所述升降部23设有与连接轴111配合的连接孔231,连接孔231 的尺寸大于连接轴111的外径,连接轴111能够在连接孔231中延连接孔231 的长度方向移动。通过连接轴111在连接孔231中移动,可以调整连接轴111 的位置,使连接轴111可以适用不同尺寸的断路器,适用范围更广泛,便于推广使用。当然,连接孔231的内径也可以与连接轴111匹配,连接轴111穿过连接孔231与升降部23转动连接即可。
进一步,所述升降手柄20还包括第二连接轴112以及连接在第二连接轴112 与所述连接轴111之间的连接件113,所述升降部23上设有与第二连接轴112 配合的第二连接孔232,连接轴111和第二连接轴112平行间隔设置且两端分别与两个升降部23连接,连接轴111和第二连接轴112到插入式断路器一端的操作面板的距离不同。本实施例在连接轴111和第二连接轴112的两端之间各连接一个连接件113,连接轴111通过连接件113与第二连接轴112连接后,可以不仅通过第二连接轴112分担连接轴111受力。
如图5-7所示,每个升降部23包括依次弯折连接的第一侧板、第二侧板和第三侧板,第一侧板、第二侧板之间成钝角,第二侧板和第三侧板之间成钝角,第一侧板与提拉部22连接,第三侧板通过枢转轴24与枢转部21的侧板211转动连接,弯折的升降部23便于用户操作。具体的,本实施例的两个升降部23 的一端通过上安装孔233与提拉部22相连,两个升降部23的另一端通过下安装孔234分别与枢转轴24连接,枢转轴24与枢转部21的两个侧板211转动连接,所述连接轴111设置在两个升降部23之间,连接轴111的两端分别与两个升降部23的连接孔231配合,断路器一端的操作面板两侧设有两个所述的手柄连接件30,两个手柄连接件30分别位于两个升降部23的外侧,连接轴111的两端分别从内侧穿过升降部23后与手柄连接件30接。通过将连接轴111设置在两个升降部23的内侧,不仅能够保证升降手柄20具有足够的强度,而且又有效利用升降手柄20内部的空间容纳连接轴111,结构紧凑而可靠,具有体积小的特点。可以理解的是,所述连接轴111也可以设置在升降手柄20的其它位置,所述手柄连接件30也设置在两个升降部23内侧与连接轴111配合。
如图2所示,所述插装位点5上设有与定位销213配合的定位孔51。优选的,定位孔51包括用于避让定位销213的插入部52,以及与插入部52一侧连通的限位部53,限位部53内径小于插入部52内径。优选的,所述定位销213 的两端分别设有安装头214和导向头216,安装头214与所述底板212的销孔 217连接,导向头216呈圆形以便于穿过所述插入部52,在安装头214与导向头216之间设有限位台阶215,定位销213能够先穿过插入部52,再滑到限位部53中,使限位台阶215与限位部53限位,通过定位销213与定位孔51的限位配合,进一步确保升降手柄20与插装位点5装配的可靠性。本实施例设有两组定位孔51和定位销213,两组定位孔51的限位部53位于插入部52的同一侧。可以理解的是,也可以采用其它方式将插装位点5与升降手柄20可拆卸连接,这里不做具体限定。图中只示出了插装位点5的插框,显然插装位点5也可以为其它结构。
本实施例升降手柄20的动作过程为:
将图2中升降手柄20上的定位销213安装到插装位点5上,升降手柄20 上的连接轴111与手柄连接件30的挂钩结构连接,使升降手柄20处于图1、3 所示位置,完成安装,然后开始操作。
如图3所示,将升降手柄20顺时针转动,通过连接轴111带动断路器向上移动,插装位点5位置不动,最后将定位销213从插装位点5上抽出,将升降手柄20拆下。
以上内容是结合具体的优选实施方式对本实用新型所作的进一步详细说明,不能认定本实用新型的具体实施只局限于这些说明。对于本实用新型所属技术领域的普通技术人员来说,在不脱离本实用新型构思的前提下,还可以做出若干简单推演或替换,都应当视为属于本实用新型的保护范围。

Claims (10)

1.一种插入式断路器的助拔机构,其特征在于:包括升降手柄(20),所述升降手柄(20)包括枢转部(21)、提拉部(22)和升降部(23),所述枢转部(21)与插装位点(5)可拆卸连接,与所述升降部(23)枢转连接,所述升降部(23)与插入式断路器可拆卸连接,操作提拉部(22)能够带动升降部(23)绕枢转部(21)转动,使升降部(23)带动插入式断路器向远离插装位点(5)的方向移动。
2.根据权利要求1所述的插入式断路器的助拔机构,其特征在于:所述升降部(23)设有连接轴(111),所述插入式断路器设有与连接轴(111)连接的挂钩结构。
3.根据权利要求1所述的插入式断路器的助拔机构,其特征在于:所述枢转部(21)上设有定位销(213)或手柄定位孔,升降手柄(20)通过定位销(213)或手柄定位孔与插装位点(5)连接。
4.根据权利要求1所述的插入式断路器的助拔机构,其特征在于:所述升降手柄(20)包括相对设置的两个升降部(23),两个升降部(23)的中部设有与插入式断路器连接的连接轴(111),所述枢转部(21)包括相对设置的两个侧板(211)和底板(212),提拉部(22)的两端分别与两个升降部(23)的一端连接,两个升降部(23)的另一端分别与两个侧板(211)转动连接,底板(212)与两个侧板(211)连接且用于与插装位点(5)连接。
5.根据权利要求2或4所述的插入式断路器的助拔机构,其特征在于:所述升降部(23)设有与连接轴(111)配合的连接孔(231),连接孔(231)的尺寸大于连接轴(111)的外径,连接轴(111)能够在连接孔(231)中延连接孔(231)的长度方向移动。
6.根据权利要求4所述的插入式断路器的助拔机构,其特征在于:所述底板(212)上设有与插装位点(5)可拆卸连接的定位销(213),所述插装位点(5)上设有与定位销(213)配合的定位孔(51)。
7.根据权利要求5所述的插入式断路器的助拔机构,其特征在于:所述升降手柄(20)还包括第二连接轴(112)和以及连接在第二连接轴(112)与所述连接轴(111)之间的连接件(113),所述升降部(23)上设有与第二连接轴(112)配合的第二连接孔(232),连接轴(111)和第二连接轴(112)平行间隔设置且两端分别与两个升降部(23)连接,连接轴(111)和第二连接轴(112)到插入式断路器一端的操作面板的距离不同。
8.根据权利要求1所述的插入式断路器的助拔机构,其特征在于:插入式断路器上设有与升降手柄(20)连接的手柄连接件(30),在断路器壳体(1)上设有连接机构容纳槽,手柄连接件(30)一端转动安装在连接机构容纳槽内,手柄连接件(30)另一端能够转动置于连接机构容纳槽内,或转动伸出连接机构容纳槽。
9.根据权利要求6所述的插入式断路器的助拔机构,其特征在于:所述定位孔(51)包括用于避让定位销(213)的插入部(52),以及与插入部(52)一侧连通的限位部(53),限位部(53)内径小于插入部(52)内径,定位销(213)上设有限位台阶(215),定位销(213)能够从插入部(52)滑到限位部(53)中,使限位台阶(215)与限位部(53)限位。
10.根据权利要求1所述的插入式断路器的助拔机构,其特征在于:所述插入式断路器包括设置在断路器壳体(1)内的操作机构、触头系统、连接器和驱动机构,断路器壳体(1)一端的操作面板上设有用于断路器手柄伸出的手柄孔,操作面板的两侧设有两个手柄连接件(30),断路器手柄与操作机构连接,连接器位于断路器壳体(1)另一端内,触头系统通过连接器与插装位点(5)内的外部导电件连接,连接器设有夹紧导电体的夹紧端,驱动机构与连接器连接用于锁定或解锁连接器。
CN202121632324.9U 2021-07-16 2021-07-16 插入式断路器的助拔机构 Active CN216288263U (zh)

Priority Applications (1)

Application Number Priority Date Filing Date Title
CN202121632324.9U CN216288263U (zh) 2021-07-16 2021-07-16 插入式断路器的助拔机构

Applications Claiming Priority (1)

Application Number Priority Date Filing Date Title
CN202121632324.9U CN216288263U (zh) 2021-07-16 2021-07-16 插入式断路器的助拔机构

Publications (1)

Publication Number Publication Date
CN216288263U true CN216288263U (zh) 2022-04-12

Family

ID=81058466

Family Applications (1)

Application Number Title Priority Date Filing Date
CN202121632324.9U Active CN216288263U (zh) 2021-07-16 2021-07-16 插入式断路器的助拔机构

Country Status (1)

Country Link
CN (1) CN216288263U (zh)

Similar Documents

Publication Publication Date Title
CN111477512B (zh) 插入式断路器
CN2405330Y (zh) 插槽电连接器
CN217641144U (zh) 插入式断路器
CN111489937B (zh) 插入式断路器
CN216288263U (zh) 插入式断路器的助拔机构
CN211238115U (zh) 插入式断路器
CN214592500U (zh) 插拔模块和电器设备
CN211350531U (zh) 插入式断路器
CN216288265U (zh) 助力手柄和插入式断路器
CN114597103B (zh) 断路器
CN115621087A (zh) 插入式断路器的助插拔机构
CN210984659U (zh) 一种隔离指示挡板结构
CN210806410U (zh) 一种低压成套开关柜
CN217641146U (zh) 插入式断路器
CN218004747U (zh) 插入式断路器
CN220856358U (zh) 台车开关装置
CN219533729U (zh) 服务器
CN201387853Y (zh) 万能式断路器电气附件的总成
CN215869234U (zh) 插入式断路器的助插拔机构
CN218482169U (zh) 一种断路器插拔装置
CN112954941A (zh) 插拔模块和电器设备
CN117335228A (zh) 适配器和轨道插座
CN221486391U (zh) 插入式断路器
CN217641145U (zh) 插入式断路器
CN219040910U (zh) 一种可单手拔插的插排

Legal Events

Date Code Title Description
GR01 Patent grant
GR01 Patent grant