CN216271267U - A degassing unit that is used for microorganism laboratory discarded object to deposit temporarily - Google Patents
A degassing unit that is used for microorganism laboratory discarded object to deposit temporarily Download PDFInfo
- Publication number
- CN216271267U CN216271267U CN202122962659.3U CN202122962659U CN216271267U CN 216271267 U CN216271267 U CN 216271267U CN 202122962659 U CN202122962659 U CN 202122962659U CN 216271267 U CN216271267 U CN 216271267U
- Authority
- CN
- China
- Prior art keywords
- laboratory
- wall
- connecting rod
- box
- mounting plate
- Prior art date
- Legal status (The legal status is an assumption and is not a legal conclusion. Google has not performed a legal analysis and makes no representation as to the accuracy of the status listed.)
- Expired - Fee Related
Links
- 244000005700 microbiome Species 0.000 title description 6
- 238000007872 degassing Methods 0.000 title 1
- 239000002699 waste material Substances 0.000 claims abstract description 52
- 238000004659 sterilization and disinfection Methods 0.000 claims abstract description 41
- 230000002906 microbiologic effect Effects 0.000 claims description 6
- 238000000429 assembly Methods 0.000 claims description 4
- 230000000712 assembly Effects 0.000 claims description 4
- 230000000813 microbial effect Effects 0.000 abstract description 35
- 230000009286 beneficial effect Effects 0.000 abstract description 15
- 238000009825 accumulation Methods 0.000 abstract description 6
- 230000001954 sterilising effect Effects 0.000 abstract description 5
- 238000009434 installation Methods 0.000 description 12
- 238000010586 diagram Methods 0.000 description 3
- 238000002474 experimental method Methods 0.000 description 3
- 238000000034 method Methods 0.000 description 3
- 241000894006 Bacteria Species 0.000 description 2
- 239000010796 biological waste Substances 0.000 description 1
- 230000006806 disease prevention Effects 0.000 description 1
- 230000007613 environmental effect Effects 0.000 description 1
- 238000012986 modification Methods 0.000 description 1
- 230000004048 modification Effects 0.000 description 1
Images
Landscapes
- Apparatus Associated With Microorganisms And Enzymes (AREA)
Abstract
本实用新型公开了一种用于微生物实验室废弃物临时存放的消毒装置,涉及实验室废弃物处理技术领域,包括箱体,利用升降装置和电动伸缩杆及时快速地将实验室微生物废弃物收集托盘放置在固定板顶壁和箱体底内壁的置物板上,直到实验室微生物废弃物收集托盘数量累计到一定程度后,再经过一定时间杀菌后,关闭消毒灯,打开箱门,对实验室微生物废弃物进行集中处理;本实用新型有利于避免多次关闭和开启消毒灯,在对实验室微生物废弃物杀菌消毒时间未达到时,也可以将实验室微生物废弃物收集托盘放置在箱体内,有利于降低实验室污染,避免实验室微生物废弃物在实验室内暴露堆积,保证实验室环境安全的优势。
The utility model discloses a sterilizing device for temporary storage of microbial laboratory waste, which relates to the technical field of laboratory waste treatment. The trays are placed on the top wall of the fixed board and the storage board on the bottom inner wall of the box, until the number of laboratory microbial waste collection trays has accumulated to a certain level, and after a certain period of sterilization, turn off the disinfection lamp, open the box door, and clean the laboratory. The microbial waste is treated in a centralized manner; the utility model is beneficial to avoid turning off and turning on the disinfection lamp multiple times, and when the sterilization and disinfection time of the laboratory microbial waste has not reached, the laboratory microbial waste collection tray can also be placed in the box, It is beneficial to reduce laboratory pollution, avoid the exposure and accumulation of laboratory microbial waste in the laboratory, and ensure the advantages of laboratory environment safety.
Description
技术领域technical field
本实用新型涉及实验室废弃物处理技术领域,具体涉及一种用于微生物实验室废弃物临时存放的消毒装置。The utility model relates to the technical field of laboratory waste treatment, in particular to a disinfection device used for temporary storage of microorganism laboratory waste.
背景技术Background technique
近年来,实验室生物安全管理工作得到各方面的重视,各临床医疗、疾病预防控制单位、各微生物相关企业都制定相应的生物安全管理制度,尤其是对实验室生物废物的处理提出严格的要求。In recent years, laboratory biosafety management has received attention from all walks of life. All clinical medical, disease prevention and control units, and microorganism-related enterprises have formulated corresponding biosafety management systems, especially strict requirements for the treatment of laboratory biological waste. .
在生物实验的过程中会产生废弃物,由于废弃物上存留有细菌,所以需要将废弃物进行灭菌消毒处理后再扔掉,避免细菌在外界进行传播,然而现有的生物实验室废弃物临时存放装置在使用时不方便对废弃物进行杀菌消毒,同时箱体内的实验室微生物废弃物杀菌消毒时间未达到时,实验室微生物废弃物在实验室内容易暴露堆积,容易增加实验室污染。In the process of biological experiments, waste will be generated. Since there are bacteria on the waste, it is necessary to sterilize the waste before throwing it away to avoid the spread of bacteria to the outside world. However, the existing biological laboratory waste The temporary storage device is inconvenient to sterilize the waste when in use, and when the sterilization and disinfection time of the laboratory microbial waste in the box is not reached, the laboratory microbial waste is easily exposed and accumulated in the laboratory, and it is easy to increase the laboratory pollution.
发明内容SUMMARY OF THE INVENTION
本实用新型针对上述问题,提供一种用于微生物实验室废弃物临时存放的消毒装置,解决了用于微生物实验室废弃物临时存放装置不方便消毒的问题。In view of the above problems, the utility model provides a disinfection device for temporary storage of microorganism laboratory waste, which solves the problem that the temporary storage device for microorganism laboratory waste is inconvenient for disinfection.
本实用新型采用的技术方案为:一种用于微生物实验室废弃物临时存放的消毒装置,包括底座、箱体和箱门;所述底座顶壁设置有箱体,所述箱体第一侧壁开合设置有箱门;所述底座内设置有空腔,所述空腔两侧内壁之间转动连接有螺杆,所述螺杆一端可转动的贯穿底座第一侧壁;所述螺杆均分两段,且两段螺纹旋向相反,所述螺杆上方设置有安装板,所述安装板与螺杆之间设置有升降装置;所述空腔顶壁设置有第一条形孔,所述安装板可拆卸的贯穿第一条形孔,所述底座第二侧壁设置有第二条形孔,所述底座第二侧壁处开合设置有第二条形孔相配合的安装门;所述箱体内壁设置有固定板,所述固定板底壁和箱体顶内壁分别均匀设置有若干消毒灯,所述固定板顶壁和箱体底内壁上设置有置物板;所述箱体第二侧壁上设置有两个电动伸缩杆,待收集托盘可拆卸的设置在安装板上,待收集托盘分别与安装板和置物板可拆卸的滑动连接。The technical scheme adopted by the utility model is as follows: a disinfection device for temporary storage of microorganism laboratory waste, comprising a base, a box body and a box door; the top wall of the base is provided with a box body, and the first side of the box body is provided with a box body. A box door is provided for opening and closing the wall; a cavity is arranged in the base, a screw rod is rotatably connected between the inner walls on both sides of the cavity, and one end of the screw rod is rotatable and penetrates the first side wall of the base; the screw rod is equally divided There are two sections, and the two sections of threads have opposite directions of rotation, a mounting plate is arranged above the screw, and a lifting device is arranged between the mounting plate and the screw; the top wall of the cavity is provided with a first strip hole, the mounting plate The plate can be detachably penetrated through the first strip hole, the second side wall of the base is provided with a second strip hole, and the second side wall of the base is provided with an installation door matched with the second strip hole; The inner wall of the box is provided with a fixed plate, the bottom wall of the fixed plate and the inner wall of the top of the box are respectively uniformly provided with a number of disinfection lamps, and the top wall of the fixed plate and the inner wall of the bottom of the box are provided with storage boards; Two electric telescopic rods are arranged on the two side walls, the to-be-collected trays are detachably arranged on the mounting plate, and the to-be-collected trays are respectively detachably slidingly connected with the mounting plate and the storage plate.
进一步地,所述升降装置包括若干铰接设置的交叉连杆组件,所述交叉连杆组件包括第一连杆和第二连杆,所述第一连杆和第二连杆交叉设置,所所述第一连杆和第二连杆交叉处设置有转轴,处于最下方的第一连杆和第二连杆分别铰接有第一移动块,两个所述第一移动块分别螺接套设在螺杆的两段螺纹旋向上,所述安装板底壁设置有两个滑槽,所述滑槽内滑动连接有第二移动块,处于最上方的第一连杆和第二连杆分别与相配合的第二移动块铰接。Further, the lifting device includes a plurality of hingedly arranged cross link assemblies, the cross link assemblies include a first link and a second link, and the first link and the second link are arranged in an intersecting manner. A rotating shaft is provided at the intersection of the first connecting rod and the second connecting rod, the first connecting rod and the second connecting rod at the bottom are respectively hinged with a first moving block, and the two first moving blocks are screwed and sleeved respectively. On the two threads of the screw, the bottom wall of the mounting plate is provided with two sliding grooves, and a second moving block is slidably connected in the sliding grooves. The first connecting rod and the second connecting rod at the top are respectively connected with The matched second moving block is hinged.
进一步地,所述螺杆一端可转动的贯穿底座第一侧壁设置有电机。Further, a motor is provided through the first side wall of the base, and one end of the screw can be rotated.
进一步地,所述安装板和置物板截面均为U型结构。Further, the cross sections of the mounting board and the storage board are both U-shaped structures.
进一步地,所述箱门上设置有透明观察窗。Further, a transparent observation window is provided on the box door.
本实用新型的优点:本实用新型通过箱体内壁设置有固定板,固定板底壁和箱体顶内壁分别均匀设置有若干消毒灯,有利于分别对固定板顶壁的置物板和箱体底内壁的置物板的实验室微生物废弃物进行杀菌消毒;通过设置升降装置和电动伸缩杆,利用升降装置和电动伸缩杆及时快速地将实验室微生物废弃物收集托盘放置在固定板顶壁的置物板和箱体底内壁的置物板上,有利于避免多次关闭和开启消毒灯,在对实验室微生物废弃物杀菌消毒时间未达到时,也可以打开安装门,直到实验室微生物废弃物收集托盘数量累计到一定程度后,再经过一定时间杀菌后,关闭消毒灯,打开箱门,对实验室微生物废弃物进行集中处理,该装置有利于降低实验室污染,避免实验室微生物废弃物在实验室内暴露堆积,保证实验室环境安全的优势;本实用新型有利于避免多次关闭和开启消毒灯,在对实验室微生物废弃物杀菌消毒时间未达到时,也可以将实验室微生物废弃物收集托盘放置在箱体内,有利于降低实验室污染,避免实验室微生物废弃物在实验室内暴露堆积,保证实验室环境安全的优势。Advantages of the utility model: the utility model is provided with a fixed plate through the inner wall of the box, and a number of disinfection lamps are evenly arranged on the bottom wall of the fixed plate and the inner wall of the top of the box body, which is beneficial to the storage board of the top wall of the fixed plate and the bottom of the box body respectively. The laboratory microbial waste on the storage board on the inner wall is sterilized and disinfected; by setting up a lifting device and an electric telescopic rod, the laboratory microbial waste collection tray is promptly and quickly placed on the storage board on the top wall of the fixed board by using the lifting device and the electric telescopic rod. It is helpful to avoid turning off and turning on the disinfection lamp multiple times. When the sterilization and disinfection time of laboratory microbial waste has not reached, the installation door can also be opened until the number of laboratory microbial waste collection trays is reached. After accumulating to a certain level, after a certain period of sterilization, turn off the disinfection lamp, open the door of the box, and conduct centralized treatment of laboratory microbial waste. This device is conducive to reducing laboratory pollution and avoiding laboratory microbial waste in the laboratory. The advantages of exposure and accumulation to ensure the safety of the laboratory environment; the utility model is beneficial to avoid repeatedly turning off and turning on the disinfection lamp, and when the sterilization and disinfection time of the laboratory microbial waste is not reached, the laboratory microbial waste collection tray can also be placed In the box, it is beneficial to reduce laboratory pollution, avoid the exposure and accumulation of laboratory microbial waste in the laboratory, and ensure the advantages of laboratory environment safety.
除了上面所描述的目的、特征和优点之外,本实用新型还有其它的目的、特征和优点。下面将参照图,对本实用新型作进一步详细的说明。In addition to the objects, features and advantages described above, the present invention has other objects, features and advantages. The present utility model will be described in further detail below with reference to the drawings.
附图说明Description of drawings
构成本申请的一部分的附图用来提供对本实用新型的进一步理解,本实用新型的示意性实施例及其说明用于解释本实用新型,并不构成对本实用新型的不当限定。The accompanying drawings constituting a part of the present application are used to provide further understanding of the present invention, and the schematic embodiments of the present invention and descriptions thereof are used to explain the present invention and do not constitute an improper limitation of the present invention.
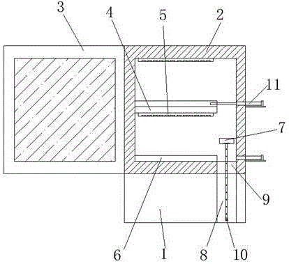
图1是本实用新型的整体结构正视图;Fig. 1 is the front view of the overall structure of the present utility model;
图2是本实用新型的整体结构侧视图;Fig. 2 is the overall structure side view of the present utility model;
图3是本实用新型的升降装置结构示意图;Fig. 3 is the structure schematic diagram of the lifting device of the present invention;
图4是本实用新型的固定板结构示意图;Fig. 4 is the structure schematic diagram of the fixed plate of the present invention;
图5是本实用新型的置物板结构示意图。FIG. 5 is a schematic diagram of the structure of the storage board of the present invention.
附图标记:1-底座、2-箱体、3-箱门、4-固定板、5-消毒灯、6-置物板、7-安装板、8-空腔、9-第一条形孔、10-螺杆、11-电动伸缩杆、12-第二条形孔、13-安装门、14-升降装置、15-第一连杆、16-第二连杆、17-转轴、101-电机。Reference signs: 1-base, 2-box, 3-box door, 4-fixed plate, 5-disinfection lamp, 6-object board, 7-installation board, 8-cavity, 9-first strip hole , 10-screw, 11-electric telescopic rod, 12-second bar hole, 13-installation door, 14-lifting device, 15-first connecting rod, 16-second connecting rod, 17-rotating shaft, 101-motor .
具体实施方式Detailed ways
为了使本实用新型的目的、技术方案及优点更加清楚明白,以下结合附图及实施例,对本实用新型进行进一步详细说明。应当理解,此处所描述的具体实施例仅用以解释本实用新型,并不用于限定本实用新型。In order to make the purpose, technical solutions and advantages of the present utility model more clearly understood, the present utility model will be further described in detail below with reference to the accompanying drawings and embodiments. It should be understood that the specific embodiments described herein are only used to explain the present invention, and are not used to limit the present invention.
在本实用新型的描述中,需要理解的是,术语“上”、“下”、“前”、“后”、“左”、“右”、“顶”、“底”、“内”、“外”等指示的方位或位置关系为基于附图所示的方位或位置关系,仅是为了便于描述本实用新型和简化描述,而不是指示或暗示所指的装置或元件必须具有特定的方位、以特定的方位构造和操作,因此不能理解为对本实用新型的限制。In the description of the present invention, it should be understood that the terms "upper", "lower", "front", "rear", "left", "right", "top", "bottom", "inside", The orientation or positional relationship indicated by "outside" is based on the orientation or positional relationship shown in the accompanying drawings, which is only for the convenience of describing the present invention and simplifying the description, rather than indicating or implying that the indicated device or element must have a specific orientation , are constructed and operated in a specific orientation, and therefore should not be construed as a limitation of the present invention.
参考图1至图5,一种用于微生物实验室废弃物临时存放的消毒装置,包括底座1、箱体2和箱门3;底座1顶壁设置有箱体2,箱体2第一侧壁开合设置有箱门3,箱体2第一侧壁铰接有箱门3第一端,箱门3第二端通过第一锁扣与箱体2第一侧壁可拆卸的连接;底座1内设置有空腔8,空腔8两侧内壁之间转动连接有螺杆10,螺杆10一端可转动的贯穿底座1第一侧壁设置有电机101,电机101市售,可以外接电源;螺杆10均分两段,且两段螺纹旋向相反,螺杆10上方设置有安装板7,安装板7与螺杆10之间设置有升降装置14,优选的,升降装置14包括若干铰接设置的交叉连杆组件,交叉连杆组件包括第一连杆15和第二连杆16,第一连杆15和第二连杆16交叉设置,所第一连杆15和第二连杆16交叉处可转动的设置有转轴17,处于最下方的第一连杆15和第二连杆16分别铰接有第一移动块,两个第一移动块分别螺接套设在螺杆10的两段螺纹旋向上,安装板7底壁设置有两个滑槽,滑槽内滑动连接有第二移动块,处于最上方的第一连杆15和第二连杆16分别与相配合的第二移动块铰接;通过启动电机101,驱动螺杆10转动,带动处于最下方的第一连杆15和第二连杆16的两个第一移动块在螺杆10上相向运动或者向相反方向运动,有利于带动第一连杆15和第二连杆16分别绕着转轴17发生偏转,同时带动处于最上方的第一连杆15和第二连杆16的两个第二移动块在相配合的滑槽内左右滑动,有利于安装板7升降;空腔8顶壁设置有第一条形孔9,安装板7可拆卸的贯穿第一条形孔9,底座1第二侧壁设置有第二条形孔12,底座1第二侧壁处开合设置有第二条形孔12相配合的安装门13,安装门13第一端与底座1第二侧壁处铰接,安装门13第二端与底座1第二侧壁通过第二锁扣可拆卸的连接;箱体2内壁设置有固定板4,固定板4底壁和箱体2顶内壁分别均匀设置有若干消毒灯5,若干消毒灯5市售,可外接电源,固定板4顶壁和箱体2底内壁上设置有置物板6;通过分别启动固定板4底壁的若干消毒灯5和箱体2顶内壁的若干消毒灯5,有利于分别对固定板4顶壁的置物板6和箱体2底内壁的置物板6的实验室微生物废弃物进行杀菌消毒;箱体2第二侧壁上竖列设置有两个电动伸缩杆11,电动伸缩杆11市售,可外接电源,待收集托盘可拆卸的设置在安装板7上,待收集托盘分别与安装板7和置物板6可拆卸的滑动连接;通过分别启动两个电动伸缩杆11,有利于分别将待收集托盘从安装板7上向对固定板4顶壁的置物板6和箱体2底内壁的置物板6进行移动;安装板7和置物板6截面均为U型结构,有利于待收集托盘稳定放置;箱门3上设置有透明观察窗,有利于观察箱体2内部情况。Referring to Figures 1 to 5, a disinfection device for temporary storage of microbiological laboratory waste includes a
工作原理:使用时,通过打开安装门13,将实验室微生物废弃物收集托盘从第二条形孔12进入底座1的空腔8内,稳定放置在安装板7上,关闭安装门13;通过启动电机101,驱动螺杆10转动,带动处于最下方的第一连杆15和第二连杆16的两个第一移动块在螺杆10上相向运动或者向相反方向运动,有利于带动第一连杆15和第二连杆16分别绕着转轴17发生偏转,同时带动处于最上方的第一连杆15和第二连杆16的两个第二移动块在相配合的滑槽内左右滑动,有利于安装板7升降;将安装板7上升,分别与固定板4顶壁的置物板6或者箱体2底内壁的置物板6进行对接;然后启动处于上方的电动伸缩杆11或者处于下方的电动伸缩杆11,有利于将待收集托盘从安装板7上向对固定板4顶壁的置物板6或者箱体2底内壁的置物板6进行移动;再通过分别启动固定板4底壁的若干消毒灯5和箱体2顶内壁的若干消毒灯5,有利于分别对固定板4顶壁的置物板6和箱体2底内壁的置物板6的实验室微生物废弃物进行临时存放杀菌消毒;该装置有利于无需多次关闭和开启消毒灯5,在对实验室微生物废弃物杀菌消毒时间未达到时,也可以打开安装门13,利用升降装置14和电动伸缩杆11及时快速地将实验室微生物废弃物收集托盘放置在固定板4顶壁的置物板6和箱体2底内壁的置物板6上,直到实验室微生物废弃物收集托盘数量累计到一定程度后,再经过一定时间杀菌后,关闭消毒灯5,打开箱门3,对实验室微生物废弃物进行集中处理,该装置有利于降低实验室污染,避免实验室微生物废弃物在实验室内暴露堆积,保证实验室环境安全的优势。Working principle: During use, by opening the
本实用新型通过箱体内壁设置有固定板,固定板底壁和箱体顶内壁分别均匀设置有若干消毒灯,有利于分别对固定板顶壁的置物板和箱体底内壁的置物板的实验室微生物废弃物进行杀菌消毒;通过设置升降装置和电动伸缩杆,利用升降装置和电动伸缩杆及时快速地将实验室微生物废弃物收集托盘放置在固定板顶壁的置物板和箱体底内壁的置物板上,有利于避免多次关闭和开启消毒灯,在对实验室微生物废弃物杀菌消毒时间未达到时,也可以打开安装门,直到实验室微生物废弃物收集托盘数量累计到一定程度后,再经过一定时间杀菌后,关闭消毒灯,打开箱门,对实验室微生物废弃物进行集中处理,该装置有利于降低实验室污染,避免实验室微生物废弃物在实验室内暴露堆积,保证实验室环境安全的优势;本实用新型有利于避免多次关闭和开启消毒灯,在对实验室微生物废弃物杀菌消毒时间未达到时,也可以将实验室微生物废弃物收集托盘放置在箱体内,有利于降低实验室污染,避免实验室微生物废弃物在实验室内暴露堆积,保证实验室环境安全的优势。In the utility model, the inner wall of the box is provided with a fixed plate, and the bottom wall of the fixed plate and the inner wall of the top of the box are respectively uniformly provided with a plurality of disinfection lamps, which is beneficial to the experiment of the storage plate of the top wall of the fixed plate and the storage plate of the bottom inner wall of the box respectively. The microbial waste in the laboratory is sterilized and disinfected; by setting up a lifting device and an electric telescopic rod, the laboratory microbial waste collection tray is promptly and quickly placed on the storage board of the top wall of the fixed board and the bottom inner wall of the box by using the lifting device and the electric telescopic rod. The storage board is beneficial to avoid turning off and turning on the disinfection lamp multiple times. When the sterilization and disinfection time of laboratory microbial waste has not reached, the installation door can also be opened until the number of laboratory microbial waste collection trays has accumulated to a certain extent. After a certain period of sterilization, turn off the disinfection lamp, open the box door, and conduct centralized treatment of laboratory microbial waste. This device is conducive to reducing laboratory pollution, avoiding the exposure and accumulation of laboratory microbial waste in the laboratory, and ensuring laboratory microbial waste. The advantages of environmental safety; the utility model is beneficial to avoid repeatedly turning off and turning on the disinfection lamp, and when the sterilization and disinfection time of the laboratory microbial waste is not reached, the laboratory microbial waste collection tray can also be placed in the box, which is beneficial to It has the advantages of reducing laboratory pollution, avoiding the exposure and accumulation of laboratory microbial waste in the laboratory, and ensuring the safety of the laboratory environment.
以上所述仅为本实用新型的较佳实施例,并不用以限制本实用新型,凡在本实用新型的精神和原则之内,所作的任何修改、等同替换、改进等,均应包含在本实用新型的保护范围之内。The above are only preferred embodiments of the present invention, and are not intended to limit the present invention. Any modifications, equivalent replacements, improvements, etc. made within the spirit and principles of the present invention shall be included in the present invention. within the scope of protection of the utility model.
Claims (5)
Priority Applications (1)
| Application Number | Priority Date | Filing Date | Title |
|---|---|---|---|
| CN202122962659.3U CN216271267U (en) | 2021-11-30 | 2021-11-30 | A degassing unit that is used for microorganism laboratory discarded object to deposit temporarily |
Applications Claiming Priority (1)
| Application Number | Priority Date | Filing Date | Title |
|---|---|---|---|
| CN202122962659.3U CN216271267U (en) | 2021-11-30 | 2021-11-30 | A degassing unit that is used for microorganism laboratory discarded object to deposit temporarily |
Publications (1)
| Publication Number | Publication Date |
|---|---|
| CN216271267U true CN216271267U (en) | 2022-04-12 |
Family
ID=81041473
Family Applications (1)
| Application Number | Title | Priority Date | Filing Date |
|---|---|---|---|
| CN202122962659.3U Expired - Fee Related CN216271267U (en) | 2021-11-30 | 2021-11-30 | A degassing unit that is used for microorganism laboratory discarded object to deposit temporarily |
Country Status (1)
| Country | Link |
|---|---|
| CN (1) | CN216271267U (en) |
-
2021
- 2021-11-30 CN CN202122962659.3U patent/CN216271267U/en not_active Expired - Fee Related
Similar Documents
| Publication | Publication Date | Title |
|---|---|---|
| CN110811861A (en) | Convenient anesthesia apparatus placing box for anesthesia department | |
| CN216271267U (en) | A degassing unit that is used for microorganism laboratory discarded object to deposit temporarily | |
| CN209808536U (en) | Medical instrument transfer trolley for medical operation | |
| CN220558244U (en) | Instrument placement device for nursing | |
| CN209667934U (en) | A kind of obstetrics and gynecology department clinical waste collection device | |
| CN216798305U (en) | Hospital is with soaking degassing unit of infecting apparatus | |
| CN205236010U (en) | Checking platform device | |
| CN213431921U (en) | Medical instrument disinfection box device | |
| CN211272551U (en) | Sterilizing device for surgical instruments | |
| CN211187991U (en) | A medical equipment cart for maternity care | |
| CN209951860U (en) | Ultraviolet disinfection device for carbon dioxide incubator | |
| CN210993170U (en) | A waste liquid treatment device for nursing care in ICU | |
| CN210434542U (en) | Clinical laboratory uses anti-pollution storage device | |
| CN220899187U (en) | Full-automatic disinfection wardrobe | |
| CN203306530U (en) | Temporary storage cabinet for medical wastes | |
| CN221672438U (en) | A multi-drug resistant bacteria infection control isolation vehicle | |
| CN208611390U (en) | A kind of Medical appliance decontaminating apparatus | |
| CN218012861U (en) | But article device of putting of blood sampling sample is accomodate to classification | |
| CN221383775U (en) | Disinfection supply room isolating device | |
| CN219249190U (en) | A kind of ultraviolet sterilization equipment | |
| CN214969524U (en) | Animal doctor's equipment degassing unit | |
| CN217707304U (en) | Medical science clinical laboratory uses discarded object strorage device | |
| CN221786638U (en) | Medical device collection and processing device | |
| CN216318010U (en) | Nursing appliance storage device | |
| CN222640953U (en) | A thermometer immersion disinfection tray |
Legal Events
| Date | Code | Title | Description |
|---|---|---|---|
| GR01 | Patent grant | ||
| GR01 | Patent grant | ||
| CF01 | Termination of patent right due to non-payment of annual fee |
Granted publication date: 20220412 |
|
| CF01 | Termination of patent right due to non-payment of annual fee |
