CN216263576U - 一种双头镗专机 - Google Patents
一种双头镗专机 Download PDFInfo
- Publication number
- CN216263576U CN216263576U CN202122844344.9U CN202122844344U CN216263576U CN 216263576 U CN216263576 U CN 216263576U CN 202122844344 U CN202122844344 U CN 202122844344U CN 216263576 U CN216263576 U CN 216263576U
- Authority
- CN
- China
- Prior art keywords
- boring
- fixedly connected
- double
- machine body
- support column
- Prior art date
- Legal status (The legal status is an assumption and is not a legal conclusion. Google has not performed a legal analysis and makes no representation as to the accuracy of the status listed.)
- Active
Links
- 230000007246 mechanism Effects 0.000 claims description 45
- 230000001681 protective effect Effects 0.000 claims description 3
- 230000000149 penetrating effect Effects 0.000 claims description 2
- 238000003754 machining Methods 0.000 description 7
- 238000000034 method Methods 0.000 description 3
- 230000002146 bilateral effect Effects 0.000 description 2
- 238000005520 cutting process Methods 0.000 description 2
- 238000005553 drilling Methods 0.000 description 2
- 238000009434 installation Methods 0.000 description 2
- 238000003801 milling Methods 0.000 description 2
- 239000002699 waste material Substances 0.000 description 2
- 230000009286 beneficial effect Effects 0.000 description 1
- 230000007547 defect Effects 0.000 description 1
- 230000000694 effects Effects 0.000 description 1
- 238000012986 modification Methods 0.000 description 1
- 230000004048 modification Effects 0.000 description 1
Images
Landscapes
- Earth Drilling (AREA)
Abstract
本实用新型公开了一种双头镗专机,包括机体,所述机体的上表面对称开设有滑槽,两个所述滑槽的内部均滑动连接有滑块,所述滑块的顶端固定连接有转向机构,所述转向机构的顶端安装有镗孔机构,所述机体的上表面两侧对称固定连接有第一安装板,所述第一安装板的上表面可拆卸安装有第一夹具。本实用新型中,通过设置的两个镗孔机构和两个驱动机构既可以同时对工件的两端进行镗孔操作,也可以分开进行镗孔操作,不需要转动工件,从而大大方便使用,通过设置的转向机构,可以改变镗孔机构的方向,从而实现镗孔刀头的位置改变,进而可以对工件的内壁两侧进行同时镗孔,从而大大增加了实用性。
Description
技术领域
本实用新型涉及数控机床技术领域,尤其涉及一种双头镗专机。
背景技术
镗床是主要用镗刀对工件已有的预制孔进行镗削的机床。通常,镗刀旋转为主运动,镗刀或工件的移动为进给运动。它主要用于加工高精度孔或一次定位完成多个孔的精加工,此外还可以从事与孔精加工有关的其他加工面的加工。使用不同的刀具和附件还可进行钻削、铣削、切削的加工精度和表面质量要高于钻床。镗床是大型箱体零件加工的主要设备;
现涉及一种双头镗专机,普通机械加工中,对两端孔的加工都是分工序加工,要求工装夹具及机床精度相当高,对位置度要求较高时很难达到要求。目前,此类零件加工较常用的方法就是用普通铣床先加工一端孔,再将工件翻转180°加工另一端孔,需二次装夹。此法加工复杂,时间长,因而切削精度较低,调整困难,严重影响产品的加工质量和加工效率。
实用新型内容
本实用新型的目的是为了解决现有技术中存在的缺点,而提出的一种双头镗专机。
为了实现上述目的,本实用新型采用了如下技术方案:一种双头镗专机,包括机体,所述机体的上表面对称开设有滑槽,两个所述滑槽的内部均滑动连接有滑块,所述滑块的顶端固定连接有转向机构,所述转向机构的顶端安装有镗孔机构,所述机体的上表面两侧对称固定连接有第一安装板,所述第一安装板的上表面可拆卸安装有第一夹具,所述机体的上表面固定连接有龙门架,所述龙门架的上表面依次贯穿安装有多个液压缸,所述液压缸的活动端底端固定连接有第二安装板,所述第二安装板的下表面可拆卸安装有第二夹具,所述机体的两侧对称安装有驱动机构,所述驱动机构与两个滑块相配合。
进一步的,所述转向机构包括固定安装在滑块顶端的支撑柱,所述支撑柱的外表面开设有安装槽,所述安装槽的内底部安装有第一电机,所述第一电机的输出轴顶端固定连接有转轴,所述转轴的顶端贯穿支撑柱并与镗孔机构的底部固定连接。
进一步的,所述镗孔机构包括与转轴顶端固定连接的L板,所述L板的上表面安装有第二电机,所述第二电机的输出轴可拆卸固定连接有转动杆,所述转动杆的一端贯穿L板的一侧并固定连接有刀架,所述刀架的一侧安装有镗孔刀头。
进一步的,所述支撑柱的顶端与L板的底部之间设有多个滚珠,且所述支撑柱的顶端与L板的底部均开设有与滚珠相对应的环槽。
进一步的,所述L板的底端固定连接有套设在支撑柱上的防护套,所述防护套的内径大于支撑柱的直径。
进一步的,所述驱动机构包括安装在机体两侧的第三电机,所述第三电机的输出固定连接有螺杆,所述螺杆的一端依次贯穿滑槽和滑块并与滑块的内部通过螺纹连接。
进一步的,所述机体的下表面四周固定安装有支撑腿,所述机体的下表面可拆卸滑动连接有收集箱。
本实用新型的有益效果:
1、本实用新型在使用时,该双头镗专机,通过设置的两个镗孔机构和两个驱动机构既可以同时对工件的两端进行镗孔操作,也可以分开进行镗孔操作,不需要转动工件,从而大大方便使用。
2、本实用新型在使用时,该双头镗专机,通过设置的转向机构,可以改变镗孔机构的方向,从而实现镗孔刀头的位置改变,进而可以对工件的内壁两侧进行同时镗孔,从而大大增加了实用性。
附图说明
图1为本实用新型的立体图;
图2为本实用新型的整体结构示意图;
图3为本实用新型的转向机构和镗孔机构的结构示意图。
图例说明:
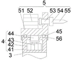
1、机体;2、滑槽;3、滑块;4、转向机构;41、支撑柱;42、安装槽;43、第一电机;44、转轴;45、滚珠;5、镗孔机构;51、L板;52、第二电机;53、转动杆;54、刀架;55、镗孔刀头;56、防护套;6、第一安装板;7、第一夹具;8、龙门架;9、液压缸;10、第二安装板;11、第二夹具;12、第三电机;13、螺杆;14、支撑腿;15、收集箱。
具体实施方式
参照图1和图2,涉及一种双头镗专机,包括机体1,机体1的上表面对称开设有滑槽2,两个滑槽2的内部均滑动连接有滑块3,滑块3的顶端固定连接有转向机构4,转向机构4的顶端安装有镗孔机构5,机体1的上表面两侧对称固定连接有第一安装板6,第一安装板6的上表面可拆卸安装有第一夹具7,机体1的上表面固定连接有龙门架8,龙门架8的上表面依次贯穿安装有多个液压缸9,液压缸9的活动端底端固定连接有第二安装板10,第二安装板10的下表面可拆卸安装有第二夹具11,机体1的两侧对称安装有驱动机构,驱动机构与两个滑块3相配合;
机体1的下表面四周固定安装有支撑腿14,机体1的下表面可拆卸滑动连接有收集箱15,支撑腿14是为了便于放置机体1,收集箱15是为了便于收集废料。
参照图2和图3,转向机构4包括固定安装在滑块3顶端的支撑柱41,支撑柱41的外表面开设有安装槽42,安装槽42的内底部安装有第一电机43,第一电机43的输出轴顶端固定连接有转轴44,转轴44的顶端贯穿支撑柱41并与镗孔机构5的底部固定连接,第一电机43转动可以带动转轴44转动,从而带动顶部的镗孔机构5转向,从而改变镗孔刀头55的方向;
镗孔机构5包括与转轴44顶端固定连接的L板51,L板51的上表面安装有第二电机52,第二电机52的输出轴可拆卸固定连接有转动杆53,转动杆53的一端贯穿L板51的一侧并固定连接有刀架54,刀架54的一侧安装有镗孔刀头55,第二电机52转动带动转动杆53转动,从而带动安装在刀架54上的镗孔刀头55转动,从而进行镗孔操作;
支撑柱41的顶端与L板51的底部之间设有多个滚珠45,且支撑柱41的顶端与L板51的底部均开设有与滚珠45相对应的环槽,通过设置的滚珠45可以增加转向机构4和镗孔机构5之间的稳定性;
L板51的底端固定连接有套设在支撑柱41上的防护套56,防护套56的内径大于支撑柱41的直径,防护套56可以避免废料进入到支撑柱41与L板51之间,从而影响镗孔机构5的转动;
参照图1和图2,驱动机构包括安装在机体1两侧的第三电机12,第三电机12的输出固定连接有螺杆13,螺杆13的一端依次贯穿滑槽2和滑块3并与滑块3的内部通过螺纹连接,两个第三电机12转动分别带动两个螺杆13转动,从而分别带动两个滑块3移动,进而分别带动两个镗孔机构5移动。
在使用双头镗专机时,首先根据工件需要镗孔的位置,选用合适的第一夹具7和第二夹具11将工件固定住,当需要对工件两端进行镗孔时,启动转向机构4中的第一电机43,使得两个镗孔机构5中的镗孔刀头55相对设置,进而启动两个第二电机52和第三电机12,第二电机52转动带动转动杆53转动,从而带动安装在刀架54上的镗孔刀头55转动,从而进行镗孔操作,两个第三电机12转动分别带动两个螺杆13转动,从而分别带动两个滑块3移动,进而分别带动两个镗孔机构5移动,当需要对工件内壁两侧进行镗孔时,可以先启动第一电机43,使得镗孔机构5中的镗孔刀头55相对远离,进而启动第三电机12,使得两个镗孔机构5相靠近,进而将工件通过第一夹具7和第二夹具11固定在两个镗孔机构5外侧,进而再启动第二电机52和第三电机12进行镗孔操作。
以上所述仅为本实用新型的较佳实施例,并不用以限制本实用新型,凡在本实用新型的精神和原则之内,所作的任何修改、等同替换、改进等,均应包含在本实用新型的保护范围之内。
Claims (7)
1.一种双头镗专机,包括机体(1),其特征在于:所述机体(1)的上表面对称开设有滑槽(2),两个所述滑槽(2)的内部均滑动连接有滑块(3),所述滑块(3)的顶端固定连接有转向机构(4),所述转向机构(4)的顶端安装有镗孔机构(5),所述机体(1)的上表面两侧对称固定连接有第一安装板(6),所述第一安装板(6)的上表面可拆卸安装有第一夹具(7),所述机体(1)的上表面固定连接有龙门架(8),所述龙门架(8)的上表面依次贯穿安装有多个液压缸(9),所述液压缸(9)的活动端底端固定连接有第二安装板(10),所述第二安装板(10)的下表面可拆卸安装有第二夹具(11),所述机体(1)的两侧对称安装有驱动机构,所述驱动机构与两个滑块(3)相配合。
2.根据权利要求1所述的一种双头镗专机,其特征在于:所述转向机构(4)包括固定安装在滑块(3)顶端的支撑柱(41),所述支撑柱(41)的外表面开设有安装槽(42),所述安装槽(42)的内底部安装有第一电机(43),所述第一电机(43)的输出轴顶端固定连接有转轴(44),所述转轴(44)的顶端贯穿支撑柱(41)并与镗孔机构(5)的底部固定连接。
3.根据权利要求2所述的一种双头镗专机,其特征在于:所述镗孔机构(5)包括与转轴(44)顶端固定连接的L板(51),所述L板(51)的上表面安装有第二电机(52),所述第二电机(52)的输出轴可拆卸固定连接有转动杆(53),所述转动杆(53)的一端贯穿L板(51)的一侧并固定连接有刀架(54),所述刀架(54)的一侧安装有镗孔刀头(55)。
4.根据权利要求3所述的一种双头镗专机,其特征在于:所述支撑柱(41)的顶端与L板(51)的底部之间设有多个滚珠(45),且所述支撑柱(41)的顶端与L板(51)的底部均开设有与滚珠(45)相对应的环槽。
5.根据权利要求4所述的一种双头镗专机,其特征在于:所述L板(51)的底端固定连接有套设在支撑柱(41)上的防护套(56),所述防护套(56)的内径大于支撑柱(41)的直径。
6.根据权利要求1所述的一种双头镗专机,其特征在于:所述驱动机构包括安装在机体(1)两侧的第三电机(12),所述第三电机(12)的输出固定连接有螺杆(13),所述螺杆(13)的一端依次贯穿滑槽(2)和滑块(3)并与滑块(3)的内部通过螺纹连接。
7.根据权利要求1所述的一种双头镗专机,其特征在于:所述机体(1)的下表面四周固定安装有支撑腿(14),所述机体(1)的下表面可拆卸滑动连接有收集箱(15)。
Priority Applications (1)
| Application Number | Priority Date | Filing Date | Title |
|---|---|---|---|
| CN202122844344.9U CN216263576U (zh) | 2021-11-19 | 2021-11-19 | 一种双头镗专机 |
Applications Claiming Priority (1)
| Application Number | Priority Date | Filing Date | Title |
|---|---|---|---|
| CN202122844344.9U CN216263576U (zh) | 2021-11-19 | 2021-11-19 | 一种双头镗专机 |
Publications (1)
| Publication Number | Publication Date |
|---|---|
| CN216263576U true CN216263576U (zh) | 2022-04-12 |
Family
ID=81035638
Family Applications (1)
| Application Number | Title | Priority Date | Filing Date |
|---|---|---|---|
| CN202122844344.9U Active CN216263576U (zh) | 2021-11-19 | 2021-11-19 | 一种双头镗专机 |
Country Status (1)
| Country | Link |
|---|---|
| CN (1) | CN216263576U (zh) |
Cited By (1)
| Publication number | Priority date | Publication date | Assignee | Title |
|---|---|---|---|---|
| CN116787221A (zh) * | 2023-08-29 | 2023-09-22 | 泰州宏润金属科技有限公司 | 一种五金配件对位打孔机械 |
-
2021
- 2021-11-19 CN CN202122844344.9U patent/CN216263576U/zh active Active
Cited By (2)
| Publication number | Priority date | Publication date | Assignee | Title |
|---|---|---|---|---|
| CN116787221A (zh) * | 2023-08-29 | 2023-09-22 | 泰州宏润金属科技有限公司 | 一种五金配件对位打孔机械 |
| CN116787221B (zh) * | 2023-08-29 | 2023-10-24 | 泰州宏润金属科技有限公司 | 一种五金配件对位打孔机械 |
Similar Documents
| Publication | Publication Date | Title |
|---|---|---|
| CN205496626U (zh) | 一种可调孔距多孔门形卧式钻床 | |
| CN103341916A (zh) | 石墨块专用卧式多主轴双面数控钻床 | |
| CN201183192Y (zh) | 多功能立式机床 | |
| CN207139252U (zh) | 一种立式铣端面打中心孔机床 | |
| CN216263576U (zh) | 一种双头镗专机 | |
| CN209920876U (zh) | 一种防尘雕刻机 | |
| CN217224461U (zh) | 一种对头卧式加工机床 | |
| CN110842570A (zh) | 一种立式车铣复合加工机床 | |
| CN214925049U (zh) | 一种吹塑管钻孔设备 | |
| CN105563236A (zh) | 一种侧向钻铣机床 | |
| CN213225064U (zh) | 一种具有打磨功能的刀具加工用钻孔设备 | |
| CN103551861A (zh) | 一种数控加工中心机床 | |
| CN219275202U (zh) | 钻攻机 | |
| CN205386751U (zh) | 一种侧向钻铣机床 | |
| CN210731050U (zh) | 一种可调式钻孔工具 | |
| CN217413143U (zh) | 五轴数控钻铣机 | |
| CN106738120A (zh) | 一种木门五金件孔槽数控加工机床 | |
| CN212857814U (zh) | 一种钻床 | |
| CN214920788U (zh) | 一种内嵌式滑动座铣床结构 | |
| CN215316988U (zh) | 可拆卸式镗床回转工作台装置 | |
| CN208614212U (zh) | 一种车铣复合加工平台 | |
| CN222430046U (zh) | 一种大型工件内腔阶梯面加工装置 | |
| CN219444311U (zh) | 一种调节式钻铣床 | |
| CN219632667U (zh) | 一种便于固定材料的小平台钻 | |
| CN222660141U (zh) | 一种超精密机床的双b轴结构 |
Legal Events
| Date | Code | Title | Description |
|---|---|---|---|
| GR01 | Patent grant | ||
| GR01 | Patent grant |