CN216259694U - An air filter device for an ultra-clean workbench - Google Patents
An air filter device for an ultra-clean workbench Download PDFInfo
- Publication number
- CN216259694U CN216259694U CN202122658378.9U CN202122658378U CN216259694U CN 216259694 U CN216259694 U CN 216259694U CN 202122658378 U CN202122658378 U CN 202122658378U CN 216259694 U CN216259694 U CN 216259694U
- Authority
- CN
- China
- Prior art keywords
- fixing frame
- air
- fixedly connected
- filter
- dust
- Prior art date
- Legal status (The legal status is an assumption and is not a legal conclusion. Google has not performed a legal analysis and makes no representation as to the accuracy of the status listed.)
- Expired - Fee Related
Links
Images
Landscapes
- Filtering Of Dispersed Particles In Gases (AREA)
Abstract
本实用新型公开了一种超净工作台的空气过滤装置,包括工作间、过滤机构和灰尘收集机构,所述工作间上端固定连接有第二固定框,所述第二固定框下端远离工作间操作口的一侧安装有风机,所述第二固定框上端远离风机的一侧开设有漏孔,所述第二固定框上端固定连接有第一固定框,所述第一固定框远离漏孔的一端开设有进风口,本实用新型利用过滤网、静压箱和高效过滤器对空气进行精细过滤,提高风机吹到工作间内部的空气的洁净度,保证工作间内部加工操作的正常进行,本实用新型利用推板拨动震动杆,从而使过滤网将灰尘抖落到传送带上,然后通过传送带将灰尘输送到收集框内部,防止过滤网堆积灰尘,提高过滤网对空气的过滤效率。
The utility model discloses an air filtering device for an ultra-clean workbench, which comprises a workroom, a filtering mechanism and a dust collection mechanism. The upper end of the workroom is fixedly connected with a second fixing frame, and the lower end of the second fixing frame is far away from the workroom A fan is installed on one side of the operation port, a leak hole is opened on the side of the upper end of the second fixing frame away from the fan, a first fixing frame is fixedly connected to the upper end of the second fixing frame, and the first fixing frame is far away from the leak hole One end of the fan is provided with an air inlet, and the utility model uses a filter screen, a static pressure box and a high-efficiency filter to finely filter the air, so as to improve the cleanliness of the air blown by the fan into the workroom, and to ensure the normal processing operation in the workroom. The utility model utilizes the push plate to move the vibrating rod, so that the filter screen shakes off the dust onto the conveyor belt, and then transports the dust to the inside of the collecting frame through the conveyor belt, preventing the filter screen from accumulating dust and improving the air filtration efficiency of the filter screen.
Description
技术领域technical field
本实用新型涉及超净工作台技术领域,具体是一种超净工作台的空气过滤装置。The utility model relates to the technical field of ultra-clean workbenches, in particular to an air filter device of an ultra-clean workbench.
背景技术Background technique
超净工作台又称净化工作台,是为了适应现代化工业、光电产业、生物制药以及科研试验等领域对局部工作区域洁净度的需求而设计的。其通过风机将空气吸入预过滤器,经由静压箱进入高效过滤器过滤,将过滤后的空气以垂直或水平气流的状态送出,使操作区域达到百级洁净度,保证生产对环境洁净度的要求。The ultra-clean workbench, also known as the purification workbench, is designed to meet the needs of the cleanliness of the local work area in the fields of modern industry, optoelectronics industry, biopharmaceuticals, and scientific research and testing. It sucks the air into the pre-filter through the fan, enters the high-efficiency filter through the static pressure box, and sends the filtered air out in the state of vertical or horizontal airflow, so that the operating area can reach the cleanliness of class 100 and ensure the cleanliness of the production environment. Require.
现有的净工作台用空气过滤装置在对空气进行长时间过滤后,需要人工拆卸装置,然后对过滤网上的灰尘进行清洗,但是随着灰尘在过滤网上的堆积,过滤网的空气穿透效果会逐渐变差,不便于使用者使用。The existing air filter device for clean workbench needs to manually disassemble the device after filtering the air for a long time, and then clean the dust on the filter screen, but as the dust accumulates on the filter screen, the air penetration effect of the filter screen It will gradually deteriorate, making it inconvenient for users to use.
针对上述问题,现在设计一种改进的超净工作台的空气过滤装置。In view of the above problems, an improved air filtration device for an ultra-clean workbench is now designed.
实用新型内容Utility model content
本实用新型的目的在于提供一种超净工作台的空气过滤装置,以解决上述背景技术中提出的问题。The purpose of the present invention is to provide an air filter device for an ultra-clean workbench, so as to solve the problems raised in the above background technology.
为实现上述目的,本实用新型提供如下技术方案:To achieve the above object, the utility model provides the following technical solutions:
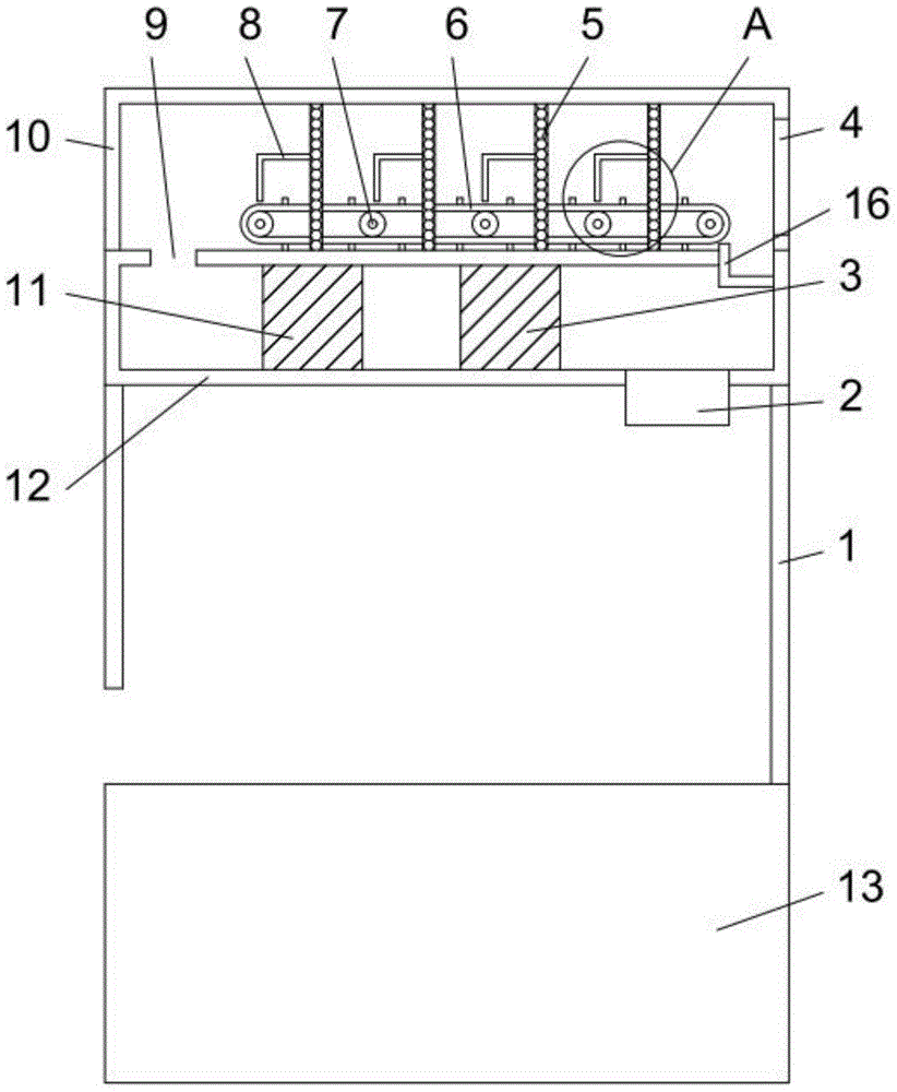
一种超净工作台的空气过滤装置,包括工作间、过滤机构和灰尘收集机构,所述工作间下端固定连接有用于对工作间进行支撑的底座,所述工作间上端固定连接有第二固定框,所述第二固定框下端远离工作间操作口的一侧安装有用于向工作间内部吹风的风机,所述风机的输入端与第二固定框内部相互连通,所述第二固定框上端远离风机的一侧开设有漏孔,所述第二固定框上端固定连接有第一固定框,所述第一固定框远离漏孔的一端开设有进风口。An air filtration device for an ultra-clean workbench includes a workroom, a filtering mechanism and a dust collection mechanism, the lower end of the workroom is fixedly connected with a base for supporting the workroom, and the upper end of the workroom is fixedly connected with a second fixed A fan for blowing air to the interior of the workshop is installed on the side of the lower end of the second fixing frame away from the operation port of the workshop, the input end of the fan is communicated with the interior of the second fixing frame, and the upper end of the second fixing frame A leak hole is opened on a side away from the fan, a first fixing frame is fixedly connected to the upper end of the second fixing frame, and an air inlet is opened at one end of the first fixing frame away from the leak hole.
所述过滤机构设置在第一固定框和静压箱内部,用于对空气进行过滤。The filtering mechanism is arranged inside the first fixing frame and the static pressure box, and is used for filtering the air.
所述灰尘收集机构设置在第一固定框内部,用于对过滤后的灰尘进行收集,提高空气过滤效率。The dust collecting mechanism is arranged inside the first fixing frame and is used for collecting the filtered dust to improve the air filtration efficiency.
作为本实用新型进一步的方案:所述过滤机构包括若干个过滤网,所述过滤网竖直固定连接在漏孔与进风口之间的第一固定框内壁上,所述漏孔与风机之间的第二固定框内壁上固定安装有静压箱,所述静压箱与风机之间的第二固定框内壁上安装有高效过滤器。As a further solution of the present invention: the filter mechanism includes several filter screens, and the filter screens are vertically and fixedly connected to the inner wall of the first fixing frame between the leak hole and the air inlet, and between the leak hole and the fan A static pressure box is fixedly installed on the inner wall of the second fixing frame, and a high-efficiency filter is installed on the inner wall of the second fixing frame between the static pressure box and the fan.
作为本实用新型再进一步的方案:所述灰尘收集机构包括若干个传动滚轮,所述传动滚轮水平转动连接在过滤网之间的第一固定框内壁上,所述传动滚轮其中一端穿过第一固定框侧壁固定安装有用于带动传动滚轮转动的电机,所述电机固定安装在第一固定框侧壁上,所述传动滚轮侧壁上套有用于将灰尘输送出第一固定框的传送带,所述过滤网上开设有便于传送带穿过的开口,所述开口侧壁上固定连接有用于使传送带与开口紧密贴合的橡胶垫,所述传送带侧壁上固定连接有便于推动灰尘移动的推板,所述过滤网侧壁上固定连接有用于与推板配合使用使过滤网震动的震动杆,所述传送带与进风口之间的第二固定框上固定连接有用于对灰尘进行收集的收集框。As a further solution of the present invention: the dust collection mechanism includes a plurality of transmission rollers, the transmission rollers are horizontally connected to the inner wall of the first fixed frame between the filter screens, and one end of the transmission rollers passes through the first fixed frame. A motor for driving the transmission roller to rotate is fixedly installed on the side wall of the fixed frame, the motor is fixed on the side wall of the first fixed frame, and a conveyor belt for conveying dust out of the first fixed frame is sleeved on the side wall of the transmission roller. The filter screen is provided with an opening that is convenient for the conveyor belt to pass through, the side wall of the opening is fixedly connected with a rubber pad for making the conveyor belt closely fit the opening, and the side wall of the conveyor belt is fixedly connected with a push plate that facilitates the movement of dust , the side wall of the filter screen is fixedly connected with a vibration rod for use with the push plate to make the filter screen vibrate, and the second fixed frame between the conveyor belt and the air inlet is fixedly connected with a collection frame for collecting dust .
作为本实用新型再进一步的方案:所述底座下端固定安装有便于超净工作台移动的万向轮。As a further solution of the present invention, the lower end of the base is fixedly installed with a universal wheel that facilitates the movement of the ultra-clean workbench.
作为本实用新型再进一步的方案:所述电机的底座上固定安装有用于对电机进行缓冲减震的减震垫。As a further solution of the present invention, a shock-absorbing pad for buffering and shock-absorbing the motor is fixedly installed on the base of the motor.
作为本实用新型再进一步的方案:所述工作间侧壁上固定连接有用于提高工作间侧壁结构强度的加强筋。As a further solution of the present invention, the side wall of the workshop is fixedly connected with a reinforcing rib for improving the structural strength of the side wall of the workshop.
与现有技术相比,本实用新型的有益效果是:Compared with the prior art, the beneficial effects of the present utility model are:
1、本实用新型设置有过滤机构,利用过滤网、静压箱和高效过滤器对空气进行精细过滤,提高风机吹到工作间内部的空气的洁净度,保证工作间内部加工操作的正常进行。1. The utility model is provided with a filter mechanism, which uses a filter screen, a static pressure box and a high-efficiency filter to finely filter the air, so as to improve the cleanliness of the air blown by the fan into the workroom, and ensure the normal operation of the processing inside the workroom.
2、本实用新型设置有灰尘收集机构,利用推板拨动震动杆,从而使过滤网将灰尘抖落到传送带上,然后通过传送带将灰尘输送到收集框内部,防止过滤网堆积灰尘,提高过滤网对空气的过滤效率。2. The utility model is provided with a dust collection mechanism, which uses the push plate to move the vibrating rod, so that the filter screen shakes the dust onto the conveyor belt, and then the dust is transported to the inside of the collection frame through the conveyor belt to prevent the filter screen from accumulating dust and improve the filtering effect. The air filtration efficiency of the net.
附图说明Description of drawings
图1为本实用新型的三维结构示意图。FIG. 1 is a schematic diagram of the three-dimensional structure of the present invention.
图2为本实用新型的结构示意图。FIG. 2 is a schematic structural diagram of the utility model.
图3为本实用新型图2中A处的放大结构示意图。FIG. 3 is an enlarged schematic view of the structure at A in FIG. 2 of the present invention.
其中:1-工作间、2-风机、3-高效过滤器、4-进风口、5-过滤网、6-传送带、7-传动滚轮、8-震动杆、9-漏孔、10-第一固定框、11-静压箱、12-第二固定框、13-底座、14-推板、15-电机、16-收集框。Among them: 1-workroom, 2-fan, 3-high efficiency filter, 4-air inlet, 5-filter, 6-conveyor belt, 7-transmission roller, 8-vibration rod, 9-leakage, 10-first Fixed frame, 11-static pressure box, 12-second fixed frame, 13-base, 14-push plate, 15-motor, 16-collection frame.
具体实施方式Detailed ways
下面将结合本实用新型实施例中的附图,对本实用新型实施例中的技术方案进行清楚、完整地描述,显然,所描述的实施例仅仅是本实用新型一部分实施例,而不是全部的实施例。基于本实用新型中的实施例,本领域普通技术人员在没有做出创造性劳动前提下所获得的所有其他实施例,都属于本实用新型保护的范围。The technical solutions in the embodiments of the present utility model will be clearly and completely described below with reference to the accompanying drawings in the embodiments of the present utility model. Obviously, the described embodiments are only a part of the embodiments of the present utility model, rather than all the implementations. example. Based on the embodiments of the present invention, all other embodiments obtained by those of ordinary skill in the art without creative work fall within the protection scope of the present invention.
请参阅图1-图3,本实用新型实施例中,一种超净工作台的空气过滤装置,包括工作间1、过滤机构和灰尘收集机构,所述工作间1下端固定连接有用于对工作间1进行支撑的底座13,所述工作间1上端固定连接有第二固定框12,所述第二固定框12下端远离工作间1操作口的一侧安装有用于向工作间1内部吹风的风机2,所述风机2的输入端与第二固定框12内部相互连通,所述第二固定框12上端远离风机2的一侧开设有漏孔9,所述第二固定框12上端固定连接有第一固定框10,所述第一固定框10远离漏孔9的一端开设有进风口4。Please refer to FIG. 1-FIG. 3. In an embodiment of the present invention, an air filter device for an ultra-clean workbench includes a
所述过滤机构设置在第一固定框10和静压箱11内部,用于对空气进行过滤。The filtering mechanism is arranged inside the
所述灰尘收集机构设置在第一固定框10内部,用于对过滤后的灰尘进行收集,提高空气过滤效率。The dust collecting mechanism is arranged inside the
所述过滤机构包括若干个过滤网5,所述过滤网5竖直固定连接在漏孔9与进风口4之间的第一固定框10内壁上,所述漏孔9与风机2之间的第二固定框12内壁上固定安装有静压箱11,所述静压箱11与风机2之间的第二固定框12内壁上安装有高效过滤器3。The filter mechanism includes
所述过滤机构的作用是利用过滤网5、静压箱11和高效过滤器3对空气进行精细过滤,提高风机2吹到工作间1内部的空气的洁净度,保证工作间1内部加工操作的正常进行,便于使用者使用。The function of the filter mechanism is to use the
所述灰尘收集机构包括若干个传动滚轮7,所述传动滚轮7水平转动连接在过滤网5之间的第一固定框10内壁上,所述传动滚轮7其中一端穿过第一固定框10侧壁固定安装有用于带动传动滚轮7转动的电机15,所述电机15固定安装在第一固定框10侧壁上,所述传动滚轮7侧壁上套有用于将灰尘输送出第一固定框10的传送带6,所述过滤网5上开设有便于传送带6穿过的开口,所述开口侧壁上固定连接有用于使传送带6与开口紧密贴合的橡胶垫,所述传送带6侧壁上固定连接有便于推动灰尘移动的推板14,所述过滤网5侧壁上固定连接有用于与推板14配合使用使过滤网5震动的震动杆8,所述传送带6与进风口4之间的第二固定框12上固定连接有用于对灰尘进行收集的收集框16。The dust collection mechanism includes a plurality of
所述灰尘收集机构的作用是利用推板14拨动震动杆8,从而使过滤网5将灰尘抖落到传送带6上,然后通过传送带6将灰尘输送到收集框16内部,防止过滤网5堆积灰尘,提高过滤网5对空气的过滤效率,便于使用者使用。The function of the dust collection mechanism is to use the
本实用新型的工作原理是:The working principle of the utility model is:
使用时,启动风机2,在负压的作用下,空气通过进风口4进入到过滤网5上,过滤网5对空气进行初级过滤,空气通过过滤网5后,进入到静压箱11上,静压箱11将空气输送到高效过滤器3上进行精细过滤,然后风机2将洁净的空气输送到工作间1内部。When in use, start the
同时利用电机15,电机15带动传动滚轮7转动,传动滚轮7带动传送带6转动,传送带6带动推板14拨动震动杆8,震动杆8带动过滤网5震动,过滤网5将灰尘抖落到传送带6上,传送带6将灰尘输送到收集框16上。At the same time, the
对于本领域技术人员而言,显然本实用新型不限于上述示范性实施例的细节,而且在不背离本实用新型的精神或基本特征的情况下,能够以其他的具体形式实现本实用新型。It will be apparent to those skilled in the art that the present invention is not limited to the details of the above-described exemplary embodiments, and that the present invention may be implemented in other specific forms without departing from the spirit or essential characteristics of the present invention.
Claims (6)
Priority Applications (1)
| Application Number | Priority Date | Filing Date | Title |
|---|---|---|---|
| CN202122658378.9U CN216259694U (en) | 2021-11-02 | 2021-11-02 | An air filter device for an ultra-clean workbench |
Applications Claiming Priority (1)
| Application Number | Priority Date | Filing Date | Title |
|---|---|---|---|
| CN202122658378.9U CN216259694U (en) | 2021-11-02 | 2021-11-02 | An air filter device for an ultra-clean workbench |
Publications (1)
| Publication Number | Publication Date |
|---|---|
| CN216259694U true CN216259694U (en) | 2022-04-12 |
Family
ID=81003297
Family Applications (1)
| Application Number | Title | Priority Date | Filing Date |
|---|---|---|---|
| CN202122658378.9U Expired - Fee Related CN216259694U (en) | 2021-11-02 | 2021-11-02 | An air filter device for an ultra-clean workbench |
Country Status (1)
| Country | Link |
|---|---|
| CN (1) | CN216259694U (en) |
Cited By (1)
| Publication number | Priority date | Publication date | Assignee | Title |
|---|---|---|---|---|
| CN114985022A (en) * | 2022-04-28 | 2022-09-02 | 机械工业仪器仪表综合技术经济研究所 | Environment comprehensive test system with multiple environment parameters |
-
2021
- 2021-11-02 CN CN202122658378.9U patent/CN216259694U/en not_active Expired - Fee Related
Cited By (2)
| Publication number | Priority date | Publication date | Assignee | Title |
|---|---|---|---|---|
| CN114985022A (en) * | 2022-04-28 | 2022-09-02 | 机械工业仪器仪表综合技术经济研究所 | Environment comprehensive test system with multiple environment parameters |
| CN114985022B (en) * | 2022-04-28 | 2023-07-21 | 机械工业仪器仪表综合技术经济研究所 | Environment comprehensive test system with multiple environment parameters |
Similar Documents
| Publication | Publication Date | Title |
|---|---|---|
| CN204320663U (en) | A kind of rice induced-draught fan | |
| CN203725433U (en) | Blowing-suction cleaning device for glass production line | |
| CN216259694U (en) | An air filter device for an ultra-clean workbench | |
| CN207820296U (en) | A kind of static electricity removal equipment for semiconductor | |
| CN104259141B (en) | A kind of high efficient horizontal clothing vacuum board for thread end sucking machine | |
| CN215762474U (en) | Centrifugal air compressor with air inlet filtering function | |
| CN220860904U (en) | Cloth bag dust remover convenient to clearance sack | |
| CN208373601U (en) | A kind of drawing-in device of apparatus of selecting rice color | |
| CN217298102U (en) | A clean edulcoration equipment for eiderdown production | |
| CN218591335U (en) | A dust collector for printed circuit board | |
| CN218188618U (en) | Industrial dust removal system | |
| CN216157062U (en) | Dustproof isolating device of building interior decoration construction | |
| CN215328940U (en) | Clothing production dust extraction | |
| CN211637576U (en) | A circuit board dust removal device | |
| CN212238439U (en) | A factory-use electrical automation dust removal equipment | |
| CN208178015U (en) | A kind of cleaning plant of microorganism superclean bench | |
| CN221934542U (en) | A clean and efficient hot diamond bead screening device | |
| CN222177212U (en) | Polishing equipment with dust removal function | |
| CN217570090U (en) | Weaving is with weaving quick-witted weaving dirt collection device | |
| CN218502120U (en) | A biological purification workbench adopting horizontal unidirectional flow air supply mode | |
| CN217291771U (en) | Automatic grinding device | |
| CN216726248U (en) | Back-blowing ash removal device for filter bag dust collector | |
| CN216677436U (en) | Waste gas collecting device for industrial production | |
| CN222290463U (en) | A dust waste gas treatment device for a furniture factory | |
| CN217833141U (en) | Compaction grinding device of five metals board |
Legal Events
| Date | Code | Title | Description |
|---|---|---|---|
| GR01 | Patent grant | ||
| GR01 | Patent grant | ||
| CF01 | Termination of patent right due to non-payment of annual fee |
Granted publication date: 20220412 |
|
| CF01 | Termination of patent right due to non-payment of annual fee |
