CN216258395U - Nursing apparatus degassing unit - Google Patents

Nursing apparatus degassing unit Download PDF

Info

Publication number
CN216258395U
CN216258395U CN202122957021.0U CN202122957021U CN216258395U CN 216258395 U CN216258395 U CN 216258395U CN 202122957021 U CN202122957021 U CN 202122957021U CN 216258395 U CN216258395 U CN 216258395U
Authority
CN
China
Prior art keywords
plate
box
limiting
disinfection
motor
Prior art date
Legal status (The legal status is an assumption and is not a legal conclusion. Google has not performed a legal analysis and makes no representation as to the accuracy of the status listed.)
Expired - Fee Related
Application number
CN202122957021.0U
Other languages
Chinese (zh)
Inventor
赵侠
张倩
Current Assignee (The listed assignees may be inaccurate. Google has not performed a legal analysis and makes no representation or warranty as to the accuracy of the list.)
Jiangbei Hospital Of Ningjiang Jilin Oilfield
Original Assignee
Jiangbei Hospital Of Ningjiang Jilin Oilfield
Priority date (The priority date is an assumption and is not a legal conclusion. Google has not performed a legal analysis and makes no representation as to the accuracy of the date listed.)
Filing date
Publication date
Application filed by Jiangbei Hospital Of Ningjiang Jilin Oilfield filed Critical Jiangbei Hospital Of Ningjiang Jilin Oilfield
Priority to CN202122957021.0U priority Critical patent/CN216258395U/en
Application granted granted Critical
Publication of CN216258395U publication Critical patent/CN216258395U/en
Expired - Fee Related legal-status Critical Current
Anticipated expiration legal-status Critical

Links

Images

Landscapes

  • Apparatus For Disinfection Or Sterilisation (AREA)

Abstract

本实用新型涉及医疗领域,尤其是一种护理器械消毒装置,包括消毒箱、电机、隔板、箱盖、放置箱、两个限位板、限位块和支撑板;消毒箱上设有进水管和出水管;箱盖可拆卸安装在消毒箱上;隔板安装在消毒箱内,隔板将消毒箱的内部分为上消毒仓和下密封仓;电机安装在下密封仓内,电机的输出轴穿过隔板并伸入上消毒仓内;支撑板位于上消毒仓内,支撑板连接电机的输出轴;限位块安装在支撑板上;两个限位板均连接支撑板,两个限位板位于限位块的两侧;放置箱上设有凹槽、两个限位槽和多个通孔;两个限位板配合插入两个限位槽内;限位块配合卡入凹槽内。本实用新型结构简单且便于对消毒篮进行限位和拿取。

Figure 202122957021

The utility model relates to the medical field, in particular to a sterilizing device for nursing equipment, which comprises a sterilizing box, a motor, a partition, a box cover, a placing box, two limit plates, a limit block and a support plate; Water pipe and water outlet pipe; the box cover is detachably installed on the disinfection box; the partition is installed in the disinfection box, and the partition divides the interior of the disinfection box into an upper disinfection chamber and a lower sealing chamber; the motor is installed in the lower sealing chamber, and the output of the motor The shaft passes through the partition plate and extends into the upper sterilization chamber; the support plate is located in the upper sterilization chamber, and the support plate is connected to the output shaft of the motor; the limit block is installed on the support plate; the two limit plates are connected to the support plate, and the two The limit plates are located on both sides of the limit block; the placing box is provided with a groove, two limit slots and a plurality of through holes; the two limit plates are inserted into the two limit slots; in the groove. The utility model has a simple structure and is convenient to limit and take the sterilizing basket.

Figure 202122957021

Description

Nursing apparatus degassing unit
Technical Field
The utility model relates to the field of medical treatment, in particular to a nursing instrument disinfection device.
Background
Disinfection refers to a method of killing pathogenic microorganisms, but not necessarily bacterial spores. Disinfection is usually achieved chemically. The chemicals used for disinfection are called disinfectants. Sterilization refers to a method for killing all microorganisms (including bacterial spores) on an object, and usually adopts a physical method to achieve the purpose of sterilization; the existing nursing apparatus needs to be disinfected after being used, but the existing disinfection device only can be soaked, so that the ideal disinfection effect is far from being achieved, and meanwhile, the apparatus needs to be stored and taken one by one, so that the nursing apparatus is inconvenient.
Chinese patent with the publication number of CN214286022U discloses a nursing instrument disinfection device, which comprises a bottom plate, wherein a disinfection box is fixedly arranged at the top of the bottom plate, a disinfection cavity is arranged in the disinfection box, a motor is fixedly arranged at the bottom of the disinfection box, a rotating shaft is fixedly connected at the output end of the motor, one end of the rotating shaft penetrating through the disinfection box is sequentially and fixedly connected with four connecting rods, one side of the tops of the four connecting rods is fixedly connected with a limiting block, a disinfection basket is arranged at the tops of the four connecting rods, four limiting grooves are sequentially arranged at the bottom of the disinfection basket, the interiors of the four limiting grooves are respectively clamped and connected with the tops of the four limiting blocks, a fixed rod is fixedly connected at the bottom in the disinfection basket, a sliding groove is arranged in the middle of the fixed rod, a movable rod is slidably connected in the sliding groove, and a round block is fixedly connected at the top of the movable rod, the bottom of the movable rod is in threaded connection with the inside of a threaded groove formed in the top of the rotating shaft, and a handle is fixedly arranged on the top of the disinfection basket; not only can promote the disinfection effect, also be convenient for deposit and take the apparatus simultaneously more.
But above-mentioned device need rotate the round piece when using for the disinfection basket take not convenient, and unstable through stopper and connecting rod to the support of disinfection basket, the practicality of device is poor.
SUMMERY OF THE UTILITY MODEL
The utility model aims to solve the problems in the background art and provides a nursing instrument disinfection device which is simple in structure and convenient for limiting and taking a disinfection basket.
The technical scheme of the utility model is as follows: a nursing instrument disinfection device comprises a disinfection box, a motor, a partition plate, a box cover, a placing box, two limiting plates, limiting blocks and a supporting plate;
the disinfection box is provided with a water inlet pipe and a water outlet pipe; the box cover is detachably arranged on the disinfection box;
the partition board is arranged in the disinfection box and divides the inside of the disinfection box into an upper disinfection bin and a lower sealing bin; the motor is arranged in the lower sealed cabin, and an output shaft of the motor penetrates through the partition plate and extends into the upper disinfection cabin; the support plate is positioned in the upper disinfection bin and is connected with an output shaft of the motor; the limiting block is arranged on the supporting plate; the two limiting plates are connected with the supporting plate and are positioned on two sides of the limiting block;
the placing box is provided with a groove, two limiting grooves and a plurality of through holes; the two limiting plates are inserted into the two limiting grooves in a matching manner; the limiting block is clamped in the groove in a matching way.
Preferably, the device also comprises a water pump and a medicament box; the medicament box is positioned at one side of the sterilizing box; the water pump is installed in the chemical tank, and the water outlet end of the water pump is connected with the water inlet pipe.
Preferably, the medicament box is provided with a transparent window.
Preferably, the device further comprises an annular plate; the clapboard is provided with a chute; the annular plate is connected with the supporting plate and is in sliding connection with the inner wall of the sliding groove.
Preferably, each limiting plate comprises a first limiting plate and a second limiting plate; the first limiting plate is connected with the supporting plate and connected with the second limiting plate, and the projection shape of the first limiting plate is trapezoidal.
Preferably, the first limiting plate and the second limiting plate are of an integrally formed structure.
Preferably, the device further comprises a bearing; the bearing is installed on the output shaft of motor, and the output shaft of motor passes through the bearing and rotates the connection baffle.
Preferably, a first handle is arranged on the box cover; the placing box is provided with a second handle.
Compared with the prior art, the utility model has the following beneficial technical effects:
in the embodiment, when the device is used, a user puts the device into the placing box, then puts the placing box into the sterilizing box, so that the first limiting plate and the second limiting plate are inserted into the limiting grooves in a matched mode, the limiting blocks are clamped into the grooves in a matched mode, and the placing box is limited by the first limiting plate, the second limiting plate and the limiting blocks; the motor is started to drive the supporting plate and the annular plate to rotate, the annular plate is connected with the inner wall of the sliding groove in a sliding mode, and the placing box rotates along with the supporting plate; then, the disinfectant is input into the disinfection box through the water inlet pipe, and the disinfectant is fully contacted with the instruments and disinfects the instruments, so that the disinfection effect of the device is improved; through placing the medicament of modulation in the medicament case in advance, the person of being convenient for adds the medicament to the disinfect box at any time, has improved the practicality of device.
Drawings
FIG. 1 is a schematic structural diagram of the present invention.
Fig. 2 is a partially enlarged schematic view of a portion a in fig. 1.
Fig. 3 is a schematic structural diagram of the limiting plate of the utility model.
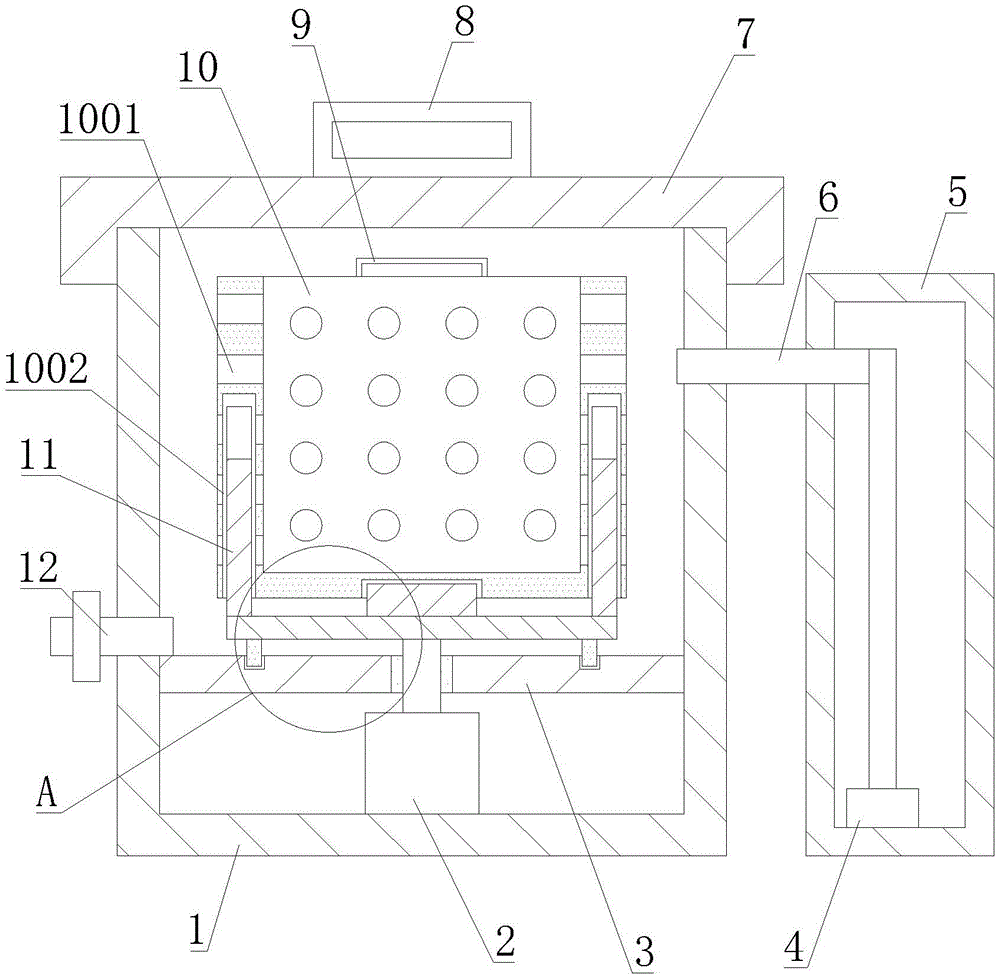
Reference numerals: 1. a sterilizing box; 2. a motor; 3. a partition plate; 301. a chute; 4. a water pump; 5. a kit; 6. a water inlet pipe; 7. a box cover; 8. a first handle; 9. a second handle; 10. placing a box; 1001. a through hole; 1002. a limiting groove; 1003. a groove; 11. a limiting plate; 111. a first limit plate; 112. a second limiting plate; 12. a water outlet pipe; 13. a limiting block; 14. an annular plate; 15. a bearing; 16. and a support plate.
Detailed Description
Example one
As shown in fig. 1-3, the nursing apparatus disinfection device provided by the utility model comprises a disinfection box 1, a motor 2, a partition plate 3, a box cover 7, a placing box 10, two limiting plates 11, a limiting block 13, an annular plate 14 and a supporting plate 16;
the disinfection box 1 is provided with a water inlet pipe 6 and a water outlet pipe 12; the box cover 7 is detachably arranged on the disinfection box 1, and a first handle 8 is arranged on the box cover 7; a valve is arranged on the water outlet pipe 12;
the partition plate 3 is arranged in the disinfection box 1, the partition plate 3 divides the inner part of the disinfection box 1 into an upper disinfection cabin and a lower sealing cabin, and the partition plate 3 is provided with a chute 301; the motor 2 is arranged in the lower sealed bin, an output shaft of the motor 2 penetrates through the partition plate 3 and extends into the upper disinfection bin, and an output shaft of the motor 2 is rotatably connected with the partition plate 3 through a bearing 15; the support plate 16 is positioned in the upper disinfection bin, and the support plate 16 is connected with the output shaft of the motor 2; the annular plate 14 is connected with the support plate 16, and the annular plate 14 is slidably connected with the inner wall of the sliding chute 301; the movement of the support plate 16 is made more stable by the sliding connection of the annular plate 14 with the chute 301; the limiting block 13 is arranged on the supporting plate 16; the two limiting plates 11 are connected with the supporting plate 16, the two limiting plates 11 are positioned at two sides of the limiting block 13, and each limiting plate 11 comprises a first limiting plate 111 and a second limiting plate 112; the first limiting plate 111 is connected with the supporting plate 16, the first limiting plate 111 is connected with the second limiting plate 112, and the projection shape of the first limiting plate 111 is trapezoidal; the areas of the first limiting plate 111 and the second limiting plate 112 are larger, so that the contact area between the first limiting plate 111 and the placing box 10 is larger, the contact area between the first limiting plate 111 and the supporting plate 16 is larger, and the connection between the first limiting plate 111 and the supporting plate 16 is firmer; first limiting plate 111 and second limiting plate 112 are integrated into one piece structure, and the connection between integrated into one piece's first limiting plate 111 and second limiting plate 112 is more firm, is favorable to prolonging first limiting plate 111 and second limiting plate 112's life.
The placing box 10 is provided with a groove 1003, two limiting grooves 1002 and a plurality of through holes 1001, and the placing box 10 is provided with a second handle 9; the two limit plates 11 are inserted into the two limit grooves 1002 in a matching manner; stopper 13 cooperation card is gone into in recess 1003, and the value of height of stopper 13 is greater than the degree of depth of recess 1003 for place and leave the clearance between case 10 and the backup pad 16, so that disinfectant gets into through the clearance and places the case 10 in, fully disinfect to the apparatus of placing in the case 10.
In this embodiment, when the disinfection box is used, a user puts the instruments into the placing box 10, and then puts the placing box 10 into the disinfection box 1, so that the first limiting plate 111 and the second limiting plate 112 are inserted into the limiting groove 1002 in a matching manner, the limiting block 13 is clamped into the groove 1003 in a matching manner, and the placing box 10 is limited by the first limiting plate 111, the second limiting plate 112 and the limiting block 13; the motor 2 is started to drive the support plate 16 and the annular plate 14 to rotate, the annular plate 14 is connected with the inner wall of the chute 301 in a sliding manner, and the placing box 10 rotates along with the support plate 16; then, the disinfectant is input into the disinfection box 1 through the water inlet pipe 6, and the disinfectant is fully contacted with the instruments and disinfects the instruments, so that the disinfection effect of the device is improved.
Example two
As shown in fig. 1, compared with the first embodiment, the nursing apparatus disinfecting device provided by the present invention further includes a water pump 4 and a chemical tank 5; the chemical box 5 is positioned on one side of the sterilizing box 1, and a transparent window is arranged on the chemical box 5, so that the residual amount of the chemicals in the chemical box 5 can be observed conveniently, and a user can add the chemicals conveniently in time; the water pump 4 is arranged in the chemical box 5, and the water outlet end of the water pump 4 is connected with the water inlet pipe 6.
In this embodiment, when in use, the prepared medicament is placed in the medicament box 5 in advance, so that a user can add the medicament into the sterilizing box 1 at any time, and the practicability of the device is improved.
The embodiments of the present invention have been described in detail with reference to the drawings, but the present invention is not limited thereto, and various changes can be made within the knowledge of those skilled in the art without departing from the gist of the present invention.

Claims (8)

1. A nursing apparatus disinfection device is characterized by comprising a disinfection box (1), a motor (2), a partition plate (3), a box cover (7), a placing box (10), two limiting plates (11), limiting blocks (13) and a supporting plate (16);
a water inlet pipe (6) and a water outlet pipe (12) are arranged on the disinfection box (1); the box cover (7) is detachably arranged on the disinfection box (1);
the partition board (3) is arranged in the disinfection box (1), and the partition board (3) divides the inner part of the disinfection box (1) into an upper disinfection bin and a lower sealing bin; the motor (2) is arranged in the lower sealed bin, and an output shaft of the motor (2) penetrates through the partition plate (3) and extends into the upper disinfection bin; the support plate (16) is positioned in the upper disinfection bin, and the support plate (16) is connected with an output shaft of the motor (2); the limiting block (13) is arranged on the supporting plate (16); the two limiting plates (11) are connected with the supporting plate (16), and the two limiting plates (11) are positioned on two sides of the limiting block (13);
a groove (1003), two limiting grooves (1002) and a plurality of through holes (1001) are formed in the placing box (10); the two limit plates (11) are inserted into the two limit grooves (1002) in a matching way; the limiting block (13) is matched and clamped in the groove (1003).
2. A disinfecting device for nursing instruments according to claim 1, characterized in that it also comprises a water pump (4) and a chemical tank (5); the medicament box (5) is positioned at one side of the sterilizing box (1); the water pump (4) is arranged in the chemical box (5), and the water outlet end of the water pump (4) is connected with the water inlet pipe (6).
3. A disinfecting device as claimed in claim 2, characterized in that the medicament container (5) is provided with a transparent window.
4. A disinfecting device as claimed in claim 1, characterized in that it further comprises an annular plate (14); a chute (301) is arranged on the clapboard (3); the annular plate (14) is connected with the support plate (16), and the annular plate (14) is connected with the inner wall of the sliding chute (301) in a sliding manner.
5. A disinfecting device for nursing instruments according to claim 1, characterized in that each limiting plate (11) comprises a first limiting plate (111) and a second limiting plate (112); the first limiting plate (111) is connected with the supporting plate (16), the first limiting plate (111) is connected with the second limiting plate (112), and the projection shape of the first limiting plate (111) is trapezoidal.
6. A disinfecting device as claimed in claim 5, characterized in that the first limiting plate (111) and the second limiting plate (112) are of an integrally formed structure.
7. A disinfecting device as claimed in claim 1, characterized in that it also comprises a bearing (15); the bearing (15) is arranged on the output shaft of the motor (2), and the output shaft of the motor (2) is rotatably connected with the partition plate (3) through the bearing (15).
8. A disinfecting device as claimed in claim 1, characterized in that a first handle (8) is provided on the cover (7); the placing box (10) is provided with a second handle (9).
CN202122957021.0U 2021-11-29 2021-11-29 Nursing apparatus degassing unit Expired - Fee Related CN216258395U (en)

Priority Applications (1)

Application Number Priority Date Filing Date Title
CN202122957021.0U CN216258395U (en) 2021-11-29 2021-11-29 Nursing apparatus degassing unit

Applications Claiming Priority (1)

Application Number Priority Date Filing Date Title
CN202122957021.0U CN216258395U (en) 2021-11-29 2021-11-29 Nursing apparatus degassing unit

Publications (1)

Publication Number Publication Date
CN216258395U true CN216258395U (en) 2022-04-12

Family

ID=81038628

Family Applications (1)

Application Number Title Priority Date Filing Date
CN202122957021.0U Expired - Fee Related CN216258395U (en) 2021-11-29 2021-11-29 Nursing apparatus degassing unit

Country Status (1)

Country Link
CN (1) CN216258395U (en)

Similar Documents

Publication Publication Date Title
CN205569365U (en) Laboratory cleaning and disinfection device
CN107693814A (en) A kind of medical operating theater instruments Quick disinfecting device
CN216258395U (en) Nursing apparatus degassing unit
CN211675507U (en) ICU nursing disinfection device
CN210250659U (en) Medical treatment is utensil degassing unit for surgery
CN214762393U (en) Reproductive medicine laboratory is with degassing unit
CN213047376U (en) Operating room hand washing device
CN212438864U (en) Medical tray
CN214555761U (en) Instrument degassing unit is used in surgical nursing
CN214181239U (en) Traditional chinese medical science is acupuncture and moxibustion with needle utensil degassing unit
CN211561209U (en) Medical special surgical knife disinfection device
CN213311968U (en) Degassing unit is used in emergency nursing
CN216456150U (en) A kind of disinfection device for medical nursing equipment
CN214859451U (en) Sterilizing device for oral cavity diagnosis and treatment instrument
CN214391395U (en) A kind of disinfection device for medical care appliances
CN111451227A (en) Novel scope disinfection nursing case
CN212650919U (en) Tray for medical treatment
CN219155179U (en) Sterilized cotton ball cup
CN214910922U (en) High-efficient degassing unit of operation cutter for gynaecology and obstetrics
CN211884658U (en) Disinfection and sterilization box for nursing
CN219558151U (en) A quick degassing unit for food detector
CN213191432U (en) A model disinfection device for stomatology
CN223248539U (en) Circulation liquid taking surgical disinfection device
CN213852215U (en) A special storage and disinfection device for neurology tools
CN214806797U (en) Traditional chinese medical science is storage device for orthopedics acupuncture

Legal Events

Date Code Title Description
GR01 Patent grant
GR01 Patent grant
CF01 Termination of patent right due to non-payment of annual fee

Granted publication date: 20220412

CF01 Termination of patent right due to non-payment of annual fee