CN216234226U - Low energy consumption automatic deodorizing litter box cover - Google Patents
Low energy consumption automatic deodorizing litter box cover Download PDFInfo
- Publication number
- CN216234226U CN216234226U CN202122870855.8U CN202122870855U CN216234226U CN 216234226 U CN216234226 U CN 216234226U CN 202122870855 U CN202122870855 U CN 202122870855U CN 216234226 U CN216234226 U CN 216234226U
- Authority
- CN
- China
- Prior art keywords
- pipe
- energy consumption
- rectangular frame
- section
- low energy
- Prior art date
- Legal status (The legal status is an assumption and is not a legal conclusion. Google has not performed a legal analysis and makes no representation as to the accuracy of the status listed.)
- Active
Links
- 238000005265 energy consumption Methods 0.000 title claims abstract description 16
- 230000001877 deodorizing effect Effects 0.000 title claims abstract description 14
- XLYOFNOQVPJJNP-UHFFFAOYSA-N water Substances O XLYOFNOQVPJJNP-UHFFFAOYSA-N 0.000 claims abstract description 79
- 238000005406 washing Methods 0.000 claims abstract description 27
- 239000010865 sewage Substances 0.000 claims abstract description 25
- 239000003463 adsorbent Substances 0.000 claims description 31
- 238000012856 packing Methods 0.000 claims description 19
- 238000001179 sorption measurement Methods 0.000 claims description 14
- 230000005540 biological transmission Effects 0.000 claims description 8
- 239000000945 filler Substances 0.000 claims description 8
- OKTJSMMVPCPJKN-UHFFFAOYSA-N Carbon Chemical compound [C] OKTJSMMVPCPJKN-UHFFFAOYSA-N 0.000 claims description 6
- 230000005571 horizontal transmission Effects 0.000 claims description 3
- 238000004332 deodorization Methods 0.000 claims description 2
- 238000007789 sealing Methods 0.000 claims description 2
- 238000005201 scrubbing Methods 0.000 abstract description 22
- 239000010813 municipal solid waste Substances 0.000 abstract description 12
- 230000000694 effects Effects 0.000 description 6
- 238000004140 cleaning Methods 0.000 description 4
- 238000010586 diagram Methods 0.000 description 4
- 239000003344 environmental pollutant Substances 0.000 description 3
- 231100000719 pollutant Toxicity 0.000 description 3
- 239000013589 supplement Substances 0.000 description 3
- 230000009471 action Effects 0.000 description 2
- 239000000428 dust Substances 0.000 description 2
- 238000010438 heat treatment Methods 0.000 description 2
- 239000000463 material Substances 0.000 description 2
- 230000007246 mechanism Effects 0.000 description 2
- 238000000034 method Methods 0.000 description 2
- 230000004048 modification Effects 0.000 description 2
- 238000012986 modification Methods 0.000 description 2
- 241000894006 Bacteria Species 0.000 description 1
- 230000009286 beneficial effect Effects 0.000 description 1
- 230000006866 deterioration Effects 0.000 description 1
- 230000005611 electricity Effects 0.000 description 1
- 238000005516 engineering process Methods 0.000 description 1
- 230000002708 enhancing effect Effects 0.000 description 1
- 230000005484 gravity Effects 0.000 description 1
- 230000006872 improvement Effects 0.000 description 1
- 239000002184 metal Substances 0.000 description 1
- 238000000746 purification Methods 0.000 description 1
Images
Landscapes
- Treating Waste Gases (AREA)
Abstract
本实用新型公开了一种低能耗自动除臭垃圾箱罩,包括罩体和排空管,所述罩体内设置有吸气罩,所述排空管的底部设置有洗气管段,所述洗气管段的底部通过排风管与吸气罩连通,洗气管段的侧壁设置有加水管,洗气管段的顶部通过溢流管与底部连通,所述洗气管段的底部连接有排污管,排污管上设置有排污阀;所述排空管的上部设置有雨水收集罩,洗气管段上方的排空管上设置有水箱,所述雨水收集罩通过雨水管与水箱连通,所述加水管与水箱连通,且加水管上设置有阀门。本实用新型具有节约市政用水的优点,且可以清洗洗气管段,防止洗气水长时间留在洗气管段中而成为污水。
The utility model discloses a low-energy consumption automatic deodorizing garbage box cover, which comprises a cover body and an emptying pipe. The bottom of the air pipe section is communicated with the suction hood through an air exhaust pipe, the side wall of the air wash pipe section is provided with a water supply pipe, the top of the air wash pipe section is communicated with the bottom through an overflow pipe, and the bottom of the air wash pipe section is connected with a sewage pipe, A blowdown valve is arranged on the blowdown pipe; a rainwater collection cover is arranged on the upper part of the drainpipe, a water tank is arranged on the drainpipe above the air washing pipe section, the rainwater collection cover is communicated with the water tank through the rainwater pipe, and the water supply pipe is connected to the water tank. The water tank is connected, and a valve is arranged on the water supply pipe. The utility model has the advantages of saving municipal water, and can clean the gas scrubbing pipe section, preventing the gas scrubbing water from remaining in the gas scrubbing pipe section for a long time and becoming sewage.
Description
技术领域technical field
本实用新型属于垃圾收集设备领域,尤其是一种低能耗自动除臭垃圾箱罩。The utility model belongs to the field of garbage collection equipment, in particular to a low-energy consumption automatic deodorizing garbage box cover.
背景技术Background technique
申请人于2021年5月28日提交的申请号为202110593918.1的发明专利申请公开了一种低能耗自动除臭垃圾箱罩、垃圾箱及其使用方法,利用热空气向上流动的原理自动吸出垃圾箱中的气体并采用洗气、吸附等方式对气体进行净化。在后续研究中发现,这种垃圾箱罩还存在以下不足:The invention patent application with the application number of 202110593918.1 submitted by the applicant on May 28, 2021 discloses a low-energy consumption automatic deodorizing dustbin cover, a dustbin and a method of using the same, which automatically sucks out the dustbin using the principle of upward flow of hot air The gas in the gas is purified by scrubbing, adsorption, etc. In follow-up research, it was found that this garbage can cover also has the following shortcomings:
1、吸气管段中的水长时间使用,水中也会滋生大量的细菌以及粉尘等污染物,导致洗气效果逐渐变差,虽然可以向吸气管段中加水,但吸气管段中的污水得不到排放,水质会越来越差;1. The water in the suction pipe section is used for a long time, and a large number of bacteria and dust and other pollutants will also breed in the water, resulting in the gradual deterioration of the air washing effect. Although water can be added to the suction pipe section, the sewage in the suction pipe section will Without discharge, the water quality will get worse and worse;
2、向吸气管段中加水时需要消耗较多的市政用水,特别是垃圾桶密集的城市中心区域,用水量很大。2. When adding water to the suction pipe section, it needs to consume a lot of municipal water, especially in the urban center area where the garbage cans are dense, and the water consumption is very large.
实用新型内容Utility model content
本实用新型的目的在于提供一种低能耗自动除臭垃圾箱罩,可以定期清理吸气管段中的洗气水,保持吸气水的清洁,且节省市政用水。The purpose of the utility model is to provide a low-energy-consumption automatic deodorizing dustbin cover, which can regularly clean the air-washing water in the suction pipe section, keep the suction water clean, and save municipal water.
本实用新型的目的是这样实现的:低能耗自动除臭垃圾箱罩,包括罩体和排空管,所述罩体内设置有吸气罩,所述排空管的底部设置有洗气管段,所述洗气管段的底部通过排风管与吸气罩连通,洗气管段的侧壁设置有加水管,洗气管段的顶部通过溢流管与底部连通,The purpose of the utility model is achieved as follows: a low-energy-consumption automatic deodorizing dustbin cover includes a cover body and an emptying pipe, the cover body is provided with a suction cover, and the bottom of the emptying pipe is provided with a gas washing pipe section, The bottom of the air-washing pipe section is communicated with the suction hood through an air exhaust pipe, the side wall of the air-washing pipe section is provided with a water supply pipe, and the top of the air-washing pipe section is communicated with the bottom through an overflow pipe,
所述洗气管段的底部连接有排污管,排污管上设置有排污阀;A sewage discharge pipe is connected to the bottom of the air washing pipe section, and a sewage discharge valve is arranged on the sewage discharge pipe;
所述排空管的上部设置有雨水收集罩,洗气管段上方的排空管上设置有水箱,所述雨水收集罩通过雨水管与水箱连通,所述加水管与水箱连通,且加水管上设置有阀门。The upper part of the emptying pipe is provided with a rainwater collection cover, a water tank is arranged on the emptying pipe above the air washing pipe section, the rainwater collection cover is communicated with the water tank through the rainwater pipe, the water supply pipe is communicated with the water tank, and the water supply pipe is provided with There are valves.
进一步地,所述水箱连接有补水管,所述补水管上设置有补水泵。Further, the water tank is connected with a water supplement pipe, and a supplement water pump is arranged on the water supplement pipe.
进一步地,所述排空管上设置有水平的传动轴,所述传动轴位于排空管外部的一端设置有动力扇叶;排空管内设置有竖直的转轴,所述转轴上设置有吸风扇叶,所述传动轴位于排空管内部的一端通过锥齿轮组与转轴相连。Further, a horizontal transmission shaft is arranged on the emptying pipe, and a power fan blade is arranged at one end of the transmission shaft outside the emptying pipe; a vertical rotating shaft is arranged in the emptying pipe, and a suction shaft is arranged on the rotating shaft. A fan blade, one end of the transmission shaft located inside the exhaust pipe is connected with the rotating shaft through a bevel gear set.
进一步地,所述洗气管段的上方设置有吸附段,所述吸附段内设置有吸附剂填料板。Further, an adsorption section is arranged above the gas scrubbing pipe section, and an adsorbent packing plate is arranged in the adsorption section.
进一步地,所述吸附段包括横断面呈矩形的箱体,所述箱体的内侧壁设置有支撑横梁,所述支撑横梁的侧壁设置有滑槽,所述吸附剂填料板的侧边位于滑槽内并与滑槽滑动配合。Further, the adsorption section includes a box body with a rectangular cross section, the inner side wall of the box body is provided with a support beam, the side wall of the support beam is provided with a chute, and the side of the adsorbent filler plate is located at inside the chute and slidingly fit with the chute.
进一步地,所述吸附剂填料板包括上矩形框架和下矩形框架,所述上矩形框架的内孔中设置有上过滤网,下矩形框架的内孔中设置有下过滤网,所述上矩形框架通过螺栓与下矩形框架相连,且上过滤网与下过滤网之间形成填料空间,所述填料空间中设置有吸附剂。Further, the adsorbent filler plate includes an upper rectangular frame and a lower rectangular frame, an upper filter screen is arranged in the inner hole of the upper rectangular frame, and a lower filter screen is arranged in the inner hole of the lower rectangular frame, and the upper rectangular frame is provided with a lower filter screen. The frame is connected with the lower rectangular frame by bolts, and a filler space is formed between the upper filter screen and the lower filter screen, and an adsorbent is arranged in the filler space.
进一步地,所述吸附剂为活性炭。Further, the adsorbent is activated carbon.
进一步地,所述上矩形框架与下矩形框架之间设置有密封垫。Further, a gasket is arranged between the upper rectangular frame and the lower rectangular frame.
本实用新型的有益效果是:本实用新型通过在现有低能耗自动除臭垃圾箱罩的基础上,一是增加了排污管,可以定期排出洗气管段中被污染的洗气水,并添加清洁的水,从而保证了洗气水的清洁,提高洗气效果;二是增加了雨水收集罩,在下雨天气可以收集雨水并存储在水箱中,洗气管段需要加水时,则将水箱中的水通入洗气管段,需要排放洗气管段中的污水时,也将水箱中的水通入洗气管段,对洗气管段进行清洗。由此可见,本实用新型具有节约市政用水的优点,且可以清洗洗气管段,防止洗气水长时间留在洗气管段中而成为污水。The beneficial effects of the utility model are as follows: the utility model is based on the existing low-energy consumption automatic deodorization garbage box cover, firstly, a sewage pipe is added, which can regularly discharge the polluted gas scrubbing water in the gas scrubbing pipe section, and add clean water, thus ensuring the cleaning of the gas scrubbing water and improving the gas scrubbing effect; the second is to increase the rainwater collection cover, which can collect rainwater and store it in the water tank in rainy weather. The water is passed into the gas washing pipe section, and when the sewage in the gas washing pipe section needs to be discharged, the water in the water tank is also passed into the gas washing pipe section to clean the gas washing pipe section. It can be seen that the utility model has the advantages of saving municipal water, and can clean the gas scrubbing pipe section, preventing the gas scrubbing water from remaining in the gas scrubbing pipe section for a long time and becoming sewage.
附图说明Description of drawings
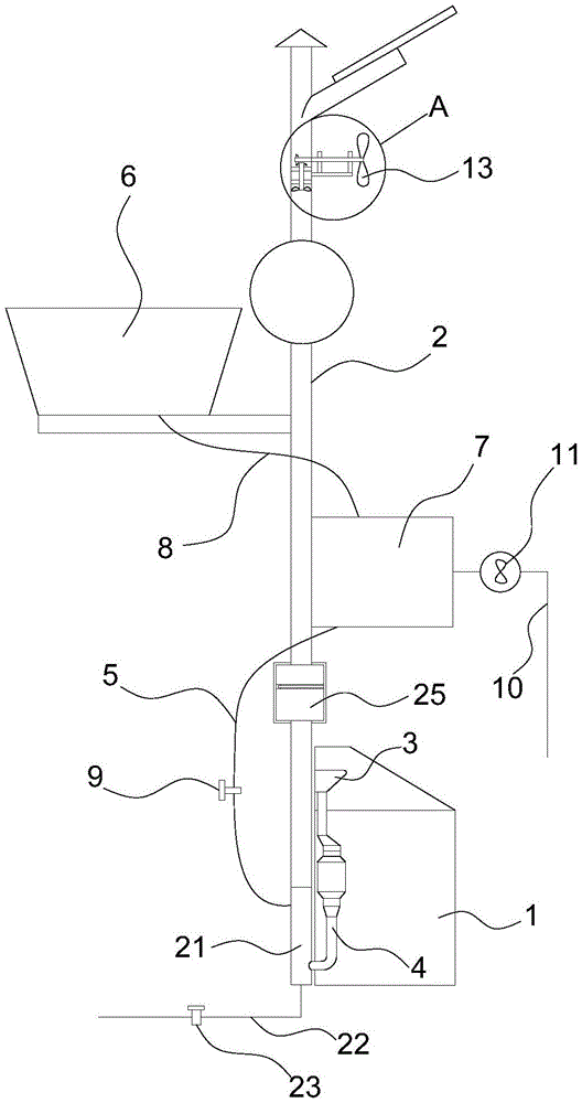
图1是本实用新型的整体示意图;Fig. 1 is the overall schematic diagram of the present utility model;
图2是图1中A部分的放大示意图;Fig. 2 is the enlarged schematic diagram of part A in Fig. 1;
图3是吸附段的示意图;Fig. 3 is the schematic diagram of adsorption section;
图4是吸附剂填料板示意图;Fig. 4 is the schematic diagram of adsorbent packing plate;
附图标记:1—罩体;2—排空管;21—洗气管段;22—排污管;23—排污阀;25—吸附段;26—吸附剂填料板;261—上矩形框架;262—下矩形框架;263—上过滤网;264—下过滤网;265—吸附剂;266—密封垫;27—支撑横梁;3—吸气罩;4—排风管;5—加水管;6—雨水收集罩;7—水箱;8—雨水管;9—阀门;10—补水管;11—补水泵;12—传动轴;13—动力扇叶;14—转轴;15—吸风扇叶。Reference numerals: 1—hood body; 2—evacuating pipe; 21—gas washing pipe section; 22—sewage pipe; 23—sewage valve; 25—adsorption section; 26—adsorbent packing plate; 261—upper rectangular frame; 262 - lower rectangular frame; 263 - upper filter screen; 264 - lower filter screen; 265 - adsorbent; 266 - gasket; 27 - support beam; 3 - suction hood; 4 - exhaust pipe; 5 - water pipe; 6 - Rainwater collection cover; 7 - water tank; 8 - rainwater pipe; 9 - valve; 10 - water supply pipe; 11 - water supply pump; 12 - transmission shaft; 13 - power fan blade; 14 - rotating shaft; 15 - suction fan blade.
具体实施方式Detailed ways
下面结合附图和实施例对本实用新型进一步说明。The present utility model will be further described below in conjunction with the accompanying drawings and embodiments.
如图1所示,本实用新型的低能耗自动除臭垃圾箱罩,包括罩体1和排空管2,罩体1可以通过地埋螺栓等固定在地面上,内部具有容纳垃圾桶的空腔,侧面设置有可开闭的门,顶部开设有可以将垃圾丢入垃圾桶的窗口,具体采用现有技术即可。排空管2的下端封口,通过地埋螺栓等固定在地面上,且位于罩体1旁边。As shown in Figure 1, the low-energy consumption automatic deodorizing garbage box cover of the present invention includes a cover body 1 and an
所述罩体1内设置有吸气罩3,吸气罩3位于罩体1内腔的顶部,用于吸走垃圾桶内的空气,所述排空管2的底部设置有洗气管段21,洗气管段21即用于对气体进行清洗,降低气体中的粉尘、可溶性污染物的含量,起到净化气体的作用。所述洗气管段21的底部通过排风管4与吸气罩3连通。吸气罩3吸收的气体可以通过排风管4流动至洗气管段21,经过洗气管段21清洗后再向上流动。为了促进垃圾桶内的气体自动进入罩体1,可以在排空管2上设置加热机构,其具体结构与工作原理参照现有技术即可。The cover body 1 is provided with a
为了便于向洗气管段21添加洗气水,洗气管段21的侧壁设置有加水管5,为了使洗气管段21始终处于特定的高度。为了节省市政用水,所述排空管2的上部设置有雨水收集罩6,雨水收集罩6呈圆台形或者棱台形,可以采用塑料材质,也可以由金属薄板拼焊而成,雨水收集罩6的大端开口且朝上设置,下雨时,雨水落入雨水收集罩6,即可对雨水进行收集。洗气管段21上方的排空管2上设置有水箱7,所述雨水收集罩6通过雨水管8与水箱7连通,水箱7用于存储雨水,雨水收集罩6收集到的雨水通过雨水管8通入水箱7,当降雨量较大时,可以充分收集雨水,将水箱7装满,同时雨水收集罩6自身也具有存储雨水的作用。所述加水管5与水箱7连通,且加水管5上设置有阀门9,需要向洗气管段21补水时,开启阀门9,水箱7中的水在重力作用下自动通过加水管5流入洗气管段21。In order to facilitate adding scrubbing water to the gas
为了定期排出洗气管段21中的水,防止污染物不断聚集而成为高浓度污水,在洗气管段21的底部连接有排污管22,排污管22上设置有排污阀23,可以将排污管22与附近的城市污水排放管路相连,排污时,打开排污阀23,洗气管段21中的污水即通过排污管22排放,排污后可以打开,加水管5上的阀门9,利用水箱7中的水对洗气管段21进行清洗,清洗后再关闭排污阀23并在洗气管段21中重新蓄水。In order to regularly discharge the water in the gas
所述水箱7连接有补水管10,所述补水管10上设置有补水泵11,补水管10与附近的市政用水管道相连接。当降雨量不足时,收集到的雨水不能满足使用要求,此时可启动补水泵11,将市政用水管道中的水抽入水箱7,保证洗气水的供应。The
为了提高排空管2内的负压,进一步地促使垃圾箱中的气体进入排空管2,如图2所示,本实用新型在排空管2上设置有水平的传动轴12,所述传动轴12位于排空管2外部的一端设置有动力扇叶13;排空管2内设置有竖直的转轴14,所述转轴14上设置有吸风扇叶15,所述传动轴12位于排空管2内部的一端通过锥齿轮组与转轴14相连。动力扇叶13可以在外界风力的作用下转动,动力扇叶13则通过传动轴12、锥齿轮组与转轴14带动吸风扇叶15转动,吸风扇叶15转动时驱动排空管2内的气体向排空管2外流动,从而提高排空管2内的负压,增强吸气效果。采用外界的风能作为动力,不额外消耗电能,具有节能的效果。In order to increase the negative pressure in the emptying
为了提高对气体的净化效果,所述洗气管段21的上方设置有吸附段25,所述吸附段25内设置有吸附剂填料板26。吸附剂填料板26用于承载吸附剂265,吸附剂265可以是活性炭等吸附材料。In order to improve the gas purification effect, an
现有吸附管段呈圆筒形,与排空管2的形状相似,在更换吸附剂265时操作非常不方便,因此,本实用新型的吸附段25包括横断面呈矩形的箱体,如图3所示,所述箱体的内侧壁设置有支撑横梁27,具体地,箱体一个侧壁设置有可开闭的门,另外三个侧壁设置水平的支撑横梁27,所述支撑横梁27的侧壁设置有滑槽,吸附剂填料板26呈矩形,所述吸附剂填料板26的侧边位于滑槽内并与滑槽滑动配合。需要更换吸附剂填料板26时,打开箱体的门,抽出吸附剂填料板26,再将新的吸附剂填料板26对准滑槽并推入滑槽即可,操作很方便。The existing adsorption pipe section is cylindrical, similar in shape to the emptying
为了便于重复利用吸附剂填料板26的机械构件,如图4所示,所述吸附剂填料板26包括上矩形框架261和下矩形框架262,所述上矩形框架261的内孔中设置有上过滤网263,下矩形框架262的内孔中设置有下过滤网264,所述上矩形框架261通过螺栓与下矩形框架262相连,且上过滤网263与下过滤网264之间形成填料空间,所述填料空间中设置有吸附剂265。将旧的吸附剂填料板26从吸附段25中拆下后,可以拆下连接上矩形框架261和下矩形框架262的螺栓,将上矩形框架261和下矩形框架262分开,即可清理掉旧的吸附剂265,并且重新放入新的吸附剂265,再将上矩形框架261和下矩形框架262重新通过螺栓连接好并再次使用。In order to facilitate the reuse of the mechanical components of the
所述上矩形框架261与下矩形框架262之间设置有密封垫266,密封垫266可以是橡胶垫等,起到增强密封效果的作用,防止吸附剂265泄漏。A
以上所述仅为本实用新型的优选实施例而已,并不用于限制本实用新型,对于本领域的技术人员来说,本实用新型可以有各种更改和变化。凡在本实用新型的精神和原则之内,所作的任何修改、等同替换、改进等,均应包含在本实用新型的保护范围之内。The above descriptions are only preferred embodiments of the present invention, and are not intended to limit the present invention. For those skilled in the art, the present invention may have various modifications and changes. Any modification, equivalent replacement, improvement, etc. made within the spirit and principle of the present invention shall be included in the protection scope of the present invention.
Claims (8)
Priority Applications (1)
| Application Number | Priority Date | Filing Date | Title |
|---|---|---|---|
| CN202122870855.8U CN216234226U (en) | 2021-11-22 | 2021-11-22 | Low energy consumption automatic deodorizing litter box cover |
Applications Claiming Priority (1)
| Application Number | Priority Date | Filing Date | Title |
|---|---|---|---|
| CN202122870855.8U CN216234226U (en) | 2021-11-22 | 2021-11-22 | Low energy consumption automatic deodorizing litter box cover |
Publications (1)
| Publication Number | Publication Date |
|---|---|
| CN216234226U true CN216234226U (en) | 2022-04-08 |
Family
ID=80954542
Family Applications (1)
| Application Number | Title | Priority Date | Filing Date |
|---|---|---|---|
| CN202122870855.8U Active CN216234226U (en) | 2021-11-22 | 2021-11-22 | Low energy consumption automatic deodorizing litter box cover |
Country Status (1)
| Country | Link |
|---|---|
| CN (1) | CN216234226U (en) |
Cited By (1)
| Publication number | Priority date | Publication date | Assignee | Title |
|---|---|---|---|---|
| CN115743985A (en) * | 2022-11-14 | 2023-03-07 | 安徽国祯环卫科技有限公司 | Assembled waste classification pavilion |
-
2021
- 2021-11-22 CN CN202122870855.8U patent/CN216234226U/en active Active
Cited By (2)
| Publication number | Priority date | Publication date | Assignee | Title |
|---|---|---|---|---|
| CN115743985A (en) * | 2022-11-14 | 2023-03-07 | 安徽国祯环卫科技有限公司 | Assembled waste classification pavilion |
| CN115743985B (en) * | 2022-11-14 | 2024-12-03 | 西藏春禾环保科技有限公司 | Assembled garbage classification pavilion |
Similar Documents
| Publication | Publication Date | Title |
|---|---|---|
| CN108625451B (en) | A rainwater infiltration and drainage structure and circulation device in a sponge city | |
| CN216234226U (en) | Low energy consumption automatic deodorizing litter box cover | |
| CN209568403U (en) | A road vacuum cleaner | |
| CN212476396U (en) | An integrated device for separation and purification of initial rainwater | |
| CN211734068U (en) | An energy-saving and environmentally friendly sewage treatment device | |
| CN207390150U (en) | A kind of environment-friendlyrefuse refuse treatment tank | |
| CN211678196U (en) | A jaw breaker for retrieving building rubbish | |
| CN107982972B (en) | Sewage treatment grid device | |
| CN218090667U (en) | Automatic sewage discharge structure of road sweeper | |
| CN207436555U (en) | A kind of bio-toilet device of rural development | |
| CN213297291U (en) | Multifunctional mobile toilet | |
| CN210022338U (en) | An environmentally friendly construction waste treatment equipment | |
| CN209024304U (en) | An environmentally friendly pig farm sewage collection tank | |
| CN114803221B (en) | Integrated wet garbage automatic collecting storage device | |
| CN220704727U (en) | A sewage suction truck | |
| CN218813062U (en) | Marking equipment of polishing | |
| CN206844738U (en) | Building top swimming system | |
| CN211676625U (en) | Bury formula domestic sewage treatment system | |
| CN215055742U (en) | Zero-emission environment-friendly toilet | |
| CN206915897U (en) | A kind of rain effluent treatment plant | |
| CN206679661U (en) | A kind of induction type domestic garbage can | |
| CN218559962U (en) | Mechanism convenient to anticorrosive type refuse treatment | |
| CN219002289U (en) | An environmentally friendly sewage treatment device with high treatment efficiency | |
| CN216276064U (en) | Sponge city water circulating system | |
| CN216510517U (en) | Waste recycling environmental protection house sewage collecting and discharging system |
Legal Events
| Date | Code | Title | Description |
|---|---|---|---|
| GR01 | Patent grant | ||
| GR01 | Patent grant |
