CN216223310U - A mud water recovery device - Google Patents
A mud water recovery device Download PDFInfo
- Publication number
- CN216223310U CN216223310U CN202122017512.7U CN202122017512U CN216223310U CN 216223310 U CN216223310 U CN 216223310U CN 202122017512 U CN202122017512 U CN 202122017512U CN 216223310 U CN216223310 U CN 216223310U
- Authority
- CN
- China
- Prior art keywords
- mud
- filter
- tank
- filter screen
- push plate
- Prior art date
- Legal status (The legal status is an assumption and is not a legal conclusion. Google has not performed a legal analysis and makes no representation as to the accuracy of the status listed.)
- Expired - Fee Related
Links
Images
Landscapes
- Filtration Of Liquid (AREA)
Abstract
本实用新型公开了一种泥水回收装置,包括沉淀池、泥水管;沉淀池与泥水管的一端连通,泥水管的另一端连通第一过滤池的上端;第一过滤池内设有第一过滤网;第一过滤池的侧面上设有出泥槽;出泥槽的另一端连接有排泥管;第一过滤网上设有第二推板;第二推板固定连接有第二推杆;过滤池的下端设有出液口;第二过滤池下端设有排液口。将沉淀后的上层污水通入第一过滤池,在第一过滤池上进行加压过滤,提高过滤效率,对于第一过滤网上的污泥可通过第一推板和第二推板的配合将污泥推至出泥管内排出并回收,通过清除第一过滤网上的污泥后又能进行过滤。通过两级过滤后能保证最后的出水达到再次使用的标准。
The utility model discloses a mud water recovery device, comprising a sedimentation tank and a mud water pipe; the sedimentation tank is connected with one end of the mud water pipe, and the other end of the mud water pipe is connected with the upper end of a first filter tank; the first filter tank is provided with a first filter screen The side of the first filter tank is provided with a mud outlet; the other end of the mud outlet is connected with a mud discharge pipe; the first filter net is provided with a second push plate; the second push plate is fixedly connected with a second push rod; The lower end of the pool is provided with a liquid outlet; the lower end of the second filter pool is provided with a liquid outlet. The upper layer sewage after sedimentation is passed into the first filter tank, and pressure filtration is carried out on the first filter tank to improve the filtration efficiency. The mud is pushed into the mud discharge pipe for discharge and recovery, and can be filtered after removing the sludge on the first filter screen. After two-stage filtration, the final effluent can be guaranteed to be reused.
Description
技术领域technical field
本实用新型涉及污水回收设备领域,具体涉及一种泥水回收装置。The utility model relates to the field of sewage recycling equipment, in particular to a mud water recycling device.
背景技术Background technique
陶瓷在生产过程中,特别是修胚、精胚阶段,会产生大量的污水污泥。这些混有大量污泥的陶瓷泥水,需进行回收,否则不仅污染环境,而且陶瓷厂的耗水量将会不可估量。同时污泥与水分离后,污泥和水均能重新回收再利用。In the production process of ceramics, especially in the embryonic and spermatogenesis stages, a large amount of sewage sludge will be produced. These ceramic mud water mixed with a large amount of sludge needs to be recycled, otherwise it will not only pollute the environment, but also the water consumption of the ceramic factory will be immeasurable. At the same time, after the sludge and water are separated, both sludge and water can be recycled and reused.
实用新型内容Utility model content
本实用新型的目的是设计一种泥水回收装置,使其实现泥水分离且能重复利用,充分利用资源。The purpose of the utility model is to design a mud-water recovery device, which can realize mud-water separation and reuse, and fully utilize resources.
为实现上述目的,本实用新型提供如下技术方案:一种泥水回收装置,包括沉淀池、泥水管;所述沉淀池与所述泥水管的一端连通,所述泥水管的另一端连通第一过滤池的上端;所述过滤池的上端设有高压气接口;所述第一过滤池内设有第一过滤网;所述第一过滤网的边缘与所述第一过滤池固定连接;所述第一过滤池的侧面上设有出泥槽;所述出泥槽的一端设有第一推杆,所述第一推杆的外侧与所述出泥槽的内壁贴合,且所述第一推杆能在所述出泥槽的内部滑动;所述第一推杆的自由端设有与所述出泥槽相适配的第一推板;所述出泥槽的另一端连接有排泥管;所述排泥管的出泥口上设有控制出泥的阀件;所述第一过滤网上设有第二推板;所述第二推板的下端贴合在所述第一过滤网上;所述第二推板固定连接有第二推杆;所述第二推杆与所述第二推板垂直且所述第二推杆与所述第一过滤网平行;所述第二推杆贯穿所述第一过滤池的池壁,且所述第二推杆能在所述第一过滤池的池壁移动,所述第二推杆与所述第一过滤池的连接处设有密封环,避免污液从连接处溢出;所述过滤池的下端设有出液口;所述出液口通过管道连通第二过滤池的上端;所述第二过滤池下端设有排液口。In order to achieve the above purpose, the utility model provides the following technical solutions: a mud water recovery device, comprising a sedimentation tank and a mud water pipe; the sedimentation tank is communicated with one end of the mud water pipe, and the other end of the mud water pipe is communicated with a first filter The upper end of the pool; the upper end of the filter pool is provided with a high-pressure air interface; the first filter pool is provided with a first filter screen; the edge of the first filter screen is fixedly connected to the first filter pool; A mud tank is provided on the side of a filter tank; one end of the mud tank is provided with a first push rod, the outer side of the first push rod is attached to the inner wall of the mud tank, and the first push rod is The push rod can slide inside the mud chute; the free end of the first push rod is provided with a first push plate adapted to the mud chute; the other end of the mud chute is connected with a row The mud pipe; the mud outlet of the mud discharge pipe is provided with a valve for controlling mud discharge; the first filter screen is provided with a second push plate; the lower end of the second push plate is attached to the first filter The second push plate is fixedly connected with a second push rod; the second push rod is perpendicular to the second push plate and the second push rod is parallel to the first filter screen; the second push rod is The push rod penetrates the pool wall of the first filter pool, and the second push rod can move on the pool wall of the first filter pool, and the connection between the second push rod and the first filter pool is provided. There is a sealing ring to prevent the sewage from overflowing from the connection; the lower end of the filter tank is provided with a liquid outlet; the liquid outlet is connected to the upper end of the second filter tank through a pipeline; the lower end of the second filter tank is provided with a drain mouth.
进一步地,所述第二推杆的数量为2个,且对称分布在所述第二推板中点的两侧。Further, the number of the second push rods is 2, and they are symmetrically distributed on both sides of the midpoint of the second push plate.
进一步地,所述第一过滤网和所述第二过滤网的上下两端均设有压力传感器。Further, both the upper and lower ends of the first filter screen and the second filter screen are provided with pressure sensors.
进一步地,所述第一推板与所述第二推板相配合后正好为出泥槽的横截面积。Further, after the first push plate is matched with the second push plate, it is exactly the cross-sectional area of the mud outlet.
进一步地,所述第一过滤池的上端设有第一盖体,所述第一盖体与所述第一过滤池密封且螺栓连接,所述第二过滤池的上端设有第二盖体,所述第二盖体与所述第二过滤池密封且螺栓连接。Further, the upper end of the first filter tank is provided with a first cover body, the first cover body is sealed and bolted to the first filter tank, and the upper end of the second filter tank is provided with a second cover body , the second cover body is sealed and bolted to the second filter tank.
进一步地,所述第一过滤网的孔径大于所述第二过滤网的孔径。Further, the aperture of the first filter screen is larger than the aperture of the second filter screen.
与现有技术相比,本实用新型的有益效果:通过将沉淀后的上层污水通入第一过滤池,且在第一过滤池上进行加压过滤,提高过滤效率,对于第一过滤网上的污泥可通过第一推板和第二推板的配合将污泥推至出泥管内排出并回收,通过清除第一过滤网上的污泥后又能进行过滤。通过两级过滤后能保证最后的出水达到再次使用的标准。Compared with the prior art, the beneficial effect of the present utility model is: by passing the precipitation upper layer sewage into the first filter tank, and performing pressure filtration on the first filter tank, the filtration efficiency is improved, and the pollution on the first filter net is improved. The mud can be pushed into the mud outlet pipe through the cooperation of the first push plate and the second push plate to be discharged and recovered, and can be filtered after removing the mud on the first filter screen. After two-stage filtration, the final effluent can be guaranteed to be reused.
附图说明Description of drawings
为了更清楚地说明本实用新型实施例或现有技术中的技术方案,下面将对实施例或现有技术描述中所需要使用的附图作简单地介绍,显而易见地,下面描述中的附图仅仅是本实用新型的一些实施例,对于本领域普通技术人员来讲,在不付出创造性劳动的前提下,还可以根据这些附图获得其他的附图。In order to more clearly illustrate the embodiments of the present utility model or the technical solutions in the prior art, the following briefly introduces the accompanying drawings that need to be used in the description of the embodiments or the prior art. Obviously, the accompanying drawings in the following description These are just some embodiments of the present invention, and for those of ordinary skill in the art, other drawings can also be obtained from these drawings without creative effort.
图1为本实用新型的泥水回收装置示意图;Fig. 1 is the muddy water recovery device schematic diagram of the present utility model;
图2为本实用新型的图1的A向剖视图;Fig. 2 is the A-direction sectional view of Fig. 1 of the utility model;
图中所标各部件的名称如下:The names of the parts marked in the figure are as follows:
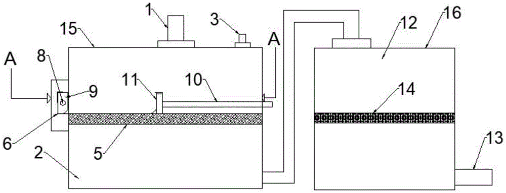
1、泥水管;2、第一过滤池;3、高压气接口;4、阀件;5、第一过滤网;6、出泥槽;7、排泥管;8、第一推杆;9、第一推板;10、第二推杆;11、第二推板;12、第二过滤池;13、排液口;14、第二过滤网;15、第一盖体;16、第二盖体。1. Mud water pipe; 2. The first filter tank; 3. High pressure air interface; 4. Valve parts; 5. The first filter screen; 6. The mud tank; 7. The mud discharge pipe; 8. The first push rod; , the first push plate; 10, the second push rod; 11, the second push plate; 12, the second filter tank; 13, the drain port; 14, the second filter screen; 15, the first cover body; 16, the first Two lids.
具体实施方式Detailed ways
下面将结合本实用新型中的附图,对本实用新型中的技术方案进行清楚、完整地描述,显然,所描述的仅仅是本实用新型一部分实施例,而不是全部的实施例。基于本实用新型中的实施例,本领域普通技术人员在没有做出创造性劳动的前提下所获得的所有其他实施例,都属于本实用新型保护的范围。The technical solutions of the present utility model will be clearly and completely described below with reference to the accompanying drawings of the present utility model. Obviously, the descriptions are only a part of the embodiments of the present utility model, but not all of the embodiments. Based on the embodiments of the present invention, all other embodiments obtained by those of ordinary skill in the art without creative work fall within the protection scope of the present invention.
在本实用新型的描述中,需要理解的是,术语“上”、“下”、“前”、“后”、“左”、“右”、“顶”、“底”、“内”、“外”等指示的方位或位置关系为基于附图所示的方位或位置关系,仅是为了便于描述本实用新型和简化描述,而不是指示或暗示所指的装置或元件必须具有特定的方位、以特定的方位构造和操作,因此不能理解为对本实用新型的限制。In the description of the present invention, it should be understood that the terms "upper", "lower", "front", "rear", "left", "right", "top", "bottom", "inside", The orientation or positional relationship indicated by "outside" is based on the orientation or positional relationship shown in the accompanying drawings, which is only for the convenience of describing the present invention and simplifying the description, rather than indicating or implying that the indicated device or element must have a specific orientation , are constructed and operated in a specific orientation, and therefore should not be construed as a limitation of the present invention.
以上内容是结合具体的优选实施方式对本发明所作的进一步详细说明,不能认定本发明的具体实施只局限于这些说明。对于本发明所属技术领域的普通技术人员来说,在不脱离本发明构思的前提下,还可以做出若干简单推演或替换,都应当视为属于本发明的保护范围。The above content is a further detailed description of the present invention in combination with specific preferred embodiments, and it cannot be considered that the specific implementation of the present invention is limited to these descriptions. For those of ordinary skill in the technical field of the present invention, without departing from the concept of the present invention, some simple deductions or substitutions can be made, which should be regarded as belonging to the protection scope of the present invention.
实施例:Example:
一种泥水回收装置,包括沉淀池、泥水管1;沉淀池与泥水管1的一端连通,泥水管1的另一端连通第一过滤池2的上端;过滤池的上端设有高压气接口3;第一过滤池2内设有第一过滤网5;第一过滤网5的边缘与第一过滤池2固定连接;第一过滤池2的侧面上设有出泥槽6;出泥槽6的一端设有第一推杆8,第一推杆8的外侧与出泥槽6的内壁贴合,且第一推杆8能在出泥槽6的内部滑动;第一推杆8的自由端设有与出泥槽6相适配的第一推板9;出泥槽6的另一端连接有排泥管7;排泥管7的出泥口上设有控制出泥的阀件4;第一过滤网5上设有第二推板11;第二推板11的下端贴合在第一过滤网5上;第二推板11固定连接有第二推杆10;第二推杆10与第二推板11垂直且第二推杆10与第一过滤网5平行;第二推杆10贯穿第一过滤池2的池壁,且第二推杆10能在第一过滤池2的池壁移动,第二推杆10与第一过滤池2的连接处设有密封环,避免污液从连接处溢出;过滤池的下端设有出液口;出液口通过管道连通第二过滤池12的上端;第二过滤池12内设有第二过滤网14;而第二过滤网14与第二过滤池12卡接;保证第二过滤网14不会往下掉,同时也便于取出第二过滤网14。第二过滤池12的下端设有排液口13。A mud water recovery device, comprising a sedimentation tank and a mud water pipe 1; the sedimentation tank is communicated with one end of the mud water pipe 1, and the other end of the mud water pipe 1 is communicated with the upper end of a
第二推杆10的数量为2个,且对称分布在第二推板11中点的两侧。保证第二推板11在推污泥时,减小了第二推板11对第二推杆10的连接处的力矩。使得推动更加平稳。The number of the
第二推板11用于推泥的侧面的下部为弧线结构。弧线结构便于将污泥从第一过滤网5表面铲起。保证第二推板11对第一过滤网5更干净的除泥。The lower part of the side surface of the
第一过滤网5和第二过滤网14的上下两端均设有压力传感器。压力传感器能检测出两个过滤网两端的压力通过计算可知其压差的,通过压差值的大小来判断脏堵程度。用于判断是否需要除泥或者清洗。The upper and lower ends of the
第一过滤池2的上端设有第一盖体15,第一盖体15与第一过滤池2密封且螺栓连接,第二过滤池12的上端设有第二盖体16,第二盖体16与第二过滤池12密封且螺栓连接。螺栓连接便于拆卸,便于更换和清洗相应的过滤网和池体。The upper end of the
第一过滤网5的孔径大于第二过滤网14的孔径。通过两级过滤,逐步的将污泥去除,保证了出水的质量和过滤效率。The pore size of the
本实施例的工作原理:The working principle of this embodiment:
生产车间内产生污泥废水通过管道收集后排入沉淀池内,经过沉淀池的沉淀,将大部分的污泥沉淀在池底,沉淀池的池体连通压滤机的进水口,通过压滤机的压滤作用将沉淀的污泥水分去除,污泥回收再利用。通过沉淀池出来的污水还含有部分的污泥,通过泥水管1进入到第一过滤池2内,通过第一过滤网5的过滤,将污泥滤出在第一过滤网5上,当第一过滤网5两端的压力差较大时,可关闭污泥管停止出水,然后接通高压气体,通过高压气体给过滤池上部加压,将污水全部滤至第一过滤网5的下方,然后停止高压气体的加入,打开排泥口上控制出泥的阀件4,第二推杆10推动第二推板11移动将第一过滤网5上的污泥从一侧推至另一侧并推入到出泥槽6内,而第二推板11运动至出泥槽6的槽口后停止运动且第二推板11的形状和尺寸与出泥槽6的槽口相适配。第一推杆8带动第一推板9推动出泥槽6内的污泥,需要注意的是推动第一推杆8和第二推杆10的驱动机构可以是电机、气缸或者丝杆等驱动。污泥从排泥管7流出并进入到相应的收集装置。经过第一过滤网5过滤后的水通过管道进入到第二过滤池12内,进行二级过滤,通过两级过滤后从排液口13出来的水已经达到重复利用的标准,从排液口13流出的水进入到相应的收集装置(附图未给出)进行重复的使用。当第二过滤网14上下两侧的压差较大时,表示第二过滤网14上的污泥已经堆积到一定程度,将第二过滤池12的上端与其池体分离,取出第二过滤网14,并对第二过滤网14进行清洗,再放入到第二过滤池12内即可再次使用。The sludge waste water generated in the production workshop is collected through pipes and then discharged into the sedimentation tank. After the sedimentation in the sedimentation tank, most of the sludge is deposited at the bottom of the tank. The tank body of the sedimentation tank is connected to the water inlet of the filter press, and the filter press The pressure filtration action removes the moisture of the precipitated sludge, and the sludge is recycled and reused. The sewage coming out of the sedimentation tank also contains some sludge, which enters the
本实用新型的有益效果:通过将沉淀后的上层污水通入第一过滤池2,且在第一过滤池2上进行加压过滤,提高过滤效率,对于第一过滤网5上的污泥可通过第一推板9和第二推板11的配合将污泥推至出泥管内排出并回收,通过清除第一过滤网5上的污泥后又能进行过滤。通过两级过滤后能保证最后的出水达到再次使用的标准。The beneficial effects of the utility model are: by passing the precipitation upper layer sewage into the
Claims (6)
Priority Applications (1)
| Application Number | Priority Date | Filing Date | Title |
|---|---|---|---|
| CN202122017512.7U CN216223310U (en) | 2021-08-25 | 2021-08-25 | A mud water recovery device |
Applications Claiming Priority (1)
| Application Number | Priority Date | Filing Date | Title |
|---|---|---|---|
| CN202122017512.7U CN216223310U (en) | 2021-08-25 | 2021-08-25 | A mud water recovery device |
Publications (1)
| Publication Number | Publication Date |
|---|---|
| CN216223310U true CN216223310U (en) | 2022-04-08 |
Family
ID=80981263
Family Applications (1)
| Application Number | Title | Priority Date | Filing Date |
|---|---|---|---|
| CN202122017512.7U Expired - Fee Related CN216223310U (en) | 2021-08-25 | 2021-08-25 | A mud water recovery device |
Country Status (1)
| Country | Link |
|---|---|
| CN (1) | CN216223310U (en) |
-
2021
- 2021-08-25 CN CN202122017512.7U patent/CN216223310U/en not_active Expired - Fee Related
Similar Documents
| Publication | Publication Date | Title |
|---|---|---|
| CN211357863U (en) | Municipal administration sewage treatment device convenient to handle residue in sewage | |
| CN107569876B (en) | For the settler handled the small particle sediment in sewage | |
| CN217661858U (en) | Dirt separator is used in waste water separation | |
| CN107583356B (en) | A kind of Wastewater Pretreatment equipment | |
| CN201817346U (en) | Septic tank sludge water purification and environmental treatment device | |
| CN216223310U (en) | A mud water recovery device | |
| CN107583328B (en) | For in sewage disinfection treatment into water filtering mechanism | |
| CN212001529U (en) | Improved efficient slag scraping and mud sucking integrated machine | |
| CN220779361U (en) | Anti-blocking filter device for water pollution treatment | |
| CN113304540A (en) | Domestic waste sewage purification device | |
| CN204454770U (en) | Saw mud comprehensive sewage treatment device | |
| CN219149459U (en) | Liquid separation equipment with solid recovery function | |
| CN111549896A (en) | Oil-intercepting and dirt-intercepting device for rainwater pumping station | |
| CN208667290U (en) | A kind of aluminium purification waste water processing unit | |
| CN216303544U (en) | Industrial high-salinity wastewater evaporative crystallization zero discharge device | |
| JP2005238055A (en) | Dust removing apparatus for impurity separation | |
| CN211328478U (en) | Slurry treatment system of washing and sweeping vehicle | |
| CN208898628U (en) | A kind of industrial wastewater treatment system | |
| CN107982981B (en) | A self-cleaning precision filter and filtration method | |
| CN107879386B (en) | A new type of sludge sewage recycling heat exchange device and using method | |
| CN214693578U (en) | Vertical flow multistage solid-liquid separator | |
| CN219044899U (en) | A sewage recycling and filtering device | |
| CN220758178U (en) | Waste water filter equipment is used in cement manufacture | |
| CN215667391U (en) | Environmental engineering solid-liquid separation equipment | |
| CN221878231U (en) | Desilting device |
Legal Events
| Date | Code | Title | Description |
|---|---|---|---|
| GR01 | Patent grant | ||
| GR01 | Patent grant | ||
| CF01 | Termination of patent right due to non-payment of annual fee | ||
| CF01 | Termination of patent right due to non-payment of annual fee |
Granted publication date: 20220408 |
