CN216219972U - A constant temperature and humidity tea fermentation tank - Google Patents

A constant temperature and humidity tea fermentation tank Download PDF

Info

Publication number
CN216219972U
CN216219972U CN202123221730.9U CN202123221730U CN216219972U CN 216219972 U CN216219972 U CN 216219972U CN 202123221730 U CN202123221730 U CN 202123221730U CN 216219972 U CN216219972 U CN 216219972U
Authority
CN
China
Prior art keywords
tank body
tea
temperature
constant temperature
humidity
Prior art date
Legal status (The legal status is an assumption and is not a legal conclusion. Google has not performed a legal analysis and makes no representation as to the accuracy of the status listed.)
Expired - Fee Related
Application number
CN202123221730.9U
Other languages
Chinese (zh)
Inventor
戎玉廷
刘福桥
周科
俸兵
Current Assignee (The listed assignees may be inaccurate. Google has not performed a legal analysis and makes no representation or warranty as to the accuracy of the list.)
Yunnan Shuangjiang Mengku Tea Co ltd
Original Assignee
Yunnan Shuangjiang Mengku Tea Co ltd
Priority date (The priority date is an assumption and is not a legal conclusion. Google has not performed a legal analysis and makes no representation as to the accuracy of the date listed.)
Filing date
Publication date
Application filed by Yunnan Shuangjiang Mengku Tea Co ltd filed Critical Yunnan Shuangjiang Mengku Tea Co ltd
Priority to CN202123221730.9U priority Critical patent/CN216219972U/en
Application granted granted Critical
Publication of CN216219972U publication Critical patent/CN216219972U/en
Expired - Fee Related legal-status Critical Current
Anticipated expiration legal-status Critical

Links

Images

Landscapes

  • Tea And Coffee (AREA)

Abstract

本实用新型公开了一种恒温恒湿的茶叶发酵罐,包括罐体,所述罐体的顶部表面中间位置处安装有电机,且电机的输出端固定连接有搅拌轴,所述搅拌轴上设有连接杆,且连接杆的一端设有刮刀。本实用新型,通过电机带动搅拌轴进行转动,使得搅拌轴上的第一搅拌叶、和连接杆上第二搅拌叶随着搅拌轴同步进行转动,能够有效对罐体中的茶叶均匀进行搅拌,使茶叶在罐体中充分进行混合,便于提高对茶叶的搅拌效果,从而便于提高茶叶的发酵质量,其中通过温度控制器的使用,能够有效调节加热板的温度,便于对罐体中的温度进行调节,使得罐体中的温度适宜茶叶的发酵,从而有利于提高茶叶在罐体中的发酵速率,进而有利于提高其工作效率。

Figure 202123221730

The utility model discloses a constant temperature and humidity tea fermentation tank, comprising a tank body, a motor is installed at the middle position of the top surface of the tank body, and an output end of the motor is fixedly connected with a stirring shaft, and the stirring shaft is arranged on the There is a connecting rod, and one end of the connecting rod is provided with a scraper. In the utility model, the motor drives the stirring shaft to rotate, so that the first stirring blade on the stirring shaft and the second stirring blade on the connecting rod rotate synchronously with the stirring shaft, which can effectively stir the tea leaves in the tank body evenly, The tea leaves are fully mixed in the tank body, which is convenient to improve the stirring effect of the tea leaves, thereby improving the fermentation quality of the tea leaves. The use of the temperature controller can effectively adjust the temperature of the heating plate, which is convenient for the temperature in the tank body. The temperature in the tank body is adjusted so that the temperature in the tank body is suitable for the fermentation of the tea leaves, which is beneficial to improve the fermentation rate of the tea leaves in the tank body, thereby improving the working efficiency thereof.

Figure 202123221730

Description

Constant temperature and humidity's tealeaves fermentation cylinder
Technical Field
The utility model relates to the technical field of tea fermentation, in particular to a constant-temperature and constant-humidity tea fermentation tank.
Background
Tea refers to the leaves and buds of tea tree. Distinguished tea, cashew, tea, . The tea is widely used for making tea, namely, the leaves of evergreen shrub tea trees and the beverage brewed by the leaves, and is later extended to all herbal tea brewed by plant flowers, leaves, seeds and roots, such as chrysanthemum tea and the like; herbal tea infused with various medicinal materials is also called Lei ya in Chinese literature. Some countries also have tea brewed from other plant leaves such as fruit and vanilla, such as fruit tea.
At present, when tea leaves are processed, a fermentation tank is generally required to be used for fermentation processing, however, the existing tea fermentation tank has certain limitation when being used, for example, the existing tea fermentation tank has the problem of unsatisfactory stirring uniformity in the using process, the fermentation quality of the tea leaves is easily influenced, the existing tea fermentation tank also has the problem that the temperature in the tank body is not convenient to adjust, the fermentation rate of the tea leaves is easily influenced, and therefore the working efficiency of the tea fermentation tank is easily reduced.
SUMMERY OF THE UTILITY MODEL
Technical problem to be solved
Aiming at the defects of the prior art, the utility model provides the constant-temperature and constant-humidity tea fermentation tank which has the advantages of good stirring effect, convenience in adjusting the temperature in the tank body and high working efficiency, and further solves the problems in the background art.
(II) technical scheme
In order to achieve the purpose, the utility model adopts the following technical scheme: the utility model provides a tealeaves fermentation cylinder of constant temperature and humidity, includes a jar body, the top surface intermediate position department of the jar body installs the motor, and the output fixedly connected with (mixing) shaft of motor, be equipped with the connecting rod on the (mixing) shaft, and the one end of connecting rod is equipped with the scraper, the both sides that lie in the connecting rod on the (mixing) shaft are equipped with first stirring leaf, be equipped with second stirring leaf on the connecting rod, the bottom upper surface both sides of the jar body are equipped with the hot plate, front end surface one side of the jar body is equipped with temperature controller.
Preferably, a feeding pipe is arranged on one side, located on the motor, of the top surface of the tank body.
Preferably, the front end surface of the tank body is provided with an observation window.
Preferably, the input end of the heating plate is electrically connected with the output end of the temperature controller.
Preferably, a control panel is arranged on one side of the front end surface of the tank body, and the input end of the motor is electrically connected with the output end of the control panel.
Preferably, a material discharging pipe is arranged in the middle position of the bottom surface of the tank body, and a material discharging valve is installed on the material discharging pipe.
Preferably, the surface of the two sides of the tank body is provided with a connecting block, and the surface of one side of the connecting block is provided with a supporting plate.
(III) advantageous effects
Compared with the prior art, the utility model provides a constant-temperature and constant-humidity tea fermentation tank which has the following beneficial effects:
(1) according to the tea fermentation tank, the motor drives the stirring shaft to rotate, so that the first stirring blade on the stirring shaft and the second stirring blade on the connecting rod synchronously rotate along with the stirring shaft, tea in the tank body can be effectively and uniformly stirred, the tea is fully mixed in the tank body, the stirring effect on the tea is convenient to improve, the fermentation quality of the tea is convenient to improve, the temperature of the heating plate can be effectively adjusted through the use of the temperature controller, the temperature in the tank body is convenient to adjust, the temperature in the tank body is suitable for the fermentation of the tea, the fermentation rate of the tea in the tank body is favorable to improve, and the working efficiency of the tea fermentation tank is further favorable to improve.
(2) According to the stirring shaft, after the stirring shaft is used, the motor is turned on, the motor drives the stirring shaft to rotate, the scraper at one end of the connecting rod on the stirring shaft synchronously rotates along with the stirring shaft, the residual materials on the inner wall of the tank body can be effectively scraped, the problem that the materials are remained on the inner wall of the tank body to cause inconvenience in cleaning is solved, limitation in use is reduced, and therefore the residual materials on the inner wall of the tank body can be conveniently cleaned.
Drawings
In order to more clearly illustrate the embodiments of the present invention or the technical solutions in the prior art, the drawings needed in the embodiments will be briefly described below, and it is obvious that the drawings in the following description are only some embodiments of the present invention, and it is obvious for those skilled in the art to obtain other drawings without creative efforts.
FIG. 1 is a schematic structural diagram of a constant temperature and humidity tea fermentation tank provided by the utility model;
FIG. 2 is a front view of a constant temperature and humidity tea fermentation tank according to the present invention;
FIG. 3 is a top view of the stirring shaft of the constant temperature and humidity tea fermentation tank according to the present invention;
FIG. 4 is a schematic view of the structure of the supporting plate and the connecting block of the constant temperature and humidity tea fermentation tank of the present invention.
Illustration of the drawings:
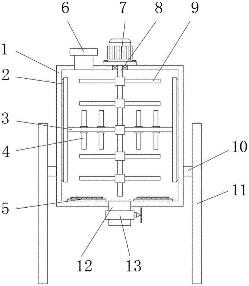
1. a tank body; 2. a scraper; 3. a connecting rod; 4. a second stirring blade; 5. heating plates; 6. a feed pipe; 7. a motor; 8. a stirring shaft; 9. a first stirring blade; 10. connecting blocks; 11. a support plate; 12. a discharge pipe; 13. a discharge valve; 14. an observation window; 15. a temperature controller; 16. a control panel.
Detailed Description
The technical solutions in the embodiments of the present invention will be clearly and completely described below with reference to the drawings in the embodiments of the present invention, and it is obvious that the described embodiments are only a part of the embodiments of the present invention, and not all of the embodiments. All other embodiments, which can be derived by a person skilled in the art from the embodiments given herein without making any creative effort, shall fall within the protection scope of the present invention.
In the description of the present invention, it should be noted that the terms "center", "upper", "lower", "left", "right", "vertical", "horizontal", "inner", "outer", etc., indicate orientations or positional relationships based on the orientations or positional relationships shown in the drawings, and are only for convenience of description and simplicity of description, but do not indicate or imply that the device or element being referred to must have a particular orientation, be constructed and operated in a particular orientation, and thus, should not be construed as limiting the present invention; the terms "first," "second," and "third" are used for descriptive purposes only and are not to be construed as indicating or implying relative importance; furthermore, unless expressly stated or limited otherwise, the terms "mounted," "connected," and "connected" are to be construed broadly, as they may be fixedly connected, detachably connected, or integrally connected, for example; can be mechanically or electrically connected; they may be connected directly or indirectly through intervening media, or they may be interconnected between two elements. The specific meanings of the above terms in the present invention can be understood in specific cases to those skilled in the art.
Referring to fig. 1-4, a constant temperature and humidity tea fermentation tank comprises a tank body 1, a motor 7 is installed at the middle position of the top surface of the tank body 1, a stirring shaft 8 is fixedly connected to the output end of the motor 7, a connecting rod 3 is arranged on the stirring shaft 8, a scraper 2 is arranged at one end of the connecting rod 3, first stirring blades 9 are arranged on the stirring shaft 8 and positioned at two sides of the connecting rod 3, a second stirring blade 4 is arranged on the connecting rod 3, heating plates 5 are arranged at two sides of the upper surface of the bottom end of the tank body 1, and a temperature controller 15 is arranged at one side of the front end surface of the tank body 1, wherein the stirring shaft 8 is driven by the motor 7 to rotate, so that the first stirring blades 9 on the stirring shaft 8 and the second stirring blades 4 on the connecting rod 3 synchronously rotate along with the stirring shaft 8, tea in the tank body 1 can be effectively and uniformly stirred, and the tea can be fully mixed in the tank body 1, is convenient for improving the stirring effect of the tea, thereby being convenient for improving the fermentation quality of the tea.
In one embodiment, the top surface of the can body 1 is provided with a feed tube 6 on the side of the motor 7, wherein the feed can be performed through the feed tube 6.
In one embodiment, the front end surface of the tank body 1 is provided with an observation window 14, wherein the fermentation condition in the tank body 1 can be effectively observed through the observation window 14, which is beneficial to improving the practicability.
In one embodiment, the input end of the heating plate 5 is electrically connected with the output end of the temperature controller 15, wherein the temperature of the heating plate 5 can be effectively adjusted by using the temperature controller 15, so that the temperature in the tank body 1 can be conveniently adjusted, the temperature in the tank body 1 is suitable for the fermentation of tea leaves, the fermentation rate of the tea leaves in the tank body 1 can be favorably improved, and the work efficiency of the tea leaf fermentation machine can be favorably improved.
In one embodiment, a control panel 16 is disposed on one side of the front surface of the can body 1, and the input end of the motor 7 is electrically connected to the output end of the control panel 16.
In one embodiment, a discharge pipe 12 is provided at a middle position of the bottom surface of the can body 1, and a discharge valve 13 is installed on the discharge pipe 12, wherein discharge is performed by opening the discharge valve 13 on the discharge pipe 12.
In one embodiment, the connecting blocks 10 are arranged on the surfaces of the two sides of the tank body 1, and the supporting plate 11 is arranged on the surface of one side of the connecting blocks 10, wherein the tank body 1 can be effectively supported by using the connecting blocks 10 and the supporting plate 11, which is beneficial to improving the stability of the tank body 1.
The working principle is as follows:
when the tea fermentation tank is used, the motor 7 drives the stirring shaft 8 to rotate, so that the first stirring blade 9 on the stirring shaft 8 and the second stirring blade 4 on the connecting rod 3 synchronously rotate along with the stirring shaft 8, tea in the tank body 1 can be effectively and uniformly stirred, the tea is fully mixed in the tank body 1, the stirring effect on the tea is convenient to improve, and the fermentation quality of the tea is convenient to improve, wherein the temperature of the heating plate 5 can be effectively adjusted through the use of the temperature controller 15, the temperature in the tank body 1 is convenient to adjust, the temperature in the tank body 1 is suitable for the fermentation of the tea, the fermentation rate of the tea in the tank body 1 is favorable to improve, the working efficiency of the tea fermentation tank is favorable to improve, after the tea fermentation tank is used, the motor 7 is turned on, the motor 7 drives the stirring shaft 8 to rotate, and the scraper 2 at one end of the connecting rod 3 on the stirring shaft 8 synchronously rotates along with the stirring shaft 8, can effectively strike off remaining material on the 1 inner walls of the jar body, prevent that the material from remaining and causing the problem of being not convenient for to clear up on 1 inner walls of the jar body, reduce the limitation when using to be convenient for clear up remaining material on 1 inner walls of the jar body.
The above description is only for the preferred embodiment of the present invention, but the scope of the present invention is not limited thereto, and any person skilled in the art should be considered to be within the technical scope of the present invention, and equivalent alternatives or modifications according to the technical solution of the present invention and the inventive concept thereof should be covered by the scope of the present invention.

Claims (7)

1. The utility model provides a tea fermentation cylinder of constant temperature and humidity, includes a jar body (1), its characterized in that, top surface intermediate position department of the jar body (1) installs motor (7), and the output fixedly connected with (mixing) shaft (8) of motor (7), be equipped with connecting rod (3) on (mixing) shaft (8), and the one end of connecting rod (3) is equipped with scraper (2), the both sides that lie in connecting rod (3) on (mixing) shaft (8) are equipped with first stirring leaf (9), be equipped with second stirring leaf (4) on connecting rod (3), the bottom upper surface both sides of the jar body (1) are equipped with hot plate (5), the front end surface one side of the jar body (1) is equipped with temperature controller (15).
2. A constant temperature and humidity tea fermentation tank as claimed in claim 1, wherein the top surface of the tank body (1) is provided with a feeding pipe (6) at one side of the motor (7).
3. A constant temperature and humidity tea fermentation tank as claimed in claim 1, wherein the front end surface of the tank body (1) is provided with an observation window (14).
4. A constant temperature and humidity tea fermentation tank as claimed in claim 1, wherein the input end of the heating plate (5) is electrically connected with the output end of the temperature controller (15).
5. The tea fermentation tank with constant temperature and humidity according to claim 1, wherein a control panel (16) is arranged on one side of the front end surface of the tank body (1), and the input end of the motor (7) is electrically connected with the output end of the control panel (16).
6. A constant temperature and humidity tea fermentation tank as claimed in claim 1, wherein a discharge pipe (12) is provided at the middle position of the bottom surface of the tank body (1), and a discharge valve (13) is installed on the discharge pipe (12).
7. The constant temperature and humidity tea fermentation tank according to claim 1, wherein the tank body (1) is provided with connecting blocks (10) on two side surfaces, and a supporting plate (11) is arranged on one side surface of each connecting block (10).
CN202123221730.9U 2021-12-21 2021-12-21 A constant temperature and humidity tea fermentation tank Expired - Fee Related CN216219972U (en)

Priority Applications (1)

Application Number Priority Date Filing Date Title
CN202123221730.9U CN216219972U (en) 2021-12-21 2021-12-21 A constant temperature and humidity tea fermentation tank

Applications Claiming Priority (1)

Application Number Priority Date Filing Date Title
CN202123221730.9U CN216219972U (en) 2021-12-21 2021-12-21 A constant temperature and humidity tea fermentation tank

Publications (1)

Publication Number Publication Date
CN216219972U true CN216219972U (en) 2022-04-08

Family

ID=80962729

Family Applications (1)

Application Number Title Priority Date Filing Date
CN202123221730.9U Expired - Fee Related CN216219972U (en) 2021-12-21 2021-12-21 A constant temperature and humidity tea fermentation tank

Country Status (1)

Country Link
CN (1) CN216219972U (en)

Cited By (1)

* Cited by examiner, † Cited by third party
Publication number Priority date Publication date Assignee Title
CN118556762A (en) * 2024-06-13 2024-08-30 广州市博麟精密机械有限公司 Tea fermentation tank

Cited By (1)

* Cited by examiner, † Cited by third party
Publication number Priority date Publication date Assignee Title
CN118556762A (en) * 2024-06-13 2024-08-30 广州市博麟精密机械有限公司 Tea fermentation tank

Similar Documents

Publication Publication Date Title
CN216219972U (en) A constant temperature and humidity tea fermentation tank
CN206585916U (en) A kind of new wheat breeding medicine soaking and stirring device
CN213215279U (en) Food processing is with flooding tasty device
CN207785995U (en) A kind of three-coloured amaranth pigment extractor
CN214346135U (en) Medicine edible fungus solid fermentation raw material mixer
CN216123622U (en) A drip irrigation device for field crops
CN207354838U (en) A kind of novel simple cottonseed delinting device
CN216295336U (en) Be used for filterable washing cauldron of biphenyl dimethyl ether
CN213486765U (en) Degerming filter equipment of preparation starch sugar
CN216534918U (en) Tea drinking appliance capable of automatically boiling tea
CN213280605U (en) Soaking device for rice seed sowing
CN207927186U (en) A kind of crop seeds initiating device
CN211321971U (en) Wheat seed medicament seed dressing device
CN109136078A (en) Zymolysis Equipment is used in a kind of production of novel fragrance
CN211097638U (en) Extraction mechanism of tea-oil camellia juice
CN209234837U (en) A kind of bean curd stick automatic production line
CN208617854U (en) A kind of installation for fermenting of novel microbial breeding
CN222854875U (en) Be used for Rosa roxburghii polysaccharide extraction equipment
CN214289374U (en) Wheat winnowing machine for wheat
CN223628475U (en) Mixing tank for preparing seasoning tea
CN219463238U (en) High-pressure extraction device for Huai medicine sauce soup preparation process
CN220238477U (en) Organic matter mixing arrangement of matrix grows seedlings
CN219628345U (en) Earthing drip irrigation mechanism
CN216705225U (en) Raw material stirring equipment for processing plant concentrated juice
CN216062829U (en) Production equipment of rosa roxburghii tratt beverage for dispelling effects of alcohol

Legal Events

Date Code Title Description
GR01 Patent grant
GR01 Patent grant
CF01 Termination of patent right due to non-payment of annual fee

Granted publication date: 20220408

CF01 Termination of patent right due to non-payment of annual fee