CN216208220U - Lawn sprinkler outer cover pressure-bearing test detection device - Google Patents
Lawn sprinkler outer cover pressure-bearing test detection device Download PDFInfo
- Publication number
- CN216208220U CN216208220U CN202122694076.7U CN202122694076U CN216208220U CN 216208220 U CN216208220 U CN 216208220U CN 202122694076 U CN202122694076 U CN 202122694076U CN 216208220 U CN216208220 U CN 216208220U
- Authority
- CN
- China
- Prior art keywords
- pressure
- fixed
- detection device
- lawn sprinkler
- reducing valve
- Prior art date
- Legal status (The legal status is an assumption and is not a legal conclusion. Google has not performed a legal analysis and makes no representation as to the accuracy of the status listed.)
- Active
Links
Images
Landscapes
- Testing Of Devices, Machine Parts, Or Other Structures Thereof (AREA)
Abstract
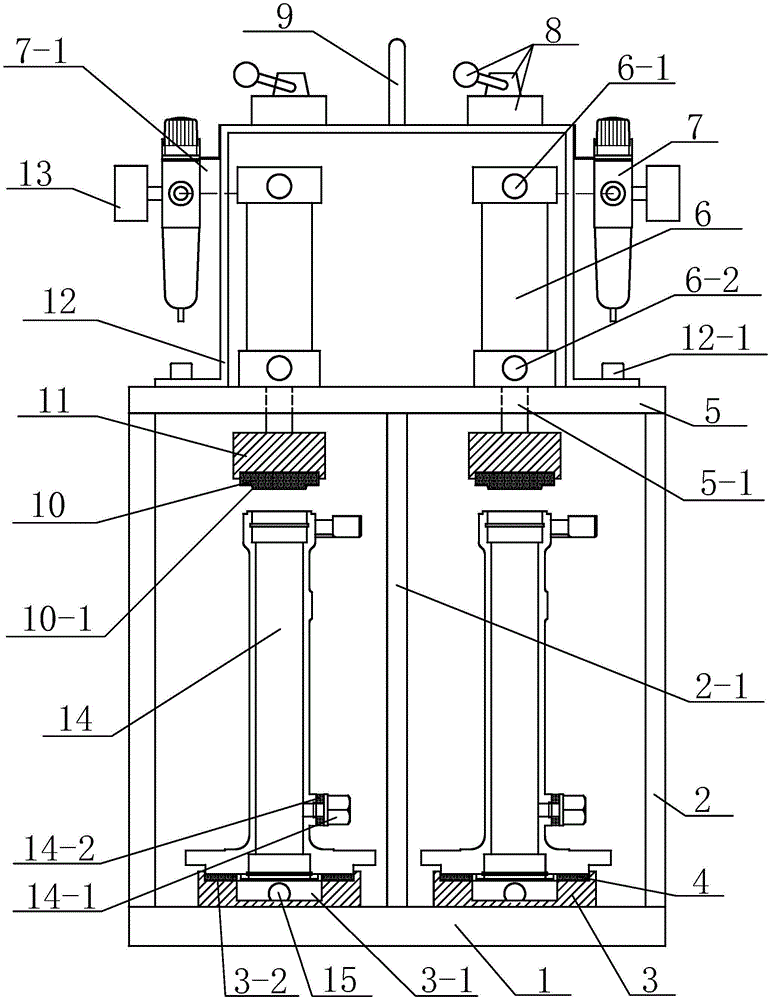
本实用新型属于一种草坪喷头外罩承压试验检测装置,包括底板、左右立板、中间立板和顶板组成一个承压检测装置框架,其特征在于承压检测装置的底板上面,两侧固定两个产品的底座;在顶板的上面固定有气缸;气缸的活塞杆穿过通孔端头固定有上压块,在减压阀座上装有AR‑2000减压阀。该实用新型解决了对1E6A86‑11462草坪喷水头外罩的承压试验与检测,施加压力均衡,对产品不会造成伤痕和缺陷,无废品,实现了机械化,省工省力,效率高,成本低。
The utility model belongs to a pressure bearing test detection device for a lawn sprinkler cover, which comprises a bottom plate, left and right vertical plates, a middle vertical plate and a top plate to form a pressure bearing detection device frame. The base of each product; the cylinder is fixed on the top plate; the piston rod of the cylinder is fixed with an upper pressure block through the end of the through hole, and an AR-2000 pressure reducing valve is installed on the pressure reducing valve seat. The utility model solves the pressure-bearing test and detection of the 1E6A86‑11462 lawn sprinkler cover, applies a balanced pressure, does not cause scars and defects to the product, has no waste, realizes mechanization, saves labor and labor, high efficiency and low cost .
Description
Claims (2)
Priority Applications (1)
| Application Number | Priority Date | Filing Date | Title |
|---|---|---|---|
| CN202122694076.7U CN216208220U (en) | 2021-11-04 | 2021-11-04 | Lawn sprinkler outer cover pressure-bearing test detection device |
Applications Claiming Priority (1)
| Application Number | Priority Date | Filing Date | Title |
|---|---|---|---|
| CN202122694076.7U CN216208220U (en) | 2021-11-04 | 2021-11-04 | Lawn sprinkler outer cover pressure-bearing test detection device |
Publications (1)
| Publication Number | Publication Date |
|---|---|
| CN216208220U true CN216208220U (en) | 2022-04-05 |
Family
ID=80902995
Family Applications (1)
| Application Number | Title | Priority Date | Filing Date |
|---|---|---|---|
| CN202122694076.7U Active CN216208220U (en) | 2021-11-04 | 2021-11-04 | Lawn sprinkler outer cover pressure-bearing test detection device |
Country Status (1)
| Country | Link |
|---|---|
| CN (1) | CN216208220U (en) |
-
2021
- 2021-11-04 CN CN202122694076.7U patent/CN216208220U/en active Active
Similar Documents
| Publication | Publication Date | Title |
|---|---|---|
| US4447282A (en) | Process and equipment for veneer press to glue a thin layer on a variously shaped panel surface | |
| CN201331418Y (en) | Air-tightness detection device of shell body | |
| CN201740630U (en) | Test stand for airtightness of casing | |
| CN216208220U (en) | Lawn sprinkler outer cover pressure-bearing test detection device | |
| CN205002956U (en) | Valve test test bench is pressed to vertical claw | |
| CN103033354A (en) | Butterfly valve hydrostatic testing machine | |
| CN203443746U (en) | Leak detection machine for automobile engine | |
| CN114354097A (en) | Detection device and detection method for water pump production | |
| CN103439062A (en) | Test device used for detecting air tightness of oil pan | |
| CN217953796U (en) | Pneumatic cylinder gas tightness check out test set | |
| CN203502175U (en) | Device for testing gas tightness of oil sump | |
| CN107192504B (en) | Hydraulic test tool for testing pressure bearing capacity and air tightness of engine body part | |
| CN210922983U (en) | An easy-to-use air tightness detection device for iron can production | |
| CN219532846U (en) | Concrete impermeability appearance of multiunit test piece | |
| CN219369051U (en) | Valve gas tightness detects frock | |
| EP0066556A2 (en) | Process and device for thin sheet press sticking on furniture panel | |
| CN201540232U (en) | Water pressure resistance testing device of castings | |
| CN216741940U (en) | Energy-conserving air compressor machine station of wisdom | |
| CN204214604U (en) | A kind of double leval jib gas cylinder testing platform | |
| CN107443129A (en) | One kind can improve cylinder cap milling face gripping device manufacturing method | |
| CN207465050U (en) | A kind of fixture with self-protection function | |
| CN218002831U (en) | Device for rapidly detecting air tightness of cast cylinder body | |
| CN209069519U (en) | One kind starting owner's trigger valve test device | |
| CN207351633U (en) | A kind of flange valve pressure experimental device | |
| CN210005178U (en) | aluminum wheel gas pressurizing leakage detecting device |
Legal Events
| Date | Code | Title | Description |
|---|---|---|---|
| GR01 | Patent grant | ||
| GR01 | Patent grant | ||
| TR01 | Transfer of patent right |
Effective date of registration: 20251031 Address after: 414000 Hunan Province Yueyang City Yunxi District Yuxi Street Jianjun Village Wenchong Group Patentee after: Yueyang Yunxi District Jingxiu Garden Greening Engineering Co.,Ltd. Country or region after: China Address before: 116200 huaershan community Avenue Tun, Tiexi sub district office, Pulandian District, Dalian City, Liaoning Province Patentee before: Dalian Shikai Mould Manufacturing Co.,Ltd. Country or region before: China |
