CN216207025U - 一种方便拆装的隧道照度探测装置 - Google Patents
一种方便拆装的隧道照度探测装置 Download PDFInfo
- Publication number
- CN216207025U CN216207025U CN202122611223.XU CN202122611223U CN216207025U CN 216207025 U CN216207025 U CN 216207025U CN 202122611223 U CN202122611223 U CN 202122611223U CN 216207025 U CN216207025 U CN 216207025U
- Authority
- CN
- China
- Prior art keywords
- detection device
- mounting
- column
- fixing
- fixedly connected
- Prior art date
- Legal status (The legal status is an assumption and is not a legal conclusion. Google has not performed a legal analysis and makes no representation as to the accuracy of the status listed.)
- Active
Links
- 238000001514 detection method Methods 0.000 title claims abstract description 71
- 238000005286 illumination Methods 0.000 title abstract description 14
- 230000008093 supporting effect Effects 0.000 claims abstract description 3
- 230000000670 limiting effect Effects 0.000 claims description 14
- 230000001681 protective effect Effects 0.000 claims description 4
- 238000009434 installation Methods 0.000 abstract description 19
- 238000000034 method Methods 0.000 abstract description 9
- 230000000694 effects Effects 0.000 description 2
- 230000005489 elastic deformation Effects 0.000 description 2
- 241000282414 Homo sapiens Species 0.000 description 1
- 230000004075 alteration Effects 0.000 description 1
- 230000009286 beneficial effect Effects 0.000 description 1
- 238000012423 maintenance Methods 0.000 description 1
- 238000012986 modification Methods 0.000 description 1
- 230000004048 modification Effects 0.000 description 1
- 238000006467 substitution reaction Methods 0.000 description 1
Images
Landscapes
- Non-Portable Lighting Devices Or Systems Thereof (AREA)
Abstract
本实用新型公开了一种方便拆装的隧道照度探测装置,包括探测装置本体,所述探测装置本体置于呈水平状态的固定板上端的中部,且固定板的下端通过螺栓固定连接有具有支撑作用的连接支架,所述安装机构设置在探测装置本体与固定板的连接处,且安装机构带动探测装置本体与固定板之间构成拆卸结构,所述安装柱的中部开设有连接槽。该方便拆装的隧道照度探测装置,能够在探测结束后,对装置进行收纳,并且探测装置本体通过安装机构安装在固定板的上端,能够非常便捷的在探测装置本体发生故障时,对探测装置本体进行拆卸检修,并且通过固定板与连接柱之间的相对转动,能够在实际探测过程中,对探测角度进行调节,实用性高。
Description
技术领域
本实用新型涉及隧道照度探测相关技术领域,具体为一种方便拆装的隧道照度探测装置。
背景技术
隧道指的是埋置于地层内的工程建筑物,是人类利用地下空间的一种形式,由于隧道内缺乏光照条件,需要对隧道内部的照度进行探测,因而需要用到一种隧道照度探测装置,隧道照度探测装置在隧道的修建过程中发挥着重要的作用;
但是,通常所使用的隧道照度探测装置,在实际使用过程中,不方便对其探测的角度进行调节,并且在使用结束后,不方便对装置进行收纳,以及在装置发生故障时,不方便对装置进行拆卸检修,实用性不高;
为此我们提出了一种方便拆装的隧道照度探测装置,用来解决上述问题。
实用新型内容
本实用新型的目的在于提供一种方便拆装的隧道照度探测装置,以解决上述背景技术中提出的通常所使用的隧道照度探测装置,在实际使用过程中,不方便对其探测的角度进行调节,并且在使用结束后,不方便对装置进行收纳,以及在装置发生故障时,不方便对装置进行拆卸检修,实用性不高的问题。
为实现上述目的,本实用新型提供如下技术方案:一种方便拆装的隧道照度探测装置,包括探测装置本体,所述探测装置本体置于呈水平状态的固定板上端的中部,且固定板的下端通过螺栓固定连接有具有支撑作用的连接支架,并且连接支架的边缘处等角度开设有具有限位作用的固定孔;
安装机构,所述安装机构设置在探测装置本体与固定板的连接处,且安装机构带动探测装置本体与固定板之间构成拆卸结构,并且固定板的上端固定连接有保护罩;
安装柱,所述安装柱的中部开设有连接槽,且安装柱的左下端固定连接有把手。
优选的,所述连接支架的中部转动连接有呈“干”字形结构的固定柱,且固定柱的外表面套设有具有复位作用的第一弹簧,并且第一弹簧的活动端固定连接有连接块。
优选的,所述连接块上端的左右两端均固定连接有连接杆,且连接杆插接在相应位置的固定孔中,并且连接块通过固定柱与连接柱之间构成弹性结构;
其中,所述固定柱固定连接在连接块的下端。
优选的,所述安装机构包括外表面设置有螺纹的安装杆、套设在所述安装杆外表面的第二弹簧、固定连接在所述第二弹簧活动端且具有限位作用的安装板和具有锁紧功能的安装套;
其中,所述安装杆固定连接在固定板的上端。
优选的,所述安装套通过螺纹的方式与安装杆相连接,且安装套分别贴合设置在安装板的前后两端,并且安装板与安装杆之间构成滑动结构。
优选的,所述连接柱的左下端固定连接有呈“T”字形结构的固定块,且固定块置于连接槽的中部,并且固定块带动安装柱与连接柱之间构成相对滑动结构,而且安装柱的上端螺纹连接有具有限位作用的限位栓;
其中,所述限位栓插接在相应位置的固定槽中,且固定槽等间距设置在连接柱上。
与现有技术相比,本实用新型的有益效果是:该方便拆装的隧道照度探测装置,在实际使用过程中连接柱通过固定块与安装柱之间构成相对滑动结构,能够在探测结束后,对装置进行收纳,并且探测装置本体通过安装机构安装在固定板的上端,能够非常便捷的在探测装置本体发生故障时,对探测装置本体进行拆卸检修,并且通过固定板与连接柱之间的相对转动,能够在实际探测过程中,对探测角度进行调节,实用性高;
1、设有连接支架、连接杆、连接块和固定柱,连接支架固定连接在固定板的下端,固定板带动探测装置本体通过连接支架与固定柱之间构成相对转动结构,从而能够在实际使用过程中,对探测装置本体的探测角度进行调节,并且在调节完成后,通过连接块带动连接杆插进相应位置的固定孔中,对探测装置本体进行角度固定;
2、设有安装机构,安装机构包括安装杆、第二弹簧、安装板和安装套,安装板与安装杆之间构成滑动结构,安装板对探测装置本体进行限位固定,并且通过安装套对安装板进行锁紧,而且能够非常便捷的在探测装置本体发生故障时,对探测装置本体进行拆卸检修,操作便捷,实用性高;
3、设有固定块、连接槽和安装柱,固定块置于连接槽中,并且连接柱通过固定块与安装柱之间构成相对滑动结构,能够非常便捷的在探测使用结束后,对装置进行收纳,增加了探测装置本体的便携性,同时通过限位栓的设置,能够对连接柱与安装柱之间进行限位,结构简单,使用方便。
附图说明
图1为本实用新型正视结构示意图;
图2为本实用新型图1中A处放大结构示意图;
图3为本实用新型固定孔、连接杆和连接块之间连接俯视结构示意图;
图4为本实用新型固定板与安装机构连接侧视结构示意图;
图5为本实用新型安装杆、安装板与安装套连接侧视剖切结构示意图;
图6为本实用新型连接柱、固定块与安装柱连接正视剖切结构示意图。
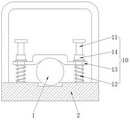
图中:1、探测装置本体;2、固定板;3、连接支架;4、固定孔;5、连接杆;6、连接块;7、固定柱;8、第一弹簧;9、连接柱;10、安装机构;11、安装杆;12、第二弹簧;13、安装板;14、安装套;15、固定槽;16、固定块;17、安装柱;18、连接槽;19、限位栓。
具体实施方式
下面将结合本实用新型实施例中的附图,对本实用新型实施例中的技术方案进行清楚、完整地描述,显然,所描述的实施例仅仅是本实用新型一部分实施例,而不是全部的实施例。基于本实用新型中的实施例,本领域普通技术人员在没有做出创造性劳动前提下所获得的所有其他实施例,都属于本实用新型保护的范围。
请参阅图1-6,本实用新型提供一种技术方案:一种方便拆装的隧道照度探测装置,包括探测装置本体1、固定板2、连接支架3、固定孔4、连接杆5、连接块6、固定柱7、第一弹簧8、连接柱9、安装机构10、安装杆11、第二弹簧12、安装板13、安装套14、固定槽15、固定块16、安装柱17、连接槽18和限位栓19。
在使用该方便拆装的隧道照度探测装置时,如图1、图2和图4所示,探测装置本体1通过安装机构10安装限位在固定板2的上端,安装机构10包括外表面设置有螺纹的安装杆11、套设在安装杆11外表面的第二弹簧12、固定连接在第二弹簧12活动端且具有限位作用的安装板13和具有锁紧功能的安装套14;
固定板2的下端通过螺栓固定连接有连接支架3,连接支架3的中部转动连接有呈“干”字形结构的固定柱7,固定柱7固定连接在连接柱9的上端,能够在实际探测过程中,通过向下拉动连接块6,连接块6在固定柱7上进行滑动,连接块6对第一弹簧8进行挤压,使得第一弹簧8发生弹性形变,连接块6带动连接杆5向下移动,使得连接杆5从固定孔4中抽出,并且如图3所示,固定孔4等角度设置在连接支架3上,转动固定板2带动探测装置本体1进行探测角度的调节,从而达到更好的探测效果;
角度调节完成后,松开连接块6,第一弹簧8恢复弹性形变,推动连接块6在固定柱7上进行滑动,将连接杆5插进相应位置的固定孔4中,对固定板2和探测装置本体1进行限位,使用新高,同时探测装置本体1的外侧照射有防护罩,防护罩固定连接在固定板2的上端,对探测装置本体1起到防护的作用;
如图1和图6所示,连接柱9的左下端固定连接有呈“T”字形结构的固定块16,固定块16置于连接槽18中,通过连接柱9与安装柱17之间进行相对滑动,便于对探测装置本体1的探测高度进行调节,通过固定块16对连接柱9和安装柱17之间进行限位,并且在调节至合适的高度时,通过转动螺纹连接在安装柱17上端的限位栓19,使得限位栓19插进相应位置的固定槽15中,固定槽15等间距设置在连接柱9的左端,从而对连接柱9与安装柱17之间进行限位,增加了装置的探测过程中的稳定性,同时可在使用结束后,将连接柱9向下滑动,便于对装置进行收纳,增加了装置的便携性;
此外,通过手持安装柱17下端的把手,对隧道的内部进行探测,当探测装置本体1发生故障时,如图2、图4和图5所示,通过转动螺纹连接在安装杆11外部的安装套14,安装套14松开对安装板13的限位,然后向上拉动安装板13,安装板13在安装杆11进行滑动,并且第二弹簧12的活动端与安装板13的下端固定连接,安装板13发生弹性形变,向上拉动安装板13,使得安装板13松开对探测装置本体1的限位,便于对探测装置本体1进行拆卸检修,操作便捷,实用性高。
尽管已经示出和描述了本实用新型的实施例,对于本领域的普通技术人员而言,可以理解在不脱离本实用新型的原理和精神的情况下可以对这些实施例进行多种变化、修改、替换和变型,本实用新型的范围由所附权利要求及其等同物限定。
Claims (6)
1.一种方便拆装的隧道照度探测装置,其特征在于,包括:
探测装置本体(1),所述探测装置本体(1)置于呈水平状态的固定板(2)上端的中部,且固定板(2)的下端通过螺栓固定连接有具有支撑作用的连接支架(3),并且连接支架(3)的边缘处等角度开设有具有限位作用的固定孔(4);
安装机构(10),所述安装机构(10)设置在探测装置本体(1)与固定板(2)的连接处,且安装机构(10)带动探测装置本体(1)与固定板(2)之间构成拆卸结构,并且固定板(2)的上端固定连接有保护罩;
安装柱(17),所述安装柱(17)的中部开设有连接槽(18),且安装柱(17)的左下端固定连接有把手。
2.根据权利要求1所述的一种方便拆装的隧道照度探测装置,其特征在于:所述连接支架(3)的中部转动连接有呈“干”字形结构的固定柱(7),且固定柱(7)的外表面套设有具有复位作用的第一弹簧(8),并且第一弹簧(8)的活动端固定连接有连接块(6)。
3.根据权利要求2所述的一种方便拆装的隧道照度探测装置,其特征在于:所述连接块(6)上端的左右两端均固定连接有连接杆(5),且连接杆(5)插接在相应位置的固定孔(4)中,并且连接块(6)通过固定柱(7)与连接柱(9)之间构成弹性结构;
其中,所述固定柱(7)固定连接在连接块(6)的下端。
4.根据权利要求1所述的一种方便拆装的隧道照度探测装置,其特征在于:所述安装机构(10)包括外表面设置有螺纹的安装杆(11)、套设在所述安装杆(11)外表面的第二弹簧(12)、固定连接在所述第二弹簧(12)活动端且具有限位作用的安装板(13)和具有锁紧功能的安装套(14);
其中,所述安装杆(11)固定连接在固定板(2)的上端。
5.根据权利要求4所述的一种方便拆装的隧道照度探测装置,其特征在于:所述安装套(14)通过螺纹的方式与安装杆(11)相连接,且安装套(14)分别贴合设置在安装板(13)的前后两端,并且安装板(13)与安装杆(11)之间构成滑动结构。
6.根据权利要求3所述的一种方便拆装的隧道照度探测装置,其特征在于:所述连接柱(9)的左下端固定连接有呈“T”字形结构的固定块(16),且固定块(16)置于连接槽(18)的中部,并且固定块(16)带动安装柱(17)与连接柱(9)之间构成相对滑动结构,而且安装柱(17)的上端螺纹连接有具有限位作用的限位栓(19);
其中,所述限位栓(19)插接在相应位置的固定槽(15)中,且固定槽(15)等间距设置在连接柱(9)上。
Priority Applications (1)
| Application Number | Priority Date | Filing Date | Title |
|---|---|---|---|
| CN202122611223.XU CN216207025U (zh) | 2021-10-28 | 2021-10-28 | 一种方便拆装的隧道照度探测装置 |
Applications Claiming Priority (1)
| Application Number | Priority Date | Filing Date | Title |
|---|---|---|---|
| CN202122611223.XU CN216207025U (zh) | 2021-10-28 | 2021-10-28 | 一种方便拆装的隧道照度探测装置 |
Publications (1)
| Publication Number | Publication Date |
|---|---|
| CN216207025U true CN216207025U (zh) | 2022-04-05 |
Family
ID=80892461
Family Applications (1)
| Application Number | Title | Priority Date | Filing Date |
|---|---|---|---|
| CN202122611223.XU Active CN216207025U (zh) | 2021-10-28 | 2021-10-28 | 一种方便拆装的隧道照度探测装置 |
Country Status (1)
| Country | Link |
|---|---|
| CN (1) | CN216207025U (zh) |
-
2021
- 2021-10-28 CN CN202122611223.XU patent/CN216207025U/zh active Active
Similar Documents
| Publication | Publication Date | Title |
|---|---|---|
| CN210319554U (zh) | 一种建筑工程用照明灯 | |
| CN216207025U (zh) | 一种方便拆装的隧道照度探测装置 | |
| CN209780327U (zh) | 一种装配式建筑用稳定支撑装置 | |
| CN215978315U (zh) | 一种建筑装修板材安装用支撑装置 | |
| CN221052956U (zh) | 一种建筑幕墙的防脱落结构 | |
| CN216878491U (zh) | 一种土建工程施工降尘装置 | |
| CN222455879U (zh) | 一种施工安全警示装置 | |
| CN223374441U (zh) | 一种带有警示板的矿用梯形支护架 | |
| CN211006610U (zh) | 一种深基坑实时监测系统 | |
| CN216010169U (zh) | 一种土建工程造价进度监督装置 | |
| CN215442943U (zh) | 一种建筑装饰用便于安装的固定架辅助装置 | |
| CN222667850U (zh) | 一种基坑物联网围栏 | |
| CN221233606U (zh) | 一种实用性强的房车露台结构 | |
| CN223202845U (zh) | 一种折叠式建筑施工用护栏 | |
| CN106122692B (zh) | 一种智能控制的户外显示屏安装部件及其安装方法 | |
| CN218543687U (zh) | 一种土木工程建筑施工用测距装置 | |
| CN222084194U (zh) | 一种市政道路基坑安全防护装置 | |
| CN215759006U (zh) | 一种建筑工程用的锚杆施工装置 | |
| CN215928999U (zh) | 一种勘测用全站仪支撑结构 | |
| CN221053378U (zh) | 一种便于安装的建筑施工围栏 | |
| CN219840468U (zh) | 一种建筑施工插接式临边围杆装置 | |
| CN220581061U (zh) | 一种巷道临时支撑装置 | |
| CN219933894U (zh) | 一种土木工程建设用照明设备安装结构 | |
| CN223549039U (zh) | 一种弧形酒店帐篷 | |
| CN222419486U (zh) | 一种光伏板支架用结构稳定性监测装置 |
Legal Events
| Date | Code | Title | Description |
|---|---|---|---|
| GR01 | Patent grant | ||
| GR01 | Patent grant |