CN216204954U - Portable stoving case - Google Patents
Portable stoving case Download PDFInfo
- Publication number
- CN216204954U CN216204954U CN202122378202.8U CN202122378202U CN216204954U CN 216204954 U CN216204954 U CN 216204954U CN 202122378202 U CN202122378202 U CN 202122378202U CN 216204954 U CN216204954 U CN 216204954U
- Authority
- CN
- China
- Prior art keywords
- drying box
- drying
- turntable
- bottom plate
- side wall
- Prior art date
- Legal status (The legal status is an assumption and is not a legal conclusion. Google has not performed a legal analysis and makes no representation as to the accuracy of the status listed.)
- Expired - Fee Related
Links
Images
Landscapes
- Drying Of Solid Materials (AREA)
Abstract
本实用新型公开了一种便捷式烘干箱。它包括内侧壁上设有加热板烘干箱体,其外壁底部连接有容纳盒,其内壁底部设有容纳槽,容纳槽内转动连接有转台,容纳盒的内部连接有驱动转台转动的驱动机构,转台上活动设有底板,底板的底部连接有与转台相抵接的轮子,底板的顶部连接有支撑筒,支撑筒的侧壁上连有若干带挂钩的烘干架,支撑筒内滑动连接有可贯穿底板的限位杆,限位杆为棱柱结构,支撑筒上设有限制限位杆滑动的限位机构,转台的顶部开设有与限位杆相配合的限位槽,容纳盒外的前端连接有斜板,斜板的顶部所在面、烘干箱体的内壁底部所在面和转台的顶部所在面均齐平设置。它不仅提高了烘干效果,同时也方便了工作人员在布料完成烘干后进行拿取。
The utility model discloses a convenient drying box. It includes a heating plate drying box on the inner side wall, a accommodating box is connected to the bottom of the outer wall, a accommodating groove is arranged at the bottom of the inner wall, a turntable is rotatably connected in the accommodating groove, and a drive mechanism that drives the turntable to rotate is connected inside the accommodating box. , the turntable is movably provided with a bottom plate, the bottom of the bottom plate is connected with a wheel abutting against the turntable, the top of the bottom plate is connected with a support cylinder, the side wall of the support cylinder is connected with a number of drying racks with hooks, and the support cylinder is slidably connected with A limit rod that can penetrate the bottom plate. The limit rod is a prismatic structure. The support cylinder is provided with a limit mechanism that restricts the limit rod from sliding. The top of the turntable is provided with a limit slot matched with the limit rod to accommodate the front end outside the box. The inclined plate is connected, and the top surface of the inclined plate, the bottom surface of the inner wall of the drying box and the top surface of the turntable are all arranged flush. It not only improves the drying effect, but also facilitates the staff to take the cloth after drying.
Description
技术领域technical field
本实用新型涉及烘干箱技术领域,特别是一种便捷式烘干箱。The utility model relates to the technical field of drying boxes, in particular to a convenient drying box.
背景技术Background technique
布料在完成印染或清洗后,往往会用烘干箱对布料进行烘干处理,然后才能进行下一步的工序处理,然而现有的烘干箱在对布料进行烘干时,大都是直接堆积在烘干箱内,这样不仅烘干效果不好,同时在烘干完成后工作人员拿取也不是很方便。After the fabric is printed, dyed or cleaned, the fabric is often dried in a drying box before the next step can be processed. However, when drying the fabric in the existing drying box, most of the fabrics are directly stacked in In the drying box, not only the drying effect is not good, but also it is not very convenient for the staff to take it after the drying is completed.
实用新型内容Utility model content
本实用新型的目的在于,提供一种便捷式烘干箱,不仅提高了烘干效果,同时也方便了工作人员在布料完成烘干后进行拿取。The purpose of the utility model is to provide a convenient drying box, which not only improves the drying effect, but also facilitates the staff to take the cloth after drying.
为解决上述技术问题,本实用新型采用如下的技术方案:In order to solve the above-mentioned technical problems, the utility model adopts the following technical solutions:
一种便捷式烘干箱,包括烘干箱体,所述烘干箱体的前端铰接有仓门,所述烘干箱体的内侧壁上连接有加热板,所述烘干箱体的外壁底部连接有容纳盒,所述烘干箱体的内壁底部开设有容纳槽,所述容纳槽内转动连接有转台,所述容纳盒的内部连接有驱动转台转动的驱动机构,所述转台上活动设置有底板,所述底板的底部连接有与转台相抵接的轮子,所述底板的顶部连接有支撑筒,所述支撑筒的上部侧壁上连接有若干带挂钩的烘干架,所述支撑筒内滑动连接有可贯穿底板的限位杆,所述限位杆为棱柱结构,所述支撑筒上设置有限制限位杆滑动的限位机构,所述转台的顶部开设有与限位杆位置相对应且尺寸相匹配的限位槽,所述容纳盒外的前端连接有斜板,所述斜板的顶部所在面、烘干箱体的内壁底部所在面和转台的顶部所在面均齐平设置。A portable drying box includes a drying box, a warehouse door is hinged at the front end of the drying box, a heating plate is connected to the inner side wall of the drying box, and an outer wall of the drying box is connected A accommodating box is connected to the bottom, an accommodating groove is opened at the bottom of the inner wall of the drying box, a turntable is rotatably connected in the accommodating groove, and a driving mechanism that drives the turntable to rotate is connected to the inside of the accommodating box, and the turntable is movable on the A bottom plate is provided, the bottom of the bottom plate is connected with a wheel abutting against the turntable, the top of the bottom plate is connected with a support cylinder, and a number of drying racks with hooks are connected on the upper side wall of the support cylinder. A limit rod that can penetrate the bottom plate is slidably connected in the cylinder. The limit rod is a prismatic structure. The support cylinder is provided with a limit mechanism to limit the limit rod sliding. Corresponding and matching limit grooves, the front end outside the receiving box is connected with a sloping plate, and the surface where the top of the sloping plate is located, the surface where the bottom of the inner wall of the drying box is located, and the surface where the top of the turntable is located are flush set up.
优选地,所述限位机构包括螺纹孔和螺栓,所述螺纹孔均匀分布在支撑筒的下部侧壁上,所述螺栓与螺纹孔螺纹连接,所述螺栓贯穿螺纹孔后与限位杆的侧壁相抵接。Preferably, the limiting mechanism includes threaded holes and bolts, the threaded holes are evenly distributed on the lower side wall of the support cylinder, the bolts are threadedly connected with the threaded holes, and the bolts pass through the threaded holes and are connected to the limit rod. side walls abut against each other.
优选地,所述驱动机构为驱动电机,所述驱动机构垂直且固定设置在容纳盒的内部,所述驱动机构的驱动轴延伸至烘干箱体内后与转台的底部固定连接。Preferably, the driving mechanism is a driving motor, the driving mechanism is vertically and fixedly arranged inside the accommodating box, and the driving shaft of the driving mechanism extends into the drying box and is fixedly connected to the bottom of the turntable.
优选地,所述支撑筒的侧壁上还连接有把手。Preferably, a handle is also connected to the side wall of the support cylinder.
优选地,所述轮子为万向轮。Preferably, the wheel is a universal wheel.
优选地,所述轮子上还安装有刹车。Preferably, brakes are also installed on the wheels.
与现有技术相比,本实用新型的有益之处在于:Compared with the prior art, the benefits of the present utility model are:
1)本实用新型通过提供一种便捷式烘干箱,不仅提高了烘干效果,同时也方便了工作人员在布料完成烘干后进行拿取;1) The utility model provides a convenient drying box, which not only improves the drying effect, but also facilitates the staff to take the cloth after drying;
2)通过在烘干箱体的前端铰接有仓门,在烘干箱体的内侧壁上连接有加热板,在烘干箱体的内壁底部开设有容纳槽,在容纳槽内转动连接有转台,在容纳盒的内部连接有驱动转台转动的驱动机构,在转台上活动设置有底板,在底板的底部连接有与转台相抵接的轮子,在底板的顶部连接有支撑筒,在支撑筒的上部侧壁上连接有若干带挂钩的烘干架,在支撑筒内滑动连接有可贯穿底板的限位杆,将限位杆设置为棱柱结构,在支撑筒上设置有限制限位杆滑动的限位机构,在转台的顶部开设有与限位杆位置相对应且尺寸相匹配的限位槽,在容纳盒外的前端连接有斜板,将斜板的顶部所在面、烘干箱体的内壁底部所在面和转台的顶部所在面均齐平设置,在操作时,将布料分别通过衣架挂在烘干架的挂钩上,推动底板经斜板后进入到烘干箱内,将限位杆向下滑动使得限位杆插入到限位槽内,随后使用限位机构对限制限位杆滑动即可,关闭仓门,控制驱动机构带动转台转动,转台的转动带动了限位杆、底板、支撑筒和烘干架的转动,烘干架的转动带动了布料的转动,与此同时,启动加热板进行加热,完成烘干后,打开仓门,操作限位机构远离限位杆,并向上滑动限位杆远离限位槽,最后将底板从烘干箱体内拉出即可,这不仅提高了烘干的效果,同时也方便了工作人员进行拿取;2) A warehouse door is hinged at the front end of the drying box, a heating plate is connected to the inner side wall of the drying box, an accommodating groove is opened at the bottom of the inner wall of the drying box, and a turntable is rotatably connected in the accommodating groove , a drive mechanism that drives the turntable to rotate is connected inside the accommodating box, a base plate is movably arranged on the turntable, a wheel that abuts against the turntable is connected at the bottom of the base plate, a support cylinder is connected at the top of the base plate, and the upper part of the support cylinder is connected A number of drying racks with hooks are connected on the side walls, and a limit rod that can penetrate the bottom plate is slidably connected in the support cylinder. The top of the turntable is provided with a limit slot corresponding to the position of the limit rod and matched in size, and a sloping plate is connected to the front end outside the accommodating box. The surface and the top surface of the turntable are set flush. During operation, hang the cloth on the hook of the drying rack through the hanger, push the bottom plate to enter the drying box through the inclined plate, and push the limit rod downward. Slide the limit rod into the limit slot, then use the limit mechanism to slide the limit limit rod, close the warehouse door, control the drive mechanism to drive the turntable to rotate, and the rotation of the turntable drives the limit rod, the bottom plate, the support cylinder And the rotation of the drying rack, the rotation of the drying rack drives the rotation of the fabric, and at the same time, the heating plate is started to heat, and after drying is completed, the warehouse door is opened, the limit mechanism is operated to stay away from the limit rod, and the limit is slid upwards. The position rod is far away from the limit slot, and finally the bottom plate can be pulled out from the drying box, which not only improves the drying effect, but also facilitates the staff to take it;
3)限位机构包括螺纹孔和螺栓,将螺纹孔均匀分布在支撑筒的下部侧壁上,螺栓与螺纹孔螺纹连接,所述螺栓贯穿螺纹孔后与限位杆的侧壁相抵接,当工作人员移动底板至烘干箱体内的转台上时,先旋转螺栓使得螺栓远离限位杆,限位杆由于重力向下滑动直至插入到限位槽内,再旋转螺栓直至其螺杆端与限位杆的侧壁相抵接,当布料完成烘干需要将底板拉出烘干箱体内时,先旋转螺栓使得螺栓远离限位杆,随后向上滑动限位杆使得限位杆远离限位槽,再旋转螺栓直至其螺杆端与限位杆的侧壁相抵接即可,最后将底板拉出,不仅操作起来十分便捷,同时也提高了限位杆、底板、支撑腿和烘干架在转动时的稳定性;3) The limit mechanism includes threaded holes and bolts. The threaded holes are evenly distributed on the lower side wall of the support cylinder. The bolts are threadedly connected with the threaded holes. When the worker moves the bottom plate to the turntable in the drying box, first rotate the bolt to keep the bolt away from the limit rod. The limit rod slides down due to gravity until it is inserted into the limit slot, and then rotates the bolt until its screw end is in contact with the limit rod. The side walls of the rods are in contact with each other. When the cloth is finished drying and the bottom plate needs to be pulled out of the drying box, first rotate the bolt to keep the bolt away from the limit rod, then slide the limit rod upward to make the limit rod away from the limit slot, and then rotate The bolt can be used until its screw end abuts the side wall of the limit rod, and finally the bottom plate is pulled out, which is not only very convenient to operate, but also improves the stability of the limit rod, bottom plate, support legs and drying rack during rotation. sex;
4)通过将驱动机构设置为驱动电机,将驱动机构垂直且固定设置在容纳盒的内部,将驱动机构的驱动轴延伸至烘干箱体内后与转台的底部固定连接,在操作时,启动驱动电机即可带动转台旋转,转台的旋转即可带动限位杆的转动,限位杆的转动即可带动支撑筒的旋转,支撑筒的旋转即可带动烘干架的转动,从而完成对布料的转动,以进一步提高烘干效果;4) By setting the driving mechanism as a driving motor, the driving mechanism is vertically and fixedly arranged inside the accommodating box, and the driving shaft of the driving mechanism is extended into the drying box and then fixedly connected with the bottom of the turntable. During operation, start the driving The motor can drive the turntable to rotate, the rotation of the turntable can drive the rotation of the limit rod, the rotation of the limit rod can drive the rotation of the support cylinder, and the rotation of the support cylinder can drive the rotation of the drying rack, thereby completing the rotation of the cloth. Rotate to further improve the drying effect;
5)通过在支撑筒的侧壁上还连接有把手,当完成烘干后,工作人员可打开仓门,手握把手将支撑筒、底板和烘干架拉出,从而进一步方便工作人员进行拿取;5) By connecting a handle on the side wall of the support cylinder, when the drying is completed, the staff can open the warehouse door and pull out the support cylinder, the bottom plate and the drying rack by holding the handle, so as to further facilitate the staff to take Pick;
6)通过将轮子设置为万向轮,万向轮的设置使得工作人员可对底板进行任意位置的移动,从而提高了操作的便捷性;6) By setting the wheel as a universal wheel, the setting of the universal wheel enables the staff to move the bottom plate at any position, thereby improving the convenience of operation;
7)通过在轮子上还安装有刹车,刹车的设置使得在对布料进行烘干时,工作人员可通过刹车将万向轮进行位置的固定,从而提高底板、支撑筒和烘干架在转动时的稳定性,得以进一步提高烘干效果。7) By installing brakes on the wheels, the brakes are set so that when drying the cloth, the staff can fix the position of the universal wheel through the brakes, so as to improve the rotation of the bottom plate, the support cylinder and the drying rack. The stability can further improve the drying effect.
附图说明Description of drawings
图1是本实用新型中实施例的内部结构示意图;Fig. 1 is the internal structure schematic diagram of the embodiment in the present utility model;
图2是图1中A部结构的放大示意图;Fig. 2 is the enlarged schematic diagram of A part structure in Fig. 1;
图3是图1中B部结构的放大示意图;Fig. 3 is the enlarged schematic diagram of B part structure in Fig. 1;
图4是本实用新型中实施例的外部结构示意图。FIG. 4 is a schematic diagram of the external structure of the embodiment of the present invention.
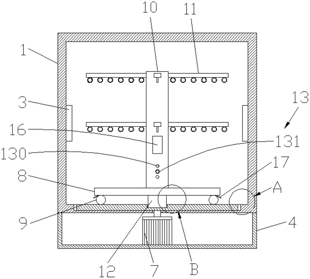
附图标记的含义:1、烘干箱体;2、仓门;3、加热板;4、容纳盒;5、容纳槽;6、转台;7、驱动机构;8、底板;9、轮子;10、支撑筒;11、烘干架;12、限位杆;13、限位机构;130、螺纹孔;131、螺栓;14、限位槽;15、斜板;16、把手;17、刹车。The meaning of the reference numerals: 1. Drying box; 2. Storage door; 3. Heating plate; 4. Receiving box; 5. Receiving groove; 6. Turntable; 7. Driving mechanism; 8. Bottom plate; 9. Wheel; 10, support cylinder; 11, drying rack; 12, limit rod; 13, limit mechanism; 130, threaded hole; 131, bolt; 14, limit groove; 15, inclined plate; 16, handle; 17, brake .
下面结合附图和具体实施方式对本实用新型作进一步的说明。The present utility model will be further described below with reference to the accompanying drawings and specific embodiments.
具体实施方式Detailed ways
下面将结合本实用新型实施例中的附图,对本实用新型实施例中的技术方案进行清楚、完整地描述,显然,所描述的实施例仅仅是本实用新型一部分实施例,而不是全部的实施例。基于本实用新型中的实施例,本领域普通技术人员在没有做出创造性劳动前提下所获得的所有其他实施例,都属于本实用新型保护的范围。The technical solutions in the embodiments of the present utility model will be clearly and completely described below with reference to the accompanying drawings in the embodiments of the present utility model. Obviously, the described embodiments are only a part of the embodiments of the present utility model, rather than all the implementations. example. Based on the embodiments of the present invention, all other embodiments obtained by those of ordinary skill in the art without creative work fall within the protection scope of the present invention.
在本实用新型的描述中,需要说明的是,术语“中心”、“上”、“下”、“左”、“右”、“竖直”、“水平”、“内”、“外”等指示的方位或位置关系为基于附图所示的方位或位置关系,仅是为了便于描述本实用新型和简化描述,而不是指示或暗示所指的装置或元件必须具有特定的方位、以特定的方位构造和操作,因此不能理解为对本实用新型的限制;术语“第一”、“第二”、“第三”仅用于描述目的,而不能理解为指示或暗示相对重要性;此外,除非另有明确的规定和限定,术语“安装”、“相连”、“连接”应做广义理解,例如,可以是固定连接,也可以是可拆卸连接,或一体地连接;可以是机械连接,也可以是电连接;可以是直接相连,也可以通过中间媒介间接相连,可以是两个元件内部的连通。对于本领域的普通技术人员而言,可以具体情况理解上述术语在本实用新型中的具体含义。In the description of the present invention, it should be noted that the terms "center", "upper", "lower", "left", "right", "vertical", "horizontal", "inner" and "outer" The orientation or positional relationship indicated by etc. is based on the orientation or positional relationship shown in the accompanying drawings, which is only for the convenience of describing the present invention and simplifying the description, rather than indicating or implying that the referred device or element must have a specific orientation, with a specific orientation. Therefore, it should not be construed as a limitation to the present invention; the terms "first", "second" and "third" are only used for descriptive purposes and should not be construed as indicating or implying relative importance; in addition, Unless otherwise expressly specified and limited, the terms "installed", "connected" and "connected" should be understood in a broad sense, for example, it may be a fixed connection, a detachable connection, or an integral connection; it may be a mechanical connection, It can also be an electrical connection; it can be a direct connection, an indirect connection through an intermediate medium, or an internal connection between two components. For those of ordinary skill in the art, the specific meanings of the above terms in the present invention can be understood in specific situations.
本实用新型的实施例:一种便捷式烘干箱,构成如图1至图4所示,包括烘干箱体1,所述烘干箱体1的前端铰接有仓门2,所述烘干箱体1的内侧壁上连接有加热板3,所述烘干箱体1的外壁底部连接有容纳盒4,所述烘干箱体1的内壁底部开设有容纳槽5,所述容纳槽5内转动连接有转台6,所述容纳盒4的内部连接有驱动转台6转动的驱动机构7,所述转台6上活动设置有底板8,所述底板8的底部连接有与转台6相抵接的轮子9,所述底板8的顶部连接有支撑筒10,所述支撑筒10的上部侧壁上连接有若干带挂钩的烘干架11,所述支撑筒10内滑动连接有可贯穿底板8的限位杆12,所述限位杆12为棱柱结构,所述支撑筒10上设置有限制限位杆12滑动的限位机构13,所述转台6的顶部开设有与限位杆12位置相对应且尺寸相匹配的限位槽14,所述容纳盒4外的前端连接有斜板15,所述斜板15的顶部所在面、烘干箱体1的内壁底部所在面和转台6的顶部所在面均齐平设置,在操作时,将布料分别通过衣架挂在烘干架11的挂钩上,推动底板8经斜板15后进入到烘干箱内,将限位杆12向下滑动使得限位杆12插入到限位槽14内,随后使用限位机构13对限制限位杆12滑动即可,关闭仓门2,控制驱动机构7带动转台6转动,转台6的转动带动了限位杆12、底板8、支撑筒10和烘干架11的转动,烘干架11的转动带动了布料的转动,与此同时,启动加热板3进行加热,完成烘干后,打开仓门2,操作限位机构13远离限位杆12,并向上滑动限位杆12远离限位槽14,最后将底板8从烘干箱体1内拉出即可,这不仅提高了烘干的效果,同时也方便了工作人员进行拿取。The embodiment of the present utility model: a portable drying box, the structure is shown in Figures 1 to 4, including a
所述限位机构13包括螺纹孔130和螺栓131,所述螺纹孔130均匀分布在支撑筒10的下部侧壁上,所述螺栓131与螺纹孔130螺纹连接,所述螺栓131贯穿螺纹孔130后与限位杆12的侧壁相抵接,当工作人员移动底板8至烘干箱体1内的转台6上时,先旋转螺栓131使得螺栓131远离限位杆12,限位杆12由于重力向下滑动直至插入到限位槽14内,再旋转螺栓131直至其螺杆端与限位杆12的侧壁相抵接,当布料完成烘干需要将底板8拉出烘干箱体1内时,先旋转螺栓131使得螺栓131远离限位杆12,随后向上滑动限位杆12使得限位杆12远离限位槽14,再旋转螺栓131直至其螺杆端与限位杆12的侧壁相抵接即可,最后将底板8拉出,不仅操作起来十分便捷,同时也提高了限位杆12、底板8、支撑腿和烘干架11在转动时的稳定性。The limiting
所述驱动机构7为驱动电机,所述驱动机构7垂直且固定设置在容纳盒4的内部,所述驱动机构7的驱动轴延伸至烘干箱体1内后与转台6的底部固定连接,在操作时,启动驱动电机即可带动转台6旋转,转台6的旋转即可带动限位杆12的转动,限位杆12的转动即可带动支撑筒10的旋转,支撑筒10的旋转即可带动烘干架11的转动,从而完成对布料的转动,以进一步提高烘干效果。The
所述支撑筒10的侧壁上还连接有把手16,当完成烘干后,工作人员可打开仓门2,手握把手16将支撑筒10、底板8和烘干架11拉出,从而进一步方便工作人员进行拿取。A
所述轮子9为万向轮,万向轮的设置使得工作人员可对底板8进行任意位置的移动,从而提高了操作的便捷性。The wheel 9 is a universal wheel, and the setting of the universal wheel enables the staff to move the
所述轮子9上还安装有刹车17,刹车17的设置使得在对布料进行烘干时,工作人员可通过刹车17将万向轮进行位置的固定,从而提高底板8、支撑筒10和烘干架11在转动时的稳定性,得以进一步提高烘干效果。A
本实用新型的工作原理:The working principle of the present utility model:
在操作时,将布料分别通过衣架挂在烘干架11的挂钩上,推动底板8经斜板15后进入到烘干箱内,先旋转螺栓131使得螺栓131远离限位杆12,限位杆12由于重力向下滑动直至插入到限位槽14内,再旋转螺栓131直至其螺杆端与限位杆12的侧壁相抵接,通过刹车17将万向轮进行位置的固定连接,关闭仓门2,启动驱动机构7带动转台6转动,转台6的转动带动了限位杆12、底板8、支撑筒10和烘干架11的转动,烘干架11的转动带动了布料的转动,与此同时,启动加热板3进行加热,完成烘干后,打开仓门2,先旋转螺栓131使得螺栓131远离限位杆12,随后向上滑动限位杆12使得限位杆12远离限位槽14,再旋转螺栓131直至其螺杆端与限位杆12的侧壁相抵接,最后将底板8从烘干箱体1内拉出即可,这不仅提高了烘干的效果,同时也方便了工作人员进行拿取。During operation, hang the cloth on the hooks of the
最后应说明的是:以上所述仅为本实用新型的优选实施例而已,并不用于限制本实用新型,尽管参照前述实施例对本实用新型进行了详细的说明,对于本领域的技术人员来说,其依然可以对前述各实施例所记载的技术方案进行修改,或者对其中部分技术特征进行等同替换,凡在本实用新型的精神和原则之内,所作的任何修改、等同替换、改进等,均应包含在本实用新型的保护范围之内。Finally, it should be noted that the above are only the preferred embodiments of the present invention, and are not intended to limit the present invention. , it can still modify the technical solutions described in the foregoing embodiments, or perform equivalent replacements to some of the technical features. Any modification, equivalent replacement, improvement, etc. made within the spirit and principle of the present utility model, All should be included within the protection scope of the present invention.
Claims (6)
Priority Applications (1)
| Application Number | Priority Date | Filing Date | Title |
|---|---|---|---|
| CN202122378202.8U CN216204954U (en) | 2021-09-29 | 2021-09-29 | Portable stoving case |
Applications Claiming Priority (1)
| Application Number | Priority Date | Filing Date | Title |
|---|---|---|---|
| CN202122378202.8U CN216204954U (en) | 2021-09-29 | 2021-09-29 | Portable stoving case |
Publications (1)
| Publication Number | Publication Date |
|---|---|
| CN216204954U true CN216204954U (en) | 2022-04-05 |
Family
ID=80927317
Family Applications (1)
| Application Number | Title | Priority Date | Filing Date |
|---|---|---|---|
| CN202122378202.8U Expired - Fee Related CN216204954U (en) | 2021-09-29 | 2021-09-29 | Portable stoving case |
Country Status (1)
| Country | Link |
|---|---|
| CN (1) | CN216204954U (en) |
Cited By (1)
| Publication number | Priority date | Publication date | Assignee | Title |
|---|---|---|---|---|
| CN115854701A (en) * | 2022-11-30 | 2023-03-28 | 湖南百柯农业科技有限公司 | A kind of black goat mutton jerky processing equipment and processing method |
-
2021
- 2021-09-29 CN CN202122378202.8U patent/CN216204954U/en not_active Expired - Fee Related
Cited By (1)
| Publication number | Priority date | Publication date | Assignee | Title |
|---|---|---|---|---|
| CN115854701A (en) * | 2022-11-30 | 2023-03-28 | 湖南百柯农业科技有限公司 | A kind of black goat mutton jerky processing equipment and processing method |
Similar Documents
| Publication | Publication Date | Title |
|---|---|---|
| CN210031261U (en) | Automatic folding storage device of clothing | |
| CN216204954U (en) | Portable stoving case | |
| CN108783946A (en) | A kind of vocational education teaching desk | |
| CN110584346A (en) | Over-and-under type filing cabinet convenient to file of taking | |
| CN111084492A (en) | Computer assembling workbench for computer technology research and development and method thereof | |
| CN211984408U (en) | Practical training platform for mechanical design | |
| CN209456770U (en) | ironing equipment | |
| CN116788390A (en) | An intelligent warehouse-type express delivery distribution vehicle | |
| CN209307719U (en) | ironing equipment | |
| CN209307729U (en) | Flat irons and ironing equipment | |
| CN209307720U (en) | ironing equipment | |
| CN209307721U (en) | ironing equipment | |
| CN216493442U (en) | Cigar tobacco leaf sunning frame | |
| CN220871343U (en) | Mutton sausage air-dries frame | |
| CN221880868U (en) | Computer drawing board for cartoon design | |
| CN211118538U (en) | Portable supporting device for safe | |
| CN219117796U (en) | Clothes hanger convenient for hanging coverlet | |
| CN210762515U (en) | Novel attic storage goods shelf | |
| CN219185790U (en) | A mahjong machine that is easy to install | |
| CN221987930U (en) | A hanging bracket for a wind turbine generator set | |
| CN206390620U (en) | A kind of Hanging chart stand of spool of tape | |
| CN112012347A (en) | Building board house structure | |
| CN222778106U (en) | Combined multifunctional biological experiment operation table | |
| CN112108380A (en) | Commodity circulation goods sorting device convenient to letter sorting | |
| CN218199740U (en) | A kind of biological detection kit |
Legal Events
| Date | Code | Title | Description |
|---|---|---|---|
| GR01 | Patent grant | ||
| GR01 | Patent grant | ||
| CF01 | Termination of patent right due to non-payment of annual fee |
Granted publication date: 20220405 |
|
| CF01 | Termination of patent right due to non-payment of annual fee |
