CN216191173U - Sewage treatment agitated vessel - Google Patents

Sewage treatment agitated vessel Download PDF

Info

Publication number
CN216191173U
CN216191173U CN202122730412.9U CN202122730412U CN216191173U CN 216191173 U CN216191173 U CN 216191173U CN 202122730412 U CN202122730412 U CN 202122730412U CN 216191173 U CN216191173 U CN 216191173U
Authority
CN
China
Prior art keywords
sewage
screw
stirring device
sewage treatment
drive
Prior art date
Legal status (The legal status is an assumption and is not a legal conclusion. Google has not performed a legal analysis and makes no representation as to the accuracy of the status listed.)
Expired - Fee Related
Application number
CN202122730412.9U
Other languages
Chinese (zh)
Inventor
王金
王辉
Current Assignee (The listed assignees may be inaccurate. Google has not performed a legal analysis and makes no representation or warranty as to the accuracy of the list.)
Hangzhou Shuangxin Environmental Technology Co ltd
Original Assignee
Hangzhou Shuangxin Environmental Technology Co ltd
Priority date (The priority date is an assumption and is not a legal conclusion. Google has not performed a legal analysis and makes no representation as to the accuracy of the date listed.)
Filing date
Publication date
Application filed by Hangzhou Shuangxin Environmental Technology Co ltd filed Critical Hangzhou Shuangxin Environmental Technology Co ltd
Priority to CN202122730412.9U priority Critical patent/CN216191173U/en
Application granted granted Critical
Publication of CN216191173U publication Critical patent/CN216191173U/en
Expired - Fee Related legal-status Critical Current
Anticipated expiration legal-status Critical

Links

Images

Landscapes

  • Mixers Of The Rotary Stirring Type (AREA)

Abstract

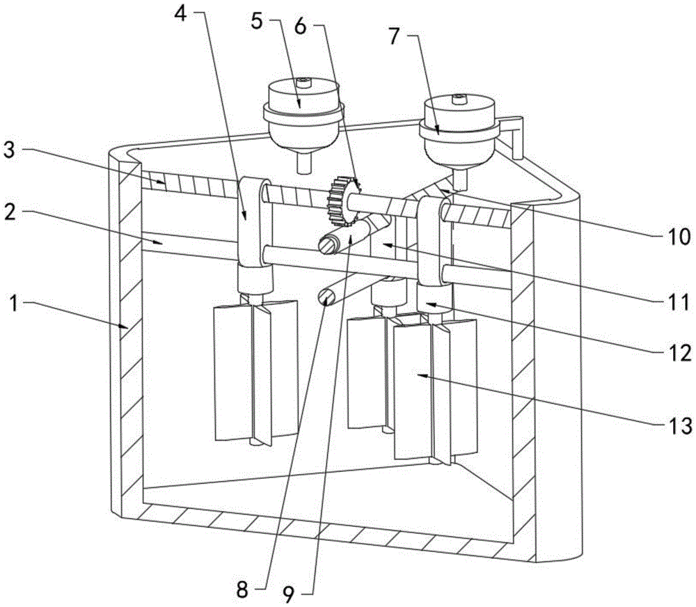
本实用新型公开了一种污水处理搅拌设备,包括污水池,所述污水池底部一侧连通有出水管,所述污水池的对角线位置上分别转动安装有第一传动螺杆和第二传动螺杆,所述第一传动螺杆和第二传动螺杆两端分别通过螺纹旋合连接有第一滑块和第二滑块,所述污水池外侧固定安装有与第二传动螺杆传动连接的第二驱动电机。本实用新型中,通过第二驱动电机驱动第二传动螺杆和蜗杆往复转动,蜗杆驱动蜗轮带动第一传动螺杆往复转动,两侧第一滑块和第二滑块分别带动其上的搅拌装置沿污水池的对角线往复移动,对污水池中部和边缘部分的污水进行充分搅拌,保证投入污水池内的药剂与污水充分混合,提高污水处理效率和效果。

Figure 202122730412

The utility model discloses a sewage treatment stirring device, which comprises a sewage tank, a water outlet pipe is communicated with one side of the bottom of the sewage tank, and a first transmission screw and a second transmission screw are respectively rotatably installed on the diagonal positions of the sewage tank. screw, both ends of the first driving screw and the second driving screw are respectively connected with a first sliding block and a second sliding block through screw threading, and a second sliding block which is drivingly connected with the second driving screw is fixedly installed on the outside of the sewage pool. motor. In the utility model, the second drive screw and the worm are driven to reciprocate by the second drive motor, the worm drives the worm wheel to drive the first drive screw to reciprocate, and the first sliding block and the second sliding block on both sides respectively drive the stirring device on it to rotate along the The diagonal line of the sewage tank moves back and forth, and the sewage in the middle and edge of the sewage tank is fully stirred to ensure that the chemicals put into the sewage tank are fully mixed with the sewage, and the efficiency and effect of sewage treatment are improved.

Figure 202122730412

Description

Sewage treatment agitated vessel
Technical Field
The utility model relates to the technical field of sewage treatment, in particular to sewage treatment stirring equipment.
Background
Sewage treatment, in order to make sewage reach the water quality requirement of discharging into a certain water body or reuse and carry out the process of purifying it, sewage treatment is widely used in each field such as building, agriculture, traffic, energy, petrochemical industry, environmental protection, urban landscape, medical treatment, food and beverage, also increasingly goes into common people's daily life.
Need use agitated vessel when sewage treatment, current partial agitated vessel agitating unit sets up in the middle of the effluent water sump, and agitating unit is when the stirring, and effluent water in the middle part of the effluent water sump obtains intensive mixing, with medicine intensive mixing, but is close to the sewage at effluent water sump edge, and agitating unit is less to its effect to lead to inside sewage of effluent water sump can't obtain intensive mixing.
SUMMERY OF THE UTILITY MODEL
The utility model aims to: in order to solve the technical problems mentioned in the background technology, a sewage treatment stirring device is provided.
In order to achieve the purpose, the utility model adopts the following technical scheme:
the utility model provides a sewage treatment agitated vessel, includes the effluent water sump, effluent water sump bottom one side intercommunication has the outlet pipe, rotate respectively on the diagonal position of effluent water sump and install first drive screw and second drive screw, and the screw thread at first drive screw and second drive screw both ends is to opposite soon, first drive screw and second drive screw both ends close soon through the screw thread respectively and are connected with first slider and the second slider that is rectilinear motion, and all install agitating unit bottom first slider and second slider, connect through the transmission assembly transmission between first drive screw and the second drive screw, effluent water sump outside fixed mounting has the second driving motor who is connected with the transmission of second drive screw.
As a further description of the above technical solution:
the transmission assembly comprises a worm wheel sleeved on the first transmission screw rod, and the second transmission screw rod is sleeved with a worm meshed with the worm wheel.
As a further description of the above technical solution:
the stirring device comprises a first driving motor fixedly mounted at the bottoms of the first sliding block and the second sliding block, and an output shaft of the first driving motor is in transmission connection with a stirring rod.
As a further description of the above technical solution:
and a first guide pillar and a second guide pillar are fixedly connected to diagonal positions of the sewage tank respectively, the first guide pillar penetrates through the first sliding blocks on the two sides, and the second guide pillar penetrates through the second sliding blocks on the two sides.
As a further description of the above technical solution:
the effluent water sump top is equipped with the workbin all around, and workbin top intercommunication has the inlet pipe, and bottom intercommunication discharging pipe.
As a further description of the above technical solution:
the workbin is arranged above a triangular area formed by the first transmission screw and the second transmission screw.
As a further description of the above technical solution:
the top of the sewage pool is fixedly connected with a support which is sleeved with a material box.
In summary, due to the adoption of the technical scheme, the utility model has the beneficial effects that:
1. according to the utility model, the second driving motor drives the second driving screw and the worm to rotate in a reciprocating manner, the worm drives the worm wheel to drive the first driving screw to rotate in a reciprocating manner according to the meshing transmission principle of the latch, and the first sliding blocks and the second sliding blocks on two sides respectively drive the stirring devices on the first sliding blocks to move in a reciprocating manner along the diagonal line of the sewage pool according to the thread transmission principle, so that sewage in the middle and the edge of the sewage pool is fully stirred, a medicament put into the sewage pool is guaranteed to be fully mixed with the sewage, and the sewage treatment efficiency and effect are improved.
2. According to the utility model, when sewage needs to be treated, the electromagnetic control valve is opened, the medicament automatically falls into the sewage pool, and the medicament simultaneously falls into the periphery of the sewage pool, so that the contact area of the medicament and the sewage is increased, and the sewage treatment efficiency and effect are improved.
Drawings
FIG. 1 is a schematic diagram illustrating an internal structure of a sewage treatment stirring apparatus according to an embodiment of the present invention;
FIG. 2 is a schematic perspective view of a sewage treatment stirring apparatus according to an embodiment of the present invention;
FIG. 3 is a schematic view showing the connection between a first driving screw and a second driving screw of a sewage treatment stirring apparatus according to an embodiment of the present invention;
FIG. 4 is a schematic top view of a sewage treatment stirring apparatus according to an embodiment of the present invention;
FIG. 5 is a schematic front view illustrating a sewage treatment stirring apparatus according to an embodiment of the present invention.
Illustration of the drawings:
1. a sewage tank; 2. a first guide post; 3. a first drive screw; 4. a first slider; 5. a material box; 6. a worm gear; 7. a support; 8. a second guide post; 9. a worm; 10. a second drive screw; 11. a second slider; 12. a first drive motor; 13. a stirring rod; 14. a second drive motor; 15. and (5) discharging a water pipe.
Detailed Description
The technical solutions in the embodiments of the present invention will be clearly and completely described below with reference to the drawings in the embodiments of the present invention, and it is obvious that the described embodiments are only a part of the embodiments of the present invention, and not all of the embodiments. All other embodiments, which can be derived by a person skilled in the art from the embodiments given herein without making any creative effort, shall fall within the protection scope of the present invention.
Referring to fig. 1-5, the present invention provides a technical solution: a sewage treatment stirring device comprises a sewage pool 1, one side of the bottom of the sewage pool 1 is communicated with a water outlet pipe 15, a first transmission screw 3 and a second transmission screw 10 are respectively rotatably arranged on diagonal positions of the sewage pool 1, the screw thread rotating directions of two ends of the first transmission screw 3 and the second transmission screw 10 are opposite, two ends of the first transmission screw 3 and two ends of the second transmission screw 10 are respectively connected with a first slide block 4 and a second slide block 11 which do linear motion in a screwing way through screw threads, a first guide pillar 2 and a second guide pillar 8 are respectively fixedly connected on the diagonal positions of the sewage pool 1, the first guide pillar 2 penetrates through the first slide blocks 4 on two sides, the second guide pillar 8 penetrates through the second slide blocks 11 on two sides, stirring devices are respectively arranged at the bottoms of the first slide block 4 and the second slide block 11, the first transmission screw 3 and the second transmission screw 10 are in transmission connection through a transmission assembly, the transmission assembly comprises a worm wheel 6 sleeved on the first transmission screw 3, a worm 9 meshed with the worm wheel 6 is sleeved on the second transmission screw 10, and a second driving motor 14 in transmission connection with the second transmission screw 10 is fixedly installed on the outer side of the sewage pool 1;
the second driving screw 10 and the worm 9 are driven to rotate in a reciprocating mode through the second driving motor 14, the worm 9 drives the worm wheel 6 to drive the first driving screw 3 to rotate in a reciprocating mode according to the meshing transmission principle of the latch, the first sliding blocks 4 and the second sliding blocks 11 on the two sides respectively drive the stirring devices on the first sliding blocks to move in a reciprocating mode along the diagonal line of the sewage pool 1 according to the thread transmission principle, sewage in the middle and the edge of the sewage pool 1 is fully stirred, the fact that a medicament thrown into the sewage pool 1 is fully mixed with the sewage is guaranteed, and sewage treatment efficiency and effect are improved.
Specifically, as shown in fig. 3, the stirring device includes a first driving motor 12 fixedly installed at the bottom of the first slider 4 and the second slider 11, an output shaft of the first driving motor 12 is connected with a stirring rod 13 in a transmission manner, and the stirring rod 13 is driven to rotate by the first driving motor 12 to stir the sewage.
Specifically, as shown in fig. 2 and 4, 1 top of effluent water sump is equipped with workbin 5 all around, 1 top fixedly connected with of effluent water sump cup joints support 7 of workbin 5, and workbin 5 top intercommunication has the inlet pipe, bottom intercommunication discharging pipe, workbin 5 sets up in the triangle region top that first drive screw 3 and second drive screw 10 formed, the medicament that has the treatment sewage in the workbin 5, install solenoid electric valve on the discharging pipe, when needs are handled sewage, open solenoid electric valve, the medicament is automatic to fall into in effluent water sump 1, and effluent water sump 1 all has the medicament to fall into simultaneously all around, improve the area of contact of medicament and sewage, improve sewage treatment efficiency and effect.
The working principle is as follows: when the device is used, firstly, when sewage is required to be treated, the electromagnetic control valve is opened, the medicament automatically falls into the sewage pool 1, and the medicament around the sewage pool 1 simultaneously falls, so that the contact area of the medicament and the sewage is improved, secondly, the second driving screw 10 and the worm 9 are driven to rotate in a reciprocating manner by the second driving motor 14, according to the meshing transmission principle of the latch, the worm 9 drives the worm wheel 6 to drive the first driving screw 3 to rotate in a reciprocating manner, according to the thread transmission principle, the first sliding blocks 4 and the second sliding blocks 11 on two sides respectively drive the stirring devices on the two sides to move in a reciprocating manner along the diagonal line of the sewage pool 1, so that the sewage in the middle and edge parts of the sewage pool 1 is fully stirred, the medicament and the sewage which are put into the sewage pool 1 are fully mixed, and the sewage treatment efficiency and effect are improved.
The above description is only for the preferred embodiment of the present invention, but the scope of the present invention is not limited thereto, and any person skilled in the art should be considered to be within the technical scope of the present invention, and equivalent alternatives or modifications according to the technical solution of the present invention and the inventive concept thereof should be covered by the scope of the present invention.

Claims (7)

1.一种污水处理搅拌设备,包括污水池(1),所述污水池(1)底部一侧连通有出水管(15),其特征在于,所述污水池(1)的对角线位置上分别转动安装有第一传动螺杆(3)和第二传动螺杆(10),且第一传动螺杆(3)和第二传动螺杆(10)两端的螺纹旋向相反,所述第一传动螺杆(3)和第二传动螺杆(10)两端分别通过螺纹旋合连接有做直线运动的第一滑块(4)和第二滑块(11),且第一滑块(4)和第二滑块(11)底部均安装有搅拌装置,所述第一传动螺杆(3)和第二传动螺杆(10)之间通过传动组件传动连接,所述污水池(1)外侧固定安装有与第二传动螺杆(10)传动连接的第二驱动电机(14)。1. A sewage treatment stirring device, comprising a sewage tank (1), and a water outlet pipe (15) is communicated with one side of the bottom of the sewage tank (1), characterized in that the diagonal position of the sewage tank (1) A first drive screw (3) and a second drive screw (10) are respectively rotatably installed thereon, and the threads at both ends of the first drive screw (3) and the second drive screw (10) have opposite directions of rotation, the first drive screw (3) and the two ends of the second drive screw (10) are respectively connected with a first sliding block (4) and a second sliding block (11) for linear motion through threading, and the first sliding block (4) and the second sliding block (11) are A stirring device is installed at the bottom of the two sliding blocks (11), the first transmission screw (3) and the second transmission screw (10) are connected by transmission through a transmission assembly, and the outside of the sewage pool (1) is fixedly installed with a The second drive screw (10) drives the connected second drive motor (14). 2.根据权利要求1所述的一种污水处理搅拌设备,其特征在于,所述传动组件包括套接在第一传动螺杆(3)上的蜗轮(6),所述第二传动螺杆(10)上套接有与蜗轮(6)啮合连接的蜗杆(9)。2. A sewage treatment stirring device according to claim 1, characterized in that the transmission assembly comprises a worm gear (6) sleeved on the first transmission screw (3), and the second transmission screw (10) ) is sleeved with a worm (9) meshingly connected with the worm wheel (6). 3.根据权利要求1所述的一种污水处理搅拌设备,其特征在于,所述搅拌装置包括固定安装在第一滑块(4)和第二滑块(11)底部的第一驱动电机(12),所述第一驱动电机(12)的输出轴传动连接有搅拌杆(13)。3. A sewage treatment stirring device according to claim 1, characterized in that the stirring device comprises a first drive motor ( 12), a stirring rod (13) is drivingly connected to the output shaft of the first drive motor (12). 4.根据权利要求1所述的一种污水处理搅拌设备,其特征在于,所述污水池(1)的对角线位置上分别固定连接有第一导柱(2)和第二导柱(8),所述第一导柱(2)贯穿两侧第一滑块(4),所述第二导柱(8)贯穿两侧第二滑块(11)。4. A sewage treatment stirring device according to claim 1, characterized in that a first guide post (2) and a second guide post ( 8), the first guide post (2) penetrates the first slide blocks (4) on both sides, and the second guide post (8) penetrates the second slide blocks (11) on both sides. 5.根据权利要求1所述的一种污水处理搅拌设备,其特征在于,所述污水池(1)顶部四周设有料箱(5),且料箱(5)顶部连通有进料管,底部连通出料管。5. A sewage treatment stirring device according to claim 1, characterized in that, a material box (5) is arranged around the top of the sewage pool (1), and a feeding pipe is connected to the top of the material box (5), and the bottom is Connect the discharge pipe. 6.根据权利要求5所述的一种污水处理搅拌设备,其特征在于,所述料箱(5)设置于第一传动螺杆(3)和第二传动螺杆(10)形成的三角区域上方。6 . The sewage treatment stirring device according to claim 5 , wherein the material box ( 5 ) is arranged above the triangular area formed by the first driving screw ( 3 ) and the second driving screw ( 10 ). 7 . 7.根据权利要求5所述的一种污水处理搅拌设备,其特征在于,所述污水池(1)顶部固定连接有套接料箱(5)的支架(7)。7 . The sewage treatment stirring device according to claim 5 , wherein a bracket ( 7 ) for sleeved material box ( 5 ) is fixedly connected to the top of the sewage pool ( 1 ). 8 .
CN202122730412.9U 2021-11-09 2021-11-09 Sewage treatment agitated vessel Expired - Fee Related CN216191173U (en)

Priority Applications (1)

Application Number Priority Date Filing Date Title
CN202122730412.9U CN216191173U (en) 2021-11-09 2021-11-09 Sewage treatment agitated vessel

Applications Claiming Priority (1)

Application Number Priority Date Filing Date Title
CN202122730412.9U CN216191173U (en) 2021-11-09 2021-11-09 Sewage treatment agitated vessel

Publications (1)

Publication Number Publication Date
CN216191173U true CN216191173U (en) 2022-04-05

Family

ID=80906719

Family Applications (1)

Application Number Title Priority Date Filing Date
CN202122730412.9U Expired - Fee Related CN216191173U (en) 2021-11-09 2021-11-09 Sewage treatment agitated vessel

Country Status (1)

Country Link
CN (1) CN216191173U (en)

Cited By (1)

* Cited by examiner, † Cited by third party
Publication number Priority date Publication date Assignee Title
CN114777449A (en) * 2022-04-29 2022-07-22 徐静 Ecological fertilizer drying device and drying method thereof

Cited By (1)

* Cited by examiner, † Cited by third party
Publication number Priority date Publication date Assignee Title
CN114777449A (en) * 2022-04-29 2022-07-22 徐静 Ecological fertilizer drying device and drying method thereof

Similar Documents

Publication Publication Date Title
CN214735023U (en) A effluent treatment plant for organic synthesis
CN216191173U (en) Sewage treatment agitated vessel
CN214715979U (en) Electroplating effluent pretreatment flocculation agitating unit
CN213790210U (en) A effluent treatment plant for aluminum product electroplates processing
CN208218479U (en) A kind of flocculant for sewage treatment deployment device
CN213050381U (en) Equipment is prepared to alum water for municipal administration sewage treatment
CN118010468B (en) Mixing device and method for food detection
CN209113557U (en) A kind of multistage flocculation tanks
CN216498831U (en) Metallurgical material stirring equipment
CN216404057U (en) Treatment reaction tank suitable for intermittent discharge of domestic sewage
CN116726771A (en) Preparation equipment and method of decolorizing flocculant
CN214344489U (en) Multiple-effect enrichment facility
CN209010158U (en) A kind of Nano diamond purification devices
CN213802959U (en) Submersible mixer for sewage treatment
CN211169919U (en) Sewage treatment mixer
CN116177704A (en) Sewage treatment flocculation precipitation solid-liquid separation device and method
CN219297245U (en) A sewage treatment flocculation tank
CN218981242U (en) Corrugated paper pulp stirring equipment
CN221117038U (en) Sewage treatment device
CN220149350U (en) High-salt concentrated water dephosphorization reaction tank with high efficiency
CN223342447U (en) Sewage purifying tank with evenly mixed medicament
CN221288858U (en) A wash medicine device for traditional chinese medicine raw materials processing
CN215842567U (en) Medicament mixing stirring device for sewage treatment
CN223547726U (en) Nickel wastewater recovery device
CN219620952U (en) Industrial waste liquid processor

Legal Events

Date Code Title Description
GR01 Patent grant
GR01 Patent grant
CF01 Termination of patent right due to non-payment of annual fee

Granted publication date: 20220405

CF01 Termination of patent right due to non-payment of annual fee