CN216184295U - 一种汽车后悬架的缓冲机构 - Google Patents
一种汽车后悬架的缓冲机构 Download PDFInfo
- Publication number
- CN216184295U CN216184295U CN202122752837.XU CN202122752837U CN216184295U CN 216184295 U CN216184295 U CN 216184295U CN 202122752837 U CN202122752837 U CN 202122752837U CN 216184295 U CN216184295 U CN 216184295U
- Authority
- CN
- China
- Prior art keywords
- shock absorber
- absorber main
- fixing frame
- sides
- top end
- Prior art date
- Legal status (The legal status is an assumption and is not a legal conclusion. Google has not performed a legal analysis and makes no representation as to the accuracy of the status listed.)
- Expired - Fee Related
Links
- 239000000725 suspension Substances 0.000 title claims abstract description 20
- 230000035939 shock Effects 0.000 claims abstract description 46
- 239000006096 absorbing agent Substances 0.000 claims abstract description 41
- 230000007246 mechanism Effects 0.000 claims abstract description 20
- 230000003139 buffering effect Effects 0.000 claims description 20
- 206010033307 Overweight Diseases 0.000 abstract description 7
- 230000000694 effects Effects 0.000 description 3
- 238000010521 absorption reaction Methods 0.000 description 2
- 230000000712 assembly Effects 0.000 description 1
- 238000000429 assembly Methods 0.000 description 1
- 230000009286 beneficial effect Effects 0.000 description 1
- 239000003638 chemical reducing agent Substances 0.000 description 1
- 238000009413 insulation Methods 0.000 description 1
- 238000000034 method Methods 0.000 description 1
Images
Landscapes
- Vehicle Body Suspensions (AREA)
Abstract
本实用新型公开了一种汽车后悬架的缓冲机构,包括缓冲支架,所述缓冲支架的两侧外壁上皆活动安装有下摆臂,且所述下摆臂顶端的一侧活动安装有减震器主体,所述缓冲支架的两侧外壁上皆固定有上限位座,且所述上限位座的内部活动安装有上摆臂,所述上摆臂的底端与减震器主体的顶端活动连接,所述减震器主体共设置有四只,每两只减震器主体为一组,所述缓冲支架的顶端安装有下固定架,且所述下固定架的顶端固定有上固定架。本实用新型不仅利用六点式的连接结构提高机构的紧固强度,可适用于高负载、高重量的车架,增强车辆的形式舒适性,还增强缓冲机构后期调试的便捷性。
Description
技术领域
本实用新型涉及汽车后悬架技术领域,具体为一种汽车后悬架的缓冲机构。
背景技术
汽车作为目前最主要的交通工具,其舒适性和安全性被重视的程度也越来越高,前、后悬架总成是连接车身和底盘的关键部件,其中悬架弹簧则是支撑车身重量的主要部件,而支撑悬架弹簧的结构也至关重要。在汽车的行驶过程中,悬架总成频繁的发生上下位移,这一交变的载荷都由悬架弹簧传递到车身的相应部件上,在轻型汽车中,后悬架一般包括后主减速器总成和轮边总成以及缓冲机构三大部分,缓冲机构主要降低轮胎传递给车身的震动量。
现今市场上的此类后悬架缓冲机构种类繁多,但是依然存在一定的不足之处,现有的此类后悬架缓冲机构在使用过程中,多是利用单根减震器以及摆臂组件进行支撑,使得缓冲机构难以适用于高负载、高重量的车身,导致该类缓冲机构的吸能、隔震效果难以满足使用需求。
发明内容
本实用新型的目的在于提供一种汽车后悬架的缓冲机构,以解决上述背景技术中提出缓冲机构难以适用于高负载、高重量车身的问题。
为实现上述目的,本实用新型提供如下技术方案:一种汽车后悬架的缓冲机构,包括缓冲支架,所述缓冲支架的两侧外壁上皆活动安装有下摆臂,且所述下摆臂顶端的一侧活动安装有减震器主体,所述缓冲支架的两侧外壁上皆固定有上限位座,且所述上限位座的内部活动安装有上摆臂,所述上摆臂的底端与减震器主体的顶端活动连接,所述减震器主体共设置有四只,每两只减震器主体为一组,所述缓冲支架的顶端安装有下固定架,且所述下固定架的顶端固定有上固定架,所述下固定架的内部贯穿有后驱动轴,后驱动轴的两端延伸至缓冲支架的外部。
优选的,所述缓冲支架顶部的两侧皆固定有轴承座,所述缓冲支架顶端的两侧皆固定有托座。
优选的,所述上摆臂底端的两侧皆固定有铰接座,且所述铰接座的内部活动安装有鱼眼接头,鱼眼接头的底端与减震器主体的顶端固定连接。
优选的,所述减震器主体表面的一侧开设有外螺纹槽,且所述外螺纹槽的表面螺纹配合有挡环,所述挡环的底端安装有弹簧。
优选的,所述下固定架的两侧外壁上皆开设有预制轴孔,预制轴孔直径大于后驱动轴的外径。
优选的,所述上固定架的顶端开设有定位孔,且所述定位孔共有六组,所述上固定架的两内侧壁上皆安装有紧固螺栓,紧固螺栓的螺纹端延伸至下固定架的内部。
与现有技术相比,本实用新型的有益效果是:
本实用新型不仅利用六点式的连接结构提高机构的紧固强度,可适用于高负载、高重量的车架,增强车辆的形式舒适性,还增强缓冲机构后期调试的便捷性;
(1)通过设置有上固定架和下固定架等相互配合的结构,将外部螺栓贯穿至定位孔的外部,此时上固定架、下固定架以及缓冲支架同车架后部连接,利用六点式的连接结构提高缓冲支架的紧固强度,使得该缓冲结构在工作时更加稳定、可靠;
(2)通过设置有下摆臂和减震器主体等相互配合的结构,后轮边结构带动下摆臂向上运动,此时单边的两组减震器主体以及弹簧呈压缩状态,利用两组减震器主体降低该部分的震动,能够为车架后部起到缓冲作用,可适用于高负载、高重量的车架,增强车辆的形式舒适性;
(3)通过设置有挡环和弹簧等相互配合的结构,当需要调节该缓冲结构的减震强度时,工作人员可手动转动挡环,使得挡环在减震器主体的外螺纹槽上转动,当挡环上移后,弹簧扩张一部分,此时该缓冲结构有更大的伸缩余量,满足不同驾驶风格的需要。
附图说明
图1为本实用新型的主视结构示意图;
图2为本实用新型图1中A处放大结构示意图;
图3为本实用新型的侧视结构示意图;
图4为本实用新型的下固定架侧视放大结构示意图;
图5为本实用新型的上固定架俯视结构示意图;
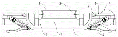
图中:1、缓冲支架;2、下摆臂;3、上限位座;4、上摆臂;5、减震器主体;6、下固定架;601、预制轴孔;7、上固定架;701、定位孔;8、紧固螺栓;9、后驱动轴;10、铰接座;11、鱼眼接头;12、外螺纹槽;13、挡环;14、弹簧;15、轴承座;16、托座。
具体实施方式
下面将结合本实用新型实施例中的附图,对本实用新型实施例中的技术方案进行清楚、完整地描述。基于本实用新型中的实施例,本领域普通技术人员在没有做出创造性劳动前提下所获得的所有其他实施例,都属于本实用新型保护的范围。
请参阅图1-5,本实用新型提供的一种实施例:一种汽车后悬架的缓冲机构,包括缓冲支架1,缓冲支架1的两侧外壁上皆活动安装有下摆臂2,且下摆臂2顶端的一侧活动安装有减震器主体5,缓冲支架1的两侧外壁上皆固定有上限位座3,且上限位座3的内部活动安装有上摆臂4,上摆臂4的底端与减震器主体5的顶端活动连接,减震器主体5共设置有四只,每两只减震器主体5为一组,减震器主体5表面的一侧开设有外螺纹槽12,且外螺纹槽12的表面螺纹配合有挡环13,挡环13的底端安装有弹簧14,当需要调节该缓冲结构的减震强度时,工作人员可手动转动挡环13,使得挡环13在减震器主体5的外螺纹槽12上转动,当挡环13上移时,弹簧14扩张一部分,此时该缓冲结构有更大的伸缩余量,满足不同驾驶风格的需要;
后轮边结构可带动下摆臂2向上运动,此时单边的两组减震器主体5以及弹簧14呈压缩状态;
上摆臂4底端的两侧皆固定有铰接座10,且铰接座10的内部活动安装有鱼眼接头11,鱼眼接头11的底端与减震器主体5的顶端固定连接,铰接座10和鱼眼接头11可对减震器主体5的运动起到支撑和导向的作用;
利用两组减震器主体5降低该部分的震动,能够为车架后部起到缓冲作用,可适用于高负载、高重量的车架,增强车辆的形式舒适性;
缓冲支架1的顶端安装有下固定架6,下固定架6的两侧外壁上皆开设有预制轴孔601,且下固定架6的顶端固定有上固定架7,上固定架7的顶端开设有定位孔701,且定位孔701共有六组,上固定架7的两内侧壁上皆安装有紧固螺栓8,紧固螺栓8的螺纹端延伸至下固定架6的内部,将上固定架7放置于车架底端,随后将外部螺栓贯穿至定位孔701的外部,此时上固定架7、下固定架6以及缓冲支架1同车架后部连接;
利用六点式的连接结构提高缓冲支架1的紧固强度,使得该缓冲结构在工作时更加稳定、可靠;
下固定架6的内部贯穿有后驱动轴9,预制轴孔601直径大于后驱动轴9的外径,后驱动轴9的两端延伸至缓冲支架1的外部,缓冲支架1顶部的两侧皆固定有轴承座15,缓冲支架1顶端的两侧皆固定有托座16,在后驱动轴9驱动后轮边结构工作时,轴承座15、托座16可对后驱动轴9起到支撑、限位的作用。
本申请实施例在使用时,首先将上固定架7放置于车架底端,随后将外部螺栓贯穿至定位孔701的外部,此时上固定架7、下固定架6以及缓冲支架1同车架后部连接,利用六点式的连接结构提高缓冲支架1的紧固强度,使得该缓冲结构在工作时更加稳定、可靠,在后驱动轴9的两端安装后轮边结构,在车轮行驶遇到颠簸后,后轮边结构带动下摆臂2向上运动,此时单边的两组减震器主体5以及弹簧14呈压缩状态,铰接座10和鱼眼接头11可对减震器主体5的运动起到支撑和导向的作用,利用两组减震器主体5降低该部分的震动,能够为车架后部起到缓冲作用,可适用于高负载、高重量的车架,增强车辆的形式舒适性,在后驱动轴9驱动后轮边结构工作时,轴承座15、托座16可对后驱动轴9起到支撑、限位的作用,当需要调节该缓冲结构的减震强度时,工作人员可手动转动挡环13,使得挡环13在减震器主体5的外螺纹槽12上转动,当挡环13上移时,弹簧14扩张一部分,此时该缓冲结构有更大的伸缩余量,满足不同驾驶风格的需要,增强缓冲机构后期调试的便捷性。
Claims (6)
1.一种汽车后悬架的缓冲机构,其特征在于:包括缓冲支架(1),所述缓冲支架(1)的两侧外壁上皆活动安装有下摆臂(2),且所述下摆臂(2)顶端的一侧活动安装有减震器主体(5),所述缓冲支架(1)的两侧外壁上皆固定有上限位座(3),且所述上限位座(3)的内部活动安装有上摆臂(4),所述上摆臂(4)的底端与减震器主体(5)的顶端活动连接,所述减震器主体(5)共设置有四只,每两只减震器主体(5)为一组,所述缓冲支架(1)的顶端安装有下固定架(6),且所述下固定架(6)的顶端固定有上固定架(7),所述下固定架(6)的内部贯穿有后驱动轴(9),后驱动轴(9)的两端延伸至缓冲支架(1)的外部。
2.根据权利要求1所述的一种汽车后悬架的缓冲机构,其特征在于:所述缓冲支架(1)顶部的两侧皆固定有轴承座(15),所述缓冲支架(1)顶端的两侧皆固定有托座(16)。
3.根据权利要求1所述的一种汽车后悬架的缓冲机构,其特征在于:所述上摆臂(4)底端的两侧皆固定有铰接座(10),且所述铰接座(10)的内部活动安装有鱼眼接头(11),鱼眼接头(11)的底端与减震器主体(5)的顶端固定连接。
4.根据权利要求1所述的一种汽车后悬架的缓冲机构,其特征在于:所述减震器主体(5)表面的一侧开设有外螺纹槽(12),且所述外螺纹槽(12)的表面螺纹配合有挡环(13),所述挡环(13)的底端安装有弹簧(14)。
5.根据权利要求1所述的一种汽车后悬架的缓冲机构,其特征在于:所述下固定架(6)的两侧外壁上皆开设有预制轴孔(601),预制轴孔(601)直径大于后驱动轴(9)的外径。
6.根据权利要求1所述的一种汽车后悬架的缓冲机构,其特征在于:所述上固定架(7)的顶端开设有定位孔(701),且所述定位孔(701)共有六组,所述上固定架(7)的两内侧壁上皆安装有紧固螺栓(8),紧固螺栓(8)的螺纹端延伸至下固定架(6)的内部。
Priority Applications (1)
| Application Number | Priority Date | Filing Date | Title |
|---|---|---|---|
| CN202122752837.XU CN216184295U (zh) | 2021-11-11 | 2021-11-11 | 一种汽车后悬架的缓冲机构 |
Applications Claiming Priority (1)
| Application Number | Priority Date | Filing Date | Title |
|---|---|---|---|
| CN202122752837.XU CN216184295U (zh) | 2021-11-11 | 2021-11-11 | 一种汽车后悬架的缓冲机构 |
Publications (1)
| Publication Number | Publication Date |
|---|---|
| CN216184295U true CN216184295U (zh) | 2022-04-05 |
Family
ID=80909191
Family Applications (1)
| Application Number | Title | Priority Date | Filing Date |
|---|---|---|---|
| CN202122752837.XU Expired - Fee Related CN216184295U (zh) | 2021-11-11 | 2021-11-11 | 一种汽车后悬架的缓冲机构 |
Country Status (1)
| Country | Link |
|---|---|
| CN (1) | CN216184295U (zh) |
Cited By (1)
| Publication number | Priority date | Publication date | Assignee | Title |
|---|---|---|---|---|
| KR20240140650A (ko) * | 2023-03-17 | 2024-09-24 | 손정완 | 전기차용 서스펜션 유닛 |
-
2021
- 2021-11-11 CN CN202122752837.XU patent/CN216184295U/zh not_active Expired - Fee Related
Cited By (2)
| Publication number | Priority date | Publication date | Assignee | Title |
|---|---|---|---|---|
| KR20240140650A (ko) * | 2023-03-17 | 2024-09-24 | 손정완 | 전기차용 서스펜션 유닛 |
| KR102768277B1 (ko) * | 2023-03-17 | 2025-02-17 | 손정완 | 전기차용 서스펜션 유닛 |
Similar Documents
| Publication | Publication Date | Title |
|---|---|---|
| CN216184295U (zh) | 一种汽车后悬架的缓冲机构 | |
| CN116923571B (zh) | 一种驾驶室翻转机构及商用车 | |
| CN210760131U (zh) | 空气悬架系统和车辆 | |
| CN201254064Y (zh) | 经济型乘用车两驱后悬架 | |
| CN109305003B (zh) | 乘用车及独立悬架系统 | |
| CN214928773U (zh) | 一种挂车独立悬架系统 | |
| CN202294264U (zh) | 变速器悬置限位机构 | |
| CN219789830U (zh) | 一种固定驱动桥的弹性结构 | |
| CN218287912U (zh) | 一种重卡四点全浮式驾驶室悬架 | |
| CN107284168B (zh) | 一种高效汽车下摆臂 | |
| CN213228891U (zh) | 一种驾驶室前悬置总成 | |
| CN217022782U (zh) | 一种设有简易减震装置的独轮平衡车 | |
| CN112026467B (zh) | 一种车辆减震装置 | |
| CN111846017B (zh) | 一种车轮液压升降机构 | |
| CN212605494U (zh) | 一种用于承托汽车驾驶室的后支承总成 | |
| CN216659482U (zh) | 一种用于方轴车桥的汽车空气悬架导向臂 | |
| CN114604283A (zh) | 一种轨道车辆的转向架及其轴箱装置 | |
| CN219467488U (zh) | 一种具有新型导向杆系的前空气悬架 | |
| CN220947415U (zh) | 一种汽车减震支撑结构支架 | |
| CN223456763U (zh) | 一种双臂式独立悬架 | |
| CN222254865U (zh) | 一种电机悬架用减震器 | |
| CN214986167U (zh) | 一种油泵车牵引转向装置 | |
| CN213954241U (zh) | 一种改进型汽车减震器 | |
| CN216331594U (zh) | 一种加强汽车减震效果的汽车支架 | |
| CN223467218U (zh) | 一种商用轻卡车驾驶室前悬置 |
Legal Events
| Date | Code | Title | Description |
|---|---|---|---|
| GR01 | Patent grant | ||
| GR01 | Patent grant | ||
| CF01 | Termination of patent right due to non-payment of annual fee | ||
| CF01 | Termination of patent right due to non-payment of annual fee |
Granted publication date: 20220405 |