CN216179470U - 一种机械电子工程用pcb板抛光装置 - Google Patents
一种机械电子工程用pcb板抛光装置 Download PDFInfo
- Publication number
- CN216179470U CN216179470U CN202122369708.2U CN202122369708U CN216179470U CN 216179470 U CN216179470 U CN 216179470U CN 202122369708 U CN202122369708 U CN 202122369708U CN 216179470 U CN216179470 U CN 216179470U
- Authority
- CN
- China
- Prior art keywords
- rod
- fixedly connected
- splint
- pcb board
- electronic engineering
- Prior art date
- Legal status (The legal status is an assumption and is not a legal conclusion. Google has not performed a legal analysis and makes no representation as to the accuracy of the status listed.)
- Expired - Fee Related
Links
- 238000005498 polishing Methods 0.000 claims abstract description 28
- 230000002093 peripheral effect Effects 0.000 claims description 3
- 238000000034 method Methods 0.000 abstract description 10
- 238000012545 processing Methods 0.000 abstract description 9
- 239000011120 plywood Substances 0.000 abstract 2
- 230000000694 effects Effects 0.000 description 2
- 238000003780 insertion Methods 0.000 description 2
- 230000037431 insertion Effects 0.000 description 2
- 239000000463 material Substances 0.000 description 2
- 230000009286 beneficial effect Effects 0.000 description 1
- 239000007795 chemical reaction product Substances 0.000 description 1
- 238000010586 diagram Methods 0.000 description 1
- 238000005516 engineering process Methods 0.000 description 1
- 239000011521 glass Substances 0.000 description 1
- 238000012986 modification Methods 0.000 description 1
- 230000004048 modification Effects 0.000 description 1
- 239000000047 product Substances 0.000 description 1
- 238000004544 sputter deposition Methods 0.000 description 1
Images
Landscapes
- Finish Polishing, Edge Sharpening, And Grinding By Specific Grinding Devices (AREA)
Abstract
本实用新型公开了机械电子工程技术领域的一种机械电子工程用PCB板抛光装置,包括作业箱体,作业箱体的内部顶端位置固定连接有电动推杆,电动推杆的下端设置有电动机,电动机的一侧设置有抛光盘;作业箱体的内部一侧位置设置有移动机构,移动机构的一端设置有位置调整机构,位置调整机构包括有框体、夹板一、夹板二、连接柱、套筒、把手、螺杆、手柄、限定杆、弹簧、固定板与拉板,夹板一与夹板二均位于框体的内部,能够保证PCB夹持的稳定性,且不同面抛光的过程中不需要工作人员再次的夹持固定,仅仅需要进行位置的调整即可,操作快捷有效,大大提高了加工的操作效率,能够进行一定范围的水平调整,能够大大提高,具有较为快捷的配合调节作用。
Description
技术领域
本实用新型涉及机械电子工程技术领域,具体为一种机械电子工程用PCB板抛光装置。
背景技术
PCB中文名称为印制电路板,又称印刷线路板,是重要的电子部件,是电子元器件的支撑体,是电子元器件电气连接的载体。由于它是采用电子印刷术制作的,故被称为“印刷”电路板;由于印刷电路板并非一般终端产品,因此在名称的定义上略为混乱,PCB板在加工的过程中抛光是必不可少的流程。
例如中国专利申请号CN202020097662.6一种机械电子工程用PCB板抛光装置,具体内容为:调节固定的PCB板侧表面与抛光盘进行贴合,启动电动推杆以及电动机,电动机驱动抛光盘 对接触的PCB板进行抛光,同时电动推杆推动电动机带动抛光盘 竖直方向移动,便于抛光操作,同时通过透明玻璃窗进行防溅射。
这种PCB板抛光装置在使用的过程中在对PCB板不同的面进行加工时,需要工作人员对PCB板进行拆除进行再次的安装,操作流程复杂,难以有效的提高装置的加工效率,使用存在弊端,基于此,本实用新型设计了一种机械电子工程用PCB板抛光装置以解决上述问题。
实用新型内容
本实用新型的目的在于提供一种机械电子工程用PCB板抛光装置,以解决上述背景技术中提出的在对PCB板不同的面进行加工时,需要工作人员对PCB板进行拆除进行再次的安装,操作流程复杂,难以有效的提高装置的加工效率。
为实现上述目的,本实用新型提供如下技术方案:一种机械电子工程用PCB板抛光装置,包括作业箱体,所述作业箱体的内部顶端位置固定连接有电动推杆,所述电动推杆的下端设置有电动机,所述电动机的一侧设置有抛光盘;
所述作业箱体的内部一侧位置设置有移动机构,所述移动机构的一端设置有位置调整机构,所述位置调整机构包括有框体、夹板一、夹板二、连接柱、套筒、把手、螺杆、手柄、限定杆、弹簧、固定板与拉板,所述夹板一与夹板二均位于框体的内部,所述套筒贯穿在框体的内部,所述把手固定连接在套筒的外表面,所述螺杆贯穿在套筒的内部,所述螺杆的一端面与夹板一固定连接,所述手柄固定连接在螺杆的另一端面。
优选的,所述限定杆贯穿在框体的内部,所述拉板固定连接在限定杆的一端面,所述限定杆的另一端面插接在夹板二的内部,所述固定板固定连接在限定杆的外表面,所述弹簧贯穿在限定杆的外表面,所述弹簧与固定板接触。
优选的,所述夹板二与夹板一均呈方形,所述夹板二靠近框体的一侧面设置有四个插孔,四个插孔对应夹板二的四个外周面。
优选的,所述移动机构包括有固定杆、滑杆连接块、丝杆、旋柄与支撑杆,所述固定杆固定连接在框体的一侧面,所述滑杆与框体固定连接,且滑杆贯穿在固定杆的内部。
优选的,所述连接块固定连接在框体的下端面,所述丝杆贯穿在连接块的内部,所述旋柄固定连接在丝杆的一端面,所述支撑杆固定连接在作业箱体的内部底端位置。
优选的,所述滑杆与固定杆之间为滑动连接。
与现有技术相比,本实用新型的有益效果是:带动螺杆转动,于是便能够将夹板一的位置进行调节,夹板一能够配合夹板二对PCB板进行夹持,再将一面进行抛光处理之后,通过拉板将限定杆向外部拉动,之后限定杆能够与夹板二脱离,之后便能够将夹板一和夹板二转动带动PCB板转动,在转动到PCB板的另一个面时撤销对限定杆的拉力,之后弹簧能够对固定板进行推动,限定杆能够插进另一个夹板二对应的插孔中,进而夹板二固定,于是便能够限定夹板一也进行位置的限定,能够保证PCB夹持的稳定性,且不同面抛光的过程中不需要工作人员再次的夹持固定,仅仅需要进行位置的调整即可,操作快捷有效,大大提高了加工的操作效率。
当然,实施本实用新型的任一产品并不一定需要同时达到以上所述的所有优点。
附图说明
为了更清楚地说明本实用新型实施例的技术方案,下面将对实施例描述所需要使用的附图作简单地介绍,显而易见地,下面描述中的附图仅仅是本实用新型的一些实施例,对于本领域普通技术人员来讲,在不付出创造性劳动的前提下,还可以根据这些附图获得其他的附图。
图1为本实用新型整体结构示意图;
图2为本实用新型旋柄与固定杆的结合视图;
图3为本实用新型夹板一与套筒的结合视图;
图4为本实用新型限定杆与弹簧的结合视图。
附图中,各标号所代表的部件列表如下:
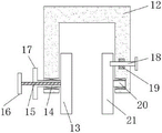
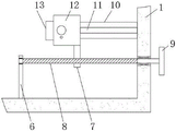
1、作业箱体;2、电动推杆;3、固定板;4、电动机;5、抛光盘;6、支撑杆;7、连接块;8、丝杆;9、旋柄;10、固定杆;11、滑杆;12、框体;13、夹板一;14、套筒;15、螺杆;16、手柄;17、把手;18、限定杆;19、弹簧;20、连接柱;21、夹板二;22、拉板。
具体实施方式
下面将结合本实用新型实施例中的附图,对本实用新型实施例中的技术方案进行清楚、完整地描述,显然,所描述的实施例仅仅是本实用新型一部分实施例,而不是全部的实施例。基于本实用新型中的实施例,本领域普通技术人员在没有作出创造性劳动前提下所获得的所有其它实施例,都属于本实用新型保护的范围。
请参阅图1至图4,本实用新型提供一种机械电子工程用PCB板抛光装置技术方案:包括作业箱体1,作业箱体1的内部顶端位置固定连接有电动推杆2,电动推杆2的下端设置有电动机4,电动机4的一侧设置有抛光盘5;
作业箱体1的内部一侧位置设置有移动机构,移动机构的一端设置有位置调整机构,位置调整机构包括有框体12、夹板一13、夹板二21、连接柱20、套筒14、把手17、螺杆15、手柄16、限定杆18、弹簧19、固定板3与拉板22,夹板一13与夹板二21均位于框体12的内部,套筒14贯穿在框体12的内部,把手17固定连接在套筒14的外表面,螺杆15贯穿在套筒14的内部,螺杆15的一端面与夹板一13固定连接,手柄16固定连接在螺杆15的另一端面,将一面进行抛光处理之后,通过拉板22将限定杆18向外部拉动,之后限定杆18能够与夹板二21脱离,之后便能够将夹板一13和夹板二21转动带动PCB板转动,在转动到PCB板的另一个面时撤销对限定杆18的拉力,之后弹簧19能够对固定板3进行推动,限定杆18能够插进另一个夹板二21对应的插孔中,进而夹板二21固定,于是便能够限定夹板一13也进行位置的限定。
限定杆18贯穿在框体12的内部,拉板22固定连接在限定杆18的一端面,限定杆18的另一端面插接在夹板二21的内部,固定板3固定连接在限定杆18的外表面,弹簧19贯穿在限定杆18的外表面,弹簧19与固定板3接触,夹板二21与夹板一13均呈方形,夹板二21靠近框体12的一侧面设置有四个插孔,四个插孔对应夹板二21的四个外周面,移动机构包括有固定杆10、滑杆11连接块7、丝杆8、旋柄9与支撑杆6,固定杆10固定连接在框体12的一侧面,滑杆11与框体12固定连接,且滑杆11贯穿在固定杆10的内部,连接块7固定连接在框体12的下端面,丝杆8贯穿在连接块7的内部,旋柄9固定连接在丝杆8的一端面,支撑杆6固定连接在作业箱体1的内部底端位置,滑杆11与固定杆10之间为滑动连接。
本实施例的一个具体应用为:使用时,将需要抛光的PCB板进行夹持,首先工作人员一手限制把手17的转动,另一只手转动手柄16,进而能够带动螺杆15转动,于是便能够将夹板一13的位置进行调节,夹板一13能够配合夹板二21对PCB板进行夹持,再将一面进行抛光处理之后,通过拉板22将限定杆18向外部拉动,之后限定杆18能够与夹板二21脱离,之后便能够将夹板一13和夹板二21转动带动PCB板转动,在转动到PCB板的另一个面时撤销对限定杆18的拉力,之后弹簧19能够对固定板3进行推动,限定杆18能够插进另一个夹板二21对应的插孔中,进而夹板二21固定,于是便能够限定夹板一13也进行位置的限定,能够保证PCB夹持的稳定性,且不同面抛光的过程中不需要工作人员再次的夹持固定,仅仅需要进行位置的调整即可,操作快捷有效,大大提高了加工的操作效率,转动旋柄9能够带动丝杆8转动,进而丝杆8能够与连接块7螺接,带动框体12进行左右移动,滑杆11在固定杆10的内部移动,能够进行一定范围的水平调整,能够大大提高,具有较为快捷的配合调节作用。
本实用新型所采用的电动推杆2、电动机4与抛光盘5之间的相互配合使用过程以及连接关系均采用本实用新型提供的背景资料所给出的,并且配合本实用新型的说明书的阐述,所属技术领域人员能得出其使用过程,并且得到相应的使用效果,故没有一一公开。
在本说明书的描述中,参考术语“一个实施例”、“示例”、“具体示例”等的描述意指结合该实施例或示例描述的具体特征、结构、材料或者特点包含于本实用新型的至少一个实施例或示例中。在本说明书中,对上述术语的示意性表述不一定指的是相同的实施例或示例。而且,描述的具体特征、结构、材料或者特点可以在任何的一个或多个实施例或示例中以合适的方式结合。
以上公开的本实用新型优选实施例只是用于帮助阐述本实用新型。优选实施例并没有详尽叙述所有的细节,也不限制该实用新型仅为所述的具体实施方式。显然,根据本说明书的内容,可作很多的修改和变化。本说明书选取并具体描述这些实施例,是为了更好地解释本实用新型的原理和实际应用,从而使所属技术领域技术人员能很好地理解和利用本实用新型。本实用新型仅受权利要求书及其全部范围和等效物的限制。
Claims (6)
1.一种机械电子工程用PCB板抛光装置,包括作业箱体(1),其特征在于:所述作业箱体(1)的内部顶端位置固定连接有电动推杆(2),所述电动推杆(2)的下端设置有电动机(4),所述电动机(4)的一侧设置有抛光盘(5);
所述作业箱体(1)的内部一侧位置设置有移动机构,所述移动机构的一端设置有位置调整机构,所述位置调整机构包括有框体(12)、夹板一(13)、夹板二(21)、连接柱(20)、套筒(14)、把手(17)、螺杆(15)、手柄(16)、限定杆(18)、弹簧(19)、固定板(3)与拉板(22),所述夹板一(13)与夹板二(21)均位于框体(12)的内部,所述套筒(14)贯穿在框体(12)的内部,所述把手(17)固定连接在套筒(14)的外表面,所述螺杆(15)贯穿在套筒(14)的内部,所述螺杆(15)的一端面与夹板一(13)固定连接,所述手柄(16)固定连接在螺杆(15)的另一端面。
2.根据权利要求1所述的一种机械电子工程用PCB板抛光装置,其特征在于:所述限定杆(18)贯穿在框体(12)的内部,所述拉板(22)固定连接在限定杆(18)的一端面,所述限定杆(18)的另一端面插接在夹板二(21)的内部,所述固定板(3)固定连接在限定杆(18)的外表面,所述弹簧(19)贯穿在限定杆(18)的外表面,所述弹簧(19)与固定板(3)接触。
3.根据权利要求1所述的一种机械电子工程用PCB板抛光装置,其特征在于:所述夹板二(21)与夹板一(13)均呈方形,所述夹板二(21)靠近框体(12)的一侧面设置有四个插孔,四个插孔对应夹板二(21)的四个外周面。
4.根据权利要求1所述的一种机械电子工程用PCB板抛光装置,其特征在于:所述移动机构包括有固定杆(10)、滑杆(11)、连接块(7)、丝杆(8)、旋柄(9)与支撑杆(6),所述固定杆(10)固定连接在框体(12)的一侧面,所述滑杆(11)与框体(12)固定连接,且滑杆(11)贯穿在固定杆(10)的内部。
5.根据权利要求4所述的一种机械电子工程用PCB板抛光装置,其特征在于:所述连接块(7)固定连接在框体(12)的下端面,所述丝杆(8)贯穿在连接块(7)的内部,所述旋柄(9)固定连接在丝杆(8)的一端面,所述支撑杆(6)固定连接在作业箱体(1)的内部底端位置。
6.根据权利要求4所述的一种机械电子工程用PCB板抛光装置,其特征在于:所述滑杆(11)与固定杆(10)之间为滑动连接。
Priority Applications (1)
| Application Number | Priority Date | Filing Date | Title |
|---|---|---|---|
| CN202122369708.2U CN216179470U (zh) | 2021-09-29 | 2021-09-29 | 一种机械电子工程用pcb板抛光装置 |
Applications Claiming Priority (1)
| Application Number | Priority Date | Filing Date | Title |
|---|---|---|---|
| CN202122369708.2U CN216179470U (zh) | 2021-09-29 | 2021-09-29 | 一种机械电子工程用pcb板抛光装置 |
Publications (1)
| Publication Number | Publication Date |
|---|---|
| CN216179470U true CN216179470U (zh) | 2022-04-05 |
Family
ID=80927000
Family Applications (1)
| Application Number | Title | Priority Date | Filing Date |
|---|---|---|---|
| CN202122369708.2U Expired - Fee Related CN216179470U (zh) | 2021-09-29 | 2021-09-29 | 一种机械电子工程用pcb板抛光装置 |
Country Status (1)
| Country | Link |
|---|---|
| CN (1) | CN216179470U (zh) |
-
2021
- 2021-09-29 CN CN202122369708.2U patent/CN216179470U/zh not_active Expired - Fee Related
Similar Documents
| Publication | Publication Date | Title |
|---|---|---|
| CN206263757U (zh) | 一种电器陶瓷的抛光装置 | |
| CN216179470U (zh) | 一种机械电子工程用pcb板抛光装置 | |
| CN110599927A (zh) | 一种防雨渍的思政宣传栏 | |
| CN110955308A (zh) | 一种便于计算机主机用稳固装置 | |
| CN114012530A (zh) | 一种冰箱底板打磨设备 | |
| CN213196860U (zh) | 一种具有吸附功能的玻璃加工用边角打磨装置 | |
| CN211388665U (zh) | 一种便于调节使用的计算机主板加工定位装置 | |
| CN222443697U (zh) | 一种用于美术设计艺术展示装置 | |
| CN112091810A (zh) | 一种用于对石英环表面平整度研磨的研磨设备 | |
| CN219800407U (zh) | 一种便于维护拆卸的led显示屏 | |
| CN219689914U (zh) | 线路板装夹机构 | |
| CN222778317U (zh) | Led显示屏点胶封装设备 | |
| CN223341861U (zh) | 一种蓝宝石片吸附取料装置 | |
| CN216371511U (zh) | 一种三相异步电动机机壳打磨装置 | |
| CN218801335U (zh) | 一种电子产品外壳加工用打磨辅助装置 | |
| CN221696107U (zh) | 一种机加工定位装置 | |
| CN216282551U (zh) | 一种高效快速自动化烘干装置 | |
| CN220031711U (zh) | 一种汽车仪表台的防尘罩 | |
| CN221717801U (zh) | 一种塑料制品夹持工装 | |
| CN218217221U (zh) | 一种便于安装的光伏发电装置 | |
| CN221221997U (zh) | 一种信息技术用教学展示装置 | |
| CN216562252U (zh) | 一种便于调节的机械设计教学用模型 | |
| CN211627944U (zh) | 一种放射科用便捷式观片灯 | |
| CN112847136B (zh) | 一种采暖炉炉口板的按压式加工装置 | |
| CN217088535U (zh) | 一种pcba生产加工用载具 |
Legal Events
| Date | Code | Title | Description |
|---|---|---|---|
| GR01 | Patent grant | ||
| GR01 | Patent grant | ||
| CF01 | Termination of patent right due to non-payment of annual fee |
Granted publication date: 20220405 |
|
| CF01 | Termination of patent right due to non-payment of annual fee |