CN216179407U - A grinding device for gantry machining center - Google Patents

A grinding device for gantry machining center Download PDF

Info

Publication number
CN216179407U
CN216179407U CN202122344760.2U CN202122344760U CN216179407U CN 216179407 U CN216179407 U CN 216179407U CN 202122344760 U CN202122344760 U CN 202122344760U CN 216179407 U CN216179407 U CN 216179407U
Authority
CN
China
Prior art keywords
frame
servo motor
mounting seat
fixed
grinding
Prior art date
Legal status (The legal status is an assumption and is not a legal conclusion. Google has not performed a legal analysis and makes no representation as to the accuracy of the status listed.)
Expired - Fee Related
Application number
CN202122344760.2U
Other languages
Chinese (zh)
Inventor
胡明
Current Assignee (The listed assignees may be inaccurate. Google has not performed a legal analysis and makes no representation or warranty as to the accuracy of the list.)
Shandong Chenghai Intelligent Equipment Co ltd
Original Assignee
Shandong Chenghai Intelligent Equipment Co ltd
Priority date (The priority date is an assumption and is not a legal conclusion. Google has not performed a legal analysis and makes no representation as to the accuracy of the date listed.)
Filing date
Publication date
Application filed by Shandong Chenghai Intelligent Equipment Co ltd filed Critical Shandong Chenghai Intelligent Equipment Co ltd
Priority to CN202122344760.2U priority Critical patent/CN216179407U/en
Application granted granted Critical
Publication of CN216179407U publication Critical patent/CN216179407U/en
Expired - Fee Related legal-status Critical Current
Anticipated expiration legal-status Critical

Links

Images

Landscapes

  • Grinding Of Cylindrical And Plane Surfaces (AREA)

Abstract

The utility model discloses a polishing device for a gantry machining center, which relates to the technical field of gantry machining centers and comprises a bottom plate, wherein fixed frames are arranged at the top of the bottom plate through supporting columns, movable frame mechanisms are arranged at the tops of the two fixed frames, polishing mechanisms are arranged at the tops of the movable frame mechanisms through adjusting mechanisms, each polishing mechanism comprises a mounting seat fixed on the side surface of each adjusting mechanism, each mounting seat is of a U-shaped frame structure, a second servo motor is arranged at the top of each mounting seat, and an output shaft of each second servo motor is inserted into the corresponding mounting seat and connected with a screw rod. The adjustable polishing mechanism is convenient to polish and polish plates with different thicknesses, the flexibility in use is very high, the movable frame mechanism and the adjusting mechanism are adopted to adjust the positions of the polishing mechanism, the polishing accuracy of the plates can be greatly improved, the processing accuracy is very high, and the processing quality is very high.

Description

一种用于龙门加工中心的打磨装置A grinding device for gantry machining center

技术领域technical field

本实用新型涉及龙门加工中心技术领域,尤其涉及一种用于龙门加工中心的打磨装置。The utility model relates to the technical field of gantry machining centers, in particular to a grinding device used for gantry machining centers.

背景技术Background technique

在板材加工过程中,需要对其进行打磨,以去除表面的毛刺和锈迹,但是在生产过程中这项作业多是人工手动推动角磨机进行打磨作业,由于人工打磨存在力度不均匀和效率低的情况,板材打磨存在较大的瑕疵,影响板材的生产质量,使用存在不足,为此我们提出一种用于龙门加工中心的打磨装置。In the process of plate processing, it needs to be ground to remove the burrs and rust on the surface, but in the production process, this operation is mostly manual grinding by manually pushing the angle grinder. Due to the uneven strength and efficiency of manual grinding In the case of low, there are large defects in the plate grinding, which affects the production quality of the plate, and the use is insufficient. For this reason, we propose a grinding device for the gantry machining center.

实用新型内容Utility model content

本实用新型提供一种用于龙门加工中心的打磨装置,解决了人工打磨存在力度不均匀和效率低的情况,板材打磨存在较大的瑕疵,影响板材的生产质量的技术问题。The utility model provides a grinding device for a gantry machining center, which solves the technical problems of uneven strength and low efficiency in manual grinding, large defects in plate grinding and affecting the production quality of the plate.

为解决上述技术问题,本实用新型提供的一种用于龙门加工中心的打磨装置,包括底板,所述底板的顶部通过支撑柱安装有固定架,所述两个所述固定架的顶部安装有活动架机构,所述活动架机构的顶部通过调节机构安装有打磨机构,所述打磨机构包括固定在调节机构侧面的安装座,所述安装座为U型架结构,所述安装座的顶部安装有第二伺服电机,所述第二伺服电机 的输出轴插入安装座的内部并连接有丝杆,所述丝杆通过螺纹连接有活动座,所述活动座的底部固定有安装架,所述安装架的侧面安装有第三伺服电机,所述第三伺服电机的输出轴插入安装架的内部并连接有打磨辊。In order to solve the above-mentioned technical problems, the present invention provides a grinding device for a gantry machining center, comprising a bottom plate, the top of the bottom plate is installed with a fixing frame through a support column, and the tops of the two fixing frames are installed with a fixed frame. A movable frame mechanism, the top of the movable frame mechanism is installed with a grinding mechanism through an adjusting mechanism, and the grinding mechanism includes a mounting seat fixed on the side of the adjusting mechanism, the mounting seat is a U-shaped frame structure, and the top of the mounting seat is installed There is a second servo motor, the output shaft of the second servo motor is inserted into the interior of the mounting seat and connected with a screw rod, the screw rod is connected with a movable seat through threads, and the bottom of the movable seat is fixed with a mounting frame, the A third servo motor is installed on the side of the mounting frame, and the output shaft of the third servo motor is inserted into the interior of the mounting frame and is connected with a grinding roller.

优选的,所述安装座内部的两侧均安装有导向轴,所述导向轴与丝杆平行,所述活动座与导向轴滑动连接。Preferably, guide shafts are installed on both sides inside the mounting seat, the guide shafts are parallel to the screw rod, and the movable seat is slidably connected with the guide shafts.

优选的,所述活动架机构包括滑动连接在固定架上的第一壳体和固定在固定架顶部的第一齿条,两个所述第一壳体的顶部固定有活动架,所述活动架的底部安装有双轴电机,所述双轴电机两侧的输出轴上安装有第一转轴,所述第一转轴插入第一壳体的内部转动连接有第一齿轮。Preferably, the movable frame mechanism includes a first casing slidably connected to the fixed frame and a first rack fixed on the top of the fixed frame, and movable frames are fixed on the tops of the two first casings. A biaxial motor is installed at the bottom of the frame, a first rotating shaft is installed on the output shafts on both sides of the biaxial motor, and the first rotating shaft is inserted into the interior of the first casing and is rotatably connected with a first gear.

优选的,所述第一转轴插入第一壳体的内部并与第一壳体转动连接,所述第一齿轮与第一齿条啮合传动。Preferably, the first rotating shaft is inserted into the interior of the first housing and is rotatably connected with the first housing, and the first gear is engaged with the first rack for transmission.

优选的,所述调节机构包括滑动安装在活动架机构上的第二齿条和第二壳体,所述第二壳体的侧面安装有第一伺服电机,所述第一伺服电机的输出轴插入第二壳体并连接有第二转轴,所述第二转轴上固定套接有第二齿轮。Preferably, the adjustment mechanism includes a second rack and a second casing slidably mounted on the movable frame mechanism, a first servo motor is mounted on the side of the second casing, and the output shaft of the first servo motor The second housing is inserted into the second housing and connected with a second rotating shaft, and a second gear is fixedly sleeved on the second rotating shaft.

优选的,所述第二齿轮与第二齿条啮合传动,所述安装座与第二壳体固定。Preferably, the second gear meshes with the second rack for transmission, and the mounting seat is fixed to the second housing.

与相关技术相比较,本实用新型提供的一种用于龙门加工中心的打磨装置具有如下有益效果:Compared with the related art, a grinding device for a gantry machining center provided by the present utility model has the following beneficial effects:

本实用新型提供一种用于龙门加工中心的打磨装置,通过设置可调节的打磨机构方便对不同厚度的板材进行打磨抛光作业,使用灵活性非常高。The utility model provides a grinding device for a gantry machining center, which facilitates grinding and polishing operations on plates with different thicknesses by setting an adjustable grinding mechanism, and has very high use flexibility.

本实用新型提供一种用于龙门加工中心的打磨装置,采用活动架机构和调节机构对打磨机构的位置进行调节,能大大提高对板材打磨的精确性,加工精确度非常高,加工品质非常高。The utility model provides a grinding device for a gantry machining center, which adopts a movable frame mechanism and an adjusting mechanism to adjust the position of the grinding mechanism, which can greatly improve the grinding accuracy of the plate, the processing accuracy is very high, and the processing quality is very high .

附图说明Description of drawings

图1 为本实用新型提出的一种用于龙门加工中心的打磨装置的俯视图;1 is a top view of a grinding device for a gantry machining center proposed by the utility model;

图2 为图1中活动架机构的安装示意图;Fig. 2 is the installation schematic diagram of the movable frame mechanism in Fig. 1;

图3 为图1中调节机构的剖视图;Figure 3 is a cross-sectional view of the adjustment mechanism in Figure 1;

图4 为图1中打磨机构的轴侧图。FIG. 4 is an isometric view of the grinding mechanism of FIG. 1 .

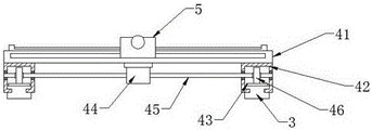
图中标号:1底板、2支撑柱、3固定架、4活动架机构、41活动架、42第一壳体、43第一齿条、44双轴电机、45第一转轴、46第一齿轮、5调节机构、51第二齿条、52第二壳体、53第一伺服电机、54第二转轴、55第二齿轮、6打磨机构、61安装座、62第二伺服电机、63丝杆、64活动座、65安装架、66第三伺服电机、67打磨辊。Labels in the figure: 1 bottom plate, 2 support column, 3 fixed frame, 4 movable frame mechanism, 41 movable frame, 42 first housing, 43 first rack, 44 biaxial motor, 45 first shaft, 46 first gear , 5 Adjustment mechanism, 51 Second rack, 52 Second housing, 53 First servo motor, 54 Second shaft, 55 Second gear, 6 Grinding mechanism, 61 Mounting seat, 62 Second servo motor, 63 Lead screw , 64 movable seat, 65 mounting frame, 66 third servo motor, 67 grinding roller.

具体实施方式Detailed ways

下面将结合本实用新型实施例中的附图,对本实用新型实施例中的技术方案进行清楚、完整地描述,显然,所描述的实施例仅仅是本实用新型一部分实施例,而不是全部的实施例;基于本实用新型中的实施例,本领域普通技术人员在没有做出创造性劳动前提下所获得的所有其他实施例,都属于本实用新型保护的范围。The technical solutions in the embodiments of the present utility model will be clearly and completely described below with reference to the accompanying drawings in the embodiments of the present utility model. Obviously, the described embodiments are only a part of the embodiments of the present utility model, rather than all the implementations. For example; based on the embodiments of the present invention, all other embodiments obtained by persons of ordinary skill in the art without creative work shall fall within the protection scope of the present invention.

实施例,由图1-4给出,本实用新型提出的一种用于龙门加工中心的打磨装置,包括底板1,底板1的顶部通过支撑柱2安装有固定架3,两个固定架3的顶部安装有活动架机构4,活动架机构4的顶部通过调节机构5安装有打磨机构6,打磨机构6包括固定在调节机构5侧面的安装座61,安装座61为U型架结构,安装座61的顶部安装有第二伺服电机62,第二伺服电机62 的输出轴插入安装座61的内部并连接有丝杆63,丝杆63通过螺纹连接有活动座64,活动座64的底部固定有安装架65,安装座61内部的两侧均安装有导向轴,导向轴与丝杆63平行,活动座64与导向轴滑动连接,安装架65的侧面安装有第三伺服电机66,第三伺服电机66的输出轴插入安装架65的内部并连接有打磨辊67,通过设置可调节的打磨机构方便对不同厚度的板材进行打磨抛光作业,使用灵活性非常高。An embodiment, as shown in Figures 1-4, a grinding device for a gantry machining center proposed by the present invention includes a base plate 1, and a fixed frame 3 is installed on the top of the base plate 1 through a support column 2, and two fixed frames 3 A movable frame mechanism 4 is installed on the top of the movable frame mechanism 4, and a grinding mechanism 6 is installed on the top of the movable frame mechanism 4 through the adjusting mechanism 5. The grinding mechanism 6 includes a mounting seat 61 fixed on the side of the adjusting mechanism 5. The mounting seat 61 is a U-shaped frame structure. A second servo motor 62 is mounted on the top of the seat 61 , the output shaft of the second servo motor 62 is inserted into the interior of the mounting seat 61 and connected with a screw rod 63 , the screw rod 63 is connected with a movable seat 64 through threads, and the bottom of the movable seat 64 is fixed There is a mounting frame 65 , a guide shaft is installed on both sides inside the mounting seat 61 , the guide shaft is parallel to the lead screw 63 , the movable seat 64 is slidably connected with the guide shaft, a third servo motor 66 is installed on the side of the mounting frame 65 , the third The output shaft of the servo motor 66 is inserted into the interior of the mounting frame 65 and is connected with a grinding roller 67. The adjustable grinding mechanism is provided to facilitate grinding and polishing of plates of different thicknesses, and the use flexibility is very high.

活动架机构4包括滑动连接在固定架3上的第一壳体42和固定在固定架3顶部的第一齿条43,两个第一壳体42的顶部固定有活动架41,活动架41的底部安装有双轴电机44,双轴电机44两侧的输出轴上安装有第一转轴45,第一转轴45插入第一壳体42的内部转动连接有第一齿轮46,第一转轴45插入第一壳体42的内部并与第一壳体42转动连接,第一齿轮46与第一齿条43啮合传动,调节机构5包括滑动安装在活动架机构4上的第二齿条51和第二壳体52,第二壳体52的侧面安装有第一伺服电机53,第一伺服电机53的输出轴插入第二壳体52并连接有第二转轴54,第二转轴54上固定套接有第二齿轮55,第二齿轮55与第二齿条51啮合传动,安装座61与第二壳体52固定,采用活动架机构和调节机构对打磨机构的位置进行调节,能大大提高对板材打磨的精确性,加工精确度非常高,加工品质非常高。The movable frame mechanism 4 includes a first housing 42 slidably connected to the fixed frame 3 and a first rack 43 fixed on the top of the fixed frame 3 . The movable frames 41 are fixed on the tops of the two first housings 42 . A double-shaft motor 44 is installed at the bottom of the double-shaft motor 44, and a first rotating shaft 45 is installed on the output shafts on both sides of the double-shaft motor 44. The first rotating shaft 45 is inserted into the interior of the first housing 42 and is rotatably connected with a first gear 46. The first rotating shaft 45 Inserted into the interior of the first housing 42 and rotatably connected with the first housing 42, the first gear 46 is meshed with the first rack 43 for transmission, and the adjustment mechanism 5 includes a second rack 51 and The second casing 52, the side of the second casing 52 is mounted with the first servo motor 53, the output shaft of the first servo motor 53 is inserted into the second casing 52 and connected to the second rotating shaft 54, the second rotating shaft 54 is fixed on the sleeve The second gear 55 is connected, the second gear 55 is meshed with the second rack 51 for transmission, the mounting seat 61 is fixed with the second housing 52, and the movable frame mechanism and the adjustment mechanism are used to adjust the position of the grinding mechanism, which can greatly improve the accuracy of the grinding mechanism. The precision of plate grinding, the processing accuracy is very high, and the processing quality is very high.

工作原理:working principle:

创新点实施步骤:Innovation point implementation steps:

第一步:使用时,板材固定在底板1的顶部,启动第一伺服电机53,第一伺服电机53的输出轴带动第二转轴54转动,第二转轴54带动第二齿轮55转动,第二齿轮55通过与第二齿条55的啮合传动带动第二壳体52在活动架41上滑动,对打磨机构6进行调节,启动第二伺服电机62,第二伺服电机62的输出轴带动丝杆63转动,丝杆63通过螺纹传动带动活动座64,所述活动座64带动安装架65,安装架65带动打磨辊67,调节打磨辊67的高度,启动第三伺服电机66,第三伺服电机66的输出轴带动打磨辊67转动;Step 1: When in use, the plate is fixed on the top of the base plate 1, the first servo motor 53 is activated, the output shaft of the first servo motor 53 drives the second shaft 54 to rotate, the second shaft 54 drives the second gear 55 to rotate, the second The gear 55 drives the second housing 52 to slide on the movable frame 41 through the meshing transmission with the second rack 55, adjusts the grinding mechanism 6, starts the second servo motor 62, and the output shaft of the second servo motor 62 drives the screw rod 63 rotates, the screw 63 drives the movable seat 64 through the thread transmission, the movable seat 64 drives the mounting frame 65, the mounting frame 65 drives the grinding roller 67, adjusts the height of the grinding roller 67, starts the third servo motor 66, the third servo motor The output shaft of 66 drives the grinding roller 67 to rotate;

第二步:启动双轴电机44,双轴电机44的输出轴带动第一转轴45转动,第一转轴45带动第一齿轮46转动,第一齿轮46通过与第一齿条43的啮合传动带动第一壳体42在固定架3上滑动,第一壳体42带动活动架41,活动架41通过调节机构5带动打磨机构6,使打磨机构6在板材的顶部运动,对板材进行打磨。The second step: start the biaxial motor 44, the output shaft of the biaxial motor 44 drives the first rotating shaft 45 to rotate, the first rotating shaft 45 drives the first gear 46 to rotate, and the first gear 46 is driven by the meshing transmission with the first rack 43 The first casing 42 slides on the fixed frame 3, the first casing 42 drives the movable frame 41, and the movable frame 41 drives the grinding mechanism 6 through the adjusting mechanism 5, so that the grinding mechanism 6 moves on the top of the plate to grind the plate.

综上所述,相较于现有技术,本实用新型通过设置可调节的打磨机构方便对不同厚度的板材进行打磨抛光作业,使用灵活性非常高,同时采用活动架机构和调节机构对打磨机构的位置进行调节,能大大提高对板材打磨的精确性,加工精确度非常高,加工品质非常高。To sum up, compared with the prior art, the present utility model facilitates grinding and polishing of plates of different thicknesses by setting an adjustable grinding mechanism, and the use flexibility is very high. Adjusting the position of the plate can greatly improve the accuracy of the plate grinding, the processing accuracy is very high, and the processing quality is very high.

需要说明的是,在本文中,诸如第一和第二等之类的关系术语仅仅用来将一个实体或者操作与另一个实体或操作区分开来,而不一定要求或者暗示这些实体或操作之间存在任何这种实际的关系或者顺序。而且,术语“包括”、“包含”或者其任何其他变体意在涵盖非排他性的包含,从而使得包括一系列要素的过程、方法、物品或者设备不仅包括那些要素,而且还包括没有明确列出的其他要素,或者是还包括为这种过程、方法、物品或者设备所固有的要素。It should be noted that, in this document, relational terms such as first and second are only used to distinguish one entity or operation from another entity or operation, and do not necessarily require or imply any relationship between these entities or operations. any such actual relationship or sequence exists. Moreover, the terms "comprising", "comprising" or any other variation thereof are intended to encompass non-exclusive inclusion such that a process, method, article or device comprising a list of elements includes not only those elements, but also includes not explicitly listed or other elements inherent to such a process, method, article or apparatus.

尽管已经示出和描述了本实用新型的实施例,对于本领域的普通技术人员而言,可以理解在不脱离本实用新型的原理和精神的情况下可以对这些实施例进行多种变化、修改、替换和变型,本实用新型的范围由所附权利要求及其等同物限定。Although the embodiments of the present invention have been shown and described, it will be understood by those skilled in the art that various changes and modifications can be made to these embodiments without departing from the principles and spirit of the present invention , alternatives and modifications, the scope of the present invention is defined by the appended claims and their equivalents.

Claims (6)

1.一种用于龙门加工中心的打磨装置,包括底板(1),其特征在于:所述底板(1)的顶部通过支撑柱(2)安装有固定架(3),所述两个所述固定架(3)的顶部安装有活动架机构(4),所述活动架机构(4)的顶部通过调节机构(5)安装有打磨机构(6),所述打磨机构(6)包括固定在调节机构(5)侧面的安装座(61),所述安装座(61)为U型架结构,所述安装座(61)的顶部安装有第二伺服电机(62),所述第二伺服电机(62) 的输出轴插入安装座(61)的内部并连接有丝杆(63),所述丝杆(63)通过螺纹连接有活动座(64),所述活动座(64)的底部固定有安装架(65),所述安装架(65)的侧面安装有第三伺服电机(66),所述第三伺服电机(66)的输出轴插入安装架(65)的内部并连接有打磨辊(67)。1. A grinding device for a gantry machining center, comprising a bottom plate (1), characterized in that: a fixing frame (3) is installed on the top of the bottom plate (1) through a support column (2), and the two A movable frame mechanism (4) is installed on the top of the fixed frame (3), and a grinding mechanism (6) is installed on the top of the movable frame mechanism (4) through an adjustment mechanism (5), and the grinding mechanism (6) includes a fixed A mounting seat (61) on the side of the adjusting mechanism (5), the mounting seat (61) is a U-shaped frame structure, and a second servo motor (62) is mounted on the top of the mounting seat (61). The output shaft of the servo motor (62) is inserted into the interior of the mounting seat (61) and is connected with a lead screw (63), and the lead screw (63) is connected with a movable seat (64) through a thread, and the movable seat (64) is A mounting frame (65) is fixed at the bottom, a third servo motor (66) is mounted on the side of the mounting frame (65), and the output shaft of the third servo motor (66) is inserted into the interior of the mounting frame (65) and connected There are grinding rollers (67). 2.根据权利要求1所述的一种用于龙门加工中心的打磨装置,其特征在于,所述安装座(61)内部的两侧均安装有导向轴,所述导向轴与丝杆(63)平行,所述活动座(64)与导向轴滑动连接。2. A grinding device for a gantry machining center according to claim 1, characterized in that, guide shafts are installed on both sides inside the mounting seat (61), and the guide shafts are connected to the lead screw (63). ) are parallel to each other, and the movable seat (64) is slidably connected with the guide shaft. 3.根据权利要求1所述的一种用于龙门加工中心的打磨装置,其特征在于,所述活动架机构(4)包括滑动连接在固定架(3)上的第一壳体(42)和固定在固定架(3)顶部的第一齿条(43),两个所述第一壳体(42)的顶部固定有活动架(41),所述活动架(41)的底部安装有双轴电机(44),所述双轴电机(44)两侧的输出轴上安装有第一转轴(45),所述第一转轴(45)插入第一壳体(42)的内部转动连接有第一齿轮(46)。3. A grinding device for a gantry machining center according to claim 1, wherein the movable frame mechanism (4) comprises a first housing (42) slidably connected to the fixed frame (3) and a first rack (43) fixed on the top of the fixed frame (3), a movable frame (41) is fixed on the top of the two first shells (42), and a movable frame (41) is installed on the bottom of the movable frame (41). A biaxial motor (44), a first rotating shaft (45) is installed on the output shafts on both sides of the biaxial motor (44), and the first rotating shaft (45) is inserted into the inner rotational connection of the first housing (42) There is a first gear (46). 4.根据权利要求3所述的一种用于龙门加工中心的打磨装置,其特征在于,所述第一转轴(45)插入第一壳体(42)的内部并与第一壳体(42)转动连接,所述第一齿轮(46)与第一齿条(43)啮合传动。4. A grinding device for a gantry machining center according to claim 3, characterized in that the first rotating shaft (45) is inserted into the interior of the first housing (42) and is connected with the first housing (42) ) are connected in rotation, and the first gear (46) meshes with the first rack (43) for transmission. 5.根据权利要求1所述的一种用于龙门加工中心的打磨装置,其特征在于,所述调节机构(5)包括滑动安装在活动架机构(4)上的第二齿条(51)和第二壳体(52),所述第二壳体(52)的侧面安装有第一伺服电机(53),所述第一伺服电机(53)的输出轴插入第二壳体(52)并连接有第二转轴(54),所述第二转轴(54)上固定套接有第二齿轮(55)。5. A grinding device for a gantry machining center according to claim 1, wherein the adjusting mechanism (5) comprises a second rack (51) slidably mounted on the movable frame mechanism (4) and a second casing (52), a first servo motor (53) is mounted on the side of the second casing (52), and the output shaft of the first servo motor (53) is inserted into the second casing (52) A second rotating shaft (54) is connected, and a second gear (55) is fixedly sleeved on the second rotating shaft (54). 6.根据权利要求5所述的一种用于龙门加工中心的打磨装置,其特征在于,所述第二齿轮(55)与第二齿条(51)啮合传动,所述安装座(61)与第二壳体(52)固定。6. A grinding device for a gantry machining center according to claim 5, characterized in that the second gear (55) meshes with the second rack (51) for transmission, and the mounting seat (61) It is fixed with the second casing (52).
CN202122344760.2U 2021-09-27 2021-09-27 A grinding device for gantry machining center Expired - Fee Related CN216179407U (en)

Priority Applications (1)

Application Number Priority Date Filing Date Title
CN202122344760.2U CN216179407U (en) 2021-09-27 2021-09-27 A grinding device for gantry machining center

Applications Claiming Priority (1)

Application Number Priority Date Filing Date Title
CN202122344760.2U CN216179407U (en) 2021-09-27 2021-09-27 A grinding device for gantry machining center

Publications (1)

Publication Number Publication Date
CN216179407U true CN216179407U (en) 2022-04-05

Family

ID=80926078

Family Applications (1)

Application Number Title Priority Date Filing Date
CN202122344760.2U Expired - Fee Related CN216179407U (en) 2021-09-27 2021-09-27 A grinding device for gantry machining center

Country Status (1)

Country Link
CN (1) CN216179407U (en)

Similar Documents

Publication Publication Date Title
CN111844181B (en) High-precision surface processing device for LCD display screen
CN219562399U (en) Metal surface grinding device
CN210678189U (en) A router shell processing device
CN216179407U (en) A grinding device for gantry machining center
CN211517002U (en) A rotate grinding device for optical polishing
CN221337468U (en) Computer casing counterpoint laminating device
CN219561175U (en) Auto-parts punching press is got and is put anchor clamps
CN115781470A (en) A even burnishing device of rough surface for plastic-aluminum board processing usefulness
CN218024158U (en) Transfer device is used in optical lens piece processing
CN211305931U (en) Panel burnishing device for machining
CN222430239U (en) A chamfering and grinding mechanism for quartz processing
CN222327821U (en) Magnetic material outline grinding device
CN217619744U (en) Surface treatment device for distribution box manufacturing
CN218397497U (en) Multi-angle polishing jig
CN222874090U (en) A trimming device for special glass production
CN217531412U (en) Cutting device is used in silicon rod processing
CN221390309U (en) Machine tool frame production grinding device
CN217143452U (en) A surface treatment device for processing non-ferrous metal alloy materials
CN211760322U (en) Automatic polishing equipment for surface defects of titanium alloy plates
CN219582479U (en) Optical instrument processing grinding machanism
CN223572735U (en) Bearing double-sided polishing device
CN223630326U (en) A bearing production positioning mechanism
CN221967990U (en) Workbench for part finish machining
CN218397370U (en) A grinding device for aluminum plate production
CN211708731U (en) A positioning fixture for an engraving machine used in the manufacture of glasses

Legal Events

Date Code Title Description
GR01 Patent grant
GR01 Patent grant
CF01 Termination of patent right due to non-payment of annual fee

Granted publication date: 20220405

CF01 Termination of patent right due to non-payment of annual fee