CN216147990U - 一种家用多功能簸箕 - Google Patents

一种家用多功能簸箕 Download PDF

Info

Publication number
CN216147990U
CN216147990U CN202121974648.0U CN202121974648U CN216147990U CN 216147990 U CN216147990 U CN 216147990U CN 202121974648 U CN202121974648 U CN 202121974648U CN 216147990 U CN216147990 U CN 216147990U
Authority
CN
China
Prior art keywords
dustpan
rod
handle
pull rod
spring
Prior art date
Legal status (The legal status is an assumption and is not a legal conclusion. Google has not performed a legal analysis and makes no representation as to the accuracy of the status listed.)
Active
Application number
CN202121974648.0U
Other languages
English (en)
Inventor
张景松
Current Assignee (The listed assignees may be inaccurate. Google has not performed a legal analysis and makes no representation or warranty as to the accuracy of the list.)
Shanghai Tongkang Trading Co.,Ltd.
Original Assignee
Huian Yishangshou New Material Co ltd
Priority date (The priority date is an assumption and is not a legal conclusion. Google has not performed a legal analysis and makes no representation as to the accuracy of the date listed.)
Filing date
Publication date
Application filed by Huian Yishangshou New Material Co ltd filed Critical Huian Yishangshou New Material Co ltd
Priority to CN202121974648.0U priority Critical patent/CN216147990U/zh
Application granted granted Critical
Publication of CN216147990U publication Critical patent/CN216147990U/zh
Active legal-status Critical Current
Anticipated expiration legal-status Critical

Links

Images

Landscapes

  • Cleaning Implements For Floors, Carpets, Furniture, Walls, And The Like (AREA)

Abstract

本实用新型提供一种家用多功能簸箕,包括握杆和簸箕箱,所述握杆垂直安装在簸箕箱顶部,且握杆顶端设置有握把,所述握杆侧壁上设有一个通孔,所述握把上安装有拉杆,所述拉杆左侧设置有弹簧;该结构新颖合理,它可以利用变相轮组使挡板上下移动,从而便于将灰尘收集至粉尘收集室内部,避免了粉尘飞扬的问题,并且还设有毛发过滤齿可以对扫把上的头发进行清理,实用性强。

Description

一种家用多功能簸箕
技术领域
本实用新型涉及簸箕技术领域,尤其是一种家用多功能簸箕。
背景技术
簸箕,是一种铲状器具,用以收运垃圾,南充称之为"撮箕",在家里使用簸箕时,其通常只是用来装一些小垃圾,例如头发、灰尘等,但是灰尘装在簸箕里,很容易又飘走,并且与簸箕一起使用的扫把上粘的头发也很难清理,对此颇为麻烦。
有鉴于此,本发明人针对现有技术中的缺陷深入研究,遂得本案。
发明内容
有鉴于此,本实用新型的目的在于提供一种家用多功能簸箕,它可以利用变相轮组使挡板上下移动,从而便于将灰尘收集至粉尘收集室内部,避免了粉尘飞扬的问题,并且还设有毛发过滤齿可以对扫把上的头发进行清理,实用性强。
为了达到上述目的,本实用新型采用这样的技术方案:
一种家用多功能簸箕,包括握杆和簸箕箱,所述握杆垂直安装在簸箕箱顶部,且握杆顶端设置有握把,所述握杆侧壁上设有一个通孔。
优选地,所述握把上安装有拉杆,所述拉杆左侧设置有弹簧,所述弹簧一端固定连接在握杆表面,且另一端穿过拉杆与拉杆右侧的连杆相连接,所述连杆远离弹簧的另一端穿过通孔与握杆内部设置的连接线相连接,所述连接线的另一端延伸至簸箕箱内部。
优选地,所述簸箕箱内部设置有变相轮组,所述变相轮组与连接线转动连接,且连接线底部安装有挡板,所述挡板右侧设置有粉尘收集室。
优选地,所述簸箕箱内部上方设置有毛发过滤齿,所述毛发过滤齿一端与变相轮组固定连接。
优选地,所述连杆位于握杆内部的端面上设置有限位块。
通过采用上述技术方案,本实用新型的有益效果是:
本实用新型,为一种家用多功能簸箕,在使用时,可以通过按下拉杆,使得连接线会通过变相轮组的运作来拉动挡板,从而使灰尘可以进入粉尘收集室内,当松开拉杆,则挡板往下,可以避免灰尘从粉尘收集室内飞出,同时,该簸箕还通过设置有毛发过滤齿,可以将扫把上粘的头发进行清理;该结构新颖,它可以利用变相轮组使挡板上下移动,从而便于将灰尘收集至粉尘收集室内部,避免了粉尘飞扬的问题,并且还设有毛发过滤齿可以对扫把上的头发进行清理,实用性强。
附图说明
图1为本实用新型的簸箕结构示意图;
图2为本实用新型的簸箕内部结构示意图;
图3为本实用新型的A的放大结构示意图;
图4为本实用新型的B的放大结构示意图;
附图标记说明:
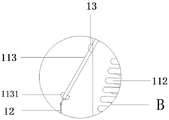
握杆-1、簸箕箱-2、握把-11、连接线-12、通孔-13、拉杆-111、弹簧-112、连杆-113、限位块-1131、毛发过滤齿-21、粉尘收集室-22、挡板-23、变相轮组-24。
具体实施方式
为使实用新型实施例的目的、技术方案和优点更加清楚,下面将结合本实用新型实施例,对本实用新型实施例中的技术方案进行清楚、完整地描述,显然,所描述的实施例是本实用新型一部分实施例,而不是全部的实施例。基于本实用新型中的实施例,本领域普通技术人员在没有作出创造性劳动前提下所获得的所有其他实施例,都属于本实用新型保护的范围。
一种家用多功能簸箕,包括握杆1和簸箕箱2,所述握杆1垂直安装在簸箕箱2顶部,且握杆1顶端设置有握把11,所述握杆1侧壁上设有一个通孔13。
进一步地,握把11上安装有拉杆111,所述拉杆111左侧设置有弹簧112,所述弹簧112一端固定连接在握杆1表面,且另一端穿过拉杆111与拉杆111右侧的连杆113相连接,所述连杆113远离弹簧112的另一端穿过通孔13与握杆1内部设置的连接线12相连接,所述连接线12的另一端延伸至簸箕箱2内部;该技术使得松开拉杆111时弹簧112可以进行复位,从而便于连接线12向下运动。
进一步地,簸箕箱2内部设置有变相轮组24,所述变相轮组24与连接线12转动连接,且连接线12底部安装有挡板23,所述挡板23右侧设置有粉尘收集室22;该技术可以通过按下拉杆111,使得连接线12会通过变相轮组24的运作来拉动挡板23,从而使灰尘可以进入粉尘收集室22内,当松开拉杆111,则挡板23往下,避免粉尘飞扬。
进一步地,簸箕箱2内部上方设置有毛发过滤齿21,所述毛发过滤齿21一端与变相轮组24固定连接;该技术可以将扫把上的毛发清理至簸箕箱2内。
进一步地,连杆113位于握杆1内部的端面上设置有限位块1131;该技术可以避免连杆113从通孔13内掉出。
以上实施例仅用以说明本实用新型的技术方案,而非对其限制;尽管参照前述实施例对本实用新型进行了详细的说明,本领域的普通技术人员应当理解:其依然可以对前述各实施例所记载的技术方案进行修改,或者对其中部分技术特征进行等同替换;而这些修改或者替换,并不使相应技术方案的本质脱离本实用新型各实施例技术方案的精神和范围。

Claims (5)

1.一种家用多功能簸箕,包括握杆(1)和簸箕箱(2),其特征在于,所述握杆(1)垂直安装在簸箕箱(2)顶部,且握杆(1)顶端设置有握把(11),所述握杆(1)侧壁上设有一个通孔(13)。
2.根据权利要求1所述的一种家用多功能簸箕,其特征在于,所述握把(11)上安装有拉杆(111),所述拉杆(111)左侧设置有弹簧(112),所述弹簧(112)一端固定连接在握杆(1)表面,且另一端穿过拉杆(111)与拉杆(111)右侧的连杆(113)相连接,所述连杆(113)远离弹簧(112)的另一端穿过通孔(13)与握杆(1)内部设置的连接线(12)相连接,所述连接线(12)的另一端延伸至簸箕箱(2)内部。
3.根据权利要求2所述的一种家用多功能簸箕,其特征在于,所述簸箕箱(2)内部设置有变相轮组(24),所述变相轮组(24)与连接线(12)转动连接,且连接线(12)底部安装有挡板(23),所述挡板(23)右侧设置有粉尘收集室(22)。
4.根据权利要求3所述的一种家用多功能簸箕,其特征在于,所述簸箕箱(2)内部上方设置有毛发过滤齿(21),所述毛发过滤齿(21)一端与变相轮组(24)固定连接。
5.根据权利要求2所述的一种家用多功能簸箕,其特征在于,所述连杆(113)位于握杆(1)内部的端面上设置有限位块(1131)。
CN202121974648.0U 2021-08-23 2021-08-23 一种家用多功能簸箕 Active CN216147990U (zh)

Priority Applications (1)

Application Number Priority Date Filing Date Title
CN202121974648.0U CN216147990U (zh) 2021-08-23 2021-08-23 一种家用多功能簸箕

Applications Claiming Priority (1)

Application Number Priority Date Filing Date Title
CN202121974648.0U CN216147990U (zh) 2021-08-23 2021-08-23 一种家用多功能簸箕

Publications (1)

Publication Number Publication Date
CN216147990U true CN216147990U (zh) 2022-04-01

Family

ID=80839256

Family Applications (1)

Application Number Title Priority Date Filing Date
CN202121974648.0U Active CN216147990U (zh) 2021-08-23 2021-08-23 一种家用多功能簸箕

Country Status (1)

Country Link
CN (1) CN216147990U (zh)

Similar Documents

Publication Publication Date Title
CN109157165B (zh) 一种家用智能拖地车
CN214906422U (zh) 自清洁扫地机器人
CN216147990U (zh) 一种家用多功能簸箕
CN205923923U (zh) 一种扫帚
CN201453214U (zh) 带梳子的簸箕
CN205963970U (zh) 一种清扫洁具小推车
CN201143183Y (zh) 一种改进的扫地机
CN202036167U (zh) 新型簸箕
CN213345527U (zh) 一种便于清洁的生活用拖把
CN201861578U (zh) 一种新型拖把
CN210277069U (zh) 一种日常生活用拖地装置
CN201861582U (zh) 一种新型吸尘拖地装置
CN201710289U (zh) 一种扫墙笤帚
CN209252706U (zh) 一种具有除臭功能的智能扫地机
CN208582343U (zh) 一种按压挤水式水盒
CN206482540U (zh) 一种具备储放垃圾及拖地功能的垃圾盒
CN201901381U (zh) 新型垃圾桶
CN215621046U (zh) 一种经济学教学用演示装置
CN217827728U (zh) 一种用于清洁机器人的地拖机构
CN219788325U (zh) 一种多功能保养工具小车
CN216467074U (zh) 一种粉笔灰清理装置
CN205162969U (zh) 一种扫地机
CN213821231U (zh) 一种家用吸尘器
CN202654079U (zh) 具有收集灰尘功能的掸子
CN202355356U (zh) 一种自动清扫器

Legal Events

Date Code Title Description
GR01 Patent grant
GR01 Patent grant
TR01 Transfer of patent right
TR01 Transfer of patent right

Effective date of registration: 20250617

Address after: 201599 Shanghai City, Jinshan District, Zhujing Town, Xiujiang Road 280 Lane 80 No. (South Wing Economic Zone)

Patentee after: Shanghai Tongkang Trading Co.,Ltd.

Country or region after: China

Address before: 362100 No. 236, Dapan village, Wangchuan Town, Hui'an County, Quanzhou City, Fujian Province

Patentee before: Huian Yishangshou New Material Co.,Ltd.

Country or region before: China