CN216129958U - 一种节段栓接的刚构桥梁 - Google Patents

一种节段栓接的刚构桥梁 Download PDF

Info

Publication number
CN216129958U
CN216129958U CN202022771370.9U CN202022771370U CN216129958U CN 216129958 U CN216129958 U CN 216129958U CN 202022771370 U CN202022771370 U CN 202022771370U CN 216129958 U CN216129958 U CN 216129958U
Authority
CN
China
Prior art keywords
prefabricated
sections
plate
section
plates
Prior art date
Legal status (The legal status is an assumption and is not a legal conclusion. Google has not performed a legal analysis and makes no representation as to the accuracy of the status listed.)
Withdrawn - After Issue
Application number
CN202022771370.9U
Other languages
English (en)
Inventor
王晟
宁平华
余宏
乐小刚
王巍
罗永乐
张松涛
熊洪波
Current Assignee (The listed assignees may be inaccurate. Google has not performed a legal analysis and makes no representation or warranty as to the accuracy of the list.)
Guangzhou Municipal Engineering Design & Research Institute Co Ltd
Original Assignee
Guangzhou Municipal Engineering Design & Research Institute Co Ltd
Priority date (The priority date is an assumption and is not a legal conclusion. Google has not performed a legal analysis and makes no representation as to the accuracy of the date listed.)
Filing date
Publication date
Application filed by Guangzhou Municipal Engineering Design & Research Institute Co Ltd filed Critical Guangzhou Municipal Engineering Design & Research Institute Co Ltd
Priority to CN202022771370.9U priority Critical patent/CN216129958U/zh
Application granted granted Critical
Publication of CN216129958U publication Critical patent/CN216129958U/zh
Withdrawn - After Issue legal-status Critical Current
Anticipated expiration legal-status Critical

Links

Images

Landscapes

  • Bridges Or Land Bridges (AREA)

Abstract

本实用新型公开了一种节段栓接的刚构桥梁,包括若干预制主梁节段、墩柱、预制横梁,两个相邻的预制主梁节段通过预制横梁栓接,该墩柱插入预制横梁中形成暗横梁结构。通过将盖梁藏入主梁结构中,降低了建筑高度,提高了美感,且将该暗横梁结构制成钢预制件,吊重较小,现场施工便捷。预制横梁内部设置槽孔,槽孔内设置横梁剪力连接件,将墩柱的伸入段插入槽孔并通过高强混凝土浆实现墩柱与盖梁的刚接,利用体系优势降低了结构的用钢量,节省了造价。将主梁结构主要的制造放在了预制厂,有利于保证工程质量,适用于较大跨径的钢混组合梁,且有利于充分发挥钢混组合梁的结构优势,具有良好的技术经济效益及广阔的应用前景。

Description

一种节段栓接的刚构桥梁
技术领域
本实用新型涉及桥梁技术领域,特别涉及一种节段栓接的刚构桥梁。
背景技术
城市桥梁传统的现浇施工易导致施工区域通行能力骤降,影响道路的畅通与安全,且存在现场作业量大、建造效率低、整体能耗高,扰民现象严重。装配式桥梁通过构件工业化制造、装配化施工,可显著加快施工进度、减小对既有交通的干扰,且有利于环境保护。
在装配式桥梁中,钢混组合梁易被设计为装配式构件,且钢混组合梁发挥了钢材与混凝土各自的材料优势,是一种竞争力强的桥梁结构。现阶段常用的装配式钢混组合连续梁的设计方法是将主梁设置为纵向分段构件,且需要设置高度较大的盖梁结构,增大了结构高度,提高了建筑成本,降低了美感。
实用新型内容
本实用新型的目的在于提供一种节段栓接的刚构桥梁,以解决需要设置高度较大的盖梁结构的问题。
为解决上述技术问题所采用的技术方案:一种节段栓接的刚构桥梁,包括,预制主梁节段,该预制主梁节段包括主梁顶板、主梁底板、主梁腹板、混凝土板和若干顶板剪力连接件,该混凝土板设置在该主梁顶板上方,该顶板剪力连接件焊接于该主梁顶板并将该混凝土板与主梁顶板连成整体,该主梁腹板设置在主梁顶板与主梁底板之间;
墩柱,上方设置伸入段;以及
预制横梁,包括横梁顶板、横梁底板、横梁腹板和孔壁钢板,该预制横梁设置在该墩柱上方,设有主梁伸出段,该横梁底板设有开孔,该孔壁钢板设置在该横梁腹板间,该孔壁钢板与该横梁腹板之间形成槽孔,该槽孔位置位于该主梁腹板的断面外侧,该伸入段插入该槽孔,该槽孔内部设置有横梁剪力连接件,该横梁顶板设有注浆孔,该墩柱上端设置有钢筋板,该钢筋板横向设置且插穿槽孔,该预制横梁与该墩柱通过高强混凝土浆实现连接;该预制主梁节段可分为预制端部节段、预制中梁节段,该主梁顶板与横梁顶板间采用栓接,该主梁腹板与横梁腹板间采用栓接,该主梁底板与横梁底板间采用栓接;
该预制端部节段分为预制端部a节段、预制端部b节段,将该预制中梁节段分为预制中梁a节段、预制中梁b节段,其中该预制端部b节段、该预制中梁a节段与该预制横梁连接,之间连接段组成纵向连接段a,该预制端部a节段与该预制端部b节段、该预制中梁a节段与该预制中梁b节段之间组成纵向连接段b;
该纵向连接段b之间相邻的主梁顶板、主梁底板和主梁腹板相互对接且通过螺栓紧固连接。
有益效果:通过将盖梁藏入主梁结构中,形成暗横梁结构,降低了建筑高度,提高了美感,且将该暗横梁结构制成钢预制件,吊重较小,现场施工便捷;预制横梁内部设置槽孔,槽孔内设置横梁剪力连接件,将墩柱外伸钢筋插入槽孔并通过高强混凝土浆实现墩柱与盖梁的刚接,利用体系优势降低了结构的用钢量,节省了造价。墩柱的横桥向位置位于主梁之间,避免了墩柱与主梁、横梁之间的复杂节点设计,且布置灵活,可根据现场实际情况调整墩柱横向位置。预制主梁节段间采用节段间栓接,避免了底板仰焊可能造成的焊接质量问题。
进一步地,该墩柱设置为矩形结构,该伸入段的长度不应小于该墩柱长边尺寸的1.2倍。
进一步地,该墩柱设置为圆柱结构,该伸入段设置成圆形或矩形,其长度不应小于该墩柱直径的1.2倍。
进一步地,该墩柱的横桥向设置托耳,该托耳上方设置支座,该预制横梁于支座上方内部设置有支座加劲肋。
进一步地,该主梁腹板和横梁腹板统称为腹板,主梁底板和横梁底板统称为底板,该主梁顶板与横梁顶板统称为顶板;
相邻节段间的底板和腹板之间设置有第一拼接板并通过高强螺栓紧固连接;相邻节段间的顶板之间设置有第二拼接板并通过高强螺栓紧固连接,该第一拼接板为普通平板拼接板,该第二拼接板包括一块水平板和若干竖向板,该高强螺栓穿设与该顶板和该水平板将相邻节段间的顶板连成整体,该竖向板内穿设有横向钢筋,使纵向连接段范围内的混凝土板与该顶板连成一体,通过横向湿接缝实现相邻主梁结构的连接;
位于墩柱附近该主梁结构的该底板区域设置有底板剪力连接件,该底板剪力连接件用梁底混凝土覆盖形成混凝土加强层。
进一步地,该预制端部b节段靠近预制横梁一侧设置预留段。
进一步地,该预制主梁节段之间设置有横梁。
附图说明
下面结合附图和实施例对本实用新型做进一步的说明:
图1为预制主梁节段细分时节段分段图;
图2为插槽孔处侧面示意图;
图3为主梁处侧面示意图;
图4为节段栓焊的钢混组合刚构体系的俯视图;
图5为墩柱横断面示意图;
图6为小横联截面处横断面示意图。
具体实施方式
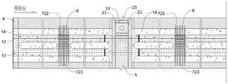
参照图1至图6,本实用新型提供一种节段栓接的刚构桥梁,包括若干预制主梁节段1、墩柱3、预制横梁2,两个相邻的预制主梁节段1通过预制横梁 2栓接,该墩柱3插入预制横梁2中形成暗横梁结构。具体的,该预制主梁节段1包括主梁顶板11、主梁底板13、主梁腹板12、混凝土板14和若干顶板剪力连接件,该混凝土板14设置在该主梁顶板11上方,该顶板剪力连接件焊接于该主梁顶板11并将该混凝土板14与主梁顶板11连成整体,该主梁腹板12焊接在主梁顶板11与主梁底板13之间,该主梁顶板11,主梁底板13与主梁腹板12的材料均为钢梁。该墩柱3上方设置伸入段31。该预制横梁2包括横梁顶板21、横梁底板22、横梁腹板23和孔壁钢板24,该预制横梁2设置在该墩柱3上方,并设有主梁伸出段,用于与该预制端部节段101、预制中梁节段 102连接形成主梁结构,该连接位置即为该纵向连接段,相邻的该主梁结构通过横向连接段连接形成桥跨结构。该横梁底板22设有开孔,开孔的孔径稍大于墩柱3直径,使得墩柱3的伸入段31能够插入预制横梁2内。该孔壁钢板24 设置在该横梁腹板23间,该孔壁钢板24与该横梁腹板23之间形成槽孔,该槽孔位置位于该主梁腹板12的断面外侧,该槽孔内部焊接有横梁剪力连接件26,该伸入段31插入该槽孔,该横梁顶板21设有注浆孔,该预制横梁2与该墩柱 3通过高强混凝土浆实现连接。通过在墩柱3上设置伸入段31,将伸入段31 插入槽孔中,使得盖梁藏入主梁结构中,形成暗横梁结构,降低了建筑高度,提高了美感,且将该暗横梁结构制成钢预制件,吊重较小,现场施工便捷。预制横梁2内部设置槽孔,槽孔内设置横梁剪力连接件26,该墩柱3上端设置有钢筋板27,该钢筋板27横向设置且插穿槽孔,该将伸入段31插入槽孔并通过高强混凝土浆实现墩柱3与盖梁的刚接,利用体系优势降低了结构的用钢量,节省了造价。该预制主梁节段1可分为预制端部节段101、预制中梁节段102,位于桥体两端的称为预制端部节段101,其余节段称为预制中梁节段102。该主梁顶板11与横梁顶板21间采用栓接,该主梁腹板12与横梁腹板23间采用栓接,该主梁底板13与横梁底板22间采用栓接。预制主梁节段1间采用节段间栓接,避免了底板仰焊可能造成的焊接质量问题。优选的,为适应跨度较长桥梁的制造,该预制端部节段101分为预制端部a节段、预制端部b节段。将该预制中梁节段102分为预制中梁a节段、预制中梁b节段。其中该预制端部b 节段、该预制中梁a节段与该预制横梁2连接,之间连接段组成纵向连接段a,该预制端部a节段与该预制端部b节段、该预制中梁a节段与该预制中梁b节段之间组成纵向连接段b。该纵向连接段b之间的两个主梁顶板11相互对接且栓接固定,该纵向连接段b之间相邻的主梁底板13和主梁腹板12相互对接且通过螺栓紧固连接。现浇纵向连接段b湿接缝8以形成纵向连接段;在相邻的混凝土板14之间现浇横向连接段湿接缝4以形成横向连接段。
优选的,该墩柱3设置为矩形结构,该伸入段31的长度不应小于该墩柱3 长边尺寸的1.2倍。
优选的,该墩柱3设置为圆柱结构,该伸入段31设置成圆形或矩形,其长度不应小于该墩柱3直径的1.2倍。
优选的,该墩柱3横桥向设置托耳32,该托耳32上方设置支座33,该预制横梁2于支座33上方内部设置有支座加劲肋25。保证局部稳定并传递集中力,提高预制横梁2的稳定性和抗扭性能。
继续参照图3,该主梁腹板12和横梁腹板23统称为腹板,主梁底板13和横梁底板22统称为底板,该主梁顶板11与横梁顶板21统称为顶板。具体的,相邻节段间的底板和腹板之间设置有第一拼接板71并通过高强螺栓73紧固连接;相邻节段间的顶板之间设置有第二拼接板并通过高强螺栓73紧固连接,该第一拼接板71为普通平板拼接板,该第二拼接板包括一块水平板721和若干竖向板722,该高强螺栓73穿设与该顶板和该水平板721将相邻节段间的顶板连成整体,该竖向板722内穿设有横向钢筋723,使纵向连接段范围内的混凝土板与该顶板连成一体,在该横向连接段处通过横向连接段湿接缝4实现相邻主梁结构的连接;位于墩柱3附近主梁结构的该底板区域设置有底板剪力连接件,该底板剪力连接件用梁底混凝土覆盖形成混凝土加强层。位于墩柱3附近的该主梁底板13与横梁底板22设置有底板剪力连接件形成混凝土加强层。第二拼接板不仅实现了顶板之间的紧固,还可将顶板与混凝土后浇段连成整体,避免了该位置栓钉的设置,简化了施工。制作预制节段时将预制中梁节段102设置为预弯结构,对于预制中梁节段102而言可以充分利用混凝土的受压性能、减小用钢量。
优选的,在节段制作时,该预制端部b节段靠近预制横梁2一侧留有一定距离不浇筑混凝土,称为预留段。
优选地,为提高结构稳定性、增加受压区域面积,顶板在两端处的宽度设置成大于中间的宽度。预制主梁节段1两端的顶板加宽,必要时可适当加厚,顶板的加宽区域上方同样设置有顶板剪力连接件。在预制主梁节段1之间设置横梁。顶板加宽并配合连接板,使得主梁结构的受压面积增大,连接完成后可以拆除纵向连接段下方的临时墩6,大大减小了对下方道路的交通干扰。同时,第二螺栓不仅实现了负弯矩区底板及正弯矩区顶板之间的紧固,还可将顶板与混凝土后浇段连成整体,避免了该位置栓钉的设置,简化了施工。
具体的,该节段栓接的刚构桥梁的施工方法,包括以下步骤:
S1、制作预制横梁2、预制端部a节段、预制端部b节段、预制中梁a节段、预制中梁b节段。
S2、浇筑或吊装墩柱3,安装托耳32上的支座33,吊装预制横梁2,将墩柱3的伸入段31插入预制横梁2中的槽孔,通过高强混凝土浆浇筑横向设置且插穿槽孔的钢筋板实现连接。
S3、吊装在纵向连接段a、纵向连接段b的下方设置临时墩6,节段之间采用全栓连接固定,浇筑梁底混凝土。
S4、拆除上述临时墩6。
S5、浇筑纵向连接段b湿接缝8和横向连接段湿接缝4。
S6、浇筑预制端部b节段的预留段及预制横梁2顶部混凝土层形成负弯矩区湿接缝5,必要时施加一定压重。
S7、施工桥面及附属设施。
优选的,将预制中梁节段102设置为预弯结构,具体的,在步骤S1中,制作预制中梁b节段时,利用反力架固定在该节段两端的梁顶,在预制中梁b节段的底部设置千斤顶并施加顶升力,当顶升力达到预定值后置换成跨中梁底支承,随后浇筑顶部的混凝土板14。
优选的,在该预制中梁b节段的底板设置有加强肋。
预制主梁节段1满足工程建筑模数协调,有利于工业化大规模生产,横向连接段湿接缝4的宽度可调节,适用于变宽段的应用。将主梁结构主要的制造放在了预制厂,有利于保证工程质量,适用于较大跨径的钢混组合梁,且有利于充分发挥钢混组合梁的结构优势,具有良好的技术经济效益及广阔的应用前景。
上面结合附图对本实用新型的实施方式作了详细说明,但是本实用新型不限于上述实施方式,在该技术领域普通技术人员所具备的知识范围内,还可以在不脱离本实用新型宗旨的前提下作出各种变化。

Claims (7)

1.一种节段栓接的刚构桥梁,其特征在于,包括:
预制主梁节段,包括主梁顶板、主梁底板、主梁腹板、混凝土板和若干顶板剪力连接件,所述混凝土板设置在所述主梁顶板上方,所述顶板剪力连接件焊接于所述主梁顶板并将所述混凝土板与主梁顶板连成整体,所述主梁腹板设置在主梁顶板与主梁底板之间;
墩柱,上方设置伸入段;以及
预制横梁,包括横梁顶板、横梁底板、横梁腹板和孔壁钢板,所述预制横梁设置在所述墩柱上方,设有主梁伸出段,所述横梁底板设有开孔,所述孔壁钢板设置在所述横梁腹板间,所述孔壁钢板与所述横梁腹板之间形成槽孔,所述槽孔位置位于所述主梁腹板的断面外侧,所述伸入段插入所述槽孔,所述槽孔内部设置有横梁剪力连接件,所述横梁顶板设有注浆孔,所述墩柱上端设置有钢筋板,所述钢筋板横向设置且插穿槽孔,所述预制横梁与所述墩柱通过高强混凝土浆实现连接;所述预制主梁节段可分为预制端部节段、预制中梁节段,所述主梁顶板与横梁顶板间采用栓接,所述主梁腹板与横梁腹板间采用栓接,所述主梁底板与横梁底板间采用栓接;所述预制端部节段分为预制端部a节段、预制端部b节段,将所述预制中梁节段分为预制中梁a节段、预制中梁b节段,其中所述预制端部b节段、所述预制中梁a节段与所述预制横梁连接,之间连接段组成纵向连接段a,所述预制端部a节段与所述预制端部b节段、所述预制中梁a节段与所述预制中梁b节段之间组成纵向连接段b;
所述纵向连接段b之间相邻的主梁顶板、主梁底板和主梁腹板相互对接且通过螺栓紧固连接。
2.根据权利要求1所述的节段栓接的刚构桥梁,其特征在于:
所述墩柱设置为矩形结构,所述伸入段的长度不应小于所述墩柱长边尺寸的1.2倍。
3.根据权利要求1所述的节段栓接的刚构桥梁,其特征在于:
所述墩柱设置为圆柱结构,所述伸入段设置成圆形或矩形,其长度不应小于所述墩柱直径的1.2倍。
4.根据权利要求1所述的节段栓接的刚构桥梁,其特征在于:
所述墩柱的横桥向设置托耳,所述托耳上方设置支座,所述预制横梁于支座上方内部设置有支座加劲肋。
5.根据权利要求1所述的节段栓接的刚构桥梁,其特征在于:
所述主梁腹板和横梁腹板统称为腹板,主梁底板和横梁底板统称为底板,所述主梁顶板与横梁顶板统称为顶板;
相邻节段间的底板和腹板之间设置有第一拼接板并通过高强螺栓紧固连接;相邻节段间的顶板之间设置有第二拼接板并通过高强螺栓紧固连接,所述第一拼接板为普通平板拼接板,所述第二拼接板包括一块水平板和若干竖向板,所述高强螺栓穿设与所述顶板和所述水平板将相邻节段间的顶板连成整体,所述竖向板内穿设有横向钢筋,使纵向连接段范围内的混凝土板与所述顶板连成一体,通过横向湿接缝实现相邻主梁结构的连接;
位于墩柱附近所述主梁结构的所述底板区域设置有底板剪力连接件,所述底板剪力连接件用梁底混凝土覆盖形成混凝土加强层。
6.根据权利要求1所述的节段栓接的刚构桥梁,其特征在于:
所述预制端部b节段靠近预制横梁一侧设置预留段。
7.根据权利要求1所述的节段栓接的刚构桥梁,其特征在于:
所述预制主梁节段之间设置有横梁。
CN202022771370.9U 2020-11-25 2020-11-25 一种节段栓接的刚构桥梁 Withdrawn - After Issue CN216129958U (zh)

Priority Applications (1)

Application Number Priority Date Filing Date Title
CN202022771370.9U CN216129958U (zh) 2020-11-25 2020-11-25 一种节段栓接的刚构桥梁

Applications Claiming Priority (1)

Application Number Priority Date Filing Date Title
CN202022771370.9U CN216129958U (zh) 2020-11-25 2020-11-25 一种节段栓接的刚构桥梁

Publications (1)

Publication Number Publication Date
CN216129958U true CN216129958U (zh) 2022-03-25

Family

ID=80764523

Family Applications (1)

Application Number Title Priority Date Filing Date
CN202022771370.9U Withdrawn - After Issue CN216129958U (zh) 2020-11-25 2020-11-25 一种节段栓接的刚构桥梁

Country Status (1)

Country Link
CN (1) CN216129958U (zh)

Cited By (1)

* Cited by examiner, † Cited by third party
Publication number Priority date Publication date Assignee Title
CN112502025A (zh) * 2020-11-25 2021-03-16 广州市市政工程设计研究总院有限公司 一种节段栓接的刚构桥梁及其施工方法

Cited By (2)

* Cited by examiner, † Cited by third party
Publication number Priority date Publication date Assignee Title
CN112502025A (zh) * 2020-11-25 2021-03-16 广州市市政工程设计研究总院有限公司 一种节段栓接的刚构桥梁及其施工方法
CN112502025B (zh) * 2020-11-25 2025-02-18 广州市市政工程设计研究总院有限公司 一种节段栓接的刚构桥梁及其施工方法

Similar Documents

Publication Publication Date Title
CN112458877B (zh) 一种装配式钢混组合刚构桥及其施工方法
CN112411352B (zh) 一种装配式钢-混凝土组合刚构桥梁及其施工方法
CN202131559U (zh) 一种波形钢腹板预应力混凝土连续箱梁
CN114592440B (zh) 一种装配式钢混组合桥梁上部结构及其施工工艺
CN102220739A (zh) 一种波形钢腹板预应力混凝土连续箱梁及施工方法
CN103388303A (zh) 一种横向拼装波形钢腹板组合箱梁及施工方法
CN111455812B (zh) 一种加劲弦杆拓展钢桁组合连续梁桥施工方法
CN106894326A (zh) 装配式先张法预应力波形钢腹板组合箱梁的施工方法
CN214301800U (zh) 一种边坡装配式框架梁
CN109440634B (zh) 内模可取出的预制高强混凝土空心盖梁结构
CN112982139A (zh) 一种宽幅大跨混合梁矮塔斜拉桥体系及其施工方法
CN112411355A (zh) 一种钢混组合桥及其施工方法
CN211735002U (zh) 一种快速化安装的钢-混凝土组合梁桥
US12473699B2 (en) Steel-concrete composite web and construction method thereof
CN211522899U (zh) 一种便于采用架桥机架设的大跨径钢混组合梁
CN210086022U (zh) 拼装式单箱多室波形钢腹板箱梁
CN214459552U (zh) 一种装配式钢-混凝土组合刚构桥梁
CN214459551U (zh) 一种节段间栓焊式组合连续梁
CN214459548U (zh) 一种装配式钢混组合刚构桥
CN211947879U (zh) 一种装配式波形腹板钢箱-uhpc组合梁桥
CN214737317U (zh) 一种插槽连接的钢混组合刚构桥梁
CN216129958U (zh) 一种节段栓接的刚构桥梁
CN216892028U (zh) 一种用于变截面不等高钢箱梁的顶推调平结构
CN201381470Y (zh) 装配式变截面组合连续梁桥
CN112502025B (zh) 一种节段栓接的刚构桥梁及其施工方法

Legal Events

Date Code Title Description
GR01 Patent grant
GR01 Patent grant
AV01 Patent right actively abandoned

Granted publication date: 20220325

Effective date of abandoning: 20250218

AV01 Patent right actively abandoned

Granted publication date: 20220325

Effective date of abandoning: 20250218

AV01 Patent right actively abandoned
AV01 Patent right actively abandoned