CN216117474U - 一种具有定位机构的土木工程用探测勘察锤 - Google Patents
一种具有定位机构的土木工程用探测勘察锤 Download PDFInfo
- Publication number
- CN216117474U CN216117474U CN202122235311.4U CN202122235311U CN216117474U CN 216117474 U CN216117474 U CN 216117474U CN 202122235311 U CN202122235311 U CN 202122235311U CN 216117474 U CN216117474 U CN 216117474U
- Authority
- CN
- China
- Prior art keywords
- rod
- fixed mounting
- hammer
- civil engineering
- pole
- Prior art date
- Legal status (The legal status is an assumption and is not a legal conclusion. Google has not performed a legal analysis and makes no representation as to the accuracy of the status listed.)
- Expired - Fee Related
Links
- 230000001681 protective effect Effects 0.000 claims abstract description 17
- VYPSYNLAJGMNEJ-UHFFFAOYSA-N Silicium dioxide Chemical compound O=[Si]=O VYPSYNLAJGMNEJ-UHFFFAOYSA-N 0.000 claims description 3
- 239000000463 material Substances 0.000 claims description 3
- 239000000741 silica gel Substances 0.000 claims description 3
- 229910002027 silica gel Inorganic materials 0.000 claims description 3
- 230000000694 effects Effects 0.000 claims description 2
- 230000000149 penetrating effect Effects 0.000 description 4
- 238000001125 extrusion Methods 0.000 description 2
- 238000005299 abrasion Methods 0.000 description 1
- 230000009286 beneficial effect Effects 0.000 description 1
- 238000009435 building construction Methods 0.000 description 1
- 238000001514 detection method Methods 0.000 description 1
- JEIPFZHSYJVQDO-UHFFFAOYSA-N iron(III) oxide Inorganic materials O=[Fe]O[Fe]=O JEIPFZHSYJVQDO-UHFFFAOYSA-N 0.000 description 1
- 238000000034 method Methods 0.000 description 1
Images
Landscapes
- Geophysics And Detection Of Objects (AREA)
Abstract
本实用新型涉及勘察锤技术领域,具体为一种具有定位机构的土木工程用探测勘察锤,包括一号杆,所述一号杆的一侧通过卡合机构套接有防护壳,所述一号杆的一侧通过定点机构卡合安装有二号杆,所述二号杆的一侧固定安装有锤头;定点机构,包括连接块,所述一号杆的一侧固定安装有连接块,所述连接块的内部矩形槽中通过转轴转动安装有按压板,所述按压板的一侧固定安装有贯穿杆。本实用新型通过设置有定点机构,限位杆离开卡槽,使得二号杆向前滑动,调整合适的敲击长度进行使用,松开按压板的一侧,限位杆受到二号弹簧推动自动卡入到限位杆的内部进行限位,使得二号杆被稳定的卡死,便于使用者操作检测建筑。
Description
技术领域
本实用新型涉及勘察锤技术领域,具体为一种具有定位机构的土木工程用探测勘察锤。
背景技术
土木工程主要研究建筑搭建设施等项目,专业土木人员对建筑施工检测一般会采用空鼓锤进行检测,检测墙体的状态,便于测试建筑是否达标。
但是,现有的探测勘察锤一般固定长度,多级可调杆锤容易在摆动中随意移动位置,都不便于调节定位,稳定长度,因此,需要设计一种具有定位机构的土木工程用探测勘察锤以解决上述问题。
实用新型内容
本实用新型的目的在于提供一种具有定位机构的土木工程用探测勘察锤,以解决上述背景技术中提出的现有的探测勘察锤一般固定长度,多级可调杆锤容易在摆动中随意移动位置,都不便于调节定位,稳定长度的问题。
为实现上述目的,本实用新型提供如下技术方案:一种具有定位机构的土木工程用探测勘察锤,包括:
一号杆,所述一号杆的一侧通过卡合机构套接有防护壳,所述一号杆的一侧通过定点机构卡合安装有二号杆,所述二号杆的一侧固定安装有锤头;
定点机构,包括连接块,所述一号杆的一侧固定安装有连接块,所述连接块的内部矩形槽中通过转轴转动安装有按压板,所述按压板的一侧固定安装有贯穿杆,所述连接块一侧的顶端固定安装有空仓盒,所述空仓盒的内部滑动安装有空心柱,所述贯穿杆一端插入空心柱的内部,所述空心柱的顶端固定安装有二号弹簧,所述空心柱的底端固定安装有限位杆,所述二号杆的外侧均匀的开设有卡槽,便于使用者操作检测建筑。
优选的,所述防护壳的一侧固定安装有吊环,所述吊环为硅胶材质,便于收纳。
优选的,所述锤头的外侧卡入有防护罩,所述防护罩的内部两侧皆固定安装有一号弹簧,所述一号弹簧的一侧皆固定安装有夹持块,将防护罩卡在锤头上,夹持块挤压锤头,将锤头防护起来,避免锤头生锈磨损。
优选的,所述一号杆的外侧分别固定安装有一号磁片和二号磁片,所述一号磁片和二号磁片的一侧皆固定安装有滑块,金属件失去磁力吸附,便于掉落收集起来。
优选的,所述防护壳内部的两侧开设有滑槽,所述防护壳的外侧套接有防滑套,提高体验性。
优选的,所述卡合机构包括凹板,所述凹板的内部活动卡入有卡板,所述卡板的内部开设有圆槽,所述凹板的顶端插入有T杆,所述T杆的外侧套接有三号弹簧,所述三号弹簧的一侧与凹板的一侧固定连接,所述卡板的一侧与防护壳的一侧转动连接,所述凹板的一侧与一号杆的一侧固定连接,使得防护壳和一号杆连接,防止防护壳脱落。
与现有技术相比,本实用新型的有益效果是:
1、通过设置有定点机构,限位杆离开卡槽,使得二号杆向前滑动,调整合适的敲击长度进行使用,松开按压板的一侧,限位杆受到二号弹簧推动自动卡入到限位杆的内部进行限位,使得二号杆被稳定的卡死,便于使用者操作检测建筑。
2、通过设置有防护壳、滑块、滑槽、一号磁片、二号磁片和卡合机构,可以吸附地面掉落的一些小零件能够被吸附在防护壳的外侧,能够快速的寻找丢失金属件,将防护壳向外滑动,金属件失去磁力吸附,便于掉落收集起来,将依靠三号弹簧拉伸的T杆卡入到圆槽中,便于固定卡板,使得防护壳和一号杆连接,防止防护壳脱落。
附图说明
图1为本实用新型的使用结构正视示意图;
图2为本实用新型的图1中A-A的侧视剖面结构示意图;
图3为本实用新型的卡合机构正视剖面结构示意图;
图4为本实用新型的图1中B处结构局部放大示意图。
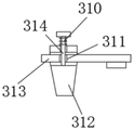
图中:110、一号杆;120、二号杆;130、防护壳;131、滑块;132、滑槽;133、一号磁片;134、二号磁片;140、锤头;141、一号弹簧;142、夹持块;143、防护罩;150、吊环;200、定点机构;210、空仓盒;211、二号弹簧;212、按压板;213、连接块;214、空心柱;215、卡槽;216、限位杆;217、贯穿杆;300、卡合机构;310、三号弹簧;311、圆槽;312、凹板;313、卡板;314、T杆。
具体实施方式
下面将结合本实用新型实施例中的附图,对本实用新型实施例中的技术方案进行清楚、完整地描述,显然,所描述的实施例仅仅是本实用新型一部分实施例,而不是全部的实施例。基于本实用新型中的实施例,本领域普通技术人员在没有做出创造性劳动前提下所获得的所有其他实施例,都属于本实用新型保护的范围。
请参阅图1-4,本实用新型提供的一种实施例:
一种具有定位机构的土木工程用探测勘察锤,包括:
一号杆110,一号杆110的一侧通过卡合机构300套接有防护壳130,一号杆110的一侧通过定点机构200卡合安装有二号杆120,二号杆120的一侧固定安装有锤头140;
定点机构200,包括连接块213,一号杆110的一侧固定安装有连接块213,连接块213的内部矩形槽中通过转轴转动安装有按压板212,按压板212的一侧固定安装有贯穿杆217,连接块213一侧的顶端固定安装有空仓盒210,空仓盒210的内部滑动安装有空心柱214,贯穿杆217一端插入空心柱214的内部,空心柱214的顶端固定安装有二号弹簧211,空心柱214的底端固定安装有限位杆216,二号杆120的外侧均匀的开设有卡槽215,使用者可以同时按压两侧的按压板212,使得贯穿杆217带动空心柱214挤压二号弹簧211,空仓盒210一侧有充分的移动槽,限位杆216离开卡槽215,使得二号杆120向前滑动,调整合适的敲击长度进行使用,松开按压板212的一侧,限位杆216受到二号弹簧211推动自动卡入到限位杆216的内部进行限位,使得二号杆120被稳定的卡死,便于使用者操作检测建筑。
进一步的,防护壳130的一侧固定安装有吊环150,吊环150为硅胶材质,通过吊环150可以将设备悬挂放置,便于收纳。
进一步的,锤头140的外侧卡入有防护罩143,防护罩143的内部两侧皆固定安装有一号弹簧141,一号弹簧141的一侧皆固定安装有夹持块142,将防护罩143卡在锤头140上,夹持块142挤压锤头140,将锤头140防护起来,避免锤头140生锈磨损。
进一步的,一号杆110的外侧分别固定安装有一号磁片133和二号磁片134,一号磁片133和二号磁片134的一侧皆固定安装有滑块131,防护壳130一端放在地面上,通过一号磁片133和二号磁片134,可以吸附地面掉落的一些小零件能够被吸附在防护壳130的外侧,能够快速的寻找丢失金属件,将防护壳130向外滑动,金属件失去磁力吸附,便于掉落收集起来。
进一步的,防护壳130内部的两侧开设有滑槽132,防护壳130的外侧套接有防滑套,防护壳130能够增加使用者使用的舒适度,提高体验性。
进一步的,卡合机构300包括凹板312,凹板312的内部活动卡入有卡板313,卡板313的内部开设有圆槽311,凹板312的顶端插入有T杆314,T杆314的外侧套接有三号弹簧310,三号弹簧310的一侧与凹板312的一侧固定连接,卡板313的一侧与防护壳130的一侧转动连接,凹板312的一侧与一号杆110的一侧固定连接,将卡板313转动卡入到凹板312中,将依靠三号弹簧310拉伸的T杆314卡入到圆槽311中,便于固定卡板313,使得防护壳130和一号杆110连接,防止防护壳130脱落。
工作原理:使用者可以同时按压两侧的按压板212,使得贯穿杆217带动空心柱214挤压二号弹簧211,空仓盒210一侧有充分的移动槽,限位杆216离开卡槽215,使得二号杆120向前滑动,调整合适的敲击长度进行使用,松开按压板212的一侧,限位杆216受到二号弹簧211推动自动卡入到限位杆216的内部进行限位,使得二号杆120被稳定的卡死。
防护壳130一端放在地面上,通过一号磁片133和二号磁片134,可以吸附地面掉落的一些小零件能够被吸附在防护壳130的外侧,能够快速的寻找丢失金属件,将防护壳130向外滑动,金属件失去磁力吸附,便于掉落收集起来,将卡板313转动卡入到凹板312中,将依靠三号弹簧310拉伸的T杆314卡入到圆槽311中,便于固定卡板313,使得防护壳130和一号杆110连接。
对于本领域技术人员而言,显然本实用新型不限于上述示范性实施例的细节,而且在不背离本实用新型的精神或基本特征的情况下,能够以其他的具体形式实现本实用新型。因此,无论从哪一点来看,均应将实施例看作是示范性的,而且是非限制性的,本实用新型的范围由所附权利要求而不是上述说明限定,因此旨在将落在权利要求的等同要件的含义和范围内的所有变化囊括在本实用新型内。不应将权利要求中的任何附图标记视为限制所涉及的权利要求。
Claims (6)
1.一种具有定位机构的土木工程用探测勘察锤,其特征在于,包括:
一号杆(110),所述一号杆(110)的一侧通过卡合机构(300)套接有防护壳(130),所述一号杆(110)的一侧通过定点机构(200)卡合安装有二号杆(120),所述二号杆(120)的一侧固定安装有锤头(140);
定点机构(200),包括连接块(213),所述一号杆(110)的一侧固定安装有连接块(213),所述连接块(213)的内部矩形槽中通过转轴转动安装有按压板(212),所述按压板(212)的一侧固定安装有贯穿杆(217),所述连接块(213)一侧的顶端固定安装有空仓盒(210),所述空仓盒(210)的内部滑动安装有空心柱(214),所述贯穿杆(217)一端插入空心柱(214)的内部,所述空心柱(214)的顶端固定安装有二号弹簧(211),所述空心柱(214)的底端固定安装有限位杆(216),所述二号杆(120)的外侧均匀的开设有卡槽(215)。
2.根据权利要求1所述的一种具有定位机构的土木工程用探测勘察锤,其特征在于:所述防护壳(130)的一侧固定安装有吊环(150),所述吊环(150)为硅胶材质。
3.根据权利要求1所述的一种具有定位机构的土木工程用探测勘察锤,其特征在于:所述锤头(140)的外侧卡入有防护罩(143),所述防护罩(143)的内部两侧皆固定安装有一号弹簧(141),所述一号弹簧(141)的一侧皆固定安装有夹持块(142)。
4.根据权利要求1所述的一种具有定位机构的土木工程用探测勘察锤,其特征在于:所述一号杆(110)的外侧分别固定安装有一号磁片(133)和二号磁片(134),所述一号磁片(133)和二号磁片(134)的一侧皆固定安装有滑块(131)。
5.根据权利要求4所述的一种具有定位机构的土木工程用探测勘察锤,其特征在于:所述防护壳(130)内部的两侧开设有滑槽(132),所述防护壳(130)的外侧套接有防滑套。
6.根据权利要求5所述的一种具有定位机构的土木工程用探测勘察锤,其特征在于:所述卡合机构(300)包括凹板(312),所述凹板(312)的内部活动卡入有卡板(313),所述卡板(313)的内部开设有圆槽(311),所述凹板(312)的顶端插入有T杆(314),所述T杆(314)的外侧套接有三号弹簧(310),所述三号弹簧(310)的一侧与凹板(312)的一侧固定连接,所述卡板(313)的一侧与防护壳(130)的一侧转动连接,所述凹板(312)的一侧与一号杆(110)的一侧固定连接。
Priority Applications (1)
| Application Number | Priority Date | Filing Date | Title |
|---|---|---|---|
| CN202122235311.4U CN216117474U (zh) | 2021-09-15 | 2021-09-15 | 一种具有定位机构的土木工程用探测勘察锤 |
Applications Claiming Priority (1)
| Application Number | Priority Date | Filing Date | Title |
|---|---|---|---|
| CN202122235311.4U CN216117474U (zh) | 2021-09-15 | 2021-09-15 | 一种具有定位机构的土木工程用探测勘察锤 |
Publications (1)
| Publication Number | Publication Date |
|---|---|
| CN216117474U true CN216117474U (zh) | 2022-03-22 |
Family
ID=80733669
Family Applications (1)
| Application Number | Title | Priority Date | Filing Date |
|---|---|---|---|
| CN202122235311.4U Expired - Fee Related CN216117474U (zh) | 2021-09-15 | 2021-09-15 | 一种具有定位机构的土木工程用探测勘察锤 |
Country Status (1)
| Country | Link |
|---|---|
| CN (1) | CN216117474U (zh) |
-
2021
- 2021-09-15 CN CN202122235311.4U patent/CN216117474U/zh not_active Expired - Fee Related
Similar Documents
| Publication | Publication Date | Title |
|---|---|---|
| CN211350975U (zh) | 一种信息化通信装置 | |
| CN110725337B (zh) | 一种带有防护装置的市政道路窨井 | |
| CN216117474U (zh) | 一种具有定位机构的土木工程用探测勘察锤 | |
| CN211452906U (zh) | 一种土壤环境检测用取样装置 | |
| CN221258215U (zh) | 一种建筑工程灌浆密实检测装置 | |
| CN211291292U (zh) | 岩土地质勘察用孔深测量装置 | |
| CN210901791U (zh) | 一种通讯产品接口信号检测用便携式检测箱 | |
| CN217106410U (zh) | 一种杆塔用防倾斜装置 | |
| CN210441787U (zh) | 一种工件侧测量装置 | |
| CN215832623U (zh) | 一种建筑造价用的长度测量装置 | |
| CN216787885U (zh) | 一种盖瓦施工用基准线标示装置 | |
| CN217078884U (zh) | 提高成孔检测垂直度精度的装置 | |
| CN2350748Y (zh) | 一种分层采泥器 | |
| CN212506204U (zh) | 一种建筑施工用泥土取样装置 | |
| CN213439608U (zh) | 一种新型耐磨堆焊板放置架 | |
| CN205521350U (zh) | 物证搜索打捞装置 | |
| CN211615549U (zh) | 一种方便地质锤悬挂用装置 | |
| CN211147623U (zh) | 一种便携式林业测量装置 | |
| CN208136973U (zh) | 一种市政道路用检测装置 | |
| CN220418279U (zh) | 一种建设工程用多功能测量工具 | |
| CN211592001U (zh) | 一种高等数学教学用移动式曲线绘制装置 | |
| CN212433260U (zh) | 一种快拆式数字电流表 | |
| CN222652631U (zh) | 一种生态检测用土壤开槽装置 | |
| CN212806989U (zh) | 一种矿山爆破设备安全范围测量装置 | |
| CN220481686U (zh) | 一种便携式工具箱 |
Legal Events
| Date | Code | Title | Description |
|---|---|---|---|
| GR01 | Patent grant | ||
| GR01 | Patent grant | ||
| CF01 | Termination of patent right due to non-payment of annual fee |
Granted publication date: 20220322 |
|
| CF01 | Termination of patent right due to non-payment of annual fee |