CN216105276U - Novel antidetonation doubling machine - Google Patents
Novel antidetonation doubling machine Download PDFInfo
- Publication number
- CN216105276U CN216105276U CN202122415099.XU CN202122415099U CN216105276U CN 216105276 U CN216105276 U CN 216105276U CN 202122415099 U CN202122415099 U CN 202122415099U CN 216105276 U CN216105276 U CN 216105276U
- Authority
- CN
- China
- Prior art keywords
- mounting
- bottom plate
- take
- doubling
- guide
- Prior art date
- Legal status (The legal status is an assumption and is not a legal conclusion. Google has not performed a legal analysis and makes no representation as to the accuracy of the status listed.)
- Active
Links
- 230000007246 mechanism Effects 0.000 claims abstract description 47
- 238000009434 installation Methods 0.000 claims abstract description 15
- 230000006835 compression Effects 0.000 claims description 8
- 238000007906 compression Methods 0.000 claims description 8
- 230000000149 penetrating effect Effects 0.000 claims description 3
- 238000005491 wire drawing Methods 0.000 claims 2
- 238000000034 method Methods 0.000 description 9
- 208000004350 Strabismus Diseases 0.000 description 1
- 238000005452 bending Methods 0.000 description 1
- 230000007547 defect Effects 0.000 description 1
- 230000000694 effects Effects 0.000 description 1
- 238000012986 modification Methods 0.000 description 1
- 230000004048 modification Effects 0.000 description 1
Images
Landscapes
- Yarns And Mechanical Finishing Of Yarns Or Ropes (AREA)
Abstract
The utility model relates to the technical field of doubling machines, and discloses a novel anti-seismic doubling machine, which comprises a bottom plate, wherein a doubling mechanism and a take-up mechanism are sequentially arranged on the bottom plate along the length direction of the bottom plate; the doubling mechanism comprises a mounting seat, a rotatable turntable is arranged on the mounting seat, a plurality of fixing columns which are uniformly arranged along the circumferential direction of the turntable and used for mounting the bobbin are arranged on the surface of the turntable, and the axial directions of the fixing columns are parallel to the end face of the bottom plate; the doubling mechanism also comprises a limiting cylinder for limiting the stranded yarns after stranding; the take-up mechanism comprises two installation parts which are oppositely arranged along the width direction of the bottom plate, a rotatable take-up roller which is used for accommodating the plied yarns is arranged between the two installation parts, and through the structure, the take-up roller can be used for accommodating the plied yarns, so that the preferable convenience is realized.
Description
Technical Field
The utility model relates to the technical field of doubling machines, in particular to a novel anti-seismic doubling machine.
Background
After the doubling machine plys the stranded yarns, the plied yarns need to be accommodated, in the prior art, when the plied yarns are accommodated, the rotation of the yarn take-up roller drives the plied yarns to be wound on the yarn take-up roller, but the plied yarns are easy to overlap, and in addition, the plied yarns are easy to bend and loosen in the accommodating process, so that the yarn take-up roller causes inconvenience in use.
SUMMERY OF THE UTILITY MODEL
Aiming at the defect that the take-up process of a take-up roller is inconvenient in the prior art, the utility model provides a novel anti-seismic doubling machine. The yarn collecting roller can collect folded yarns, and is good in convenience.
In order to solve the above technical problems, the present invention is solved by the following technical solutions.
A novel anti-seismic doubling machine comprises a bottom plate, wherein a doubling mechanism and a take-up mechanism are sequentially arranged on the bottom plate along the length direction of the bottom plate; the doubling mechanism comprises a mounting seat, a rotatable turntable is arranged on the mounting seat, a plurality of fixing columns which are uniformly arranged along the circumferential direction of the turntable and used for mounting the bobbin are arranged on the surface of the turntable, and the axial directions of the fixing columns are parallel to the end face of the bottom plate; the doubling mechanism also comprises a limiting cylinder for limiting the stranded yarns after stranding; the take-up mechanism comprises two installation parts which are oppositely arranged along the width direction of the bottom plate, and a rotatable take-up roller which is used for accommodating the plied yarns is arranged between the two installation parts.
Through the structure of the yarn twisting device, the turntable can rotate to drive the fixing column to rotate, so that multiple strands of yarns are twisted together, the twisted yarns are enabled to penetrate through the yarn barrel and not to deflect easily through the arrangement of the limiting barrel, stable twisting of the twisted yarns is better ensured, and the twisted yarns are further stored by the take-up roller.
Preferably, a rotating shaft which is axially parallel to the length direction of the bottom plate and can rotate is arranged in the mounting seat, the turntable is coaxially connected to the rotating shaft, a first motor for driving the rotating shaft to rotate is arranged on the mounting seat, and by means of the structure, the first motor can drive the rotating shaft to rotate, and the rotation of the turntable is preferably realized.
Preferably, a tightening mechanism is further arranged between the yarn merging mechanism and the yarn take-up mechanism, the tightening mechanism comprises two mounting blocks which are arranged along the width direction of the bottom plate in a staggered manner, mounting grooves are formed in the mounting blocks along the length direction of the mounting blocks, a through hole penetrating through the mounting grooves is formed in the side face, close to the center of the bottom plate, of each mounting block, a slidable round rod is arranged in each through hole, two ends of each round rod extend out of the corresponding mounting block, a guide wheel mounting part is arranged at one end, close to the center of the bottom plate, of each round rod, and a guide wheel for the twisted yarns to pass through is arranged in each guide wheel mounting part; be equipped with the baffle that is located the mounting groove on the round bar, be equipped with between baffle and the mounting groove inner wall and be used for leaning on the compression spring that the baffle moved to bottom plate edge.
According to the utility model, through the arrangement of the round rod, the compression spring, the baffle and the guide wheel, the twisted yarns penetrate through the guide wheel which is arranged in a staggered manner, so that the round rod slides in the through hole to drive the guide wheel to move, and then the baffle moves towards the edge of the bottom plate by the compression spring abutting against the baffle, so that the guide wheel which is arranged in a staggered manner can tighten the yarn body of the twisted yarns, and the stability of the yarn take-up roller in the yarn take-up process is better ensured.
As preferred, admission machine constructs still includes to be equipped with on two bottom plates along the mounting panel that bottom plate width direction placed, is equipped with the installation cavity along mounting panel length direction in the mounting panel, is equipped with the slidable sliding block in the installation cavity, and one side that the sliding block stretches out the installation cavity is equipped with the guiding mechanism who is used for leading to the plying yarn, and through the aforesaid structure, it can make the sliding block slide in the installation cavity, and then makes the sliding block drive guiding mechanism's slip, the preferred make guiding mechanism to the guide effect of plying yarn.
Preferably, a screw rod used for driving the sliding block to slide is arranged in the mounting cavity, a second motor used for driving the screw rod to rotate is arranged on the mounting plate, and by means of the structure, the second motor can drive the screw rod to rotate in the mounting cavity, so that the screw rod drives the sliding block to rotate in the mounting cavity.
Preferably, guiding mechanism includes two guide tabs, and the guide tab is the arc setting and one side articulates on the sliding block, and two guide tabs can form the guide way that is used for the direction to the plying yarn, and another lateral part of two guide tabs passes through the bolt and fixes mutually, through above-mentioned structure for the guide way is passed to the plying yarn, makes the guide way can drive the plying yarn and leads.
Preferably, one end of the take-up roller extends out of the mounting portion, the mounting portion is provided with a third motor for driving the take-up roller to rotate, and through the structure, the third motor drives the take-up roller to rotate, so that the take-up roller can take in the plied yarns.
As preferred, the installation piece is close to inwards expand and form the spacing groove of relative setting on the through-hole inner wall of bottom plate edge, and the outside expansion of outer wall of round bar forms the relative stopper that sets up, through above-mentioned structure, guarantees the gliding stability of round bar in the through-hole.
As preferred, the one end that the pole is close to bottom plate edge all has the push rod of perpendicular to pole, through above-mentioned structure, promotes the push rod and drives the pole motion and then drive the leading wheel and slide to bottom plate center department, and then make things convenient for passing of plying yarn.
Preferably, the two ends of the take-up roller along the length direction are provided with the limiting flanges, and through the structure, the folded yarns do not deviate from the take-up roller in the storage process, so that the take-up roller can be used for preferably ensuring the storage of the folded yarns.
Drawings
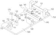
FIG. 1 is a schematic view of a novel anti-seismic doubling machine according to example 1;
FIG. 2 is a schematic view of a turntable in embodiment 1;
FIG. 3 is a schematic view of a mounting block in embodiment 1;
FIG. 4 is a schematic view of a round bar in example 1;
FIG. 5 is a schematic sectional view of the tightening mechanism in embodiment 1;
fig. 6 is a schematic view of a wire guide wheel in embodiment 1;
FIG. 7 is a schematic view of a guide piece in embodiment 1;
fig. 8 is a schematic sectional view of the take-up roll in example 1.
The names of the parts indicated by the numerical references in the drawings are as follows:
100. a base plate; 110. a mounting seat; 111. a turntable; 112. fixing a column; 113. a first motor; 120. a limiting cylinder; 130. mounting blocks; 131. mounting grooves; 132. a round bar; 133. a guide wheel mounting member; 131. a wire guide wheel; 135. a push rod; 140. mounting a plate; 141. a mounting cavity; 142. a screw rod; 143. a slider; 144. a guide piece; 145. a second motor; 150. an installation part; 154. a wire take-up roller; 152. a limiting flange; 153. a third motor, 210 rotating shaft; 310. a through hole; 311. a limiting groove; 410. a baffle plate; 420. a limiting block; 510. compressing the spring.
Detailed Description
For a further understanding of the utility model, reference should be made to the following detailed description taken in conjunction with the accompanying drawings and examples. It is to be understood that the examples are illustrative of the utility model and not limiting.
Example 1
As shown in fig. 1 to 8, the present embodiment provides a novel anti-seismic doubling machine, which includes a bottom plate 100, wherein a doubling mechanism and a take-up mechanism are sequentially disposed on the bottom plate 100 along a length direction thereof; the doubling mechanism comprises a mounting seat 110, a rotatable turntable 111 is arranged on the mounting seat 110, a plurality of fixing columns 112 which are uniformly arranged along the circumferential direction of the turntable 111 and used for mounting the bobbin are arranged on the surface of the turntable 111, the axial direction of each fixing column 112 is parallel to the end face of the base plate 100, in order to realize the rotation of the turntable 111 in the embodiment, a rotatable rotating shaft 210 which is axially parallel to the length direction of the base plate 100 and can rotate is arranged in the mounting seat 110, the turntable 111 is coaxially connected to the rotating shaft 210, and a first motor 113 used for driving the rotating shaft 210 to rotate is arranged on the mounting seat 110; the doubling mechanism also comprises a limiting cylinder 120 used for limiting the stranded yarns after stranding; the take-up mechanism comprises two mounting parts 150 which are oppositely arranged along the width direction of the bottom plate 100, a rotatable take-up roller 151 for storing the twisted yarns is arranged between the two mounting parts 150, in order to realize the rotation of the take-up roller 151 in the embodiment, one end of the take-up roller 151 extends out of the mounting part 150, and a third motor 153 for driving the take-up roller 151 to rotate is arranged on the mounting part 150;
the take-up roller 151 is provided with a stopper flange 152 at both ends in the longitudinal direction thereof.
Through the structure in the embodiment, the plurality of bobbins are respectively fixed on the fixing column 112, the ends of the yarns on the bobbins are combined together, the rotating shaft 210 is rotated by driving the first motor 113, the rotating shaft 210 drives the turntable 111 to rotate, the turntable 111 drives the bobbins on the fixing column 112 to rotate, and therefore the yarns can be plied together; through the arrangement of the limiting cylinder 120 in the embodiment, the twisted yarns passing through the yarn cylinder are not easy to deflect, and stable twisting of the twisted yarns is better ensured;
wherein, through the setting of receipts line roller 151 and stop flange 152 in this embodiment for third motor 153 drive receipts line roller 151 rotates, and then makes receipts line roller 151 can accomodate the plying yarn, and wherein, stop flange 152 can effectively prevent that the plying yarn squints from receiving line roller 151, and the assurance of preferred is received line roller 151 and is to accomodating of plying yarn.
With reference to fig. 1, 3, 4, and 5, in this embodiment, a tightening mechanism is further disposed between the doubling mechanism and the take-up mechanism, the tightening mechanism includes two mounting blocks 130 disposed along the width direction of the bottom plate 100 in a staggered manner, each mounting block 130 is provided with a mounting groove 131 along the length direction of the mounting block 130, a through hole 310 penetrating through the mounting groove 131 is disposed on a side surface of the mounting block 130 near the center of the bottom plate 100, a slidable round bar 132 is disposed in the through hole 310, two ends of the round bar 132 extend out of the mounting block 130, one end of the round bar 132 near the center of the bottom plate 100 is provided with a guide wheel mounting member 133, and a guide wheel 134 for the twisted yarn to pass through is disposed in the guide wheel mounting member 133; the round rod 132 is provided with a baffle plate 410 positioned in the installation groove 131, and a compression spring 510 for abutting against the baffle plate 410 to move to the edge of the bottom plate 100 is arranged between the baffle plate 410 and the inner wall of the installation groove 131;
the inner wall of the through hole 310 of the mounting block 130 near the edge of the bottom plate 100 is expanded inwards to form a limiting groove 311 which is arranged oppositely, and the outer wall of the round rod 132 is expanded outwards to form a limiting block 420 which is arranged oppositely;
the end of the round bar 132 near the edge of the bottom plate 100 is provided with a push bar 135 perpendicular to the round bar 132.
Through the structure in the embodiment, the tightening mechanism can enable the twisted yarn body to be in a tightened state in the receiving process, so that the twisted yarn on the yarn receiving roller 151 is prevented from being overlapped together due to looseness and bending of the twisted yarn body, and further inconvenience in the yarn receiving process of the yarn receiving roller 151 is avoided; in order to achieve the tight state of the twisted yarn body in the receiving process, the twisted yarn penetrates through the guide wheels 134 arranged in a staggered manner by the arrangement of the round rod 132, the compression spring 510, the baffle plate 410 and the guide wheels 134 in the example, so that the round rod 132 slides in the through hole 310 to drive the guide wheels 134 to move, the baffle plate 410 is abutted against the baffle plate 410 by the compression spring 510 to move towards the edge of the bottom plate 100, the guide wheels 134 arranged in a staggered manner can tighten the twisted yarn body, and the stability of the yarn receiving roller 151 in the yarn receiving process is better ensured;
in the embodiment, the limiting groove 311 and the limiting block 420 are arranged, so that the round rod 132 does not rotate in the through hole 310, and the normal operation of the guide wheel 134 is better ensured;
in this embodiment, the push rod 135 is arranged, so that the push rod 135 pushes the round rod 132 to drive the guide wheel 134 to be close to the center of the bottom plate 100, against the elastic force of the compression spring 510, thereby facilitating the twisted yarn to pass through the guide wheel 134.
Referring to fig. 1, in this embodiment, the take-up mechanism further includes two bottom plates 100, where the two bottom plates 100 are provided with mounting plates 140 disposed along the width direction of the bottom plates 100, a mounting cavity 141 is provided in the mounting plate 140 along the length direction of the mounting plates 140, a slidable sliding block 143 is provided in the mounting cavity 141, in order to realize the sliding of the sliding block 143 in this embodiment, a screw 142 for driving the sliding block 143 to slide is provided in the mounting cavity 141, and the mounting plate 140 is provided with a second motor 145 for driving the screw 142 to rotate; a guide mechanism for guiding the plied yarns is arranged on one side of the sliding block 143 extending out of the mounting cavity 141;
the guide mechanism comprises two guide pieces 144, the guide pieces 144 are arranged in an arc shape, one side parts of the guide pieces 144 are hinged on the sliding block 143, the two guide pieces 144 can form a guide groove for guiding the folded yarns, and the other side parts of the two guide pieces 144 are fixed through bolts;
through the structure in the embodiment, the second motor 145 drives the screw rod 142 to rotate in the mounting groove 131, so as to drive the sliding block 143 to slide in the mounting groove 131, so that the guide mechanism can drive the twisted yarn to slide back and forth along the length direction of the yarn take-up roller 151, so that the yarn take-up roller 151 can drive the twisted yarn to gradually rotate on the yarn take-up roller 151 in the process of taking in the twisted yarn, and further the twisted yarn can spirally rotate along the yarn take-up roller 151, so that the yarn take-up roller 151 can take in the twisted yarn preferably;
in this embodiment, the guide piece 144 is arranged, so that the plied yarns pass through the guide groove, and the guide mechanism can guide the plied yarns.
When the novel anti-seismic doubling machine is used specifically, a bobbin needing to be plied is installed and fixed on the fixing column 112, the ends of multiple strands of yarns are plied together, and then the first motor 113 is driven, so that the first motor 113 drives the rotating shaft 210 to rotate to drive the rotating disc 111 to rotate, and the multiple strands of yarns are plied to form plied yarns and pass through the limiting cylinder 120; promote push rod 135 for the plying yarn can pass two leading wheels 134 respectively and then pass the guide way and connect on receiving the line roller 151, start second motor 145, third motor 153, and second motor 145 drives sliding block 143 and slides in installation cavity 141, makes sliding block 143 drive guiding mechanism and makes a round trip to slide along the length direction of mounting panel 140, makes the plying yarn can be in the spiral of following receiving the line roller 151 and changes over to, thereby realizes receiving taking in of receiving the line roller 151 to the plying yarn.
In summary, the above-mentioned embodiments are only preferred embodiments of the present invention, and all equivalent changes and modifications made in the claims of the present invention should be covered by the claims of the present invention.
Claims (10)
1. The utility model provides a novel antidetonation doubling machine which characterized in that: the wire drawing machine comprises a bottom plate (100), wherein a wire drawing mechanism and a wire collecting mechanism are sequentially arranged on the bottom plate (100) along the length direction of the bottom plate; the wire doubling mechanism comprises a mounting seat (110), a rotatable turntable (111) is arranged on the mounting seat (110), a plurality of fixing columns (112) which are uniformly arranged along the circumferential direction of the turntable (111) and used for mounting a wire barrel are arranged on the surface of the turntable (111), and the axial directions of the fixing columns (112) are parallel to the end face of the bottom plate (100); the doubling mechanism also comprises a limiting cylinder (120) for limiting the position of the stranded yarn after stranding; the take-up mechanism comprises two installation parts (150) which are oppositely arranged along the width direction of the bottom plate (100), and a rotatable take-up roller (151) which is used for accommodating the twisted yarns is arranged between the two installation parts (150).
2. A novel anti-seismic doubling machine according to claim 1, characterized in that: a rotating shaft (210) which is axially parallel to the length direction of the base plate (100) and can rotate is arranged in the mounting seat (110), the turntable (111) is coaxially connected to the rotating shaft (210), and a first motor (113) used for driving the rotating shaft (210) to rotate is arranged on the mounting seat (110).
3. A novel anti-seismic doubling machine according to claim 1, characterized in that: a tightening mechanism is further arranged between the yarn combining mechanism and the yarn taking-up mechanism, the tightening mechanism comprises two mounting blocks (130) which are arranged along the width direction of the bottom plate (100) in a staggered manner, mounting grooves (131) are formed in the mounting blocks (130) along the length direction of the mounting blocks (130), through holes (310) penetrating through the mounting grooves (131) are formed in the side faces, close to the center of the bottom plate (100), of the mounting blocks (130), slidable round rods (132) are arranged in the through holes (310), two ends of each round rod (132) extend out of the mounting blocks (130) in a protruding manner, guide wheel mounting pieces (133) are arranged at one ends, close to the center of the bottom plate (100), of the round rods (132), and guide wheels (134) for the twisted yarns to penetrate through are arranged in the guide wheel mounting pieces (133); be equipped with baffle (410) that is located mounting groove (131) on round bar (132), be equipped with between baffle (410) and mounting groove (131) inner wall and be used for leaning on baffle (410) and move to compression spring (510) of bottom plate (100) edge.
4. A novel anti-seismic doubling machine according to claim 1, characterized in that: the take-up mechanism further comprises mounting plates (140) arranged along the width direction of the base plates (100) and arranged on the two base plates (100), mounting cavities (141) are formed in the mounting plates (140) along the length direction of the mounting plates (140), slidable sliding blocks (143) are arranged in the mounting cavities (141), and guide mechanisms used for guiding the plied yarns are arranged on one sides, extending out of the mounting cavities (141), of the sliding blocks (143).
5. A novel antidetonation doubling machine according to claim 4, characterized in that: a screw rod (142) used for driving the sliding block (143) to slide is arranged in the mounting cavity (141), and a second motor (145) used for driving the screw rod (142) to rotate is arranged on the mounting plate (140).
6. A novel antidetonation doubling machine according to claim 5, characterized in that: the guide mechanism comprises two guide pieces (144), the guide pieces (144) are arranged in an arc shape, one side parts of the guide pieces (144) are hinged to the sliding block (143), the two guide pieces (144) can form guide grooves for guiding the plied yarns, and the other side parts of the two guide pieces (144) are fixed through bolts.
7. A novel anti-seismic doubling machine according to claim 1, characterized in that: one end of the wire take-up roller (151) extends out of the mounting part (150), and a third motor (153) for driving the wire take-up roller (151) to rotate is arranged on the mounting part (150).
8. A novel anti-seismic doubling machine according to claim 3, characterized in that: the inner wall of the through hole (310) of the mounting block (130) close to the edge of the bottom plate (100) is expanded inwards to form a limiting groove (311) which is arranged oppositely, and the outer wall of the round rod (132) is expanded outwards to form a limiting block (420) which is arranged oppositely.
9. A novel antidetonation doubling machine according to claim 6, characterized in that: one end of the round rod (132) close to the edge of the bottom plate (100) is provided with a push rod (135) vertical to the round rod (132).
10. A novel anti-seismic doubling machine according to claim 1, characterized in that: the two ends of the wire take-up roller (151) along the length direction are provided with limit flanges (152).
Priority Applications (1)
| Application Number | Priority Date | Filing Date | Title |
|---|---|---|---|
| CN202122415099.XU CN216105276U (en) | 2021-10-08 | 2021-10-08 | Novel antidetonation doubling machine |
Applications Claiming Priority (1)
| Application Number | Priority Date | Filing Date | Title |
|---|---|---|---|
| CN202122415099.XU CN216105276U (en) | 2021-10-08 | 2021-10-08 | Novel antidetonation doubling machine |
Publications (1)
| Publication Number | Publication Date |
|---|---|
| CN216105276U true CN216105276U (en) | 2022-03-22 |
Family
ID=80691190
Family Applications (1)
| Application Number | Title | Priority Date | Filing Date |
|---|---|---|---|
| CN202122415099.XU Active CN216105276U (en) | 2021-10-08 | 2021-10-08 | Novel antidetonation doubling machine |
Country Status (1)
| Country | Link |
|---|---|
| CN (1) | CN216105276U (en) |
Cited By (1)
| Publication number | Priority date | Publication date | Assignee | Title |
|---|---|---|---|---|
| CN116692584A (en) * | 2023-07-14 | 2023-09-05 | 福建省长乐市泰源纺织实业有限公司 | Polyester yarn doubling and shaft beating device |
-
2021
- 2021-10-08 CN CN202122415099.XU patent/CN216105276U/en active Active
Cited By (1)
| Publication number | Priority date | Publication date | Assignee | Title |
|---|---|---|---|---|
| CN116692584A (en) * | 2023-07-14 | 2023-09-05 | 福建省长乐市泰源纺织实业有限公司 | Polyester yarn doubling and shaft beating device |
Similar Documents
| Publication | Publication Date | Title |
|---|---|---|
| CN216105276U (en) | Novel antidetonation doubling machine | |
| CN208964260U (en) | Cable recyclable device | |
| CN214012613U (en) | A stranding machine for cable manufacture | |
| CN114182399A (en) | Chemical fiber yarn twisting device and using method thereof | |
| CN210286284U (en) | Coiling mechanism of doubling machine | |
| CN207658781U (en) | Semi-automatic coiler | |
| CN111824856A (en) | Ratchet type double-locking structure for assisting steel wire rope traction in high-altitude cable | |
| CN219342422U (en) | Yarn multi-strand doubling and twisting mechanism | |
| US20230078411A1 (en) | Winding device | |
| CN119747419B (en) | Broken wire protection device for stainless steel wire drawing machine | |
| CN213356504U (en) | Aluminum alloy generating line coiling mechanism | |
| CN221500144U (en) | Electric power construction draw gear | |
| CN104948022A (en) | High-strength U-type coded lock | |
| CN112083539B (en) | A transposition stranding device for optical cable production | |
| CN219238835U (en) | A cable winding device | |
| NL1037652C2 (en) | METHOD FOR APPLYING BINDING WIRE FROM A WIRE ROLL AROUND ARMING BARS, CUTTING, CLIPPING AND WINDING THEREOF | |
| US20230405228A1 (en) | Torsion spring mechanism for medicament delivery device, and medicament delivery device comprising said mechanism | |
| CN111362057B (en) | Winding processing equipment for manufacturing high-pressure rubber pipe | |
| CN222139399U (en) | Doubling device for doubling machine | |
| CN222006898U (en) | Yarn winding device capable of preventing yarn from loosening | |
| CN222851176U (en) | A twisted pair wire bundling machine for copper wire processing | |
| CN220790644U (en) | Quick binding tool for reinforcing steel bars | |
| CN112391708A (en) | Locking device for spinning spindle or twisting spindle | |
| CN223338251U (en) | Wheel type automatic silk thread twisting device | |
| CN112027788A (en) | Cable orderly winding equipment |
Legal Events
| Date | Code | Title | Description |
|---|---|---|---|
| GR01 | Patent grant | ||
| GR01 | Patent grant |