CN216091215U - 一种内科护理用支撑装置 - Google Patents
一种内科护理用支撑装置 Download PDFInfo
- Publication number
- CN216091215U CN216091215U CN202122246895.5U CN202122246895U CN216091215U CN 216091215 U CN216091215 U CN 216091215U CN 202122246895 U CN202122246895 U CN 202122246895U CN 216091215 U CN216091215 U CN 216091215U
- Authority
- CN
- China
- Prior art keywords
- supporting
- medical nursing
- magic
- main body
- electric push
- Prior art date
- Legal status (The legal status is an assumption and is not a legal conclusion. Google has not performed a legal analysis and makes no representation as to the accuracy of the status listed.)
- Expired - Fee Related
Links
- 230000000474 nursing effect Effects 0.000 title claims abstract description 38
- 239000003814 drug Substances 0.000 title abstract description 10
- 238000013016 damping Methods 0.000 claims description 14
- 238000003466 welding Methods 0.000 claims description 3
- 238000003491 array Methods 0.000 claims 2
- 230000001681 protective effect Effects 0.000 description 9
- 230000007170 pathology Effects 0.000 description 4
- 230000035558 fertility Effects 0.000 description 2
- 238000000034 method Methods 0.000 description 2
- 208000035473 Communicable disease Diseases 0.000 description 1
- 230000003796 beauty Effects 0.000 description 1
- 230000009286 beneficial effect Effects 0.000 description 1
- 230000001079 digestive effect Effects 0.000 description 1
- 230000006806 disease prevention Effects 0.000 description 1
- 230000002526 effect on cardiovascular system Effects 0.000 description 1
- 230000002124 endocrine Effects 0.000 description 1
- 230000002503 metabolic effect Effects 0.000 description 1
- 210000000056 organ Anatomy 0.000 description 1
- 230000002265 prevention Effects 0.000 description 1
- 238000011160 research Methods 0.000 description 1
- 230000000241 respiratory effect Effects 0.000 description 1
Images
Landscapes
- Invalid Beds And Related Equipment (AREA)
Abstract
本实用新型公开了一种内科护理用支撑装置,涉及内科护理技术领域,包括装置主体,装置主体的底部分别设置有吸盘和凹槽,凹槽的内部上方连接有连接杆。本实用设置有第一魔术贴、第二魔术贴和防护套,在支撑垫的外表面连接有第一魔术贴,第一魔术贴通过第二魔术贴连接有防护套,当病人使用完后,可以通过第一魔术贴和第二魔术贴将防护套从支撑垫上拆卸下来,对其进行替换,更加便于下一个病人使用,在使用过程中,使用者还可以通过操作面板控制电动推杆进行运转,通过使用电动推杆带动连接板进行升降调节,便可对该种内科护理用支撑装置的高度进行调节,从而提高了该种内科护理用支撑装置的实用性。
Description
技术领域
本实用新型涉及内科护理技术领域,具体为一种内科护理用支撑装置。
背景技术
内科,医学科属,内科学按不同系统进一步分出各专科,如呼吸病学、心血管病学、消化病学、肾病学、血液病学、内分泌和代谢病学以及风湿病学等;另外又衍生出传染病学、精神病学和神经病学等,内科学是临床医学中的综合学科,它涉及面广、整体性强,研究人体各系统器官疾病的病因、诊断与防治,护理是普通高等学校专科专业,属于工商护理类专业,本专业培养德、智、体、美全面发展,具有良好职业道德和人文素养,掌握护理专业基础理论、基本知识和基本技能,具备现代护理理念和自我发展潜力,在各级医疗、预防、保健机构从事临床护理、社区护理和健康保健等工作的高素质实用型护理专门人才。
现有的内科护理用支撑装置,病人往往是与支撑垫直接相接触,病人使用完后,往往容易对支撑垫造成污染,导致下一个病人使用起来不便利,从而影响了内科护理用支撑装置的实用性,而且现有的内科护理支撑装置,抓地力较差,病人在使用过程中,支撑装置容易发生滑动,导致使用者使用起来不便利。
发明内容
本实用新型的目的在于:为了解决支撑垫容易污染和抓地力较差的问题,提供一种内科护理用支撑装置。
为实现上述目的,本实用新型提供如下技术方案:一种内科护理用支撑装置,包括装置主体,所述装置主体的底部分别设置有吸盘和凹槽,所述凹槽的内部上方连接有连接杆,所述连接杆的底端通过阻尼转轴连接有滑轮,所述阻尼转轴的外表面连接有延伸至装置主体外表面的旋转件,所述装置主体的内部下方安装有电动推杆,所述电动推杆的顶端连接有连接板,所述连接板的两侧设置有滚轮,所述连接板的顶部连接有伸缩杆,所述伸缩杆的外表面套接有弹簧,所述伸缩杆的顶端连接有延伸至装置主体顶部的支撑柱,所述支撑柱的顶部连接有支撑垫,所述支撑垫的外表面连接有第一魔术贴,所述第一魔术贴通过第二魔术贴连接有防护套。
优选地,所述连接杆设置有多个,且多个所述连接杆呈矩形阵列状分布。
优选地,所述装置主体的外表面安装有操作面板,所述操作面板与电动推杆电性连接。
优选地,所述滑轮通过阻尼转轴与连接杆转动连接。
优选地,所述防护套通过第一魔术贴和第二魔术贴与支撑垫拆卸设置。
优选地,所述电动推杆设置有两个,且两个所述电动推杆沿装置主体的横轴中心线对称设置。
优选地,所述弹簧的两端分别与支撑柱和连接板焊接连接。
与现有技术相比,本实用新型的有益效果是:本实用新型一种内科护理用支撑装置,设置有第一魔术贴、第二魔术贴和防护套,在支撑垫的外表面连接有第一魔术贴,第一魔术贴通过第二魔术贴连接有防护套,当病人使用完后,可以通过第一魔术贴和第二魔术贴将防护套从支撑垫上拆卸下来,对其进行替换,更加便于下一个病人使用,在使用过程中,使用者还可以通过操作面板控制电动推杆进行运转,通过使用电动推杆带动连接板进行升降调节,便可对该种内科护理用支撑装置的高度进行调节,从而提高了该种内科护理用支撑装置的实用性,同时还设置有吸盘、旋转件和阻尼转轴,使用者可以通过滑轮带动该种内科护理用支撑装置进行移动,移动到适当位置,通过转动旋转件带动阻尼转轴旋转,便可将滑轮收入凹槽内部,接着给与装置主体一个向下的力,使得吸盘与地面相吸附,防止其移动,从而提高了该种内科护理用支撑装置的抓地力。
附图说明
图1为本实用新型的结构示意图;
图2为本实用新型的装置主体内部结构示意图;
图3为本实用新型的图2中A处的放大图;
图4为本实用新型的图2中B处的放大图。
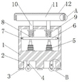
图中:1、装置主体;2、凹槽;3、吸盘;4、连接杆;5、电动推杆;6、连接板;7、滚轮;8、弹簧;9、伸缩杆;10、支撑柱;11、支撑垫;12、防护套;13、第一魔术贴;14、第二魔术贴;15、滑轮;16、阻尼转轴;17、操作面板;18、旋转件。
具体实施方式
下面将结合本实用新型实施例中的附图,对本实用新型实施例中的技术方案进行清楚、完整地描述,显然,所描述的实施例仅仅是本实用新型一部分实施例,而不是全部的实施例。基于本实用新型中的实施例,本领域普通技术人员在没有做出创造性劳动前提下所获得的所有其他实施例,都属于本实用新型保护的范围。
在本实用新型的描述中,需要说明的是,术语“中心”、“上”、“下”、“左”、“右”、“竖直”、“水平”、“内”、“外”等指示的方位或位置关系为基于附图所示的方位或位置关系,仅是为了便于描述本实用新型和简化描述,而不是指示或暗示所指的装置或元件必须具有特定的方位、以特定的方位构造和操作,因此不能理解为对本实用新型的限制。此外,术语“第一”、“第二”、“第三”仅用于描述目的,而不能理解为指示或暗示相对重要性。在本实用新型的描述中,需要说明的是,除非另有明确的规定和限定,术语“安装”、“相连”、“连接”、“设置”应做广义理解,例如,可以是固定连接,也可以是可拆卸连接,或一体地连接;可以是机械连接,也可以是电连接;可以是直接相连,也可以通过中间媒介间接相连,可以是两个元件内部的连通。对于本领域的普通技术人员而言,可以具体情况理解上述术语在本实用新型中的具体含义。下面根据本实用新型的整体结构,对其实施例进行说明。
请参阅图1-4,一种内科护理用支撑装置,包括装置主体1、凹槽2、吸盘3、连接杆4、电动推杆5、连接板6、滚轮7、弹簧8、伸缩杆9、支撑柱10、支撑垫11、防护套12、第一魔术贴13、第二魔术贴14、滑轮15、阻尼转轴16、操作面板17、旋转件18,装置主体1的底部分别设置有吸盘3和凹槽2,凹槽2的内部上方连接有连接杆4,连接杆4的底端通过阻尼转轴16连接有滑轮15,阻尼转轴16的外表面连接有延伸至装置主体1外表面的旋转件18,装置主体1的内部下方安装有电动推杆5,电动推杆5的顶端连接有连接板6,连接板6的两侧设置有滚轮7,连接板6的顶部连接有伸缩杆9,伸缩杆9的外表面套接有弹簧8,伸缩杆9的顶端连接有延伸至装置主体1顶部的支撑柱10,支撑柱10的顶部连接有支撑垫11,支撑垫11的外表面连接有第一魔术贴13,第一魔术贴13通过第二魔术贴14连接有防护套12,便于使用者使用。
请着重参阅图1-2和4,连接杆4设置有多个,且多个连接杆4呈矩形阵列状分布,通过使用连接杆4对装置主体1进行支撑,装置主体1的外表面安装有操作面板17,操作面板17与电动推杆5电性连接,通过操作面板17控制电动推杆5进行运转。
请着重参阅图1-4,滑轮15通过阻尼转轴16与连接杆4转动连接,便于对该种内科护理用支撑装置进行移动,防护套12通过第一魔术贴13和第二魔术贴14与支撑垫11拆卸设置,便于对防护套12进行替换。
请着重参阅图2,电动推杆5设置有两个,且两个电动推杆5沿装置主体1的横轴中心线对称设置,便于对该种内科护理用支撑装置的高度进行调节,弹簧8的两端分别与支撑柱10和连接板6焊接连接,便于对该种内科护理用支撑装置进行缓冲。
工作原理:首先,将该种内科护理用支撑装置放置水平地面,在支撑垫11的外表面连接有第一魔术贴13,第一魔术贴13通过第二魔术贴14连接有防护套12,当病人使用完后,可以通过第一魔术贴13和第二魔术贴14将防护套12从支撑垫11上拆卸下来,对其进行替换,更加便于下一个病人使用,在使用过程中,使用者还可以通过操作面板17控制电动推杆5进行运转,通过使用电动推杆5带动连接板6进行升降调节,便可对该种内科护理用支撑装置的高度进行调节,使用者可以通过滑轮15带动该种内科护理用支撑装置进行移动,移动到适当位置,通过转动旋转件18带动阻尼转轴16旋转,便可将滑轮15收入凹槽2内部,接着给与装置主体1一个向下的力,使得吸盘3与地面相吸附,对其进行固定。
对于本领域技术人员而言,显然本实用新型不限于上述示范性实施例的细节,而且在不背离本实用新型的精神或基本特征的情况下,能够以其他的具体形式实现本实用新型。因此,无论从哪一点来看,均应将实施例看作是示范性的,而且是非限制性的,本实用新型的范围由所附权利要求而不是上述说明限定,因此旨在将落在权利要求的等同要件的含义和范围内的所有变化囊括在本实用新型内。不应将权利要求中的任何附图标记视为限制所涉及的权利要求。
Claims (7)
1.一种内科护理用支撑装置,包括装置主体(1),其特征在于:所述装置主体(1)的底部分别设置有吸盘(3)和凹槽(2),所述凹槽(2)的内部上方连接有连接杆(4),所述连接杆(4)的底端通过阻尼转轴(16)连接有滑轮(15),所述阻尼转轴(16)的外表面连接有延伸至装置主体(1)外表面的旋转件(18),所述装置主体(1)的内部下方安装有电动推杆(5),所述电动推杆(5)的顶端连接有连接板(6),所述连接板(6)的两侧设置有滚轮(7),所述连接板(6)的顶部连接有伸缩杆(9),所述伸缩杆(9)的外表面套接有弹簧(8),所述伸缩杆(9)的顶端连接有延伸至装置主体(1)顶部的支撑柱(10),所述支撑柱(10)的顶部连接有支撑垫(11),所述支撑垫(11)的外表面连接有第一魔术贴(13),所述第一魔术贴(13)通过第二魔术贴(14)连接有防护套(12)。
2.根据权利要求1所述的一种内科护理用支撑装置,其特征在于:所述连接杆(4)设置有多个,且多个所述连接杆(4)呈矩形阵列状分布。
3.根据权利要求1所述的一种内科护理用支撑装置,其特征在于:所述装置主体(1)的外表面安装有操作面板(17),所述操作面板(17)与电动推杆(5)电性连接。
4.根据权利要求1所述的一种内科护理用支撑装置,其特征在于:所述滑轮(15)通过阻尼转轴(16)与连接杆(4)转动连接。
5.根据权利要求1所述的一种内科护理用支撑装置,其特征在于:所述防护套(12)通过第一魔术贴(13)和第二魔术贴(14)与支撑垫(11)拆卸设置。
6.根据权利要求1所述的一种内科护理用支撑装置,其特征在于:所述电动推杆(5)设置有两个,且两个所述电动推杆(5)沿装置主体(1)的横轴中心线对称设置。
7.根据权利要求1所述的一种内科护理用支撑装置,其特征在于:所述弹簧(8)的两端分别与支撑柱(10)和连接板(6)焊接连接。
Priority Applications (1)
| Application Number | Priority Date | Filing Date | Title |
|---|---|---|---|
| CN202122246895.5U CN216091215U (zh) | 2021-09-16 | 2021-09-16 | 一种内科护理用支撑装置 |
Applications Claiming Priority (1)
| Application Number | Priority Date | Filing Date | Title |
|---|---|---|---|
| CN202122246895.5U CN216091215U (zh) | 2021-09-16 | 2021-09-16 | 一种内科护理用支撑装置 |
Publications (1)
| Publication Number | Publication Date |
|---|---|
| CN216091215U true CN216091215U (zh) | 2022-03-22 |
Family
ID=80734079
Family Applications (1)
| Application Number | Title | Priority Date | Filing Date |
|---|---|---|---|
| CN202122246895.5U Expired - Fee Related CN216091215U (zh) | 2021-09-16 | 2021-09-16 | 一种内科护理用支撑装置 |
Country Status (1)
| Country | Link |
|---|---|
| CN (1) | CN216091215U (zh) |
-
2021
- 2021-09-16 CN CN202122246895.5U patent/CN216091215U/zh not_active Expired - Fee Related
Similar Documents
| Publication | Publication Date | Title |
|---|---|---|
| CN111408113A (zh) | 一种介入放射科中风患者护理用手部康复装置 | |
| CN205434239U (zh) | 新型神经内科检查助起床 | |
| CN216091215U (zh) | 一种内科护理用支撑装置 | |
| CN214484872U (zh) | 一种医疗用可升降护理床 | |
| CN212118957U (zh) | 一种篮球训练用集球器 | |
| CN211300870U (zh) | 一种picc护理架 | |
| CN211156819U (zh) | 一种内科护理用起身器 | |
| CN221286148U (zh) | 一种护理用病人辅助翻身装置 | |
| CN211243784U (zh) | 一种新型的神经外科护理托架 | |
| CN212347082U (zh) | 一种新型脊柱外科托架 | |
| CN215021006U (zh) | 一种辅助起身装置 | |
| CN212186941U (zh) | 一种医用护理床 | |
| CN211560358U (zh) | 一种麻醉科用下颌托架 | |
| CN206526205U (zh) | 一种电动直立床 | |
| CN211884280U (zh) | 可自由升降和旋转的搬运床 | |
| CN108379036A (zh) | 一种多功能孕产妇康复训练系统 | |
| CN211912368U (zh) | 一种便于调节方向的输液支架 | |
| CN216294253U (zh) | 一种胃肠外科手术辅助架 | |
| CN220530245U (zh) | 一种组合式担架 | |
| CN216603327U (zh) | 一种重症患者康复护理体位变换装置 | |
| CN112842352A (zh) | 一种用于心电图检测的辅助装置 | |
| CN216570674U (zh) | 一种护理用治疗小车 | |
| CN215779329U (zh) | 一种呼吸内科的多功能病床用拍背护理装置 | |
| CN219022625U (zh) | 一种多用途移动输液架 | |
| CN221636506U (zh) | 一种移动式眼科护理治疗架 |
Legal Events
| Date | Code | Title | Description |
|---|---|---|---|
| GR01 | Patent grant | ||
| GR01 | Patent grant | ||
| CF01 | Termination of patent right due to non-payment of annual fee |
Granted publication date: 20220322 |
|
| CF01 | Termination of patent right due to non-payment of annual fee |