CN216075821U - Hollow support piece for hollow floor construction - Google Patents
Hollow support piece for hollow floor construction Download PDFInfo
- Publication number
- CN216075821U CN216075821U CN202121438690.0U CN202121438690U CN216075821U CN 216075821 U CN216075821 U CN 216075821U CN 202121438690 U CN202121438690 U CN 202121438690U CN 216075821 U CN216075821 U CN 216075821U
- Authority
- CN
- China
- Prior art keywords
- clamping grooves
- hollow
- communicated
- counter bores
- floor construction
- Prior art date
- Legal status (The legal status is an assumption and is not a legal conclusion. Google has not performed a legal analysis and makes no representation as to the accuracy of the status listed.)
- Active
Links
- 238000010276 construction Methods 0.000 title claims abstract description 19
- 230000003014 reinforcing effect Effects 0.000 claims description 3
- 239000004567 concrete Substances 0.000 abstract description 11
- 230000000694 effects Effects 0.000 abstract description 9
- XEEYBQQBJWHFJM-UHFFFAOYSA-N Iron Chemical compound [Fe] XEEYBQQBJWHFJM-UHFFFAOYSA-N 0.000 description 4
- 229910000831 Steel Inorganic materials 0.000 description 2
- 229910052742 iron Inorganic materials 0.000 description 2
- 230000002787 reinforcement Effects 0.000 description 2
- 239000010959 steel Substances 0.000 description 2
- 230000009286 beneficial effect Effects 0.000 description 1
- 239000004566 building material Substances 0.000 description 1
- 230000007547 defect Effects 0.000 description 1
- 238000009413 insulation Methods 0.000 description 1
- 239000011150 reinforced concrete Substances 0.000 description 1
Images
Landscapes
- Floor Finish (AREA)
Abstract
The utility model provides a hollow support piece for hollow floor construction, which comprises a body in a rectangular block structure, wherein a plurality of first counter bores are arranged at the edges of the top surface and the bottom surface of the body, a plurality of second counter bores are arranged at the top and the bottom of the side wall of the body corresponding to the first counter bores, and the corresponding second counter bores are communicated with the first counter bores; the top surface of the body is provided with two first clamping grooves which are transversely arranged and two second clamping grooves which are longitudinally arranged, the first clamping grooves and the second clamping grooves are communicated in a crossed manner and form a 'well' -shaped structure, the bottom surface of the body is provided with two third clamping grooves which are transversely arranged and two fourth clamping grooves which are longitudinally arranged, the third clamping grooves correspond to the first clamping grooves in position, the fourth clamping grooves correspond to the second clamping grooves in position, and the third clamping grooves and the fourth clamping grooves are communicated in a crossed manner and form a 'well' -shaped structure; a cavity is arranged inside the body; it can conveniently be fixed, conveniently pour the concrete and flow for the concrete carries out effectual contact with support piece, thereby improves and pours efficiency and pour the effect.
Description
Technical Field
The utility model relates to the field of accessories for hollow floor construction, in particular to a hollow support for hollow floor construction.
Background
The reinforced concrete cast-in-place hollow floor slab has the advantages of saving building materials, reducing the dead weight of the floor slab, having good building energy-saving effect, convenient construction, convenient pipeline arrangement, good heat insulation effect, being suitable for large-span and large-space buildings and the like; the hollow support piece is mainly used for occupying space before pouring, so that the effect of a hollow floor is realized; but the most simple structure of current hollow support piece is not convenient for fix to the region that concreting carried out the flow is not reserved mostly, influences and pours efficiency and effect.
SUMMERY OF THE UTILITY MODEL
In order to overcome the defects of the prior art, the utility model aims to provide a hollow support for hollow floor construction, which has a novel structure, can be conveniently fixed, and can be convenient for pouring concrete to flow, so that the concrete can be effectively contacted with the support, and the pouring efficiency and the pouring effect are improved.
In order to achieve the purpose, the utility model adopts the following technical scheme:
the utility model provides a hollow support piece for hollow floor construction, which comprises a body in a rectangular block structure, wherein a plurality of first counter bores are arranged at the edges of the top surface and the bottom surface of the body, a plurality of second counter bores are arranged at the top and the bottom of the side wall of the body corresponding to the first counter bores, and the corresponding second counter bores are communicated with the first counter bores; the top surface of the body is provided with two first clamping grooves which are transversely arranged and two second clamping grooves which are longitudinally arranged, the first clamping grooves and the second clamping grooves are communicated in a crossed manner and form a 'well' -shaped structure, the bottom surface of the body is provided with two third clamping grooves which are transversely arranged and two fourth clamping grooves which are longitudinally arranged, the third clamping grooves correspond to the first clamping grooves in position, the fourth clamping grooves correspond to the second clamping grooves in position, and the third clamping grooves and the fourth clamping grooves are communicated in a crossed manner and form a 'well' -shaped structure; the inside of body is equipped with the cavity.
In a preferred technical scheme of the present invention, the first card slot, the second card slot, the third card slot, and the fourth card slot are all T-shaped slot structures.
In a preferred technical scheme of the present invention, 4 connecting pipes are arranged inside the cavity, the connecting pipes are arranged corresponding to the intersection of the first clamping groove and the second clamping groove, the top end of each connecting pipe is communicated with the intersection of the first clamping groove and the second clamping groove, and the bottom end of each connecting pipe is communicated with the intersection of the third clamping groove and the fourth clamping groove.
In a preferred embodiment of the present invention, the connecting tube and the body are an integral structure.
In a preferred technical scheme of the utility model, a reinforced connecting plate is arranged at the joint of the connecting pipe and the inner wall of the cavity.
The utility model has the beneficial effects that:
the hollow support piece for hollow floor construction is novel in structure, the first counter bore and the second counter bore which are communicated with each other and are arranged at the edge of the body can be used for threading, and the body and the steel reinforcement framework can be quickly and stably installed and matched by using iron wires or binding belts, so that the operation is convenient; and the design of first draw-in groove, second draw-in groove, third draw-in groove, fourth draw-in groove then can conveniently pour the concrete flow for concrete and support piece carry out effectual contact, thereby improve and pour efficiency and pour the effect.
Drawings
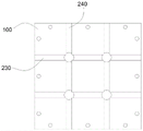
FIG. 1 is a top view of a hollow support for hollow floor construction provided in an embodiment of the present invention;
FIG. 2 is a bottom view of a hollow support for hollow floor construction provided in an embodiment of the present invention;
fig. 3 is a half sectional view of a hollow supporting member for hollow floor construction provided in an embodiment of the present invention.
In the figure:
100. a body; 110. a first counterbore; 120. a second counterbore; 130. a cavity; 140. a connecting pipe; 150. reinforcing the connecting plate; 210. a first card slot; 220. a second card slot; 230. a third card slot; 240. and a fourth card slot.
Detailed Description
The technical scheme of the utility model is further explained by the specific implementation mode in combination with the attached drawings.
As shown in fig. 1 to 3, the embodiment of the present invention discloses a hollow supporting member for hollow floor construction, which includes a body 100 in a rectangular block structure, wherein a plurality of first counter bores 110 are arranged on the top and bottom edges of the body 100, a plurality of second counter bores 120 are arranged on the top and bottom of the side wall of the body 100 corresponding to the first counter bores 110, and the corresponding second counter bores 120 are communicated with the first counter bores 110; the top surface of the body 100 is provided with two first transversely-arranged clamping grooves 210 and two second longitudinally-arranged clamping grooves 220, the first clamping grooves 210 and the second clamping grooves 220 are communicated in a crossed manner and form a 'well' -shaped structure, the bottom surface of the body 100 is provided with two third transversely-arranged clamping grooves 230 and two fourth longitudinally-arranged clamping grooves 240, the third clamping grooves 230 correspond to the first clamping grooves 210 in position, the fourth clamping grooves 240 correspond to the second clamping grooves 220 in position, and the third clamping grooves 230 and the fourth clamping grooves 240 are communicated in a crossed manner and form a 'well' -shaped structure; the body 100 has a cavity 130 formed therein.
The hollow support piece for hollow floor construction is novel in structure, the first counter bore and the second counter bore which are communicated with each other and are arranged at the edge of the body can be used for threading, and the body and the steel reinforcement framework can be quickly and stably installed and matched by using iron wires or a binding belt, so that the operation is convenient; and the design of first draw-in groove, second draw-in groove, third draw-in groove, fourth draw-in groove then can conveniently pour the concrete flow for concrete and support piece carry out effectual contact, thereby improve and pour efficiency and pour the effect.
Further, the first card slot 210, the second card slot 220, the third card slot 230, and the fourth card slot 240 are all T-shaped slot structures; adopt T type groove structure, after the concrete solidifies, can realize effectual chucking fixed effect with the body.
Furthermore, 4 connecting pipes 140 are arranged inside the cavity 130, the connecting pipes 140 are arranged corresponding to the intersection of the first card slot 210 and the second card slot 220, the top end of each connecting pipe 140 is communicated with the intersection of the first card slot 210 and the second card slot 220, and the bottom end of each connecting pipe 140 is communicated with the intersection of the third card slot 230 and the fourth card slot 240; this structural design can further make things convenient for the flow of concrete, and concrete accessible connecting pipe enters into third draw-in groove and fourth draw-in groove department.
Further, the connection tube 140 and the body 100 are an integrated structure, and the structural design can ensure the structural strength of the hollow support.
Further, a reinforcing connecting plate 150 is arranged at the joint of the connecting pipe 140 and the inner wall of the cavity 130, so that the connection between the connecting pipe and the body is further reinforced.
While the utility model has been described with reference to a preferred embodiment, it will be understood by those skilled in the art that various changes may be made and equivalents may be substituted for elements thereof without departing from the spirit and scope of the utility model. The present invention is not to be limited by the specific embodiments disclosed herein, and other embodiments that fall within the scope of the claims of the present application are intended to be within the scope of the present invention.
Claims (5)
1. The utility model provides a hollow support piece is used in hollow floor construction which characterized in that:
the anti-theft device comprises a body (100) with a rectangular block structure, wherein a plurality of first counter bores (110) are formed in the edges of the top surface and the bottom surface of the body (100), a plurality of second counter bores (120) are formed in the top and the bottom of the side wall of the body (100) corresponding to the first counter bores (110), and the corresponding second counter bores (120) are communicated with the first counter bores (110); the top surface of the body (100) is provided with two first clamping grooves (210) which are transversely arranged and two second clamping grooves (220) which are longitudinally arranged, the first clamping grooves (210) and the second clamping grooves (220) are communicated in a crossed manner and form a structure in the shape of a Chinese character 'jing', the bottom surface of the body (100) is provided with two third clamping grooves (230) which are transversely arranged and two fourth clamping grooves (240) which are longitudinally arranged, the third clamping grooves (230) correspond to the first clamping grooves (210), the fourth clamping grooves (240) correspond to the second clamping grooves (220), and the third clamping grooves (230) and the fourth clamping grooves (240) are communicated in a crossed manner and form a structure in the shape of a Chinese character 'jing'; a cavity (130) is arranged inside the body (100).
2. The hollow supporting member for hollow floor construction according to claim 1, wherein:
the first card slot (210), the second card slot (220), the third card slot (230) and the fourth card slot (240) are all in a T-shaped slot structure.
3. The hollow supporting member for hollow floor construction according to claim 1, wherein:
the cavity (130) is internally provided with 4 connecting pipes (140), the connecting pipes (140) are arranged corresponding to the intersection of the first clamping groove (210) and the second clamping groove (220), the top end of each connecting pipe (140) is communicated with the intersection of the first clamping groove (210) and the second clamping groove (220), and the bottom end of each connecting pipe is communicated with the intersection of the third clamping groove (230) and the fourth clamping groove (240).
4. The hollow supporting member for hollow floor construction according to claim 3, wherein:
the connecting pipe (140) and the body (100) are of an integral structure.
5. The hollow supporting member for hollow floor construction according to claim 3, wherein:
and a reinforcing connecting plate (150) is arranged at the joint of the connecting pipe (140) and the inner wall of the cavity (130).
Priority Applications (1)
| Application Number | Priority Date | Filing Date | Title |
|---|---|---|---|
| CN202121438690.0U CN216075821U (en) | 2021-06-25 | 2021-06-25 | Hollow support piece for hollow floor construction |
Applications Claiming Priority (1)
| Application Number | Priority Date | Filing Date | Title |
|---|---|---|---|
| CN202121438690.0U CN216075821U (en) | 2021-06-25 | 2021-06-25 | Hollow support piece for hollow floor construction |
Publications (1)
| Publication Number | Publication Date |
|---|---|
| CN216075821U true CN216075821U (en) | 2022-03-18 |
Family
ID=80663994
Family Applications (1)
| Application Number | Title | Priority Date | Filing Date |
|---|---|---|---|
| CN202121438690.0U Active CN216075821U (en) | 2021-06-25 | 2021-06-25 | Hollow support piece for hollow floor construction |
Country Status (1)
| Country | Link |
|---|---|
| CN (1) | CN216075821U (en) |
-
2021
- 2021-06-25 CN CN202121438690.0U patent/CN216075821U/en active Active
Similar Documents
| Publication | Publication Date | Title |
|---|---|---|
| CN201087480Y (en) | Prestressed concrete composite beam | |
| CN107217787B (en) | Built-in profiled sheet groove structure's assembled even roof beam | |
| CN209384451U (en) | An Easy-to-splice Shear Wall Connection Structure | |
| WO2016004887A1 (en) | Lightweight steel structure residential framework system | |
| CN211114105U (en) | Connecting structure of prefabricated light steel and light concrete combined wallboard and existing concrete beam | |
| CN211007021U (en) | Prefabricated balcony of prefabricated building | |
| CN109440992B (en) | A fully dry prefabricated concrete slab-column structural system | |
| CN214462525U (en) | A kind of anti-seepage construction structure of laminated board joints | |
| CN208072706U (en) | A kind of connection structure of the prefabricated steel shear wall horizontal joint of slip installation | |
| CN216075821U (en) | Hollow support piece for hollow floor construction | |
| CN211572107U (en) | Non-bearing internal partition wall | |
| CN211949016U (en) | Novel vertical connection structure of integral shear force wallboard of assembly | |
| CN210067491U (en) | Vertical prefabricated component field installation fixed knot constructs | |
| CN105971290B (en) | A kind of prefabricated concrete structure construction method and auxiliary tool | |
| CN207582741U (en) | A kind of position limiting structure of improved precast concrete lining | |
| CN218479396U (en) | Prefabricated reinforced concrete composite panels based on cold-formed steel skeleton | |
| CN215858614U (en) | Steel bar support for super-thick raft | |
| CN215212353U (en) | Anti-bank of tensile formula hangs mould and consolidates anchor clamps | |
| CN111550045B (en) | Secondary grouting steel formwork for embedded steel column foot plate and construction method thereof | |
| CN213927114U (en) | Fixing device is used in installation of roof boarding and roof | |
| CN103397720A (en) | Steel tube shear wall for building | |
| CN116220242A (en) | A prefabricated prefabricated wall for building construction | |
| CN103388364A (en) | Connection structure for two steel tube shear walls on building plane | |
| CN210713483U (en) | A precast concrete slab assembly that is easy to hoist | |
| CN216195401U (en) | Assembly type structure connected by UHPC |
Legal Events
| Date | Code | Title | Description |
|---|---|---|---|
| GR01 | Patent grant | ||
| GR01 | Patent grant |