CN216048674U - 一种乳化剂冷却箱用循环水供应装置 - Google Patents
一种乳化剂冷却箱用循环水供应装置 Download PDFInfo
- Publication number
- CN216048674U CN216048674U CN202122023635.1U CN202122023635U CN216048674U CN 216048674 U CN216048674 U CN 216048674U CN 202122023635 U CN202122023635 U CN 202122023635U CN 216048674 U CN216048674 U CN 216048674U
- Authority
- CN
- China
- Prior art keywords
- emulsifier
- cooling
- water
- cooler
- pipe
- Prior art date
- Legal status (The legal status is an assumption and is not a legal conclusion. Google has not performed a legal analysis and makes no representation as to the accuracy of the status listed.)
- Active
Links
- XLYOFNOQVPJJNP-UHFFFAOYSA-N water Substances O XLYOFNOQVPJJNP-UHFFFAOYSA-N 0.000 title claims abstract description 106
- 238000001816 cooling Methods 0.000 title claims abstract description 102
- 239000003995 emulsifying agent Substances 0.000 title claims abstract description 96
- 238000003860 storage Methods 0.000 claims abstract description 28
- RYGMFSIKBFXOCR-UHFFFAOYSA-N Copper Chemical compound [Cu] RYGMFSIKBFXOCR-UHFFFAOYSA-N 0.000 claims description 12
- 238000004140 cleaning Methods 0.000 claims description 10
- 229910052802 copper Inorganic materials 0.000 claims description 9
- 239000010949 copper Substances 0.000 claims description 9
- 230000000694 effects Effects 0.000 abstract description 18
- 238000004519 manufacturing process Methods 0.000 abstract description 6
- 230000007246 mechanism Effects 0.000 abstract description 5
- 238000000605 extraction Methods 0.000 abstract description 3
- 238000003756 stirring Methods 0.000 description 5
- 238000000034 method Methods 0.000 description 4
- 230000007774 longterm Effects 0.000 description 3
- 230000008569 process Effects 0.000 description 3
- 230000009471 action Effects 0.000 description 2
- 239000003344 environmental pollutant Substances 0.000 description 2
- 238000001914 filtration Methods 0.000 description 2
- 231100000719 pollutant Toxicity 0.000 description 2
- 230000000712 assembly Effects 0.000 description 1
- 238000000429 assembly Methods 0.000 description 1
- 230000009286 beneficial effect Effects 0.000 description 1
- 238000010586 diagram Methods 0.000 description 1
- 230000006872 improvement Effects 0.000 description 1
- 239000000463 material Substances 0.000 description 1
- 239000002184 metal Substances 0.000 description 1
- 229910052751 metal Inorganic materials 0.000 description 1
- 230000004048 modification Effects 0.000 description 1
- 238000012986 modification Methods 0.000 description 1
- 238000005491 wire drawing Methods 0.000 description 1
Images
Abstract
本实用新型公开了一种乳化剂冷却箱用循环水供应装置,属于乳化剂冷却箱技术领域,包括底板和从左到右依次安装在底板上表面的储水箱、冷却机和乳化剂冷却箱本体,所述储水箱的前侧面安装有水泵,所述水泵的进水管与储水箱相连通,所述水泵的出水管连通有送水管;本乳化剂冷却箱用循环水供应装置,通过设置冷却机和散热片,利用水泵抽取储水箱内的水,配合送水管的作用,对乳化剂进行初步降温,利用散热片对回流管内的水分进行降温,利用冷却机通过送风管和冷却套的作用,将散热片的热量快速散发到空气中,进而使得散热片持续对回流管内的水进行冷却,使得循环水保持低温状态,达到快速降温的的效果,提高乳化剂生产质量。
Description
技术领域
本实用新型涉及铜丝加工技术领域,具体为一种乳化剂冷却箱用循环水供应装置。
背景技术
在常见的电线电缆、漆包线等生产过程中,所用铜线都是通过水箱拉丝机拉拔而成的,随着现代工业的飞速发展,拉拔速度越来越高,对铜线表面质量要求亦大幅提高,在铜丝拉制的过程中,拉丝拉丝油是一个很重要的辅助材料,而乳化剂就是常用的拉丝油。
在乳化剂的使用过程中,因铜丝在磨擦过程中拉丝油会产生大量的热量,如果不及时带走,会引起表面的局部高温,而导致金属性质变化,由此需要对乳化剂进行冷却工作,而常用的冷却方式就是循环水冷却。
现有的水循环式降温装置在使用时,实际存在一定的弊端,水循环使用之后,缺少相应的温度调节功能,如果乳化剂的温度过高进而使得水的温度随着乳化剂升高,使得循环水形成一种热循环,进而不仅没有对乳化剂起到良好的降温效果,反而还会增大乳化剂温度的升高,进而难以达到快速降温的效果,长期的高温容易降低乳化剂的生产质量,影响乳化剂的工作进度。
实用新型内容
本实用新型的目的在于提供一种乳化剂冷却箱用循环水供应装置,通过设置冷却机和散热片,利用水泵抽取储水箱内的水,配合送水管的作用,对乳化剂进行初步降温,利用散热片对回流管内的水分进行降温,利用冷却机通过送风管和冷却套的作用,将散热片的热量快速散发到空气中,进而使得散热片持续对回流管内的水进行冷却,使得循环水保持低温状态,达到快速降温的的效果,提高乳化剂生产质量,以解决上述背景技术中提出的通过设置送风管二,利用送风管二输送冷却机内的冷空气对乳化剂冷却箱本体内的环形冷却管进行降温冷却,对循环水进行二次降温,提高乳化剂的冷却速度的问题。
为实现上述目的,本实用新型提供如下技术方案:一种乳化剂冷却箱用循环水供应装置,包括底板和从左到右依次安装在底板上表面的储水箱、冷却机和乳化剂冷却箱本体,所述储水箱的前侧面安装有水泵,所述水泵的进水管与储水箱相连通,所述水泵的出水管连通有送水管,所述送水管的一端贯穿延伸到乳化剂冷却箱本体内且与环形冷却管的一端相连通,所述储水箱的后侧面连通有回流管,所述回流管的一端贯穿延伸到乳化剂冷却箱本体内且与环形冷却管的另一端相连通,所述回流管的外侧安装有散热片,所述散热片外套接有冷却套,所述冷却机的出风管通过送风管一与冷却套的内腔相连通,所述冷却套的一端开设有若干个出风口一。
优选的,所述乳化剂冷却箱本体内安装有乳化剂储存罐,所述乳化剂储存罐内转动安装有转轴,所述转轴上安装有若干个搅拌杆,所述乳化剂冷却箱本体的一侧面安装有电机,所述转轴的一端与电机的输出轴固定连接,所述搅拌杆的一端安装有清洁刷,所述清洁刷与乳化剂储存罐的内壁相接触。
优选的,所述冷却机进风管的左右两侧均开设有滑槽,所述滑槽内滑动安装有滑块,所述滑块的一侧面安装有连接板,两个所述连接板的一端安装有同一个过滤网板,所述过滤网板位于冷却机进风管的管口处,所述连接板上设置有对滑块进行固定的固定组件。
优选的,所述冷却机的出风管连通有送风管二,所述送风管二的一端与乳化剂冷却箱本体的内腔相连通,所述乳化剂冷却箱本体的一侧面开设有若干个出风口二。
优选的,所述储水箱的左右两侧均开设有容纳槽,所述容纳槽内壁的一侧面安装有导热铜板。
优选的,所述固定组件包括两个螺栓,两个所述螺栓分别螺纹连接在两个连接板上,所述螺栓的一端穿过连接板和滑块与滑槽的内壁螺纹连接。
与现有技术相比,本实用新型的有益效果是:
1、本乳化剂冷却箱用循环水供应装置,通过设置冷却机和散热片,利用水泵抽取储水箱内的水,配合送水管的作用,对乳化剂进行初步降温,利用散热片对回流管内的水分进行降温,利用冷却机通过送风管和冷却套的作用,将散热片的热量快速散发到空气中,进而使得散热片持续对回流管内的水进行冷却,使得循环水保持低温状态,达到快速降温的的效果,提高乳化剂生产质量。
2、本乳化剂冷却箱用循环水供应装置,通过设置转轴和搅拌杆,利用电机带动转轴转动的作用,使得搅拌杆对乳化剂储存罐内的乳化剂进行搅拌,使得乳化剂冷却均匀,配合清洁刷的作用,对乳化剂储存罐的内壁的进行清理,避免乳化剂储存罐的内壁上有乳化剂残留。
3、本乳化剂冷却箱用循环水供应装置,通过设置过滤网板,利用过滤网板对外界吸收的空气进行过滤,避免空气中的污染物进入冷却机内,配合滑块和螺栓的作用,方便对长期工作的过滤网板进行清理。
4、本乳化剂冷却箱用循环水供应装置,通过设置送风管二,利用送风管二输送冷却机内的冷空气对乳化剂冷却箱本体内的环形冷却管进行降温冷却,对循环水进行二次降温,提高乳化剂的冷却速度。
附图说明
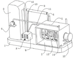
图1为本实用新型的整体结构示意图;
图2为本实用新型冷却套剖面的结构示意图;
图3为本实用新型主视剖面的结构示意图;
图4为本实用新型图3中A处放大的结构示意图。
图中:1、底板;2、乳化剂冷却箱本体;3、储水箱;4、水泵;5、送水管;6、回流管;7、散热片;8、冷却套;9、冷却机;10、送风管一;11、送风管二;12、导热铜板;13、电机;14、转轴;15、清洁刷;16、连接板;17、过滤网板;18、滑块;19、螺栓。
具体实施方式
下面将结合本实用新型实施例中的附图,对本实用新型实施例中的技术方案进行清楚、完整地描述,显然,所描述的实施例仅仅是本实用新型一部分实施例,而不是全部的实施例。基于本实用新型中的实施例,本领域普通技术人员在没有做出创造性劳动前提下所获得的所有其他实施例,都属于本实用新型保护的范围。
在本实用新型的描述中,需要说明的是,术语“上”、“下”、“内”、“外”“前端”、“后端”、“两端”、“一端”、“另一端”等指示的方位或位置关系为基于附图所示的方位或位置关系,仅是为了便于描述本实用新型和简化描述,而不是指示或暗示所指的装置或元件必须具有特定的方位、以特定的方位构造和操作,因此不能理解为对本实用新型的限制。此外,术语“第一”、“第二”仅用于描述目的,而不能理解为指示或暗示相对重要性。
在本实用新型的描述中,需要说明的是,除非另有明确的规定和限定,术语“安装”、“设置有”、“连接”等,应做广义理解,例如“连接”,可以是固定连接,也可以是可拆卸连接,或一体地连接;可以是机械连接,也可以是电连接;可以是直接相连,也可以通过中间媒介间接相连,可以是两个元件内部的连通。对于本领域的普通技术人员而言,可以具体情况理解上述术语在本实用新型中的具体含义。
如图1至图4所示,本实施例乳化剂冷却箱用循环水供应装置,包括底板1和从左到右依次安装在底板1上表面的储水箱3、冷却机9和乳化剂冷却箱本体2,储水箱3的前侧面安装有水泵4,水泵4的进水管与储水箱3相连通,水泵4的出水管连通有送水管5,送水管5的一端贯穿延伸到乳化剂冷却箱本体2内且与环形冷却管的一端相连通,储水箱3的后侧面连通有回流管6,回流管6的一端贯穿延伸到乳化剂冷却箱本体2内且与环形冷却管的另一端相连通,回流管6的外侧安装有散热片7,散热片7外套接有冷却套8,冷却机9的出风管通过送风管一10与冷却套8的内腔相连通,冷却套8的一端开设有若干个出风口一,通过设置冷却机9和散热片7,利用水泵4抽取储水箱3内的水,配合送水管5的作用,对乳化剂进行初步降温,利用散热片7对回流管6内的水分进行降温,利用冷却机9通过送风管和冷却套8的作用,将散热片7的热量快速散发到空气中,进而使得散热片7持续对回流管6内的水进行冷却,使得循环水保持低温状态,达到快速降温的的效果,提高乳化剂生产质量。
具体的,乳化剂冷却箱本体2内安装有乳化剂储存罐,乳化剂储存罐内转动安装有转轴14,转轴14上安装有若干个搅拌杆,乳化剂冷却箱本体2的一侧面安装有电机13,转轴14的一端与电机13的输出轴固定连接,搅拌杆的一端安装有清洁刷15,清洁刷15与乳化剂储存罐的内壁相接触,通过设置转轴14和搅拌杆,利用电机13带动转轴14转动的作用,使得搅拌杆对乳化剂储存罐内的乳化剂进行搅拌,使得乳化剂冷却均匀,配合清洁刷15的作用,对乳化剂储存罐的内壁的进行清理,避免乳化剂储存罐的内壁上有乳化剂残留。
进一步的,冷却机9进风管的左右两侧均开设有滑槽,滑槽内滑动安装有滑块18,滑块18的一侧面安装有连接板16,两个连接板16的一端安装有同一个过滤网板17,过滤网板17位于冷却机9进风管的管口处,连接板16上设置有对滑块18进行固定的固定组件,通过设置过滤网板17,利用过滤网板17对外界吸收的空气进行过滤,避免空气中的污染物进入冷却机9内,配合滑块18和螺栓19的作用,方便对长期工作的过滤网板17进行清理。
进一步的,冷却机9的出风管连通有送风管二11,送风管二11的一端与乳化剂冷却箱本体2的内腔相连通,乳化剂冷却箱本体2的一侧面开设有若干个出风口二,通过设置送风管二11,利用送风管二11输送冷却机9内的冷空气对乳化剂冷却箱本体2内的环形冷却管进行降温冷却,对循环水进行二次降温,提高乳化剂的冷却速度。
进一步的,储水箱3的左右两侧均开设有容纳槽,容纳槽内壁的一侧面安装有导热铜板12,通过设置导热铜板12,利用导热铜板12对储水箱3内的热量进行向外导出,加快出储水箱3内热量的散发,进而对循环水进行加强冷却。
更进一步的,固定组件包括两个螺栓19,两个螺栓19分别螺纹连接在两个连接板16上,螺栓19的一端穿过连接板16和滑块18与滑槽的内壁螺纹连接,通过设置螺栓19,利用螺栓19与滑槽螺纹连接的作用,方便工作人员随时对过滤网板17进行拆卸,操作便捷,结构简单。
本实施例的使用方法为:同时启动电机13、水泵4和冷却机9,电机13带动转轴14转动,驱动搅拌杆对乳化剂进行搅拌,搅拌杆在转动的同时驱动清洁刷15对乳化剂储存罐的内壁进行清理工作,水泵4抽取储水箱3内的水,通过送水管5进入环形冷却管内,对乳化剂进行冷却工作,循环冷却之后的水进入回流管6,配合冷却机9通过送风管一10输送冷风的作用,将回流管6内循环水的热量进行快速降温,降温之后的循环水进入储水箱3内,此时便形成了冷却循环水利用,通过设置送风管二11,利用送风管二11输送冷却机9内的冷空气对乳化剂冷却箱本体2内的环形冷却管进行降温冷却,对循环水进行二次降温,提高乳化剂的冷却速度。
最后应说明的是:以上所述仅为本实用新型的优选实施例而已,并不用于限制本实用新型,尽管参照前述实施例对本实用新型进行了详细的说明,对于本领域的技术人员来说,其依然可以对前述各实施例所记载的技术方案进行修改,或者对其中部分技术特征进行等同替换。凡在本实用新型的精神和原则之内,所作的任何修改、等同替换、改进等,均应包含在本实用新型的保护范围之内。
Claims (6)
1.一种乳化剂冷却箱用循环水供应装置,包括底板(1)和从左到右依次安装在底板(1)上表面的储水箱(3)、冷却机(9)和乳化剂冷却箱本体(2),其特征在于:所述储水箱(3)的前侧面安装有水泵(4),所述水泵(4)的进水管与储水箱(3)相连通,所述水泵(4)的出水管连通有送水管(5),所述送水管(5)的一端贯穿延伸到乳化剂冷却箱本体(2)内且与环形冷却管的一端相连通;
所述储水箱(3)的后侧面连通有回流管(6),所述回流管(6)的一端贯穿延伸到乳化剂冷却箱本体(2)内且与环形冷却管的另一端相连通,所述回流管(6)的外侧安装有散热片(7),所述散热片(7)外套接有冷却套(8),所述冷却机(9)的出风管通过送风管一(10)与冷却套(8)的内腔相连通,所述冷却套(8)的一端开设有若干个出风口一。
2.根据权利要求1所述的一种乳化剂冷却箱用循环水供应装置,其特征在于:所述乳化剂冷却箱本体(2)内安装有乳化剂储存罐,所述乳化剂储存罐内转动安装有转轴(14),所述转轴(14)上安装有若干个搅拌杆,所述乳化剂冷却箱本体(2)的一侧面安装有电机(13),所述转轴(14)的一端与电机(13)的输出轴固定连接,所述搅拌杆的一端安装有清洁刷(15),所述清洁刷(15)与乳化剂储存罐的内壁相接触。
3.根据权利要求1所述的一种乳化剂冷却箱用循环水供应装置,其特征在于:所述冷却机(9)进风管的左右两侧均开设有滑槽,所述滑槽内滑动安装有滑块(18),所述滑块(18)的一侧面安装有连接板(16),两个所述连接板(16)的一端安装有同一个过滤网板(17),所述过滤网板(17)位于冷却机(9)进风管的管口处,所述连接板(16)上设置有对滑块(18)进行固定的固定组件。
4.根据权利要求1所述的一种乳化剂冷却箱用循环水供应装置,其特征在于:所述冷却机(9)的出风管连通有送风管二(11),所述送风管二(11)的一端与乳化剂冷却箱本体(2)的内腔相连通,所述乳化剂冷却箱本体(2)的一侧面开设有若干个出风口二。
5.根据权利要求1所述的一种乳化剂冷却箱用循环水供应装置,其特征在于:所述储水箱(3)的左右两侧均开设有容纳槽,所述容纳槽内壁的一侧面安装有导热铜板(12)。
6.根据权利要求3所述的一种乳化剂冷却箱用循环水供应装置,其特征在于:所述固定组件包括两个螺栓(19),两个所述螺栓(19)分别螺纹连接在两个连接板(16)上,所述螺栓(19)的一端穿过连接板(16)和滑块(18)与滑槽的内壁螺纹连接。
Priority Applications (1)
| Application Number | Priority Date | Filing Date | Title |
|---|---|---|---|
| CN202122023635.1U CN216048674U (zh) | 2021-08-26 | 2021-08-26 | 一种乳化剂冷却箱用循环水供应装置 |
Applications Claiming Priority (1)
| Application Number | Priority Date | Filing Date | Title |
|---|---|---|---|
| CN202122023635.1U CN216048674U (zh) | 2021-08-26 | 2021-08-26 | 一种乳化剂冷却箱用循环水供应装置 |
Publications (1)
| Publication Number | Publication Date |
|---|---|
| CN216048674U true CN216048674U (zh) | 2022-03-15 |
Family
ID=80621565
Family Applications (1)
| Application Number | Title | Priority Date | Filing Date |
|---|---|---|---|
| CN202122023635.1U Active CN216048674U (zh) | 2021-08-26 | 2021-08-26 | 一种乳化剂冷却箱用循环水供应装置 |
Country Status (1)
| Country | Link |
|---|---|
| CN (1) | CN216048674U (zh) |
Cited By (1)
| Publication number | Priority date | Publication date | Assignee | Title |
|---|---|---|---|---|
| CN116020713A (zh) * | 2022-12-08 | 2023-04-28 | 马鞍山晨晖新材料科技有限公司 | 一种具有循环水冷的胶纸传输装置和冷却方法 |
-
2021
- 2021-08-26 CN CN202122023635.1U patent/CN216048674U/zh active Active
Cited By (1)
| Publication number | Priority date | Publication date | Assignee | Title |
|---|---|---|---|---|
| CN116020713A (zh) * | 2022-12-08 | 2023-04-28 | 马鞍山晨晖新材料科技有限公司 | 一种具有循环水冷的胶纸传输装置和冷却方法 |
Similar Documents
| Publication | Publication Date | Title |
|---|---|---|
| CN220947615U (zh) | 一种充电桩用液冷散热结构 | |
| CN218733598U (zh) | 一种快速散热的电机机壳 | |
| CN216048674U (zh) | 一种乳化剂冷却箱用循环水供应装置 | |
| CN210406035U (zh) | 一种新型机电设备的散热保护装置 | |
| CN216927551U (zh) | 一种计算机技术开发硬件专用散热设备 | |
| CN213860549U (zh) | 一种注塑模具的冷却系统 | |
| CN221444786U (zh) | 三元前驱体烧结冷却一体回转炉 | |
| CN113637532A (zh) | 一种晶圆片加工清洗液、生产方法及设备 | |
| CN115853780B (zh) | 一种变螺距螺杆真空泵 | |
| CN214605445U (zh) | 一种循环冷却水利用装置 | |
| CN215762380U (zh) | 一种轴冷降温离心风机 | |
| CN215011316U (zh) | 一种新型的led大屏幕散热装置 | |
| CN214469478U (zh) | 一种集中式冷却水系统 | |
| CN223277409U (zh) | 一种磨辊堆焊焊接层间温度的控制装置 | |
| CN112486294A (zh) | 一种利于计算机热量传输装置及操作方法 | |
| CN218763774U (zh) | 一种空调节能装置 | |
| CN210303921U (zh) | 一种用于卧式砂磨机的冷却装置 | |
| CN212933394U (zh) | 一种计算机用散热机箱 | |
| CN221551154U (zh) | 一种模块化的服务器液冷散热系统 | |
| CN219611502U (zh) | 一种带有冷却机构的高速电机 | |
| CN213766746U (zh) | 一种塑料管弯管成型模具 | |
| CN217802802U (zh) | 一种板材加工用模温机 | |
| CN220234414U (zh) | 外冷却式全封闭直流电机 | |
| CN216421021U (zh) | 一种锌锭直线铸锭机水冷却装置 | |
| CN221501282U (zh) | 一种自带冷却的电泳涂装装置 |
Legal Events
| Date | Code | Title | Description |
|---|---|---|---|
| GR01 | Patent grant | ||
| GR01 | Patent grant | ||
| TR01 | Transfer of patent right | ||
| TR01 | Transfer of patent right |
Effective date of registration: 20231114 Address after: 451200 South Road, 500 meters west of the intersection of G310 and Hope Road in Huiguo Town, Gongyi City, Zhengzhou City, Henan Province Patentee after: Zhengzhou Haochang New Materials Co.,Ltd. Address before: 451200 500m south of Erhua bridge, Huiguo Town, Gongyi City, Zhengzhou City, Henan Province Patentee before: Henan haochang electrical material Co.,Ltd. |