CN216010029U - Be used for geological disasters to administer engineering video monitoring device - Google Patents

Be used for geological disasters to administer engineering video monitoring device Download PDF

Info

Publication number
CN216010029U
CN216010029U CN202121920179.4U CN202121920179U CN216010029U CN 216010029 U CN216010029 U CN 216010029U CN 202121920179 U CN202121920179 U CN 202121920179U CN 216010029 U CN216010029 U CN 216010029U
Authority
CN
China
Prior art keywords
mounting
monitoring device
video monitoring
supporting plate
motor
Prior art date
Legal status (The legal status is an assumption and is not a legal conclusion. Google has not performed a legal analysis and makes no representation as to the accuracy of the status listed.)
Active
Application number
CN202121920179.4U
Other languages
Chinese (zh)
Inventor
张克燮
房云峰
梁正峰
李星开
杨建元
吴明堂
杨波
陈建强
马施卫
刘海平
Current Assignee (The listed assignees may be inaccurate. Google has not performed a legal analysis and makes no representation or warranty as to the accuracy of the list.)
Zhejiang East China Geotechnical Survey And Design Institute Co ltd
Original Assignee
Zhejiang Huadong Construction Engineering Co Ltd
Priority date (The priority date is an assumption and is not a legal conclusion. Google has not performed a legal analysis and makes no representation as to the accuracy of the date listed.)
Filing date
Publication date
Application filed by Zhejiang Huadong Construction Engineering Co Ltd filed Critical Zhejiang Huadong Construction Engineering Co Ltd
Priority to CN202121920179.4U priority Critical patent/CN216010029U/en
Application granted granted Critical
Publication of CN216010029U publication Critical patent/CN216010029U/en
Active legal-status Critical Current
Anticipated expiration legal-status Critical

Links

Images

Landscapes

  • Studio Devices (AREA)

Abstract

本实用新型提供一种用于地质灾害治理工程视频监控装置,包括安装组件和清洁组件,其中,安装组件包括支撑杆、第一安装板、第一支撑板、第二支撑板和摄像头本体,第一安装板固定安装于支撑杆,第一支撑板和第二支撑板固定安装于第一安装板。清洁组件包括第一马达、安装盘、清洁刷和安装块,第一马达固定安装于安装块,安装块的一端开设有凹腔,安装盘设置在凹腔内,安装盘固定安装于第一马达,清洁刷固定安装于安装盘。本实用新型所提供的用于地质灾害治理工程视频监控装置实现对摄像头本体进行自动清洁,无需手动清洁,提高了工作效率,降低维护人员的工作量。

Figure 202121920179

The utility model provides a video monitoring device for geological disaster control engineering, comprising an installation component and a cleaning component, wherein the installation component includes a support rod, a first installation plate, a first support plate, a second support plate and a camera body, and the third An installation plate is fixedly installed on the support rod, and the first support plate and the second support plate are fixedly installed on the first installation plate. The cleaning assembly includes a first motor, an installation plate, a cleaning brush and an installation block. The first motor is fixedly installed on the installation block. One end of the installation block is provided with a cavity, the installation plate is arranged in the cavity, and the installation plate is fixedly installed on the first motor. , the cleaning brush is fixedly installed on the installation plate. The video monitoring device for geological disaster control engineering provided by the utility model realizes automatic cleaning of the camera body without manual cleaning, improves work efficiency and reduces the workload of maintenance personnel.

Figure 202121920179

Description

Be used for geological disasters to administer engineering video monitoring device
Technical Field
The utility model relates to the technical field of geological disaster monitoring devices, in particular to a video monitoring device for geological disaster treatment engineering.
Background
Geological disasters refer to natural disasters mainly caused by geological dynamic activities or abnormal changes of geological environments. Under the action of the internal power, the external power or the artificial geological power, the earth generates abnormal energy release, material movement, deformation and displacement of rock and soil bodies, abnormal change of the environment and the like, and the phenomena or processes of harming human lives and properties, living and economic activities or destroying resources and environments on which human beings live and develop are generated. In order to treat the geological disaster body, engineering treatment is carried out on the geological disaster body so as to prevent the geological disaster from happening.
In order to discover the deformation and damage condition of treatment engineering in time, install video monitoring device in the place that easily takes place geological disasters usually, these video monitoring device often install outdoor, outdoor environment is abominable, for example, sand storm, rainwater etc. can make video monitoring device go up the lens of camera and receive the pollution, it is unclear to lead to the camera to shoot the picture, influence monitoring quality, it is regularly cleaned the camera to indicate to send staff at present for solving this problem, it is clean untimely, the work efficiency is low, the working strength is big.
SUMMERY OF THE UTILITY MODEL
In order to make up for the defects, the utility model provides a video monitoring device for a geological disaster improvement project, and aims to solve the problems of untimely cleaning, low working efficiency and high working strength caused by the fact that most of the existing video monitoring devices for cleaning the geological disaster improvement project rely on manual work to clean cameras regularly.
Therefore, the above purpose of the utility model is realized by the following technical scheme:
a video monitoring device for geological disaster management engineering comprises a mounting assembly and a cleaning assembly, wherein the mounting assembly comprises a supporting rod, a first mounting plate, a first supporting plate, a second supporting plate and a camera body;
the cleaning assembly comprises a first motor, a mounting disc, a cleaning brush and a mounting block, the first motor is fixedly mounted on the mounting block, a concave cavity is formed in one end, far away from the first motor, of the mounting block, the mounting disc is arranged in the concave cavity, the mounting disc is fixedly mounted on an output shaft of the first motor, and the cleaning brush is fixedly mounted on one side, far away from the first motor, of the mounting disc.
While adopting the technical scheme, the utility model can also adopt or combine the following technical scheme:
as a preferred technical scheme of the utility model: the angle adjusting assembly comprises a second motor, a first rotating shaft and a second rotating shaft, the second motor is fixedly installed on the first supporting plate, the first rotating shaft is rotatably installed on the first supporting plate, one end of the first rotating shaft is fixedly installed on an output shaft of the second motor, the other end of the first rotating shaft is fixedly installed on the camera body, one end of the second rotating shaft is rotatably installed on the second supporting plate, and the other end of the second rotating shaft is fixedly installed at one end, far away from the first rotating shaft, of the camera body.
As a preferred technical scheme of the utility model: the lift adjustment subassembly includes second mounting panel, driving piece and install bin, the one end of first mounting panel is kept away from in first backup pad and second backup pad to second mounting panel fixed mounting, driving piece fixed mounting is in the second mounting panel, the install bin sets up the one side of keeping away from the driving piece at the second mounting panel, install bin fixed mounting is in the driving piece, one side of driving piece is kept away from to installation piece fixed mounting in the install bin.
As a preferred technical scheme of the utility model: the driving piece is any one of an electric push rod, a hydraulic rod and an air cylinder.
As a preferred technical scheme of the utility model: the both sides fixed mounting of install bin has the slider, the spout has all been seted up in first backup pad and the second backup pad, the slider slides in the spout.
As a preferred technical scheme of the utility model: the camera comprises a camera body, a mounting box is arranged on the camera body, a positioning pin is fixed at one end of the mounting block, which is far away from the mounting box, a positioning hole is formed in the camera body, and the positioning pin is inserted in the positioning hole.
As a preferred technical scheme of the utility model: the depth of the positioning hole is larger than the length of the positioning pin.
As a preferred technical scheme of the utility model: and a chamfer is arranged at one end of the positioning pin, which is far away from the mounting block.
As a preferred technical scheme of the utility model: the two positioning pins and the two positioning holes are symmetrically arranged on two sides of the mounting block.
As a preferred technical scheme of the utility model: one side fixed mounting that the bracing piece was kept away from to first mounting panel has the stopper.
The utility model provides a video monitoring device for geological disaster management engineering, which has the following beneficial effects:
when the cleaning brush is used, the first motor drives the mounting disc to rotate in the cavity of the mounting block, the mounting disc drives the cleaning brush to rotate, the cleaning brush automatically cleans the camera body, manual cleaning is not needed, cleaning can be carried out anytime and anywhere according to the pollution degree of the camera body, the working efficiency is improved, and the workload of maintenance personnel is reduced.
Drawings
Fig. 1 is a schematic diagram of a normal recording state of a camera body of a video monitoring device for geological disaster management engineering provided by the utility model;
fig. 2 is a schematic diagram of a camera body of the video monitoring device for geological disaster improvement projects, provided by the utility model, in a cleaned state;
FIG. 3 is a schematic structural diagram of a cleaning assembly and a lifting adjustment assembly of the video monitoring device for geological disaster abatement engineering provided by the present invention;
FIG. 4 is a schematic structural diagram of a positioning pin and a positioning hole of the video monitoring device for geological disaster management engineering provided by the utility model;
FIG. 5 is a schematic diagram of an explosion structure of an angle adjustment assembly of the video monitoring device for geological disaster abatement engineering provided by the present invention;
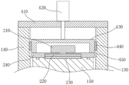
FIG. 6 is a schematic diagram of an exploded structure of a cleaning assembly and a lifting adjustment assembly of the video monitoring device for geological disaster abatement engineering provided by the present invention;
FIG. 7 is an enlarged view taken at A in FIG. 6;
in the figure: 100-mounting the assembly; 110-a support bar; 120-a first mounting plate; 130-a first support plate; 140-a second support plate; 150-camera body; 200-a cleaning assembly; 210-a first motor; 220-mounting a disc; 230-a cleaning brush; 240-mounting block; 241-a cavity; 250-a locating pin; 251-chamfering; 260-positioning holes; 300-an angle adjustment assembly; 310-a second motor; 320-a first shaft; 330-a second rotating shaft; 340-a limiting block; 400-a lift adjustment assembly; 410-a second mounting plate; 420-a driver; 430-installation box; 440-a slider; 450-chute.
Detailed Description
In order to make the objects, technical solutions and advantages of the embodiments of the present invention more apparent, the technical solutions of the embodiments of the present invention will be described clearly and completely with reference to the accompanying drawings of the embodiments of the present invention, and it is obvious that the described embodiments are some, but not all embodiments of the present invention. All other embodiments, which can be obtained by a person skilled in the art without any inventive step based on the embodiments of the present invention, are within the scope of the present invention.
Thus, the following detailed description of the embodiments of the present invention, presented in the figures, is not intended to limit the scope of the utility model, as claimed, but is merely representative of selected embodiments of the utility model. All other embodiments, which can be obtained by a person skilled in the art without any inventive step based on the embodiments of the present invention, are within the scope of the present invention.
It should be noted that: like reference numbers and letters refer to like items in the following figures, and thus, once an item is defined in one figure, it need not be further defined and explained in subsequent figures.
In the description of the present invention, it is to be understood that the terms "center", "longitudinal", "lateral", "length", "width", "thickness", "upper", "lower", "front", "rear", "left", "right", "vertical", "horizontal", "top", "bottom", "inner", "outer", "clockwise", "counterclockwise", and the like, indicate orientations and positional relationships based on those shown in the drawings, and are used only for convenience of description and simplicity of description, and do not indicate or imply that the equipment or element being referred to must have a particular orientation, be constructed and operated in a particular orientation, and thus, should not be considered as limiting the present invention.
Furthermore, the terms "first", "second" and "first" are used for descriptive purposes only and are not to be construed as indicating or implying relative importance or implicitly indicating the number of technical features indicated. Thus, a feature defined as "first" or "second" may explicitly or implicitly include one or more of that feature. In the description of the present invention, "a plurality" means two or more unless specifically defined otherwise.
In the present invention, unless otherwise expressly stated or limited, the terms "mounted," "connected," "secured," and the like are to be construed broadly and can, for example, be fixedly connected, detachably connected, or integrally formed; either directly or indirectly through intervening media, either internally or in any other relationship. The specific meanings of the above terms in the present invention can be understood by those skilled in the art according to specific situations.
In the present invention, unless otherwise expressly stated or limited, "above" or "below" a first feature means that the first and second features are in direct contact, or that the first and second features are not in direct contact but are in contact with each other via another feature therebetween. Also, the first feature being "on," "above" and "over" the second feature includes the first feature being directly on and obliquely above the second feature, or merely indicating that the first feature is at a higher level than the second feature. A first feature being "under," "below," and "beneath" a second feature includes the first feature being directly under and obliquely below the second feature, or simply meaning that the first feature is at a lesser elevation than the second feature.
Referring to fig. 1 to 7, a video monitoring apparatus for geological disaster abatement engineering includes a mounting assembly 100, a cleaning assembly 200, an angle adjustment assembly 300, and a lift adjustment assembly 400.
Referring to fig. 1 and 2, the mounting assembly 100 is used for mounting the camera body 150, the cleaning assembly 200, the angle adjusting assembly 300 and the lifting adjusting assembly 400 together, the cleaning assembly 200 automatically cleans the camera body 150, the angle adjusting assembly 300 is used for adjusting the angle of the camera body 150 to switch the normal shooting position and the cleaning position of the camera body 150, and the lifting adjusting assembly 400 is used for lifting and adjusting the cleaning assembly 200 to separate and close the cleaning assembly 200 and the camera body 150.
Specifically, please refer to fig. 1 and 2, the mounting assembly 100 includes a support rod 110, a first mounting plate 120, a first support plate 130, a second support plate 140 and a camera body 150, the first mounting plate 120 is fixedly mounted at one end of the support rod 110, the first support plate 130 and the second support plate 140 are fixedly mounted at two sides of the first mounting plate 120, the camera body 150 is disposed between the first support plate 130 and the second support plate 140, a limit block 340 is fixedly mounted at one side of the first mounting plate 120 away from the support rod 110, when the camera body 150 needs to be cleaned, the camera body 150 needs to be rotated first, when one side of the lower end of the camera body 150 contacts the limit block 340, the camera body 150 is in a vertical state, and then the cleaning brush 230 can clean the lens glass on the camera body 150, thereby limiting.
Referring to fig. 3, the cleaning assembly 200 includes a first motor 210, a mounting plate 220, a cleaning brush 230 and a mounting block 240, the first motor 210 is fixedly mounted on the mounting block 240, a cavity 241 is formed at an end of the mounting block 240 away from the first motor 210, the mounting plate 220 is disposed in the cavity 241, the mounting plate 220 is fixedly mounted on an output shaft of the first motor 210, the cleaning brush 230 is fixedly mounted on a side of the mounting plate 220 away from the first motor 210, a positioning pin 250 is fixed at an end of the mounting block 240 away from the mounting box 430, a positioning hole 260 is formed on the camera body 150, the positioning pin 250 is inserted into the positioning hole 260, a depth of the positioning hole 260 is greater than a length of the positioning pin 250 (see fig. 4), it is ensured that the positioning pin 250 can be completely inserted into the positioning hole 260, and further it is ensured that the mounting block 240 is attached to the camera body 150, thereby ensuring that the cleaning brush 230 on the mounting block 240 is attached to a lens glass on the camera body 150, the cleaning quality is improved, the positioning pins 250 and the positioning holes 260 are arranged in two numbers, the two positioning pins 250 and the positioning holes 260 are symmetrically arranged on two sides of the mounting block 240, the stability of the mounting block 240 and the camera body 150 in the tight attaching process is improved, a chamfer 251 (shown in fig. 7) is arranged at one end, far away from the mounting block 240, of each positioning pin 250, and the positioning pins 250 can be conveniently inserted into the positioning holes 260.
Referring to fig. 5 and 6, the angle adjusting assembly 300 includes a second motor 310, a first rotating shaft 320 and a second rotating shaft 330, the second motor 310 is fixedly mounted on the first supporting plate 130, the first rotating shaft 320 is rotatably mounted on the first supporting plate 130, one end of the first rotating shaft 320 is fixedly mounted on an output shaft of the second motor 310, the other end is fixedly mounted on the camera body 150, one end of the second rotating shaft 330 is rotatably mounted on the second supporting plate 140, and the other end is fixedly mounted on one end of the camera body 150 far away from the first rotating shaft 320, so as to realize rotation of the camera body 150, and further realize position change of the camera body 150 between the shooting position and the cleaning position.
Referring to fig. 3 and 6, in an embodiment of the present invention, the lifting adjusting assembly 400 includes a second mounting plate 410, a driving member 420 and a mounting box 430, the driving member 420 is any one of an electric push rod, a hydraulic rod and an air cylinder, the second mounting plate 410 is fixedly mounted at one end of the first supporting plate 130 and the second supporting plate 140 away from the first mounting plate 120, the driving member 420 is fixedly mounted at the second mounting plate 410, the mounting box 430 is disposed at one side of the second mounting plate 410 away from the driving member 420, the mounting box 430 is fixedly mounted at one side of the mounting box 430 away from the driving member 420, sliding blocks 440 are fixedly mounted at two sides of the mounting box 430, sliding grooves 450 are respectively formed on the first supporting plate 130 and the second supporting plate 140, the sliding blocks 440 slide in the sliding grooves 450, so that the mounting box 430 slides up and down along the sliding grooves 450 on the first supporting plate 130 and the second supporting plate 140 under the driving of the sliding blocks 440, has the functions of limiting and guiding.
Specifically, this a theory of operation that is used for geological disaster to administer engineering video monitoring device: when the camera body 150 needs to be cleaned, the second motor 310 is started firstly, then the second motor 310 drives the first rotating shaft 320 to rotate, then the first rotating shaft 320 drives the camera body 150 to rotate, and then the camera body 150 is driven by the second rotating shaft 330 and the first rotating shaft 320 to rotate upwards until the outer side of the lower end of the camera body 150 is tightly attached to the limiting block 340 on the first mounting plate 120, the second motor 310 is stopped to work, and at the moment, the camera body 150 and the first mounting plate 120 are in a vertical state;
then, the driving member 420 is started, the driving member 420 pushes the mounting box 430 to slide downwards along the sliding groove 450, the mounting box 430 drives the mounting block 240 to slide downwards until the positioning pin 250 on the mounting block 240 is completely inserted into the positioning hole 260, and then the driving member 420 is stopped to work, at this time, the cleaning brush 230 on the mounting block 240 is tightly attached to the lens glass on the camera body 150;
then, the first motor 210 is started, the first motor 210 drives the mounting disc 220 to rotate in the concave cavity 241 on the mounting block 240, the mounting disc 220 drives the cleaning brush 230 to rotate, and the cleaning brush 230 automatically cleans the camera body 150 without manual cleaning, and can clean the camera body 150 at any time and any place according to the pollution degree of the camera body 150;
after the cleaning is completed, the first motor 210 stops working, the driving member 420 pulls the mounting box 430 upwards to return to the original position, the cleaning brush 230 leaves the camera body 150, then the second motor 310 is started to rotate reversely, the camera body 150 rotates reversely to the original position, and the whole cleaning work is completed.
It should be noted that the specific model specifications of the first motor 210, the second motor 310 and the driving member 420 need to be determined by model selection according to the actual specification of the device, and the specific model selection calculation method adopts the prior art, so detailed description is omitted.
The power supply of the first motor 210, the second motor 310 and the driving member 420 and the principle thereof will be apparent to those skilled in the art and will not be described in detail herein.
The above description is only a preferred embodiment of the present invention and is not intended to limit the present invention, and various modifications and changes may be made by those skilled in the art. Any modification, equivalent replacement, or improvement made within the spirit and principle of the present invention should be included in the protection scope of the present invention.

Claims (10)

1. The utility model provides a be used for geological disasters to administer engineering video monitoring device which characterized in that: the video monitoring device for the geological disaster treatment project comprises:
the mounting assembly (100) comprises a supporting rod (110), a first mounting plate (120), a first supporting plate (130), a second supporting plate (140) and a camera body (150), wherein the first mounting plate (120) is fixedly mounted at one end of the supporting rod (110), the first supporting plate (130) and the second supporting plate (140) are fixedly mounted at two sides of the first mounting plate (120), and the camera body (150) is arranged between the first supporting plate (130) and the second supporting plate (140);
cleaning assembly (200), cleaning assembly (200) includes first motor (210), mounting disc (220), cleaning brush (230) and installation piece (240), first motor (210) fixed mounting is in installation piece (240), cavity (241) have been seted up to the one end that first motor (210) were kept away from in installation piece (240), mounting disc (220) set up in cavity (241), mounting disc (220) fixed mounting is in the output shaft of first motor (210), cleaning brush (230) fixed mounting is in one side that first motor (210) were kept away from in mounting disc (220).
2. The video monitoring device for geological disaster abatement engineering according to claim 1, wherein: the video monitoring device for geological disaster management engineering further comprises an angle adjusting component (300), the angle adjusting component (300) comprises a second motor (310), a first rotating shaft (320) and a second rotating shaft (330), the second motor (310) is fixedly installed on the first supporting plate (130), the first rotating shaft (320) is rotatably installed on the first supporting plate (130), one end of the first rotating shaft (320) is fixedly installed on an output shaft of the second motor (310), the other end of the first rotating shaft is fixedly installed on the camera body (150), one end of the second rotating shaft (330) is rotatably installed on the second supporting plate (140), and the other end of the second rotating shaft is fixedly installed on one end of the camera body (150) far away from the first rotating shaft (320).
3. The video monitoring device for geological disaster abatement engineering according to claim 2, wherein: the video monitoring device for geological disaster improvement engineering further comprises a lifting adjusting component (400), the lifting adjusting component (400) comprises a second mounting plate (410), a driving piece (420) and an installation box (430), the second mounting plate (410) is fixedly installed at one end, away from the first mounting plate (120), of the first supporting plate (130) and the second supporting plate (140), the driving piece (420) is fixedly installed on the second mounting plate (410), the installation box (430) is arranged on one side, away from the driving piece (420), of the second mounting plate (410), the installation box (430) is fixedly installed on the driving piece (420), and the installation block (240) is fixedly installed on one side, away from the driving piece (420), of the installation box (430).
4. The video monitoring device for geological disaster abatement engineering according to claim 3, wherein: the driving piece (420) is any one of an electric push rod, a hydraulic rod and an air cylinder.
5. The video monitoring device for geological disaster abatement engineering according to claim 3, wherein: the two sides of the installation box (430) are fixedly provided with sliding blocks (440), the first supporting plate (130) and the second supporting plate (140) are respectively provided with a sliding groove (450), and the sliding blocks (440) slide in the sliding grooves (450).
6. The video monitoring device for geological disaster abatement engineering according to claim 3, wherein: one end of the mounting block (240) far away from the mounting box (430) is fixed with a positioning pin (250), the camera body (150) is provided with a positioning hole (260), and the positioning pin (250) is inserted into the positioning hole (260).
7. The video monitoring device for geological disaster abatement engineering according to claim 6, wherein: the depth of the positioning hole (260) is larger than the length of the positioning pin (250).
8. The video monitoring device for geological disaster abatement engineering according to claim 6, wherein: and a chamfer (251) is arranged at one end of the positioning pin (250) far away from the mounting block (240).
9. The video monitoring device for geological disaster abatement engineering according to claim 6, wherein: the two positioning pins (250) and the two positioning holes (260) are symmetrically arranged on two sides of the mounting block (240).
10. The video monitoring device for geological disaster abatement engineering according to claim 1, wherein: and a limiting block (340) is fixedly arranged on one side, far away from the supporting rod (110), of the first mounting plate (120).
CN202121920179.4U 2021-08-17 2021-08-17 Be used for geological disasters to administer engineering video monitoring device Active CN216010029U (en)

Priority Applications (1)

Application Number Priority Date Filing Date Title
CN202121920179.4U CN216010029U (en) 2021-08-17 2021-08-17 Be used for geological disasters to administer engineering video monitoring device

Applications Claiming Priority (1)

Application Number Priority Date Filing Date Title
CN202121920179.4U CN216010029U (en) 2021-08-17 2021-08-17 Be used for geological disasters to administer engineering video monitoring device

Publications (1)

Publication Number Publication Date
CN216010029U true CN216010029U (en) 2022-03-11

Family

ID=80588983

Family Applications (1)

Application Number Title Priority Date Filing Date
CN202121920179.4U Active CN216010029U (en) 2021-08-17 2021-08-17 Be used for geological disasters to administer engineering video monitoring device

Country Status (1)

Country Link
CN (1) CN216010029U (en)

Cited By (3)

* Cited by examiner, † Cited by third party
Publication number Priority date Publication date Assignee Title
CN113938594A (en) * 2021-10-25 2022-01-14 广州膳智科技有限公司 Food safety monitoring camera based on Internet of things
CN115013668A (en) * 2022-06-24 2022-09-06 湖北明祥基业科技有限公司 Fine full-color monitoring equipment for security protection
CN116564094A (en) * 2023-05-26 2023-08-08 浙江广维通信有限公司 Intelligent traffic bayonet system

Cited By (4)

* Cited by examiner, † Cited by third party
Publication number Priority date Publication date Assignee Title
CN113938594A (en) * 2021-10-25 2022-01-14 广州膳智科技有限公司 Food safety monitoring camera based on Internet of things
CN115013668A (en) * 2022-06-24 2022-09-06 湖北明祥基业科技有限公司 Fine full-color monitoring equipment for security protection
CN116564094A (en) * 2023-05-26 2023-08-08 浙江广维通信有限公司 Intelligent traffic bayonet system
CN116564094B (en) * 2023-05-26 2025-08-22 浙江广维通信有限公司 An intelligent traffic checkpoint system

Similar Documents

Publication Publication Date Title
CN216010029U (en) Be used for geological disasters to administer engineering video monitoring device
CN110425395A (en) BIM-based construction management monitoring device
CN115050165A (en) Landslide disaster real-time monitoring and early warning system based on Beidou positioning
CN213745976U (en) Camera pan-tilt applied to building security system
CN112963702A (en) Engineering supervision and construction informatization device
CN219755840U (en) Monitoring equipment for security protection
CN112297029A (en) Inspection robot with monitoring function
CN207460380U (en) A kind of live monitoring device in construction site
CN212273564U (en) A telescopic support frame of a data collector
CN215928911U (en) First mounting structure of library's surveillance camera
CN210745320U (en) A new type of surveillance camera
CN212034194U (en) Remote monitoring device based on Internet of things
CN214756521U (en) Wisdom building site panorama monitoring device
CN220600938U (en) Enterprise management monitoring device
CN219828244U (en) A multi-angle monitoring device that facilitates dust removal
CN217880477U (en) Low-power consumption security protection alarm device
CN218382421U (en) Monitoring device for concrete side station
CN215488687U (en) An automatic shooting monitoring device with multi-angle function
CN220254601U (en) Indoor high-definition gun type camera
CN219519689U (en) Monitoring device
CN220623413U (en) Horizontal movement assembly
CN110599858A (en) Tourism management is with novel contrast teaching device
CN215111767U (en) An information construction management device
CN218037899U (en) Installation mechanism of operation and maintenance server
CN223269240U (en) Foundation pit supporting device for building engineering construction

Legal Events

Date Code Title Description
GR01 Patent grant
GR01 Patent grant
CP01 Change in the name or title of a patent holder

Address after: No. 997, gudun Road, Sandun Town, Xihu District, Hangzhou City, Zhejiang Province, 310030

Patentee after: Zhejiang East China Geotechnical Survey and Design Institute Co.,Ltd.

Address before: No. 997, gudun Road, Sandun Town, Xihu District, Hangzhou City, Zhejiang Province, 310030

Patentee before: ZHEJIANG HUADONG CONSTRUCTION ENGINEERING Co.,Ltd.

CP01 Change in the name or title of a patent holder