CN215992679U - 一种食品加工用具有清洗机构的水果消毒设备 - Google Patents
一种食品加工用具有清洗机构的水果消毒设备 Download PDFInfo
- Publication number
- CN215992679U CN215992679U CN202121116140.7U CN202121116140U CN215992679U CN 215992679 U CN215992679 U CN 215992679U CN 202121116140 U CN202121116140 U CN 202121116140U CN 215992679 U CN215992679 U CN 215992679U
- Authority
- CN
- China
- Prior art keywords
- roller
- rack
- fruit
- fixed
- food processing
- Prior art date
- Legal status (The legal status is an assumption and is not a legal conclusion. Google has not performed a legal analysis and makes no representation as to the accuracy of the status listed.)
- Active
Links
- 235000013399 edible fruits Nutrition 0.000 title claims abstract description 60
- 235000013305 food Nutrition 0.000 title claims abstract description 15
- 230000000249 desinfective effect Effects 0.000 title description 4
- 238000004659 sterilization and disinfection Methods 0.000 claims abstract description 34
- 238000004140 cleaning Methods 0.000 claims abstract description 22
- 238000011010 flushing procedure Methods 0.000 claims abstract description 16
- XLYOFNOQVPJJNP-UHFFFAOYSA-N water Substances O XLYOFNOQVPJJNP-UHFFFAOYSA-N 0.000 claims abstract description 14
- 238000005406 washing Methods 0.000 claims description 23
- 239000007921 spray Substances 0.000 claims description 11
- 238000007605 air drying Methods 0.000 claims description 8
- 238000011001 backwashing Methods 0.000 claims description 4
- 238000000034 method Methods 0.000 abstract description 9
- 239000000463 material Substances 0.000 description 5
- 238000001035 drying Methods 0.000 description 4
- 235000013311 vegetables Nutrition 0.000 description 4
- 230000000694 effects Effects 0.000 description 3
- 230000001771 impaired effect Effects 0.000 description 3
- 230000001954 sterilising effect Effects 0.000 description 2
- 240000009088 Fragaria x ananassa Species 0.000 description 1
- 244000134242 Malus prunifolia Species 0.000 description 1
- 235000005087 Malus prunifolia Nutrition 0.000 description 1
- 244000088415 Raphanus sativus Species 0.000 description 1
- 235000006140 Raphanus sativus var sativus Nutrition 0.000 description 1
- 244000061456 Solanum tuberosum Species 0.000 description 1
- 235000002595 Solanum tuberosum Nutrition 0.000 description 1
- 240000000038 Ziziphus mauritiana Species 0.000 description 1
- 235000006545 Ziziphus mauritiana Nutrition 0.000 description 1
- 235000008529 Ziziphus vulgaris Nutrition 0.000 description 1
- 230000009286 beneficial effect Effects 0.000 description 1
- 238000007664 blowing Methods 0.000 description 1
- 238000010276 construction Methods 0.000 description 1
- 239000000645 desinfectant Substances 0.000 description 1
- 238000010586 diagram Methods 0.000 description 1
- 235000012055 fruits and vegetables Nutrition 0.000 description 1
- 210000004209 hair Anatomy 0.000 description 1
- 238000004519 manufacturing process Methods 0.000 description 1
- 235000012015 potatoes Nutrition 0.000 description 1
- 238000005096 rolling process Methods 0.000 description 1
- 239000010865 sewage Substances 0.000 description 1
- 239000002689 soil Substances 0.000 description 1
- 235000021012 strawberries Nutrition 0.000 description 1
Images
Landscapes
- Cleaning By Liquid Or Steam (AREA)
- Apparatuses For Bulk Treatment Of Fruits And Vegetables And Apparatuses For Preparing Feeds (AREA)
Abstract
本实用新型公开了一种食品加工用具有清洗机构的水果消毒设备,链条输送机上设置旋转输送组件,其中辊筒两端分别与两个支座转动连接,辊筒其中一端同轴固定有第一齿轮,上每一个辊筒上的第一齿轮均与环形齿条啮合,能够在输送链带动辊筒运行时,辊筒在第一齿轮于环形齿条的配合下自身也能够旋转,水果铺放在辊筒上,在输送链输送其前进的同时由于辊筒自身转动能够带动水果在输送过程中旋转,其经过前冲洗喷头、消毒喷头、后冲洗喷头的清洗消毒后,再经过风干装置将水果风后后实现水果清洁与消毒,且该过程不需要将水果直接放入水中,避免水果之间相互碰撞受损的,冲洗下来的污渍也不会再与水果接触。
Description
技术领域
本实用新型属于水果消毒设备领域,尤其涉及一种食品加工用具有清洗机构的水果消毒设备。
背景技术
水果消毒清洗机主要用于水果、蔬菜清洗,可分阶段清洗,分别去除泥沙、杂物、漂洗等,其在清洗是用水果专用的消毒剂实现清洗与消毒,清洗机是草莓、大枣、苹果等水果,蔬菜水产生产线中的重要组成部分。现有的气浴式蔬菜清洗机是通过气浴翻浪冲洗,空气进入水中,不断搅动清洗水并且产生大量气泡,在被清洗物表面发生的气蚀作用,使被洗物清洗干净,还有毛刷式清洗机:毛刷式清洗方法是通过刷毛与水中物料的直接接触,使物料表面的污物刷除洗净,该类清洗方式适用于马铃薯、萝卜等根茎类蔬菜的清洗,以及滚筒摩擦式清洗机:滚筒摩擦式清洗的滚筒下部沉于水中,物料放在筛网式滚筒中,由于滚筒的滚动作用,使物料与物料之间以及物料与滚筒之间产生摩擦,使物料表面泥土去除并清洗净。上述清洗机采用将水果直接放在水中进行的由于清洗过程中,水果会在水中自由翻滚,会导致水果之间相互碰撞导致表面受损,而且清洗下来的的污渍还在水中,还需要对水果进行最后的冲洗,留在机体内的污渍短周期内就要及时清理,而且积累的越多,水中的污渍也就越多,不易于对水果进行清洗。
实用新型内容
本实用新型的目的在于:提供一种不需要将水果直接放入水中,避免水果之间相互碰撞受损的具有清洗机构的水果消毒设备。
本实用新型采用的技术方案如下:
一种食品加工用具有清洗机构的水果消毒设备,包括链条输送机,其具有设置在机架上的两条并列的输送链,以及用于驱动两条并列的输送链同时转动的驱动电机,还包括旋转输送组件、前冲洗喷头、消毒喷头、后冲洗喷头和风干装置;所述旋转输送组件包括支座、辊筒和环形齿条,所述支座包括多个,多个支座等间距固定在输送链上,辊筒的数量与其中一个输送链上的支座数量相匹配,每一辊筒对应两条输送链上的两个支座,且辊筒两端分别与两个支座转动连接,辊筒其中一端同轴固定有第一齿轮,环形齿条固定在机架上,其与输送链形状相匹配,每一个辊筒上的第一齿轮均与环形齿条啮合,所述机架上端固定有支架,所述冲洗喷头、消毒喷头、后冲洗喷头和风干装置依次固定在支架上,且位于辊筒上方。
进一步的技术方案在于,所述链条输送机底部设置有接水槽。
进一步的技术方案在于,其特征在于,所述机架两侧均固定有挡板,且两条并列的输送链位于机架两侧的挡板之间。
进一步的技术方案在于,所述前冲洗喷头包括在链条输送机宽度方向呈角度的两个,以及沿链条输送机宽度方向的多个。
进一步的技术方案在于,所述消毒喷头包括在链条输送机宽度方向呈角度的两个,以及沿链条输送机宽度方向的多个。
进一步的技术方案在于,所述后冲洗喷头包括在链条输送机宽度方向呈角度的两个,以及沿链条输送机宽度方向的多个。
进一步的技术方案在于,所述风干装置包括旋转支架、风机、滑动齿条、连杆、第二电机和驱动盘,所述风机固定在旋转支架上,所述旋转支架两端分别借助两个转轴与机架转动连接,其中转轴端部固定有第二齿轮,所述滑动齿条借助滑动结构与机架滑动连接,且滑动齿条与第二齿轮啮合,连杆的一端借助第一销轴与滑动齿条铰接,其另一端借助第二销轴与驱动盘铰接,第二电机固定在机架上,且第二电机与驱动盘连接用于驱动其转动。所述风机、旋转支架以及第二齿轮均包括两个。
进一步的技术方案在于,所述滑动结构包括固定在机架上的滑槽,所述滑动齿条位于滑槽内部与其滑动连接。
综上所述,由于采用了上述技术方案,本实用新型的有益效果是:
链条输送机上设置旋转输送组件,旋转输送组件包括支座、辊筒和环形齿条,支座包括多个,多个支座等间距固定在输送链上,辊筒的数量与其中一个输送链上的支座数量相匹配,每一辊筒对应两条输送链上的两个支座,且辊筒两端分别与两个支座转动连接,辊筒其中一端同轴固定有第一齿轮,环形齿条固定在机架上,其与输送链形状相匹配,每一个辊筒上的第一齿轮均与环形齿条啮合,能够在输送链带动辊筒运行时,辊筒在第一齿轮于环形齿条的配合下自身也能够旋转,水果铺放在辊筒上,在输送链输送其前进的同时由于辊筒自身转动能够带动水果在输送过程中旋转,其经过前冲洗喷头、消毒喷头、后冲洗喷头的清洗消毒后,再经过风干装置将水果风后后实现水果清洁与消毒,且该过程不需要将水果直接放入水中,避免水果之间相互碰撞受损的,冲洗下来的污渍也不会再与水果接触。
附图说明
图1是本实用新型的整体结构示意图;
图2是本实用新型所述环形齿条与第一齿轮连接结构示意图;
图3是本实用新型所述辊筒与输送链连接的结构示意图;
图4是本实用新型所述滑动结构的结构示意图。
具体实施方式
为了使本实用新型的目的、技术方案及优点更加清楚明白,以下结合附图及实施例,对本实用新型进行进一步详细说明。
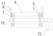
如图1-图4所示,一种食品加工用具有清洗机构的水果消毒设备,包括链条输送机,其具有设置在机架19上的两条并列的输送链1,以及用于驱动两条并列的输送链1同时转动的驱动电机(21),还包括旋转输送组件、前冲洗喷头2、消毒喷头3、后冲洗喷头4和风干装置;旋转输送组件包括支座5、辊筒6和环形齿条7,支座5包括多个,多个支座5等间距固定在输送链1上,辊筒6的数量与其中一个输送链1上的支座5数量相匹配,每一辊筒6对应两条输送链1上的两个支座5,且辊筒6两端分别与两个支座5转动连接,辊筒6其中一端同轴固定有第一齿轮8,环形齿条7固定在机架19上,其与输送链1形状相匹配,每一个辊筒6上的第一齿轮8均与环形齿条7啮合,机架19上端固定有支架9,冲洗喷头、消毒喷头3、后冲洗喷头4和风干装置依次固定在支架9上,且位于辊筒6上方,链条输送机底部设置有接水槽10。机架19两侧均固定有挡板11,且两条并列的输送链1位于机架19两侧的挡板11之间。
使用时,将水果铺放在辊筒6上,经过链条输送机上的输送链1将水果前冲洗喷头2、消毒喷头3、后冲洗喷头4的清洗消毒后,前冲洗喷头2与后冲洗喷头4与水泵连接喷出清洗用水,消毒喷头3与水泵连接喷出水果用的消毒水,再经过风干装置将水果风后后实现水果清洁与消毒,且在输送过程中,辊筒6在第一齿轮8于环形齿条7的配合下自身也能够旋转,可以全全方位对水果进行清洗或者消毒,清洗后的污水落在接水槽10内收集净化后可以重复使用,挡板11可以对水果起到围挡的作用,支座5与辊筒6两端借助轴承转动连接。
链条输送机上设置旋转输送组件,旋转输送组件包括支座5、辊筒6和环形齿条7,支座5包括多个,多个支座5等间距固定在输送链1上,辊筒6的数量与其中一个输送链1上的支座5数量相匹配,每一辊筒6对应两条输送链1上的两个支座5,且辊筒6两端分别与两个支座5转动连接,辊筒6其中一端同轴固定有第一齿轮8,环形齿条7固定在机架19上,其与输送链1形状相匹配,每一个辊筒6上的第一齿轮8均与环形齿条7啮合,能够在输送链1带动辊筒6运行时,辊筒6在第一齿轮8于环形齿条7的配合下自身也能够旋转,水果铺放在辊筒6上,在输送链1输送其前进的同时由于辊筒6自身转动能够带动水果在输送过程中旋转,其经过前冲洗喷头2、消毒喷头3、后冲洗喷头4的清洗消毒后,再经过风干装置将水果风后后实现水果清洁与消毒,且该过程不需要将水果直接放入水中,避免水果之间相互碰撞受损的,冲洗下来的污渍也不会再与水果接触。
前冲洗喷头2包括在链条输送机宽度方向呈角度的两个,以及沿链条输送机宽度方向的多个,消毒喷头3包括在链条输送机宽度方向呈角度的两个,以及沿链条输送机宽度方向的多个,后冲洗喷头4包括在链条输送机宽度方向呈角度的两个,以及沿链条输送机宽度方向的多个,保证喷出的水能够覆盖到水果。
风干装置包括旋转支架12、风机13、滑动齿条14、连杆15、第二电机16和驱动盘17,风机13固定在旋转支架12上,旋转支架12两端分别借助两个转轴与机架19转动连接,其中转轴端部固定有第二齿轮20,滑动齿条14借助滑动结构与机架19滑动连接,且滑动齿条14与第二齿轮20啮合,连杆15的一端借助第一销轴与滑动齿条14铰接,其另一端借助第二销轴与驱动盘17铰接,第二电机16固定在机架19上,且第二电机16与驱动盘17连接用于驱动其转动。风机13、旋转支架12以及第二齿轮20均包括两个。可以使风机13运行的时候,使其往复转动实现吹扫的效果,提高将水果吹干的效果
滑动结构包括固定在机架19上的滑槽18,滑动齿条14位于滑槽18内部与其滑动连接。
以上仅为本实用新型的较佳实施例而已。
Claims (9)
1.一种食品加工用具有清洗机构的水果消毒设备,包括链条输送机,其具有设置在机架(19)上的两条并列的输送链(1),以及用于驱动两条并列的输送链(1)同时转动的驱动电机(21),其特征在于,还包括旋转输送组件、前冲洗喷头(2)、消毒喷头(3)、后冲洗喷头(4)和风干装置;所述旋转输送组件包括支座(5)、辊筒(6)和环形齿条(7),所述支座(5)包括多个,多个支座(5)等间距固定在输送链(1)上,辊筒(6)的数量与其中一个输送链(1)上的支座(5)数量相匹配,每一辊筒(6)对应两条输送链(1)上的两个支座(5),且辊筒(6)两端分别与两个支座(5)转动连接,辊筒(6)其中一端同轴固定有第一齿轮(8),环形齿条(7)固定在机架(19)上,其与输送链(1)形状相匹配,每一个辊筒(6)上的第一齿轮(8)均与环形齿条(7)啮合,所述机架(19)上端固定有支架(9),所述冲洗喷头、消毒喷头(3)、后冲洗喷头(4)和风干装置依次固定在支架(9)上,且位于辊筒(6)上方。
2.根据权利要求1所述一种食品加工用具有清洗机构的水果消毒设备,其特征在于,所述链条输送机底部设置有接水槽(10)。
3.根据权利要求1所述一种食品加工用具有清洗机构的水果消毒设备,其特征在于,所述机架(19)两侧均固定有挡板(11),且两条并列的输送链(1)位于机架(19)两侧的挡板(11)之间。
4.根据权利要求1所述一种食品加工用具有清洗机构的水果消毒设备,其特征在于,所述前冲洗喷头(2)包括在链条输送机宽度方向呈角度的两个,以及沿链条输送机宽度方向的多个。
5.根据权利要求4所述一种食品加工用具有清洗机构的水果消毒设备,其特征在于,所述消毒喷头(3)包括在链条输送机宽度方向呈角度的两个,以及沿链条输送机宽度方向的多个。
6.根据权利要求5所述一种食品加工用具有清洗机构的水果消毒设备,其特征在于,所述后冲洗喷头(4)包括在链条输送机宽度方向呈角度的两个,以及沿链条输送机宽度方向的多个。
7.根据权利要求1或6所述一种食品加工用具有清洗机构的水果消毒设备,其特征在于,所述风干装置包括旋转支架(12)、风机(13)、滑动齿条(14)、连杆(15)、第二电机(16)和驱动盘(17),所述风机(13)固定在旋转支架(12)上,所述旋转支架(12)两端分别借助两个转轴与机架(19)转动连接,其中转轴端部固定有第二齿轮(20),所述滑动齿条(14)借助滑动结构与机架(19)滑动连接,且滑动齿条(14)与第二齿轮(20)啮合,连杆(15)的一端借助第一销轴与滑动齿条(14)铰接,其另一端借助第二销轴与驱动盘(17)铰接,第二电机(16)固定在机架(19)上,且第二电机(16)与驱动盘(17)连接用于驱动其转动。
8.根据权利要求7所述一种食品加工用具有清洗机构的水果消毒设备,其特征在于,所述滑动结构包括固定在机架(19)上的滑槽(18),所述滑动齿条(14)位于滑槽(18)内部与其滑动连接。
9.根据权利要求8所述一种食品加工用具有清洗机构的水果消毒设备,其特征在于,所述风机(13)、旋转支架(12)以及第二齿轮(20)均包括两个。
Priority Applications (1)
| Application Number | Priority Date | Filing Date | Title |
|---|---|---|---|
| CN202121116140.7U CN215992679U (zh) | 2021-05-24 | 2021-05-24 | 一种食品加工用具有清洗机构的水果消毒设备 |
Applications Claiming Priority (1)
| Application Number | Priority Date | Filing Date | Title |
|---|---|---|---|
| CN202121116140.7U CN215992679U (zh) | 2021-05-24 | 2021-05-24 | 一种食品加工用具有清洗机构的水果消毒设备 |
Publications (1)
| Publication Number | Publication Date |
|---|---|
| CN215992679U true CN215992679U (zh) | 2022-03-11 |
Family
ID=80585131
Family Applications (1)
| Application Number | Title | Priority Date | Filing Date |
|---|---|---|---|
| CN202121116140.7U Active CN215992679U (zh) | 2021-05-24 | 2021-05-24 | 一种食品加工用具有清洗机构的水果消毒设备 |
Country Status (1)
| Country | Link |
|---|---|
| CN (1) | CN215992679U (zh) |
-
2021
- 2021-05-24 CN CN202121116140.7U patent/CN215992679U/zh active Active
Similar Documents
| Publication | Publication Date | Title |
|---|---|---|
| CN117770468A (zh) | 一种农产品加工用果蔬多向清洗装置 | |
| CN213404801U (zh) | 用于柠檬或柑橘的无损害清洗设备 | |
| CN213587389U (zh) | 一种清洗效果好的苹果清洗机 | |
| CN107897975B (zh) | 一种清洗效率高的水果清洗装置 | |
| CN215992679U (zh) | 一种食品加工用具有清洗机构的水果消毒设备 | |
| CN210538774U (zh) | 一种去沙清洗装置 | |
| CN108378385A (zh) | 一种果蔬去皮清洗设备 | |
| CN204762803U (zh) | 一种鸡蛋喷淋清洗机构 | |
| KR101110869B1 (ko) | 계란 세척 장치 | |
| CN201418365Y (zh) | 一种萝卜清洗机 | |
| CN220308278U (zh) | 一种冷冻带鱼加工清洗装置 | |
| CN108720039A (zh) | 一种多功能果蔬加工装置 | |
| CN115568598B (zh) | 一种蔬菜根部泥土清洗装置 | |
| CN118177385A (zh) | 一种腌渍菜清洗用刷洗装置 | |
| CN117502669A (zh) | 一种水果罐头加工用蒸汽清洗杀菌装置 | |
| CN215501257U (zh) | 一种食品加工用水果清洗装置 | |
| CN207744689U (zh) | 一种流水线式土豆清洗去皮机 | |
| CN112586768B (zh) | 一种农产品加工用萝卜批量清洗装置 | |
| CN213525019U (zh) | 一种清洁效果好的洗碗机 | |
| CN203789777U (zh) | 洗菜机 | |
| CN209749750U (zh) | 蔬果去毛发机 | |
| CN222931351U (zh) | 一种全方位洗盘机 | |
| CN105394789A (zh) | 一种中餐工业化蔬菜清洗器 | |
| CN223614161U (zh) | 一种具有清洗结构的洋葱处理装置 | |
| CN220423081U (zh) | 一种喷雾杀菌机构 |
Legal Events
| Date | Code | Title | Description |
|---|---|---|---|
| GR01 | Patent grant | ||
| GR01 | Patent grant |